
Natural Resources
Conservation Service
Ecological site R013XY014ID
Shallow Stony 12-20 PZ ARAR8/PSSPS
Last updated: 2/13/2025
Accessed: 10/19/2025
General information
Provisional. A provisional ecological site description has undergone quality control and quality assurance review. It contains a working state and transition model and enough information to identify the ecological site.
MLRA notes
Major Land Resource Area (MLRA): 013X–Eastern Idaho Plateaus
013X-Eastern Idaho Plateaus
Precipitation or Climate Zone: 12-20” P.Z.
https://soils.usda.gov/survey/geography/mlra/index.html
Classification relationships
Artemisia arbuscula / Agropyron spicatum HT in “Hironaka, M., M.A. Fosberg, A. H. Winward. 1983. Sagebrush-Grass Habitat Types of Southern Idaho. University of Idaho, Moscow, Idaho. Bulletin Number “35”.
Land Resource Unit: B (Northwestern Wheat and Range)
MLRA: 13 (Eastern Idaho Plateaus)
EPA EcoRegion: Level III (Middle Rockies)
Ecological site concept
Site does not receive any additional water.
Soils are:
not saline or saline-sodic.
moderately deep, shallow, with >35% stone (10-25”) and boulder (>25”) cover. skeletal within 20” of soil surface, fragment percentage increasing with depth
not strongly or violently effervescent in surface mineral 10”.
textures usually range from very fine sandy loam to clay loam in surface mineral 4”.
Slope is > 30%.
Clay content is = <32% in surface mineral 4”.
Site does not have an argillic horizon with > 35% clay.
Associated sites
R013XY001ID |
Loamy 12-16 PZ |
---|---|
R013XY002ID |
Stony Loam 13-16 PZ ARTRV/PSSPS |
R013XY004ID |
Shallow Gravelly 12-16 PZ ARTRV/PSSPS |
R013XY005ID |
Loamy 16-22 PZ ARTRV/FEID-PSSPS |
R013XY008ID |
Steep South Slopes 12-16 PZ ARTRV/PSSPS |
R013XY010ID |
Mahogany North Slope 16-22 PZ CELE3/PSSPS |
R013XY012ID |
Gravelly South Slope 12-16 PZ ARTRV/PSSPS |
R013XY013ID |
Stony 12-16 PZ ARTRV/FEID |
R013XY014ID |
Shallow Stony 12-20 PZ ARAR8/PSSPS |
R013XY015ID |
Steep Stony Mahogany 16-22 PZ CELE3-ARTRV/PSSPS |
R013XY019ID |
Stony Loam 16-22 PZ ARTRV/PSSPS |
R013XY028ID |
Shallow Sand 12-16 PZ ARTRV/PSSPS |
R013XY031ID |
Steep Stony North 16-22 PZ ARTRV/FEID |
R013XY003ID |
Steep South 16-22 PZ ARTRV/PSSPS |
Similar sites
R013XY013ID |
Stony 12-16 PZ ARTRV/FEID |
---|
Table 1. Dominant plant species
Tree |
Not specified |
---|---|
Shrub |
(1) Artemisia arbuscula |
Herbaceous |
(1) Pseudoroegneria spicata |
Physiographic features
This site occurs on low terraces and mountain slopes with gentle to moderate slopes. Bedrock outcrops are common in the area. Slopes range from 0 to 30 percent. Elevations range from 4500 to 7000 feet (1350-2150 meters).
This site occurs on low uplands, mountain slopes, and ridges. Bedrock outcrops are common in the area. Slopes are generally 0 to 30 percent, but can reach slopes of 80 percent on all aspects. Elevations range from 4500 to 7,000 feet (1350 to 2150 meters).
Table 2. Representative physiographic features
Landforms |
(1)
Mountain
(2) Ridge (3) Plateau |
---|---|
Flooding frequency | None |
Elevation | 4,500 – 10,000 ft |
Slope | 55% |
Water table depth | 10 – 60 in |
Aspect | Aspect is not a significant factor |
Climatic features
MLRA 13, the Eastern Idaho Plateaus, is part of the Northwestern Wheat and Range Region. Its elevation ranges from 4209 to 9331 feet above sea level, with an average elevation of 5787 feet. The average annual precipitation is 16.41 inches, with a range of 13.56 to 18.75 inches, based on ten long term climate stations located throughout the MLRA. A spike in precipitation amount often occurs in late spring, usually in May.
Temperatures vary widely in the MLRA throughout the year. A maximum temperature of 103° Fahrenheit occurred at the McCammon climate station (# 105716; elevation 4770 feet), while a minimum of -41° was recorded at the Kilgore station (#104908). At all stations temperatures throughout the year are usually below the national average. Kilgore also recorded the greatest annual snowfall amount of 217 inches. The average temperature is 41.4 degrees F. with an average high of 55.3 degrees and an average low of 27.5 degrees.
The frost-free period ranges from 64 to 90 days, while the freeze-free period can be 98 to 123 days.
Table 3. Representative climatic features
Frost-free period (average) | 90 days |
---|---|
Freeze-free period (average) | 123 days |
Precipitation total (average) | 19 in |
Figure 1. Monthly precipitation range
Figure 2. Monthly average minimum and maximum temperature
Influencing water features
This site is not influenced by adjacent wetlands, streams, or run on.
Soil features
The soils in this site have gravelly, very gravelly, very cobbly, very stony and extremely stone loam, silt loam and sandy loam surface textures. They are formed primarily in residuum and alluvium derived from quartzite, sandstone, andesite and limestone. The site has well to somewhat excessively drained soils, shallow (occasionally to very deep) to unfractured bedrock. Runoff is medium to very high due to the steep slopes; permeability is slow to moderately rapid. The available water holding capacity (AWC) is very low to low. Water erosion can be very high when the plant cover is reduced and slope increases. These soils are characterized by a xeric soil moisture regime and either a frigid or cryic soil temperature regime.
Soil Series Correlated to this Ecological Site
Birchcreek
Chokecherry
Cleavage
Conneridge
Dollarhide
Foxol
Gilispie
Highams
Hutchley
Hymas
Jimsage
Nielsen
Richollow
Sheege
Swanner
Tubbs Hollow
Table 4. Representative soil features
Surface texture |
(1) Very gravelly loam (2) Very cobbly silt loam (3) Extremely stony sandy loam |
---|---|
Drainage class | Well drained to somewhat excessively drained |
Permeability class | Slow to moderately rapid |
Soil depth | 10 – 60 in |
Surface fragment cover <=3" | 5 – 55% |
Surface fragment cover >3" | 55% |
Available water capacity (0-40in) |
0.6 – 4.6 in |
Calcium carbonate equivalent (0-40in) |
15% |
Electrical conductivity (0-40in) |
2 mmhos/cm |
Sodium adsorption ratio (0-40in) |
5 |
Soil reaction (1:1 water) (0-40in) |
6 – 8.4 |
Subsurface fragment volume <=3" (Depth not specified) |
25 – 70% |
Subsurface fragment volume >3" (Depth not specified) |
55% |
Ecological dynamics
Ecological Dynamics of the Site:
The dominant visual aspect is low sagebrush with bluebunch wheatgrass. Composition by weight is approximately 55 to 65 percent grasses, 10 to 20 percent forbs, and 20 to 30 percent shrubs.
During the last few thousand years, this site has evolved in a semi-arid climate characterized by warm, dry summers and cold, wet winters. Herbivory has historically occurred on the site at low levels of utilization. Herbivores include pronghorn antelope, mule deer, sage grouse, lagomorphs and small rodents.
Fire has historically occurred on this site every 80 to 100 years.
The Historic Climax Plant Community (HCPC), the Reference State (State 1), moves through many phases depending on the natural and man-made forces that impact the community over time. State 1, described later, indicates some of these phases. The Reference Plant Community Phase is Phase A. This plant community is dominated by bluebunch wheatgrass and low sagebrush. Nevada bluegrass is the subdominant grass species and Idaho fescue is usually present. Other prominent species in the plant community include Sandberg bluegrass, bottlebrush squirreltail, western wheatgrass, arrowleaf balsamroot, tapertip hawksbeard, buckwheat, lupine, and antelope bitterbrush. The plant species composition of Phase A is listed later under “Reference Plant Community Phase Plant Species Composition”.
Total annual production is 700 pounds per acre (784 Kg/ha) in a normal year. Production in a favorable year is 1050 pounds per acre (1176 Kg/ha). Production in an unfavorable year is 400 pounds per acre (448 Kg/ha). Structurally, cool season deep rooted perennial bunchgrasses are very dominant, followed by low to medium shrubs being more dominant than perennial forbs while shallow rooted perennial bunchgrasses are subdominant.
FUNCTION:
This site is suited for grazing by livestock in late spring, early summer, and fall. It also provides habitat for mule deer, pronghorn antelope, small game, sage grouse, small birds, and rodents. The site provides limited recreational opportunities for hunting, off-road vehicles, snowmobiles, hiking, cross-country skiing, early spring flower observation, and photography.
This site can be degraded by improper grazing management since slopes are gentle but stony surfaces can limit livestock access to some degree. The site is particularly easy to degrade in the early spring with wet soils. Inherent low production on the site makes it susceptible to accelerated degradation. Infiltration and production can be maintained with a mixed stand of deep-rooted perennial bunchgrasses and shrubs.
Impacts on the Plant Community.
Influence of fire:
This site historically had a very low fire frequency, approximately every 80-100 years. Most of the shrubs evolved in the absence of fire, therefore they can be severely damaged or killed when burned. Idaho fescue in the community can be lost with a fire. Rabbitbrush species can increase with fire. Cheatgrass and medusahead can be troublesome invaders on this site after fire at lower elevations, preventing perennial grass and shrub re-establishment and increasing the fire frequency. Sandberg bluegrass is usually maintained in the community.
In the absence of fire, low sagebrush can gradually increase and bunchgrasses decrease. Utah juniper can invade the site if a seed source is in the vicinity. See “Influence of Utah juniper” below.
Influence of improper grazing management:
Season-long grazing and/or excessive utilization can be detrimental to this site. This type of management leads to reduced vigor of bluebunch wheatgrass and other deep-rooted perennial bunchgrasses. With reduced vigor, recruitment of these species declines. As these species decline, the plant community becomes susceptible to an increase in low sagebrush and invasive plants.
Continued improper grazing management can influence fire frequency with an increase in cheatgrass and medusahead. If cheatgrass and/or medusahead increase and become co-dominant with Sandberg bluegrass and other annuals, fires become more frequent.
If there is a Utah juniper seed source in the vicinity and improper grazing management continues, the juniper can invade the site and with a period of reduced fire frequency it can increase rapidly.
Weather influence:
Above normal precipitation in April, May, and June can dramatically increase total annual production. These weather patterns can also increase viable seed production of desirable species to provide for recruitment. Extended periods of drought significantly impact this site due to the low water holding capacity and shallow soil. Extended drought reduces vigor of the perennial grasses and shrubs. Extreme drought may cause plant mortality.
Influence of Insects and disease:
Outbreaks can affect vegetation health. Mormon cricket and grasshopper outbreaks occur periodically. Outbreaks seldom cause plant mortality since defoliation of the plant occurs only once during the year of the outbreak. An outbreak of a particular insect is usually influenced by weather but no specific data is available for this site.
Influence of noxious and invasive plants:
Annual and perennial invasive plants compete with desirable plants for moisture and nutrients. The result is reduced production and change in composition of the understory. Cheatgrass and/or medusahead can be very invasive on this site, especially after fire. Once they become established the fire frequency increases. As a result, the shrub component can be lost.
Influence of wildlife:
Relatively low numbers of wildlife use this site and have little impact on it. Pronghorn antelope are the dominant large herbivore using the site. They use the site yearlong but prefer it in the spring, fall, and early winter. Sage grouse use the site for their strutting grounds and may also use it during the winter. Winter and spring use by mule deer occurs to some degree.
Watershed:
Decreased infiltration and increased runoff occurs on slopes when low sagebrush is removed with frequent fires, particularly the year following the fire event. The increased runoff also increases sheet and rill erosion. The long-term effect is a transition to a different state. When hydrologic condition of the vegetative cover is good, natural erosion hazard is slight.
Influence of Utah juniper invasion:
In plant communities that are invaded by juniper, the species has a competitive advantage for the following reasons:
• Juniper is very drought tolerant.
• It has the ability to extract soil moisture from a wide range of soil depths.
• Juniper has high evapo-transpiration rates.
• The species intercepts rain and snow before it reaches the soil surface.
• It has the ability to grow as long as there is soil moisture and the temperature is above freezing.
• Juniper has a relatively rapid growth rate and is long-lived. It can readily over-top shade intolerant
species which leads to mortality.
• Nutrient cycling is reduced.
• As the canopy closes, juniper gains control of energy capture.
As juniper extracts water, other plants are unable to acquire sufficient water and nutrients to sustain growth and reproduction, thus reducing cover and biomass in the interspaces. After the canopy closes, there is sufficient soil moisture available for shallow-rooted, shade tolerant species to persist directly under the tree.
The following hydrologic impacts occur on sites invaded by juniper:
• Infiltration in the interspaces is reduced.
• Run-off increases resulting in increased sheet and rill erosion with elevated sediment loads.
• Soil temperatures increase in the interspaces which results in accelerated drying of the soil surface.
• Increased bare ground in the interspaces.
• Soil moisture storage is reduced.
As bare ground and interconnectiveness of patches bare ground increases, flow rates are accelerated (reduction of flow sinuosity) and run-off out of the area increases.
Degradation of these systems can result in the formation of a feedback cycle in which greater juniper cover and density results in greater plant and soil disturbance between the canopies.
In summary, a closed juniper community takes control of the following ecological processes: (1) hydrology, (2) energy capture, and (3) nutrient cycling. The changes are primarily driven by the hydrologic processes. The development of a closed juniper canopy always results in a transition across the threshold to a different state. Generally, when juniper canopy cover nears 20%, the plant community is approaching the threshold.
Plant Community and Sequence:
Transition pathways between common vegetation states and phases:
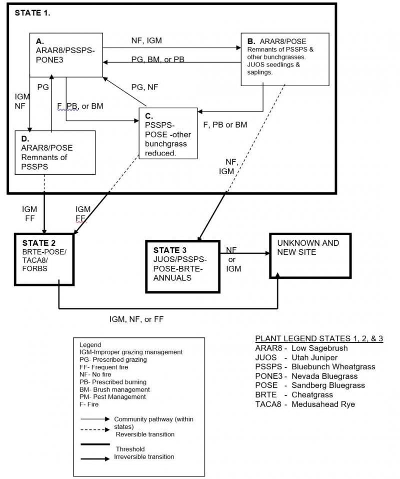
State 1.
Phase A to B. Develops in the absence of fire. Improper grazing management could also be
present. There is a juniper seed source near the site.
Phase A to C. Usually results from wildfire, prescribed burning, or brush management.
Phase A to D. Results from improper grazing management and no fire.
Phase B to C. Results from wildfire, prescribed burning, or brush management.
Phase B to A. Occurs with prescribed grazing and brush management or prescribed burning.
Phase C to A. Results from prescribed grazing and no fire.
Phase D to A. Occurs with proper grazing management.
State 1 Phase C or D to State 2. Develops through improper grazing management and frequent fire. This site has crossed the threshold. It is not economical to return this site to State 1 with accelerating practices.
State 1 to State 3. Develops with no fire and improper grazing management from a juniper invaded phase of State 1. This site has crossed the threshold. It is not economical to return this site to State 1 with accelerating practices.
State 2 to unknown site. Excessive soil loss and changes in the hydrologic cycle caused by improper
grazing management and no fire or frequent fire cause this state to cross the threshold and retrogress to a new site with reduced potential. It is not economical to return this site to State 1 with accelerating practices.
State 3 to unknown site. Continued lack of fire and improper grazing management cause this state to cross the threshold retrogress to a new site with reduced potential due to significant soil loss and changes in hydrology.
Practice Limitations:
Moderate to severe limitations exist for seeding by ground moving equipment on this site due to extremely stony soils. Moderate to severe limitations exist for brush control practices using ground moving equipment due to extremely stony soils. Use of aerial spraying equipment is generally unlimited.
State and transition model

More interactive model formats are also available.
View Interactive Models
More interactive model formats are also available.
View Interactive Models
Click on state and transition labels to scroll to the respective text
State 1 submodel, plant communities
State 5 submodel, plant communities
State 6 submodel, plant communities
State 7 submodel, plant communities
State 1
State 1
Community 1.1
State 1 Phase A
Reference Plant Community Phase. This plant community is dominated by bluebunch wheatgrass and low sagebrush. Nevada bluegrass is the subdominant grass species and Idaho fescue is usually present. Other prominent species in the plant community include Sandberg bluegrass, bottlebrush squirreltail, western wheatgrass, arrowleaf balsamroot, tapertip hawksbeard, buckwheat, lupine, and antelope bitterbrush. The natural fire frequency is about 80-100 years.
Table 5. Ground cover
Tree foliar cover | 0% |
---|---|
Shrub/vine/liana foliar cover | 0% |
Grass/grasslike foliar cover | 0% |
Forb foliar cover | 0% |
Non-vascular plants | 0% |
Biological crusts | 0% |
Litter | 60-75% |
Surface fragments >0.25" and <=3" | 0% |
Surface fragments >3" | 0% |
Bedrock | 0% |
Water | 0% |
Bare ground | 0% |
Figure 3. Plant community growth curve (percent production by month). ID0810, ARNO4/PSSPS.
Jan | Feb | Mar | Apr | May | Jun | Jul | Aug | Sep | Oct | Nov | Dec |
---|---|---|---|---|---|---|---|---|---|---|---|
J | F | M | A | M | J | J | A | S | O | N | D |
0 | 0 | 0 | 25 | 35 | 20 | 10 | 0 | 5 | 5 | 0 | 0 |
Community 1.2
State 1, Phase B
This plant community is dominated by low sagebrush with Sandberg bluegrass in the understory. Bluebunch wheatgrass and other deep-rooted perennial bunchgrasses are present but in reduced amounts and in low vigor. Utah juniper has invaded the site in the form of seedlings and saplings. A Utah juniper seed source is in the vicinity. This phase has developed due to no fire and improper grazing management.
Community 1.3
State 1, Phase C
This plant community is dominated by bluebunch wheatgrass and Sandberg bluegrass. Small amounts of Idaho fescue, Thurber’s needlegrass, bottlebrush squirreltail, a variety of forbs and rabbitbrush can be present. Some Idaho fescue and Thurber’s needlegrass may be reduced due to fire. This phase has developed due to fire, prescribed burning, or brush management.
Community 1.4
State 1. Phase D
This plant community is dominated by low sagebrush with Sandberg bluegrass in the understory. Remnants of bluebunch wheatgrass and other bunchgrasses are present but in reduced vigor. No Utah juniper seed source is in the vicinity. This phase has developed due to improper grazing management and no fire.
Pathway 1.1A
Community 1.1 to 1.2
Develops in the absence of fire. Improper grazing management could also be present. There is a juniper seed source near the site.
Pathway 1.1B
Community 1.1 to 1.3
Usually results from wildfire, prescribed burning, or brush management.
Pathway 1.1C
Community 1.1 to 1.4
Results from improper grazing management and no fire.
Pathway 1.2A
Community 1.2 to 1.1
Occurs with prescribed grazing and brush management or prescribed burning.
Pathway 1.2B
Community 1.2 to 1.3
Results from wildfire, prescribed burning, or brush management.
Pathway 1.3A
Community 1.3 to 1.1
Results from prescribed grazing and no fire
Pathway 1.4A
Community 1.4 to 1.1
Occurs with proper grazing management
State 2
State 2
This plant community is dominated by Sandberg bluegrass, cheatgrass, medusahead and a variety of forbs. Some perennial forbs are present. The community has developed due to continued improper grazing management and fire. Some soil loss has occurred. This site has crossed the threshold. It is not economical to return this site to State 1 with accelerating practices.
State 3
State 3
This plant community is dominated by Utah juniper. Remnants of bluebunch wheatgrass and low sagebrush can be found in the understory. Shallow-rooted grasses, such as Sandberg bluegrass, cheatgrass, and other annuals can be found in the interspaces. Few shrubs are present. When shrub cover is below 10-15%, bare ground is above 25-30% and juniper cover is greater than 20%, the site has crossed the threshold. It is economically impractical to return this plant community to State 1 with accelerating practices. This state has developed in the absence of fire. Improper grazing management can also contribute to this state.
State 4
State 4
This plant community has gone over the threshold to a new site. Site potential has been reduced. Significant soil loss has occurred. Infiltration has been reduced and run-off has become more rapid. This community has developed due to continued improper grazing management and no fire or frequent fire from State 2 and with the continued absence of fire and improper grazing management from the Juniper invaded phase of State 3.
State 5
State 2
Community 5.1
State 2
This plant community is dominated by Sandberg bluegrass, cheatgrass, medusahead and a variety of forbs. Some perennial forbs are present. The community has developed due to continued improper grazing management and fire. Some soil loss has occurred. This site has crossed the threshold. It is not economical to return this site to State 1 with accelerating practices.
Table 6. Ground cover
Tree foliar cover | 0% |
---|---|
Shrub/vine/liana foliar cover | 0% |
Grass/grasslike foliar cover | 0% |
Forb foliar cover | 0% |
Non-vascular plants | 0% |
Biological crusts | 0% |
Litter | 60-75% |
Surface fragments >0.25" and <=3" | 0% |
Surface fragments >3" | 0% |
Bedrock | 0% |
Water | 0% |
Bare ground | 0% |
Figure 4. Plant community growth curve (percent production by month). ID0911, D25 POSE/BRTE/ANNUALS.
Jan | Feb | Mar | Apr | May | Jun | Jul | Aug | Sep | Oct | Nov | Dec |
---|---|---|---|---|---|---|---|---|---|---|---|
J | F | M | A | M | J | J | A | S | O | N | D |
0 | 0 | 15 | 25 | 40 | 5 | 0 | 0 | 5 | 5 | 5 | 0 |
State 6
State 3
Community 6.1
State 3
This plant community is dominated by Utah juniper. Remnants of bluebunch wheatgrass and low sagebrush can be found in the understory. Shallow-rooted grasses, such as Sandberg bluegrass, cheatgrass, and other annuals can be found in the interspaces. Few shrubs are present. When shrub cover is below 10-15%, bare ground is above 25-30% and juniper cover is greater than 20%, the site has crossed the threshold. It is economically impractical to return this plant community to State 1 with accelerating practices. This state has developed in the absence of fire. Improper grazing management can also contribute to this state.
Table 7. Ground cover
Tree foliar cover | 0% |
---|---|
Shrub/vine/liana foliar cover | 0% |
Grass/grasslike foliar cover | 0% |
Forb foliar cover | 0% |
Non-vascular plants | 0% |
Biological crusts | 0% |
Litter | 60-75% |
Surface fragments >0.25" and <=3" | 0% |
Surface fragments >3" | 0% |
Bedrock | 0% |
Water | 0% |
Bare ground | 0% |
Figure 5. Plant community growth curve (percent production by month). ID0803, B13 Early Seral, JUOS. State 3.
Jan | Feb | Mar | Apr | May | Jun | Jul | Aug | Sep | Oct | Nov | Dec |
---|---|---|---|---|---|---|---|---|---|---|---|
J | F | M | A | M | J | J | A | S | O | N | D |
0 | 0 | 5 | 15 | 30 | 20 | 10 | 5 | 5 | 5 | 5 | 0 |
Figure 6. Plant community growth curve (percent production by month). ID0911, D25 POSE/BRTE/ANNUALS.
Jan | Feb | Mar | Apr | May | Jun | Jul | Aug | Sep | Oct | Nov | Dec |
---|---|---|---|---|---|---|---|---|---|---|---|
J | F | M | A | M | J | J | A | S | O | N | D |
0 | 0 | 15 | 25 | 40 | 5 | 0 | 0 | 5 | 5 | 5 | 0 |
State 7
State 4
Community 7.1
State 4
Unknown Site. This plant community has gone over the threshold to a new site. Site potential has been reduced. Significant soil loss has occurred. Infiltration has been reduced and run-off has become more rapid. This community has developed due to continued improper grazing management and no fire or frequent fire from State 2 and with the continued absence of fire and improper grazing management from the Juniper invaded phase of State 3.
Table 8. Ground cover
Tree foliar cover | 0% |
---|---|
Shrub/vine/liana foliar cover | 0% |
Grass/grasslike foliar cover | 0% |
Forb foliar cover | 0% |
Non-vascular plants | 0% |
Biological crusts | 0% |
Litter | 60-75% |
Surface fragments >0.25" and <=3" | 0% |
Surface fragments >3" | 0% |
Bedrock | 0% |
Water | 0% |
Bare ground | 0% |
Transition T1A
State 1 to 2
State 1 Phase C or D to State 2. Develops through improper grazing management and frequent fire. This site has crossed the threshold. It is not economical to return this site to State 1 with accelerating practices.
Transition T1B
State 1 to 3
State 1 to State 3. Develops with no fire and improper grazing management from a juniper invaded phase of State 1. This site has crossed the threshold. It is not economical to return this site to State 1 with accelerating practices.
Transition T2A
State 2 to 4
State 2 to unknown site. Excessive soil loss and changes in the hydrologic cycle caused by improper grazing management and no fire or frequent fire cause this state to cross the threshold and retrogress to a new site with reduced potential. It is not economical to return this site to State 1 with accelerating practices.
Transition T3A
State 3 to 4
State 3 to unknown site. Continued lack of fire and improper grazing management cause this state to cross the threshold retrogress to a new site with reduced potential due to significant soil loss and changes in hydrology.
Additional community tables
Interpretations
Animal community
Wildlife Interpretations.
Animal Community – Wildlife Interpretations
This rangeland ecological site provides habitat for select native wildlife species that can tolerate cold sites, high in elevation, with a sparse plant community. Large herbivore use of the reference plant community includes mule deer, elk, and pronghorn antelope. Site (south facing) can provide winter habitat for these large herbivores. The rangeland provides important seasonal habitat for resident and migratory animals including western toad, sagebrush lizard, shrews, bats, jackrabbits, ground squirrels, mice, coyote, red fox, badger, sage-grouse, Ferruginous hawk, prairie falcon, horned lark, and western meadowlark. Sage-grouse is an area sensitive species that may be present on this site. In isolated areas encroachment of noxious and invasive plant species (cheatgrass and medusahead) can replace native plant species which provide critical feed, brood-rearing, and nesting cover for a variety of native wildlife. Water is limited, being provided only by seasonal runoff, artificial water catchments, and spring sites.
State 1 Phase 1.1 – Low Sagebrush/ Bluebunch Wheatgrass/ Nevada Bluegrass Plant Community (RPC): This plant community provides a diversity of grasses, forbs, and shrubs used by native insect communities that assist in pollination. The reptile and amphibian community is represented by common sagebrush lizard, western rattlesnake, Great Basin spadefoot toad, western toad, and northern leopard frog. Amphibians are associated with springs and isolated water bodies adjacent to this plant community. Spring developments that capture all available water would preclude the use of these sites by amphibians. Nesting, brood-rearing, winter cover, and winter food habitat for sage grouse is provided by this plant community. Low sagebrush is a preferred winter food for sage-grouse. The plant community provides spring, fall, and winter food habitat for large herbivores including mule deer, elk, and antelope. Mule deer have a preference for low sagebrush. A diverse small mammal population including golden-mantled ground squirrels, jackrabbits, deer mice, and Great Basin pocket mice may utilize this plant community.
State 1 Phase 1.2- Low Sagebrush/ Sandberg Bluegrass/ Utah Juniper Plant Community: This plant community is the result of improper grazing management and no fire. An increase in canopy cover of sagebrush and juniper contributes to a sparse herbaceous understory. A reduced herbaceous understory results in lower diversity and numbers of insects. The reptile community will be similar to the State 1 Phase 1.1 community represented by common sagebrush lizard and western rattlesnake. The reduced diversity of insects and understory cover may reduce the quality of food and cover for reptile populations. As juniper increases, habitat cover for Brewer’s sparrow, sage thrasher, and sage sparrow may increase. Remaining low sagebrush provides brood-rearing, winter cover, and winter food habitat for sage-grouse but as juniper encroaches the quality of this habitat is severely reduced or eliminated. The plant community provides seasonal (spring and early summer) forage habitat for mule deer, elk, and antelope. As juniper encroaches, the site will provide additional thermal cover for deer and elk. As juniper becomes established additional food will be available for deer. The small mammal population will be similar to that in State 1 Phase 1.1.
State 1 Phase 1.3 – Bluebunch Wheatgrass/ Sandberg Bluegrass/ Plant Community: This phase has developed due to fire, prescribed burning, or brush management. The plant community, dominated by herbaceous vegetation with little or no sagebrush provides less vertical structure for animals. Insect diversity would be reduced with the loss of sagebrush, but a native forb plant community similar to that in State 1 Phase 1.1 would still support select pollinators. Encroachment of rabbitbrush would add fall pollinator habitat to the site. As rabbitbrush matures it would enhance the structural diversity of the site. Until rabbitbrush is established, diversity and populations of reptiles would decline or be excluded. The dominance of herbaceous vegetation with no sagebrush canopy cover would eliminate use of this area for nesting, winter cover, and winter food for sage-grouse. This plant community provides limited brood-rearing habitat for sage-grouse if site is adjacent to sagebrush cover. The dominant herbaceous vegetation improves habitat for grassland avian species (horned lark and western meadowlark). Winter habitat for large herbivores would be reduced or eliminated with the loss of low sagebrush. Small mammal populations would be reduced due to loss of cover and an increase in hunting success by predators.
State 1 Phase 1.4- Low Sagebrush/ Sandberg Bluegrass Plant Community: This phase has developed due to improper grazing management and no fire. The animal community would be similar to that in State 1 Phase 1.1. The reduced vigor and canopy cover of forbs would lower the quality of habitat for pollinators. The reptile community will be similar to the State 1 Phase 1.1 community represented by common sagebrush lizard and western rattlesnake. The reduced diversity of insects and understory cover may reduce the quality of food and cover for reptile populations. The site would provide winter cover and winter food habitat for sage-grouse. The quality of brood-rearing and nesting cover for sage-grouse would be lowered as the herbaceous understory is depleted. Mule deer, elk, and pronghorn would utilize the site for winter habitat. The small mammal population will be similar to that in State 1 Phase 1.1.
State 2 – Cheatgrass/ Sandberg Bluegrass/ Medusahead Rye/ Forbs Plant Community:
This plant community is the result of continued improper grazing management and fire. The reduced forb and shrub components in the plant community would support a very limited population of pollinators. Most reptilian species identified in State 1 Phase 1.1 are not supported with food, water, or cover. This plant community does not support the habitat requirements for sage-grouse. Diversity of grassland avian species is reduced due to poor cover and available food. Birds of prey including hawks and falcons may range throughout these areas looking for prey species. Hunting success by raptors may increase. Mule deer, elk, and pronghorn may utilize the herbaceous vegetation in the early part of the year when the invasive annuals (cheatgrass) are more palatable. At other times of the year these large mammals would not regularly utilize the area due to poor food and cover conditions. Small mammal populations and diversity would be reduced due to poor quality cover, food, and an increase in hunting success by predators.
State 3 – Utah Juniper/ Bluebunch Wheatgrass/ Sandberg Bluegrass Cheatgrass/ Annuals: This state has developed due to improper grazing management and no fire. The loss of native understory vegetation will reduce insect diversity on the site. The lack of flowering plants reduces use by pollinators like butterflies and moths. Most reptilian species identified in State 1 Phase 1.1 are not supported with food, water, or cover. This plant community does not support the habitat requirements for sage-grouse. Birds using this site as resident or migratory habitat include Juniper titmouse, western bluebird, and Virginia’s warbler. The Juniper titmouse relies heavily on juniper seeds for winter food. Hunting success by raptors may decrease due to a heavy overstory of juniper. The plant community supports limited seasonal forage habitat for elk in the spring and fall. Forage habitat for mule deer is provided by juniper. As juniper encroaches the site will provide additional thermal and young of year cover for large mammals.
Grazing Interpretations.
This site has a limited potential for grazing. This site is suited for grazing by livestock in late spring, early summer, and fall. Avoid grazing when the soils are wet in the spring. Extremely stony soils may occasionally limit livestock movement.
Estimated initial stocking rate will be determined with the landowner or decision-maker. They will be based on the inventory which includes species composition, similarity index, production, past use history, season of use, and seasonal preference. Calculations used to determine estimated initial stocking rate will be based on forage preference ratings.
Hydrological functions
The soils in this site are in hydrologic group D. Erosion can be severe it the vegetative cover is depleted. They have high runoff potential.
Recreational uses
The site provides limited recreational opportunities for hunting, off-road vehicles, snowmobiles, hiking, cross-country skiing, early spring flower observation and photography.
Wood products
none.
Other products
none.
Other information
Field Offices
American Falls
Blackfoot
Burley
Driggs
Idaho Falls
Malad
Pocatello
Rexburg
Soda Springs
St. Anthony
Revision Notes: “Previously Approved” Provisional
This Provisional ecological site concept has passed Quality
Control (QC) and Quality Assurance (QA) to ensure that the site
meets the 2014 NESH standards for a Provisional ecological site
description. This is an updated “Previously Approved” ESD that
represents a first-generation tier of documentation that, prior to the
release of the 2014 National Ecological Site Handbook (NESH),
met all requirements as an “Approved” ESD as laid out in the 1997
(rev.1, 2003) National Range and Pasture Handbook (NRPH). The
document fully described the Reference State and Community
Phase in the State-and-Transition model. All other alternative
states are at least described in narrative form. The “Previously
Approved” ESD has been field-tested for a minimum of five years
and is a proven functional document for conservation planning.
The “Previously Approved” ESD does not contain all tabular and
narrative entries as required in the current “Approved” level of
documentation, but it is expected that the “Previously Approved”
ESD will continue refinement toward an “Approved” status.
Site Development and Testing Plan:
Future work, as described in a Project Plan, is necessary to
validate the information in this Provisional Ecological Site
Description. This will include field activities to collect low-,
medium-, and high-intensity sampling, soil correlations, and
analysis of that data. Annual field reviews should be done by soil
scientists and vegetation specialists. The final field review, peer
review, quality control, and quality assurance reviews of the ESD
will be required to produce the final document.
Supporting information
Inventory data references
Information presented here has been derived from NRCS clipping and other inventory data. Also, field knowledge of range-trained personnel was used. Those involved in developing this site description include:
Dave Franzen, co-owner, Intermountain Rangeland Consultants, LLC
Jacy Gibbs, co-owner, Intermountain Rangeland Consultants, LLC
Jim Cornwell, Range Management Specialist, IASCD
Brendan Brazee, State Rangeland Management Specialist, NRCS, Idaho
Lee Brooks, Range Management Specialist, IASCD
Kristen May, Resource Soil Scientist, NRCS, Idaho
Type locality
Location 1: Cassia County, ID | |
---|---|
General legal description | Cassia SSA, East part. |
Other references
Hironaka, M., M.A. Fosberg, A. H. Winward. 1983. Sagebrush-Grass Habitat Types of Southern Idaho. University of Idaho. Moscow, Idaho. Bulletin Number “35”.
Petersen, S.L., 2004. A Landscape-Scale Assessment of Plant Communities, Hydrologic Processes, and State-and-Transition Theory in a Western Juniper Dominated Ecosystem. PhD Dissertation. Oregon State University, Corvallis, Oregon.
USDA Forest Service, Rocky Mountain Research Station. 2004. Restoring Western Ranges and Wildlands. General Technical Report RMRS-GTR-136-vols. 1-3.
USDA, NRCS.2001. The PLANTS Database, Version 3.1 (http://plants.usda.gov.). National Plant Data Center, Baton Rouge, LA 70874-4490 USA.
USDA, Forest Service, Fire Effects Information Database. 2004. www.fs.fed.us/database/feis
USDI Bureau of Land Management, US Geological Survey; USDA Natural Resources Conservation Service, Agricultural Research Service; Interpreting Indicators of Rangeland Health. Technical Reference 1734-6; Version 4-2005.
Approval
Kirt Walstad, 2/13/2025
Rangeland health reference sheet
Interpreting Indicators of Rangeland Health is a qualitative assessment protocol used to determine ecosystem condition based on benchmark characteristics described in the Reference Sheet. A suite of 17 (or more) indicators are typically considered in an assessment. The ecological site(s) representative of an assessment location must be known prior to applying the protocol and must be verified based on soils and climate. Current plant community cannot be used to identify the ecological site.
Author(s)/participant(s) | Dave Franzen and Jacy Gibbs Intermountain Range Consultants 17700 Fargo Rd. Wilder, ID 83676 |
---|---|
Contact for lead author | Brendan Brazee, State Rangeland Management Specialist USDA-NRCS 9173 W. Barnes Drive, Suite C, Boise, ID 83709 |
Date | 05/14/2008 |
Approved by | Kirt Walstad |
Approval date | |
Composition (Indicators 10 and 12) based on | Annual Production |
Indicators
-
Number and extent of rills:
rills rarely occur on this site. If rills are present they are likely to occur on slopes approaching 15 percent and immediately following a wildfire or high intensity storm. Rills are most likely to occur on soils with silt loam or clay loam surface textures. Surface stones or gravels reduce rill formation breaking up water flow patterns. -
Presence of water flow patterns:
water-flow patterns rarely occur on this site. When they do occur they are short and disrupted by cool season grasses, shrubs, and surface stones. They are not extensive. Surface stones reduce the formation of water flow patterns. -
Number and height of erosional pedestals or terracettes:
both are rare on the site. In areas where rills and water flow patterns occur, a few pedestals may be expected. -
Bare ground from Ecological Site Description or other studies (rock, litter, lichen, moss, plant canopy are not bare ground):
need data but is expected to range from 40-50 percent. -
Number of gullies and erosion associated with gullies:
none. -
Extent of wind scoured, blowouts and/or depositional areas:
usually not present. -
Amount of litter movement (describe size and distance expected to travel):
fine litter in the interspaces may move up to 2 feet following a significant run-off event. Coarse litter generally does not move. -
Soil surface (top few mm) resistance to erosion (stability values are averages - most sites will show a range of values):
values should range from 4 to 6 but needs to be tested. -
Soil surface structure and SOM content (include type of structure and A-horizon color and thickness):
structure ranges from weak and moderate very fine, fine and medium granular to weak very fine, fine, medium and thick platy to moderate very thin platy to weak fine and medium subangular blocky. Soil organic matte (SOM) ranges from 1 to 5 percent. Surface color is usually black to very dark grayish brown to dark brown. The A or A1 horizon is typically 1 to 9 inches thick. -
Effect of community phase composition (relative proportion of different functional groups) and spatial distribution on infiltration and runoff:
bunchgrasses, especially deep rooted perennials, slow runoff and increase infiltration. Surface stones aid in slowing water movement and increasing infiltration. Medium height shrubs accumulate some snow in the interspaces. -
Presence and thickness of compaction layer (usually none; describe soil profile features which may be mistaken for compaction on this site):
not present. The site can develop a compaction layer due to the clay in the subsoil from severe livestock use when the soils are wet. Do not mistake an increase in clay content in the subsoil as a compaction layer. -
Functional/Structural Groups (list in order of descending dominance by above-ground annual-production or live foliar cover using symbols: >>, >, = to indicate much greater than, greater than, and equal to):
Dominant:
cool season deep-rooted perennial bunchgrassesSub-dominant:
medium shrubsOther:
perennial forbsAdditional:
shallow rooted bunchgrasses -
Amount of plant mortality and decadence (include which functional groups are expected to show mortality or decadence):
very little mortality or decadence is expected on this site. Mortality of shallow rooted grasses may occur due to extended periods of drought. -
Average percent litter cover (%) and depth ( in):
additional data is needed but is expected to be low and at a shallow depth.
-
Expected annual annual-production (this is TOTAL above-ground annual-production, not just forage annual-production):
is 400 pounds per acre in a year with normal precipitation and temperatures. Perennial grasses produce 55-65 percent of the total production, forbs 10-20 percent and shrubs 20-30 percent. -
Potential invasive (including noxious) species (native and non-native). List species which BOTH characterize degraded states and have the potential to become a dominant or co-dominant species on the ecological site if their future establishment and growth is not actively controlled by management interventions. Species that become dominant for only one to several years (e.g., short-term response to drought or wildfire) are not invasive plants. Note that unlike other indicators, we are describing what is NOT expected in the reference state for the ecological site:
includes cheatgrass, medusahead rye, Vulpia species, annual mustards, and rush skeletonweed.
-
Perennial plant reproductive capability:
all functional groups have the potential to reproduce in normal and favorable years.
Print Options
Sections
Font
Other
The Ecosystem Dynamics Interpretive Tool is an information system framework developed by the USDA-ARS Jornada Experimental Range, USDA Natural Resources Conservation Service, and New Mexico State University.
Click on box and path labels to scroll to the respective text.