
Natural Resources
Conservation Service
Ecological site R013XY008ID
Steep South Slopes 12-16 PZ ARTRV/PSSPS
Last updated: 2/13/2025
Accessed: 10/19/2025
General information
Provisional. A provisional ecological site description has undergone quality control and quality assurance review. It contains a working state and transition model and enough information to identify the ecological site.
MLRA notes
Major Land Resource Area (MLRA): 013X–Eastern Idaho Plateaus
013X-Eastern Idaho Plateaus
Precipitation or Climate Zone: 12-16” P.Z.
https://soils.usda.gov/survey/geography/mlra/index.html
Classification relationships
Artemisia vaseyana/ Agropyron spicatum HT in “Hironaka, M., M.A. Fosberg, A. H. Winward. 1983. Sagebrush-Grass Habitat Types of Southern Idaho. University of Idaho, Moscow, Idaho. Bulletin Number “35”.
Land Resource Unit: B (Northwestern Wheat and Range)
MLRA: 13 (Eastern Idaho Plateaus)
EPA EcoRegion: Level III (Middle Rockies)
Ecological site concept
Site does not receive any additional water.
Soils are:
not saline or saline-sodic.
moderately deep, deep, with >35% stone (10-25”) and boulder (>25”) cover. skeletal within 20” of soil surface, fragment percentage increasing with depth
not strongly or violently effervescent in surface mineral 10”.
textures usually range from very fine sandy loam to clay loam in surface mineral 4”.
Slope is > 30%.
Clay content is = <32% in surface mineral 4”.
Site does not have an argillic horizon with > 35% clay.
Associated sites
R013XY001ID |
Loamy 12-16 PZ |
---|---|
R013XY002ID |
Stony Loam 13-16 PZ ARTRV/PSSPS |
R013XY004ID |
Shallow Gravelly 12-16 PZ ARTRV/PSSPS |
R013XY013ID |
Stony 12-16 PZ ARTRV/FEID |
R013XY028ID |
Shallow Sand 12-16 PZ ARTRV/PSSPS |
Similar sites
R013XY003ID |
Steep South 16-22 PZ ARTRV/PSSPS |
---|
Table 1. Dominant plant species
Tree |
Not specified |
---|---|
Shrub |
Not specified |
Herbaceous |
Not specified |
Physiographic features
This site occurs on moderate to steep mountain slopes, hills and ridges. Slopes are generally 30 to 60 percent, but can reach 80 percent. The site occurs on dominantly south and west aspects. Elevations range from 4500 to 7500 feet (1375 to 2300 meters).
Table 2. Representative physiographic features
Landforms |
(1)
Terrace
(2) Mountain slope |
---|---|
Flooding frequency | None |
Elevation | 4,500 – 7,500 ft |
Slope | 30 – 60% |
Water table depth | 60 in |
Aspect | S, W |
Climatic features
MLRA 13, the Eastern Idaho Plateaus, is part of the Northwestern Wheat and Range Region. Its elevation ranges from 4209 to 9331 feet above sea level, with an average elevation of 5787 feet. The average annual precipitation is 16.41 inches, with a range of 13.56 to 18.75 inches, based on ten long term climate stations located throughout the MLRA. A spike in precipitation amount often occurs in late spring, usually in May.
Temperatures vary widely in the MLRA throughout the year. A maximum temperature of 103° Fahrenheit occurred at the McCammon climate station (# 105716; elevation 4770 feet), while a minimum of -41° was recorded at the Kilgore station (#104908). At all stations temperatures throughout the year are usually below the national average. Kilgore also recorded the greatest annual snowfall amount of 217 inches. The average temperature is 41.4 degrees F. with an average high of 55.3 degrees and an average low of 27.5 degrees.
The frost-free period ranges from 64 to 90 days, while the freeze-free period can be 98 to 123 days.
Table 3. Representative climatic features
Frost-free period (average) | 90 days |
---|---|
Freeze-free period (average) | 123 days |
Precipitation total (average) | 19 in |
Figure 1. Monthly precipitation range
Figure 2. Monthly average minimum and maximum temperature
Influencing water features
This site is not influenced by adjacent wetlands, streams, or run on.
Soil features
The soils on this site are moderately deep to very deep well to somewhat excessively drained silt loams and loams to gravelly, very gravelly, cobbly, very cobbly, stony and very stony loam and silt loam surface textures. Coarse fragments are present in the soil profile and generally increase with depth, and can exceed 35 percent by volume. They are formed in residuum, alluvium, and colluvium derived from quartzite, sandstone, limestone and basalt. Permeability is slow to moderately rapid and the available water holding capacity (AWC) is low to moderate. Surface runoff from bare soils is rapid or very rapid and the hazard of water erosion is very high with increased slope. These soils are characterized by a xeric soil moisture regime and either a frigid or cryic soil temperature regime.
Soil Series Correlated to this Ecological Site
Araveton
Beehunt
Birchcreek
Bergquist
Buist
Cedarhill
Cooley
Cupine
Dirtyhead
Hades
Hondoho
Kucera
Lonigan
Pocatello variant
Rammel
Rexburg
Ridgecrest
Rin
Ririe
Sprollow
Suryon
Thatcher
Valmar
Vipont
Vitale
Wahtigup
Watercanyon
Table 4. Representative soil features
Surface texture |
(1) Gravelly silt loam (2) Very cobbly loam (3) Very stony sandy loam |
---|---|
Drainage class | Well drained to somewhat excessively drained |
Permeability class | Moderately rapid |
Soil depth | 20 – 60 in |
Surface fragment cover <=3" | 45% |
Surface fragment cover >3" | 40% |
Available water capacity (0-40in) |
0.5 – 8.3 in |
Calcium carbonate equivalent (0-40in) |
40% |
Electrical conductivity (0-40in) |
2 mmhos/cm |
Sodium adsorption ratio (0-40in) |
5 |
Soil reaction (1:1 water) (0-40in) |
5.6 – 9 |
Subsurface fragment volume <=3" (Depth not specified) |
75% |
Subsurface fragment volume >3" (Depth not specified) |
40% |
Ecological dynamics
Ecological Dynamics of the Site:
The dominant visual aspect is mountain big sagebrush in the overstory and bluebunch wheatgrass in the understory. Composition by weight is approximately 55 to 65 percent grasses, 5 to 15 percent forbs, and 25 to 35 percent shrubs.
During the last few thousand years, this site has evolved in a semi-arid climate characterized by dry summers and cold, wet winters. Herbivory has historically occurred on this site at low levels of utilization. Herbivores include mule deer, rocky mountain elk, and lagomorphs.
Fire has historically occurred on the site at intervals of 20-50 years.
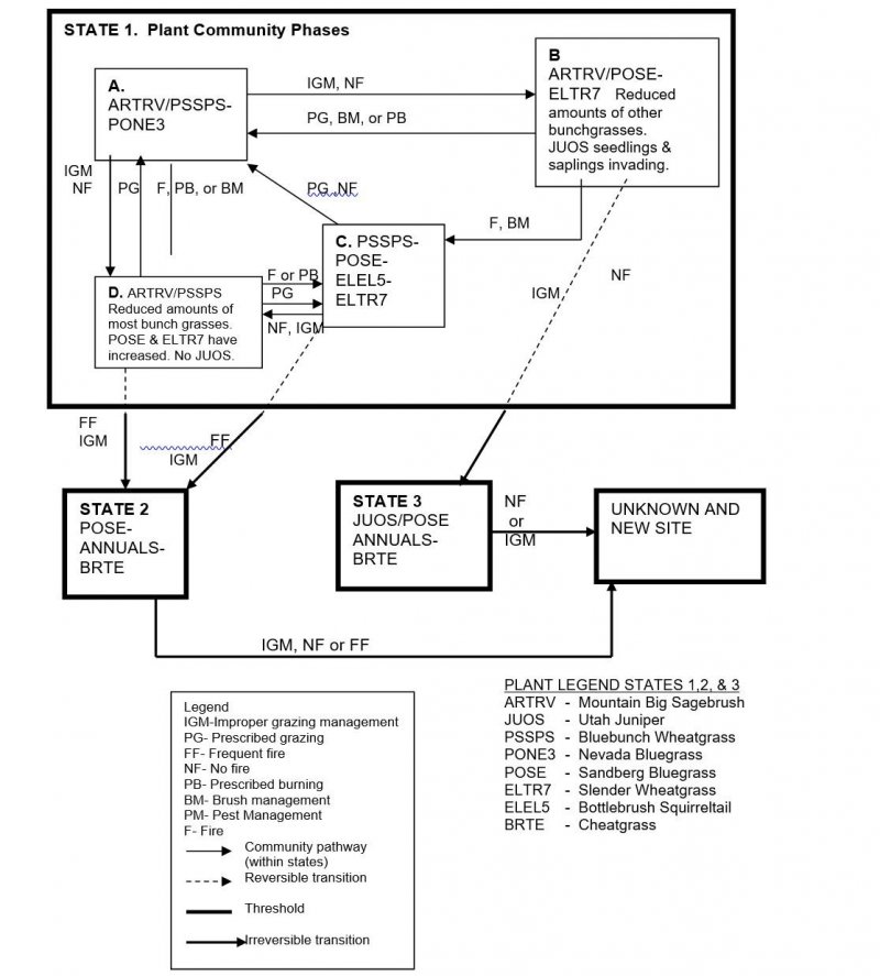
The Historic Climax Plant Community (HCPC), the Reference State (State 1), moves through many phases depending on the natural and man-made forces that impact the community over time. State 1, described later, indicates some of these phases. The Reference Plant Community Phase is Phase A. This plant community is dominated by mountain big sagebrush in the overstory with bluebunch wheatgrass in the understory. Subdominant species can include Nevada bluegrass, slender wheatgrass, Letterman’s needlegrass, sticky geranium, arrowleaf balsamroot, tapertip hawksbeard, and antelope bitterbrush. There is a wide variety of other grasses, forbs, and shrubs in the plant community that occur in minor amounts. The plant species composition of Phase A is listed later under “Reference Plant Community Phase Plant Species Composition”.
Total annual production is 1000 pounds per acre (1120 kilograms per hectare) in a normal year. Production in a favorable year is 1400 pounds per acre (1568 kilograms per hectare). Production in an unfavorable year is 550 pounds per acre (616 kilograms per hectare). Structurally, cool season deep rooted perennial bunchgrasses are very dominant, followed by tall shrubs being more dominant than perennial forbs while shallow rooted perennial bunchgrasses are subdominant.
FUNCTION:
This site is suited for big game and livestock as late spring, summer, and fall range. The site can be winter range for big game in moderate winters. It has limited recreation value except for hunting and hiking.
Due to the rainfall, elevation, and steep topography on this site, it is susceptible to degradation from erosion. Infiltration is good where the community is in mid to late seral status. Runoff, when it does occur can be erosive on steeper slopes particularly during high intensity convection storms.
Impacts on the Plant Community.
Influence of fire:
In the absence of normal fire frequency, mountain big sagebrush and antelope bitterbrush can gradually increase on the site. Grasses and forbs decrease as shrubs increase. Utah juniper can invade the site if a seed source is in the proximity. With the continued absence of fire, mountain big sagebrush or juniper can displace most of the primary understory species. See “Influence of juniper invasion” below.
When fires become more frequent than historic levels (20-50 years), mountain big sagebrush and antelope bitterbrush are reduced significantly. Rabbitbrush can increase slightly. With continued short fire frequency, mountain big sagebrush and antelope bitterbrush can be completely eliminated along with many of the desirable understory species such as bluebunch wheatgrass. These species may be replaced by Sandberg bluegrass along with a variety of annual and perennial forbs including noxious and invasive plants. Cheatgrass will invade the site at lower elevations. These fine fuels will increase the fire frequency.
Influence of improper grazing management:
Season-long grazing and/or excessive utilization can be very detrimental to this site. This type of management leads to reduced vigor of the bunchgrasses. With reduced vigor, recruitment of these species declines. As these species decline, an increase in mountain big sagebrush and noxious and invasive plants will occur. Utah juniper can invade the plant community. Mountain big sagebrush or juniper can completely dominate the site with continued improper grazing management.
Continued improper grazing management influences fire frequency by increasing fine fuels. As cheatgrass increases and becomes co-dominant with Sandberg bluegrass and other annuals, fires become more frequent, particularly at lower elevations.
Proper grazing management that addresses frequency, duration, and intensity of grazing can also keep fine fuels from developing, thereby reducing fire frequency. This can lead to gradual increases in mountain big sagebrush and/or juniper. A planned grazing system can be developed to intentionally accumulate fine fuels in preparation for a prescribed burn. With the steepness of the slopes and the species involved, any brush management should be carefully planned. A reduction of shrubs in areas without a suitable understory of perennial grasses can lead to an increase in fine fuels which will lead to a more frequent fire regime. Loss of key shrub species on this site can have negative impacts on wildlife.
Weather influences:
Above normal precipitation in April, May, and June can dramatically increase total annual production of the plant community. These weather patterns can also increase viable seed production of desirable species to provide for recruitment. Likewise, below normal precipitation during these spring months can significantly reduce total annual production and be detrimental to viable seed production. Overall plant composition is normally not affected when perennials have good vigor.
Below normal temperatures in the spring can have an adverse impact on total production regardless of the precipitation. An early, hard freeze can occasionally kill some plants.
Prolonged drought adversely affects this plant community in several ways. Vigor, recruitment, and production are usually reduced. Mortality can occur. Prolonged drought can lead to a reduction in fire frequency.
Influence of Insects and disease:
Outbreaks can affect vegetation health. Bitterbrush can be severely affected by the western tent caterpillar (Malacosoma fragilis). Two consecutive years of defoliation by the tent caterpillar can cause mortality in bitterbrush. Mormon cricket and grasshopper outbreaks occur periodically. Outbreaks seldom cause plant mortality since defoliation of the plant occurs only once during the year of the outbreak. Snow mold can occasionally cause reduced vigor in mountain big sagebrush, but it is a short-term effect.
Influence of noxious and invasive plants:
Many of these species add to the fine-fuel component and lead to increased fire frequency.
Annual and perennial invasive plants compete with desirable plants for moisture and nutrients. The result is reduced production and change in composition of the understory.
Influence of wildlife:
Big game animals use this site in the spring, summer, and fall and in moderate winters. Their numbers are seldom high enough to adversely affect the plant community. Herbivory can be detrimental to bitterbrush when livestock grazing and browsing by big game occurs at the same time and season. This will occur when both kinds of animal are using the plant in the late summer or fall. The adverse impact is excessive use of the current year’s leader growth. The deer mouse is beneficial to this site as it is the principal vector for planting bitterbrush seed.
Watershed:
Decreased infiltration and increased runoff occur with an increase in mountain big sagebrush. Desired understory species can be reduced. This composition change can affect nutrient and water cycles. Increased runoff also causes sheet and rill erosion. Abnormally short fire frequency also gives the same results, but to a lesser degree. The long-term effect is a transition to a different state.
Influence of Utah juniper invasion:
In plant communities that are invaded by juniper, the species has a competitive advantage for the following reasons:
• Juniper is very drought tolerant.
• It has the ability to extract soil moisture from a wide range of soil depths.
• Juniper has high evapo-transpiration rates.
• The species intercepts rain and snow before it reaches the soil surface.
• It has the ability to grow as long as there is soil moisture and the temperature is above freezing.
• Juniper has a relatively rapid growth rate and is long-lived. It can readily over-top shade intolerant
species which leads to mortality.
• Nutrient cycling is reduced.
• As the canopy closes, juniper gains control of energy capture.
As juniper extracts water, other plants are unable to acquire sufficient water and nutrients to sustain growth and reproduction, thus reducing cover and biomass in the interspaces. After the canopy closes, there is sufficient soil moisture available for shallow-rooted, shade tolerant species to persist directly under the tree.
The following hydrologic impacts occur on sites invaded by juniper:
• Infiltration in the interspaces is reduced.
• Run-off increases resulting in increased sheet and rill erosion with elevated sediment loads.
• Soil temperatures increase in the interspaces which results in accelerated drying of the soil surface.
• Increased bare ground in the interspaces.
• Soil moisture storage is reduced.
As bare ground and interconnectiveness of bare ground increases, flow rates are accelerated (reduction of flow sinuosity) and run-off out of the area increases.
Degradation of these systems can result in the formation of a feedback cycle in which greater juniper cover and density results in greater plant and soil disturbance between the canopies.
In summary, a closed juniper community takes control of the following ecological processes: (1) hydrology, (2) energy capture, and (3) nutrient cycling. The changes are primarily driven by the hydrologic processes. The development of a closed juniper canopy always results in a transition across the threshold to a different state. Generally, when juniper canopy cover nears 20%, the plant community is approaching the threshold.
Plant Community and Sequence:
Transition pathways between common vegetation states and phases:
State 1.
Phase A to B. Develops with improper grazing management and in the absence of fire. There is a Utah juniper seed source present in the vicinity.
Phase A to C. Results from a wildfire, prescribed burning, or brush management.
Phase A to D. Results from improper grazing management and no fire. There is no Utah juniper seed source present in the vicinity.
Phase B to C. Results from a wildfire or brush management.
Phase B to A. Occurs with prescribed grazing and brush management or prescribed burning.
Phase C to A. Results from prescribed grazing and no fire.
Phase D to A. Occurs with prescribed grazing.
Phase D to C. Occurs with fire or prescribed burning and prescribed grazing.
Phase C to D. Occurs with no fire and improper grazing management.
State 1 Phase C & D to State 2. Develops through improper grazing management and frequent fire. This site has crossed the threshold. It is economically impractical to return this state to State 1 with accelerated practices.
State 1, Phase B to State 3. Develops with no fire and improper grazing management from a juniper
invaded phase of State 1. This site has crossed the threshold. It is economically impractical to return this state to State 1 with accelerated practices.
State 2 to unknown site. Excessive soil loss and changes in the hydrologic cycle caused by improper
grazing management and no fire or frequent fire cause this state to cross the threshold and retrogress to a new site with reduced potential. It is economically impractical to return this state to State 1 with accelerated practices.
State 3 to unknown site. Continued lack of fire or improper grazing management cause this state to
cross the threshold and retrogress to a new site with reduced potential due to significant soil loss and changes in hydrology. It is economically impractical to return this state to State 1 with accelerated practices.
Practice Limitations:
Moderate limitations exist for vegetative management by livestock due to steep slopes as they impact the ease of livestock movement. Severe limitations exist on this site for both facilitating and accelerating practices due to steep slopes and stony surfaces.
State and transition model

More interactive model formats are also available.
View Interactive Models
More interactive model formats are also available.
View Interactive Models
Click on state and transition labels to scroll to the respective text
Ecosystem states
State 1 submodel, plant communities
State 2 submodel, plant communities
State 3 submodel, plant communities
State 4 submodel, plant communities
State 1
State 1 Phase A
Community 1.1
State 1 Phase A
Reference Plant Community Phase. This plant community is dominated by mountain big sagebrush with bluebunch wheatgrass in the understory. Subdominant species can include Nevada bluegrass, slender wheatgrass, Letterman’s needlegrass, sticky geranium, arrowleaf balsamroot, tapertip hawksbeard, and antelope bitterbrush. There is a wide variety of other grasses, forbs and shrubs in the plant community that occur in minor amounts. Natural fire frequency is 20-50 years.
Table 5. Ground cover
Tree foliar cover | 0% |
---|---|
Shrub/vine/liana foliar cover | 0% |
Grass/grasslike foliar cover | 0% |
Forb foliar cover | 0% |
Non-vascular plants | 0% |
Biological crusts | 0% |
Litter | 40-60% |
Surface fragments >0.25" and <=3" | 0% |
Surface fragments >3" | 0% |
Bedrock | 0% |
Water | 0% |
Bare ground | 0% |
Figure 3. Plant community growth curve (percent production by month). ID0805, B13 ARTRV . State 1.
Jan | Feb | Mar | Apr | May | Jun | Jul | Aug | Sep | Oct | Nov | Dec |
---|---|---|---|---|---|---|---|---|---|---|---|
J | F | M | A | M | J | J | A | S | O | N | D |
0 | 0 | 0 | 25 | 35 | 30 | 5 | 0 | 0 | 5 | 0 | 0 |
Community 1.2
State 1, Phase B
This plant community is dominated in the overstory by mountain big sagebrush with some Utah juniper seedlings and saplings invading. Sandberg bluegrass and slender wheatgrass have increased. Bluebunch wheatgrass and other bunchgrasses have been reduced and are in low vigor. Some forbs have increased. Antelope bitterbrush is still present but in reduced amounts and may be hedged. A Utah juniper seed source is present in nearby sites. Some cheatgrass may be present. This state has developed due to fire frequency being much longer than normal or improper grazing management with no fire.
Community 1.3
State 1, Phase C
This plant community is dominated by bluebunch wheatgrass. Sandberg bluegrass, bottlebrush squirreltail and slender wheatgrass have increased. Idaho fescue may have been killed by fire as well as other bunchgrasses. Most shrubs are absent from the site due to recent fire, except for some rabbitbrush and mountain snowberry may be present due to sprouting. Some cheatgrass may also be present. The community is a result of recent wildfire, prescribed burning, or brush management.
Community 1.4
State 1, Phase D
This plant community is dominated by mountain big sagebrush in the overstory with reduced amounts of bluebunch wheatgrass and in reduced vigor. Sandberg bluegrass, slender wheatgrass, and bottlebrush squirreltail have increased. Other bunchgrasses have been reduced and are in low vigor. Antelope bitterbrush has reduced vigor and maybe hedged in shape. There is no Utah juniper seed source in the proximity. Some cheatgrass may be present. This plant community has developed due to improper grazing management and no fire
Community 1.5
Pathway 1.1A
Community 1.1 to 1.2
Develops with improper grazing management and in the absence of fire. There is a Utah juniper seed source present in the vicinity.
Pathway 1.1B
Community 1.1 to 1.3
Results from a wildfire, prescribed burning, or brush management.
Pathway 1.1C
Community 1.1 to 1.4
Results from improper grazing management and no fire. There is no Utah juniper seed source present in the vicinity.
Pathway 1.2A
Community 1.2 to 1.1
Occurs with prescribed grazing and brush management or prescribed burning.
Pathway 1.2B
Community 1.2 to 1.3
Results from a wildfire or brush management
Pathway 1.3A
Community 1.3 to 1.1
Results from prescribed grazing and no fire.
Pathway 1.3B
Community 1.3 to 1.4
Occurs with no fire and improper grazing management.
Pathway 1.4A
Community 1.4 to 1.1
Occurs with prescribed grazing.
Pathway 1.4B
Community 1.4 to 1.3
Occurs with fire or prescribed burning and prescribed grazing.
State 2
State 2
This plant community is dominated by Sandberg bluegrass and annuals in the understory. Cheatgrass is a dominant annual in the community. There may be a variety of invasive forbs and some noxious species may have invaded the site. Some soil loss has occurred. The community has developed due to continued improper grazing management and frequent fire. This site has crossed the threshold. It is economically impractical to return this state to State 1 with accelerated practices.
Community 2.1
State 1 Phase B
This plant community is dominated in the overstory by mountain big sagebrush with some Utah juniper seedlings and saplings invading. Sandberg bluegrass and slender wheatgrass have increased. Bluebunch wheatgrass and other bunchgrasses have been reduced and are in low vigor. Some forbs have increased. Antelope bitterbrush is still present but in reduced amounts and may be hedged. A Utah juniper seed source is present in nearby sites. Some cheatgrass may be present. This state has developed due to fire frequency being much longer than normal or improper grazing management with no fire.
Table 6. Ground cover
Tree foliar cover | 0% |
---|---|
Shrub/vine/liana foliar cover | 0% |
Grass/grasslike foliar cover | 0% |
Forb foliar cover | 0% |
Non-vascular plants | 0% |
Biological crusts | 0% |
Litter | 40-60% |
Surface fragments >0.25" and <=3" | 0% |
Surface fragments >3" | 0% |
Bedrock | 0% |
Water | 0% |
Bare ground | 0% |
Figure 4. Plant community growth curve (percent production by month). ID0805, B13 ARTRV . State 1.
Jan | Feb | Mar | Apr | May | Jun | Jul | Aug | Sep | Oct | Nov | Dec |
---|---|---|---|---|---|---|---|---|---|---|---|
J | F | M | A | M | J | J | A | S | O | N | D |
0 | 0 | 0 | 25 | 35 | 30 | 5 | 0 | 0 | 5 | 0 | 0 |
State 3
State 3
This plant community is dominated by Utah juniper with Sandberg bluegrass and annuals in the understory. Cheatgrass is a dominant annual. There are few shrubs present due to competition from junipers. Some deep-rooted perennials may be present under the junipers. When shrub cover is below 10-15%, bare ground is above 25-30%, and juniper cover is greater than 20%, the site has crossed the threshold. Some soil loss has occurred. This plant community has developed due to the lack of fire and continued improper grazing management. It is economically impractical to return this community to State 1 with accelerated practices.
Community 3.1
State 1 Phase C
This plant community is dominated by bluebunch wheatgrass. Sandberg bluegrass, bottlebrush squirreltail and slender wheatgrass have increased. Idaho fescue may have been killed by fire as well as other bunchgrasses. Most shrubs are absent from the site due to recent fire, except for some rabbitbrush and mountain snowberry may be present due to sprouting. Some cheatgrass may also be present. The community is a result of recent wildfire, prescribed burning, or brush management.
Table 7. Ground cover
Tree foliar cover | 0% |
---|---|
Shrub/vine/liana foliar cover | 0% |
Grass/grasslike foliar cover | 0% |
Forb foliar cover | 0% |
Non-vascular plants | 0% |
Biological crusts | 0% |
Litter | 40-60% |
Surface fragments >0.25" and <=3" | 0% |
Surface fragments >3" | 0% |
Bedrock | 0% |
Water | 0% |
Bare ground | 0% |
Figure 5. Plant community growth curve (percent production by month). ID0805, B13 ARTRV . State 1.
Jan | Feb | Mar | Apr | May | Jun | Jul | Aug | Sep | Oct | Nov | Dec |
---|---|---|---|---|---|---|---|---|---|---|---|
J | F | M | A | M | J | J | A | S | O | N | D |
0 | 0 | 0 | 25 | 35 | 30 | 5 | 0 | 0 | 5 | 0 | 0 |
State 4
State 4
Unknown new site. This plant community has gone over the threshold to a new site. Site potential has been reduced. Significant soil loss has occurred. Infiltration has been reduced and run-off has become more rapid. This state has developed due to continued improper grazing management and no fire or frequent fires from State 2 or the continued absence of fire and improper grazing management from the juniper invaded plant community in State 3. It is economically impractical to return this community to State 1 with accelerated practices.
Community 4.1
State 1 Phase D
This plant community is dominated by mountain big sagebrush in the overstory with reduced amounts of bluebunch wheatgrass and in reduced vigor. Sandberg bluegrass, slender wheatgrass, and bottlebrush squirreltail have increased. Other bunchgrasses have been reduced and are in low vigor. Antelope bitterbrush has reduced vigor and maybe hedged in shape. There is no Utah juniper seed source in the proximity. Some cheatgrass may be present. This plant community has developed due to improper grazing management and no fire.
Table 8. Ground cover
Tree foliar cover | 0% |
---|---|
Shrub/vine/liana foliar cover | 0% |
Grass/grasslike foliar cover | 0% |
Forb foliar cover | 0% |
Non-vascular plants | 0% |
Biological crusts | 0% |
Litter | 40-60% |
Surface fragments >0.25" and <=3" | 0% |
Surface fragments >3" | 0% |
Bedrock | 0% |
Water | 0% |
Bare ground | 0% |
Figure 6. Plant community growth curve (percent production by month). ID0805, B13 ARTRV . State 1.
Jan | Feb | Mar | Apr | May | Jun | Jul | Aug | Sep | Oct | Nov | Dec |
---|---|---|---|---|---|---|---|---|---|---|---|
J | F | M | A | M | J | J | A | S | O | N | D |
0 | 0 | 0 | 25 | 35 | 30 | 5 | 0 | 0 | 5 | 0 | 0 |
Transition T1A
State 1 to 2
State 1 Phase C & D to State 2. Develops through improper grazing management and frequent fire. This site has crossed the threshold. It is economically impractical to return this state to State 1 with accelerated practices.
Transition T1B
State 1 to 3
State 1, Phase B to State 3. Develops with no fire and improper grazing management from a juniper invaded phase of State 1. This site has crossed the threshold. It is economically impractical to return this state to State 1 with accelerated practices.
Transition T2A
State 2 to 4
State 2 to unknown site. Excessive soil loss and changes in the hydrologic cycle caused by improper grazing management and no fire or frequent fire cause this state to cross the threshold and retrogress to a new site with reduced potential. It is economically impractical to return this state to State 1 with accelerated practices.
Transition T3A
State 3 to 4
State 3 to unknown site. Continued lack of fire or improper grazing management cause this state to cross the threshold and retrogress to a new site with reduced potential due to significant soil loss and changes in hydrology. It is economically impractical to return this state to State 1 with accelerated practices.
Additional community tables
Interpretations
Animal community
Wildlife Interpretations.
Animal Community – Wildlife Interpretations
This rangeland ecological site provides diverse habitat for many native wildlife species. The plant community exhibits a diverse mixture of forbs throughout the growing season offering excellent habitat for invertebrates. Mule deer and elk utilize the site throughout the year. The rangeland habitat provides seasonal habitat for resident and migratory animals including western toad, shrews, bats, ground squirrels, mice, coyote, red fox, badger, Ferruginous hawk, and prairie falcon. Area sensitive bird species include Brewer’s sparrow, sage thrasher, sage sparrow, and sage-grouse. Water features are sparse provided by seasonal runoff, artificial water catchments, and springs.
State 1 Phase 1.1 – Mountain Big Sagebrush/ Bluebunch Wheatgrass/ Nevada Bluegrass Reference Plant Community (RPC): This plant community provides a diversity of grasses, forbs, and shrubs used by native insect communities that assist in pollination. An extensive array of forbs is represented throughout the growing season leading to a diverse insect community. Many avian and mammal species utilize this habitat based on the availability of invertebrate prey species. The reptile and amphibian community is represented by common sagebrush lizard, western rattlesnake, Great Basin spadefoot toad, western toad, and northern leopard frog. Amphibians are associated with springs and isolated water bodies adjacent to this plant community. Development of spring sites that collect all available water would exclude amphibian use on these sites. Native shrub-steppe obligate bird species utilizing the habitat include the Brewer’s sparrow, sage sparrow, sage grouse, and sage thrasher. Sage-grouse habitat (leks, nesting, brood-rearing, and winter) is provided by this plant community. The plant community provides seasonal forage and cover for large mammals including mule deer and elk. Antelope bitterbrush and mountain big sagebrush provide winter habitat for mule deer and elk. A diverse small mammal population including golden-mantled ground squirrels, jackrabbits, deer mice, and Great Basin pocket mice utilize this plant community. The deer mouse is beneficial to this site as it is the principal vector for planting bitterbrush seed.
State 1 Phase 1.2- Mountain Big Sagebrush/ Sandberg Bluegrass/ Slender Wheatgrass/ Utah Juniper Plant Community: This phase has developed due to fire interval being much longer than normal and/or improper grazing management with no fire. An increase in canopy cover of sagebrush and juniper contributes to a sparse herbaceous understory. A reduced herbaceous understory results in lower diversity and numbers of insects. The reptile and amphibian community will be similar to the State 1 Phase 1.1 community represented by common sagebrush lizard, western rattlesnake, Great Basin spadefoot toad, and western toad. The reduced diversity of insects and loss of understory cover may reduce the quality of food and cover for reptile populations. As juniper increases, habitat cover for Brewer’s sparrow, sage thrasher, and sage sparrow may increase. Remaining sagebrush provides brood-rearing, winter cover, and winter food for sage-grouse but as juniper encroaches the quality of this habitat is severely reduced or eliminated. The plant community supports limited seasonal (spring and fall) habitat for mule deer and elk. Juniper can provide winter habitat (cover and food) for mule deer. As juniper encroaches the site will provide additional thermal cover for large mammals. The small mammal population would be similar to that in State 1 Phase 1.1.
State 1 Phase 1.3 – Bluebunch Wheatgrass/ Sandberg Bluegrass/ Slender Wheatgrass/ Bottlebrush Squirreltail/ Plant Community Plant Community: This plant community is a result of recent wildfire, prescribed burning, or brush management. The plant community, dominated by herbaceous vegetation with little or no sagebrush would provide less vertical structure for animals. Patches of root sprouting shrubs (mt. snowberry and rabbitbrushes) may be present and provide limited vertical structure for wildlife over time. Insect diversity would be reduced but a native forb plant community similar to the one in State 1 Phase 1.1 would still support select pollinators. Habitat for common sagebrush lizard, Great Basin spadefoot toad, and western toad would be limited due to the loss of sagebrush. Amphibian habitat would be tied to permanent spring sites in the area. Development of spring sites that collect all available water would exclude the use of amphibians on these sites. The dominance of herbaceous vegetation with little sagebrush would limit use of these areas as nesting habitat by Brewer’s sparrow, sage sparrow, sage grouse, and sage thrasher. Sage-grouse may use this site for brood-rearing when sagebrush cover is adjacent to the site. Sharp-tailed grouse may find this site suitable habitat. The dominant herbaceous vegetation improves habitat for grassland avian species (horned lark, savannah sparrow, vesper sparrow, and western meadowlark). Mule deer and elk use would be seasonal (spring, summer, and fall) but the site would offer little thermal or young of year cover due to the loss of shrub cover. The diversity and populations of small mammals would be dominated by open grassland species. Large blocks of this plant community would fragment the reference plant community and reduce the quality of habitat for shrub-steppe obligate animal species.
State 1 Phase 1.4 – Mountain Big Sagebrush/ Bluebunch Wheatgrass Plant Community: This plant community is the result of improper grazing management and no fire. An increase in canopy cover of sagebrush contributes to a sparse herbaceous understory. Grasses, forbs, and shrubs are used by native insects that assist in pollination but the reduced herbaceous understory results in lower diversity of insects. The reptile and amphibian community will be similar to the State 1 Phase 1.1 community, represented by common sagebrush lizard, western rattlesnake, Great Basin spadefoot toad, and western toad. The reduced diversity of insects may reduce reptile diversity and populations. Reduced herbaceous understory is a key factor in limiting the use of this plant community by avian species. Shrub-steppe obligate birds include Brewer’s sparrow, sage sparrow, sage thrasher, and sage-grouse. Habitat (brood-rearing and nesting cover) quality for sage-grouse is reduced due to poor vigor and lower diversity in the herbaceous plant community. Winter habitat (cover and food) for sage-grouse is provided. The reduced vigor of understory vegetation provides a shorter forage season for mule deer and elk. Young of year cover is provided for deer. The quality of winter habitat for deer and elk will be reduced due to poor vigor of shrubs and grasses. Small mammal diversity and populations would be similar to that of State 1 Phase 1.1.
State 2 – Sandberg Bluegrass/ Annuals/ Cheatgrass Plant Community:
This community has developed due to continued improper grazing management and frequent fire. The plant community does not support a diverse insect community. The reduced forb and shrub components in the plant community would support a very limited population of pollinators. Habitat for sagebrush lizard, Great Basin spadefoot toad, and western toad would be limited due to the loss of sagebrush. This plant community does not provide quality habitat for sage thrasher, Brewer’s sparrow, sage-grouse, or sage sparrow. Diversity of grassland avian species is reduced due to poor cover and available food. Birds of prey including hawks and falcons may range throughout these areas looking for prey species. Large mammals may utilize the herbaceous vegetation in spring and summer when herbaceous vegetation is more palatable. The populations of small mammals would be dominated by open grassland species. Large blocks of this plant community would fragment the reference plant community and reduce the quality of the habitat for shrub-steppe obligate animal species.
State 3 – Utah Juniper/ Sandberg Bluegrass/ Annuals/ Cheatgrass Plant Community Plant Community: This state has developed due to improper grazing management and no fire. The loss of native understory vegetation will reduce insect diversity on the site. Habitat for sagebrush lizard, Great Basin spadefoot toad, and western toad would be limited due to the loss of brush cover. This plant community does not support the habitat requirements for sage-grouse. Birds using this site as resident or migratory habitat include Juniper titmouse, western bluebird, and Virginia’s warbler. The Juniper titmouse relies heavily on juniper seeds for winter food. Hunting success by raptors may decrease due to a heavy overstory of juniper. The plant community supports limited seasonal (spring and fall) habitat for mule deer and elk in spring and fall. As juniper encroaches the site will provide additional thermal cover for large mammals in winter. Juniper can provide food and cover for mule deer in winter.
Grazing Interpretations.
This site is most suitable for livestock grazing in late spring, summer, and fall. Steep slopes may limit livestock movement during mid summer heat.
Estimated initial stocking rate will be determined with the landowner or decision-maker. They will be based on the inventory which includes species, composition, similarity index, production, past use history, season of use, and seasonal preference. Calculations used to determine estimated initial stocking rate will be based on forage preference ratings.
Hydrological functions
The soils in this site are in hydrologic group B. When the hydrologic condition of the vegetative cover is good, natural erosion hazard is slight.
Recreational uses
This site has fair to moderate value for aesthetics. Many forbs and shrubs bloom in late spring, summer, and fall. This site offers wildlife viewing potential along edges of adjacent sites, particularly woodland sites. The site has limited value for hunting, hiking, and horseback riding as the stony surface can limit access.
Wood products
none
Other products
none
Other information
Field Offices
American Falls, ID
Blackfoot, ID
Burley, ID
Driggs, ID
Idaho Falls, ID
Malad, ID
Pocatello, ID
Rexburg, ID
Soda Springs, ID
St. Anthony, ID
Revision Notes: “Previously Approved” Provisional
This Provisional ecological site concept has passed Quality
Control (QC) and Quality Assurance (QA) to ensure that the site
meets the 2014 NESH standards for a Provisional ecological site
description. This is an updated “Previously Approved” ESD that
represents a first-generation tier of documentation that, prior to the
release of the 2014 National Ecological Site Handbook (NESH),
met all requirements as an “Approved” ESD as laid out in the 1997
(rev.1, 2003) National Range and Pasture Handbook (NRPH). The
document fully described the Reference State and Community
Phase in the State-and-Transition model. All other alternative
states are at least described in narrative form. The “Previously
Approved” ESD has been field-tested for a minimum of five years
and is a proven functional document for conservation planning.
The “Previously Approved” ESD does not contain all tabular and
narrative entries as required in the current “Approved” level of
documentation, but it is expected that the “Previously Approved”
ESD will continue refinement toward an “Approved” status.
Site Development and Testing Plan:
Future work, as described in a Project Plan, is necessary to
validate the information in this Provisional Ecological Site
Description. This will include field activities to collect low-,
medium-, and high-intensity sampling, soil correlations, and
analysis of that data. Annual field reviews should be done by soil
scientists and vegetation specialists. The final field review, peer
review, quality control, and quality assurance reviews of the ESD
will be required to produce the final document.
Supporting information
Inventory data references
Information presented here has been derived from NRCS clipping and other inventory data. Also, field knowledge of range-trained personnel was used. Those involved in developing this site description include:
Dave Franzen, co-owner, Intermountain Rangeland Consultants, LLC
Jacy Gibbs, co-owner, Intermountain Rangeland Consultants, LLC
Jim Cornwell, Range Management Specialist, IASCD
Brendan Brazee, State Rangeland Management Specialist, NRCS, Idaho
Lee Brooks, Range Management Specialist, IASCD
Kristen May, Resource Soil Scientist, NRCS, Idaho
Other references
Hironaka, M., M.A. Fosberg, A. H. Winward. 1983. Sagebrush-Grass Habitat Types of Southern Idaho. University of Idaho, Moscow, Idaho. Bulletin Number “35”.
Petersen, S.L., 2004. A Landscape-Scale Assessment of Plant Communities, Hydrologic Processes, and State-and-Transition Theory in a Western Juniper Dominated Ecosystem. PhD Dissertation. Oregon State University, Corvallis, Oregon.
USDA Forest Service, Rocky Mountain Research Station. 2004. Restoring Western Ranges and Wildlands. General Technical Report RMRS-GTR-136-vols. 1-3.
USDA, NRCS.2001. The PLANTS Database, Version 3.1 (http://plants.usda.gov.). National Plant Data Center, Baton Rouge, LA 70874-4490 USA.
USDA, Forest Service, Fire Effects Information Database. 2004. www.fs.fed.us/database/feis
USDI Bureau of Land Management, US Geological Survey; USDA Natural Resources Conservation Service, Agricultural Research Service; Interpreting Indicators of Rangeland Health. Technical Reference 1734-6; Version 4-2005.
Approval
Kirt Walstad, 2/13/2025
Rangeland health reference sheet
Interpreting Indicators of Rangeland Health is a qualitative assessment protocol used to determine ecosystem condition based on benchmark characteristics described in the Reference Sheet. A suite of 17 (or more) indicators are typically considered in an assessment. The ecological site(s) representative of an assessment location must be known prior to applying the protocol and must be verified based on soils and climate. Current plant community cannot be used to identify the ecological site.
Author(s)/participant(s) | Dave Franzen and Jacy Gibbs Intermountain Range Consultants 17700 Fargo Rd. Wilder, ID 83676 |
---|---|
Contact for lead author | Brendan Brazee, State Rangeland Management Specialist USDA-NRCS 9173 W. Barnes Drive, Suite C, Boise, ID 83709 |
Date | 05/13/2008 |
Approved by | Kirt Walstad |
Approval date | |
Composition (Indicators 10 and 12) based on | Annual Production |
Indicators
-
Number and extent of rills:
rills can occur on this site. If rills are present they are likely to occur immediately following wildfire. Rills are most likely to occur on soils with surface textures of silt loam and clay loam. Surface stones slow water movement and reduce rill development. -
Presence of water flow patterns:
water-flow patterns occur on this site. When they occur, they are short and disrupted by cool season grasses and tall shrubs and are not extensive. Stony surface texture interrupts flows.
-
Number and height of erosional pedestals or terracettes:
both occur on this site but are not extensive. In areas where flow patterns and/or rills are present, a few pedestals may be expected. Terracettes also occur on the site uphill from tall shrub bases and large bunchgrasses. -
Bare ground from Ecological Site Description or other studies (rock, litter, lichen, moss, plant canopy are not bare ground):
data is not available. On sites in mid-seral status bare ground may range from 20-45 percent.
-
Number of gullies and erosion associated with gullies:
none. -
Extent of wind scoured, blowouts and/or depositional areas:
usually not present. Immediately following wildfire some soil movement may occur on lighter textured soils, but stones reduce this impact. -
Amount of litter movement (describe size and distance expected to travel):
fine litter in the interspaces may move up to 3 feet following a significant run-off event. Coarse litter generally does not move. Stones on the surface help reduce fine litter movement. -
Soil surface (top few mm) resistance to erosion (stability values are averages - most sites will show a range of values):
values should range from 4 to 6 but needs to be tested. -
Soil surface structure and SOM content (include type of structure and A-horizon color and thickness):
structure ranges from weak and moderate very fine, fine, medium, and coarse granular to weak and moderate very thin, thin, medium, and thick platy to weak and moderate fine, medium and coarse subangular blocky. Soil organic matter (SOM) ranges from 0 to 6 percent. Surface color can range from black to very dark grayish brown to dark yellowish brown. The A or A1 horizon is typically 2 to 26 inches thick. -
Effect of community phase composition (relative proportion of different functional groups) and spatial distribution on infiltration and runoff:
bunchgrasses, especially deep-rooted perennials, slow run-off and increase infiltration. Tall shrubs catch blowing snow in the interspaces. -
Presence and thickness of compaction layer (usually none; describe soil profile features which may be mistaken for compaction on this site):
not present. -
Functional/Structural Groups (list in order of descending dominance by above-ground annual-production or live foliar cover using symbols: >>, >, = to indicate much greater than, greater than, and equal to):
Dominant:
cool season deep-rooted perennial bunchgrassesSub-dominant:
tall shrubsOther:
perennial forbsAdditional:
shallow rooted bunchgrasses -
Amount of plant mortality and decadence (include which functional groups are expected to show mortality or decadence):
mountain big sagebrush will become decadent in the absence of normal fire frequency and ungulate grazing. Grass and forb mortality will occur as tall shrubs increase. -
Average percent litter cover (%) and depth ( in):
additional litter cover data is needed but is expected to be 10-20 percent to a depth of 0.1 inches. Under mature shrubs litter is >0.5 inches deep and is 90-100 percent ground cover. -
Expected annual annual-production (this is TOTAL above-ground annual-production, not just forage annual-production):
is 1000 pounds per acre (1120 kilograms per hectare) in a year with normal temperatures and precipitation. Perennial grasses produce 55-65 percent of the total production, forbs 5-15 percent and shrubs 25-35 percent. -
Potential invasive (including noxious) species (native and non-native). List species which BOTH characterize degraded states and have the potential to become a dominant or co-dominant species on the ecological site if their future establishment and growth is not actively controlled by management interventions. Species that become dominant for only one to several years (e.g., short-term response to drought or wildfire) are not invasive plants. Note that unlike other indicators, we are describing what is NOT expected in the reference state for the ecological site:
includes rush skeletonweed, tansymustard, Jim Hill tumblemustard, yellow salsify, musk and scotch thistle, diffuse and spotted knapweed, peppergrass, and broom snakeweed. Cheatgrass can invade the site at the lower elevations. -
Perennial plant reproductive capability:
all functional groups have the potential to reproduce in most years.
Print Options
Sections
Font
Other
The Ecosystem Dynamics Interpretive Tool is an information system framework developed by the USDA-ARS Jornada Experimental Range, USDA Natural Resources Conservation Service, and New Mexico State University.
Click on box and path labels to scroll to the respective text.