

Natural Resources
Conservation Service
Ecological site R056AY087ND
Limy Subirrigated
Last updated: 5/21/2025
Accessed: 10/19/2025
General information
Provisional. A provisional ecological site description has undergone quality control and quality assurance review. It contains a working state and transition model and enough information to identify the ecological site.
Figure 1. Mapped extent
Areas shown in blue indicate the maximum mapped extent of this ecological site. Other ecological sites likely occur within the highlighted areas. It is also possible for this ecological site to occur outside of highlighted areas if detailed soil survey has not been completed or recently updated.
MLRA notes
Major Land Resource Area (MLRA): 056A–Glacial Lake Agassiz, Red River Valley
The Red River Valley of the North MLRA is an expansive and agriculturally important region consisting of 10,400,000 acres and including a portion of 25 counties in eastern North Dakota and northwestern Minnesota along with a small portion of the northeast corner (Roberts County) of South Dakota.
Although MLRA 56A is currently called the Red River Valley of the North, the landscape does not fit the common understanding of “valley” as the transition out of the Valley is very gradual in most places. The extent of the MLRA corresponds to the area covered by Glacial Lake Agassiz including lacustrine sediments, beach ridges, and deltas where rivers flowed into the glacial lake. Also included are island areas of glacial till which were surrounded by the lake waters. Some of the lacustrine deposits are very deep and some have glacial till within a few feet of the surface. The glaciolacustrine materials range from clayey to sandy.
The primary river in the MLRA is the Red River of the North flowing northward into Canada where it empties into Lake Winnipeg. The river is formed by the confluence of the Bois de Sioux River (flowing from northeastern South Dakota) and the Ottertail River flowing from west-central Minnesota. Numerous tributaries in MLRA 56A contribute additional water to the Red River. In Minnesota these include the Two Rivers, Snake, Marsh, Middle, Red Lake, Wild Rice, and Buffalo. In North Dakota, the Pembina, Tongue, Park, Forest, Turtle, Goose, Elm, Rush, Maple, Sheyenne, and Wild Rice are tributaries to the Red River. There are also smaller streams and coulees along with many legal drains.
The relative flatness of much of the MLRA contributes to a flooding hazard for large areas of agricultural land in the spring months. Soil salinity, while variable, also impacts land management on many areas within the MLRA. Extensive surface and subsurface (tile) drainage systems have been constructed/installed to manage excess water and/or salinity on cropland. This extensive drainage has apparently reduced ground water recharge regionally, thus impacting seasonal water table level/fluctuation and its influence on plant communities. Soils that were poorly drained prior to wide- spread drainage may now function as somewhat poorly drained or even moderately well drained soils. For example, undrained Fargo soils are Wet Meadow ecological sites; with surface drainage they may function as Subirrigated sites; and with tile drainage, they commonly function as Clayey sites. Because of the extensive alteration of the hydrology, restoration to the natural conditions of the reference state dynamics would not be possible.
MLRA 56A is an ecotone between grassland dominated MLRAs 55A and 55B to the west and forest dominated MLRAs 56B and 102A to the east. This region is utilized mostly by farms; about 80 percent is non-irrigated cropland, but some irrigated fields exist on the beach areas. Cash-grain, bean, sugar beets, potatoes, and oil production crops are the principal enterprise on many farms, but other feed grains and hay are also grown. Currently about 6 percent of this area is forested, mostly in areas along rivers that are difficult to access with farm equipment. Another 6 percent is grassland used for ranching and/or wildlife habitat. Grazing lands occur primarily in the Sand Hills area of the Sheyenne River delta, on beach areas, and on other areas too wet, saline, sodic, steep, or inaccessible to be productive cropland.
Classification relationships
Level IV Ecoregions of the Conterminous United States: 48a Glacial Lake Agassiz Basin; 48b Beach Ridges and Sand Deltas; 48c Saline Area; 48d Lake Agassiz Plains.
Ecological site concept
The Limy Subirrigated ecological site is located on low-relief areas of lake plains, till-floored lake plains, outwash plains, and delta plains - on flats and on slightly convex slopes adjacent to shallow depressions. In addition, it occurs on some low terraces of drainageways, as well as on isolated areas of till plain. The soils are very deep. The dark-colored surface soil is more than 7 inches thick and typically has calcium carbonate (slight to moderate effervescence). The subsoil is highly calcareous (violent effervescence) within a depth of 16 inches. The soils are somewhat poorly drained; redoximorphic features typically occur at a depth between 18 and 30 inches. Since carbonate accumulation and a seasonal high-water table are the primary factors used in identifying this site, soil texture is not a criterion in site identification. Soil salinity, typically, is none to slight to a depth >16 inches; sodicity is also low to that depth. Slope is typically less than 3 percent. On the landscape, this site is below the Loamy, Sandy, and Subirrigated Sands ecological sites and above the Saline Lowland, Wet Meadow, Shallow Marsh, and Sodic Subirrigated sites. The Subirrigated ecological site has concave slopes; the depth to a highly calcareous subsoil, where present, is greater than 16 inches.
To see a full copy of the ecological site description with all tables and the full version 5 rangeland health worksheet. Please use the following hyperlink:(
https://efotg.sc.egov.usda.gov/references/public/ND/56A_Limy_Subirrigated_Narrative_FINAL_Ref_FSG.pdf )
Associated sites
R056AY101ND |
Shallow Marsh This site occurs in deep depressions which have frequent ponding through most of the growing season. All textures are included in this site. |
---|---|
R056AY096ND |
Subirrigated Sands This site occurs on slightly higher, better drained positions on sand plains and outwash plains. It is not highly calcareous in the surface or upper subsoil layers. |
R056AY094ND |
Loamy This site occurs on somewhat higher, better drained positions on till plains and lake plains. The surface and upper subsoil are typically non-calcareous; depth to strong or violent effervescence is >8 inches. The surface layer and subsoil form a ribbon 1 to 2 inches long. It is >30 inches to redoximorphic features. |
R056AY105ND |
Sodic Subirrigated This site occurs on poorly drained landscape positions on sand plains. Redoximorphic features occur within a depth of 18 inches. The soil has a dense, sodic claypan. The surface layer and upper part of subsoil do not have significant salt accumulations (E.C. <8 dS/m). |
R056AY095ND |
Subirrigated This site occurs on concave flats and in shallow depressions which have occasional, brief ponding early in the growing season. It is >16 inches to a highly calcareous subsoil. All textures are included in this site. |
R056AY102ND |
Wet Meadow This site occurs in depressions and slightly below Limy Subirrigated on flats. It is poorly drained - a seasonal high water table is typically within a depth of 1.5 feet during the months of April through June; in depressions, it is frequently ponded (typically <1.5) in April and May. It typically has redoximorphic features within a depth of 18 inches. Some soils are highly calcareous. It is non-saline to slightly saline (E.C. <8) in the surface and subsoil layers. All textures are included in this site. |
R056AY091ND |
Sandy This site occurs on higher, better drained positions on lake plains. The surface and upper subsoil are non-calcareous. The surface layer and subsoil form a ribbon <1 inches long. It is >30 inches to redoximorphic features. |
R056AY089ND |
Saline Lowland This site occurs on slightly lower landscape positions; it is poorly drained. It has an accumulation of salts in the surface and subsoil layer (E.C. >8 dS/m) in all plant community States. |
Similar sites
R056AY095ND |
Subirrigated This site occurs on concave flats and in shallow depressions which have occasional, brief ponding early in the growing season. It is >16 inches to a highly calcareous subsoil. All textures are included in this site. |
---|---|
R056AY089ND |
Saline Lowland This site occurs on slightly lower landscape positions; it is poorly drained. It has an accumulation of salts in the surface and subsoil layer (E.C. >8 dS/m) in all plant community States. |
Table 1. Dominant plant species
Tree |
Not specified |
---|---|
Shrub |
Not specified |
Herbaceous |
(1) Andropogon gerardii |
Physiographic features
This site typically occurs on lake plains, till-floored lake plains, outwash plains, and delta plains where they are on flats and on slightly convex slopes adjacent to shallow depressions. It also occurs on isolated areas of till plain and on some low terraces of drainageways; flooding on these drainageways is rare to occasional with a brief duration. The subsurface hydrology of this site has been considered more determinative of the plant community than landform or soils variability; further investigation and documentation of the landform/soils/ hydrology/plant relationship is needed. Slopes typically are less than 3 percent.
Table 2. Representative physiographic features
Landforms |
(1)
Outwash plain
(2) Delta plain (3) Lake plain (4) Ground moraine (5) Drainageway |
---|---|
Runoff class | Negligible to medium |
Flooding duration | Brief (2 to 7 days) |
Flooding frequency | None to occasional |
Ponding frequency | None |
Elevation | 750 – 1,475 ft |
Slope | 3% |
Water table depth | 18 – 42 in |
Aspect | Aspect is not a significant factor |
Climatic features
MLRA 56A is considered to have a continental climate – cold winters and relatively hot summers, low to moderate humidity, light rainfall, and much sunshine. Extremes in temperature may also abound. The climate is the result of this MLRA’s location near the geographic center of North America. There are few natural barriers on the northern Great Plains and air masses move freely across the plains and account for rapid changes in temperature.
Annual precipitation typically ranges from 18 to 23 inches per year. The average annual temperature is about 40°F. January is the coldest month with average temperatures ranging from about 1°F (Pembina, North Dakota (ND) to about 11°F (Wheaton, Minnesota (MN). July is the warmest month with temperatures averaging from about 68°F (Pembina, ND) to about 73°F (Wheaton, MN). The range of normal average monthly temperatures between the coldest and warmest months is about 65°F. This large annual range attests to the continental nature of this area's climate. Winds are estimated to average about 13 miles per hour annually, ranging from about 15 miles per hour during the spring to about 11 miles per hour during the summer. Daytime winds are generally stronger than nighttime and occasional strong storms may bring brief periods of high winds with gusts to more than 50 miles per hour.
Growth of cool season plants begins in early to mid-March, slowing or ceasing in late June. Warm season plants begin growth about mid-May and continue to early or mid-September. Greening up of cool season plants may occur in September and October when adequate soil moisture is present.
Table 3. Representative climatic features
Frost-free period (characteristic range) | 102-126 days |
---|---|
Freeze-free period (characteristic range) | 132-145 days |
Precipitation total (characteristic range) | 21-24 in |
Frost-free period (actual range) | 87-131 days |
Freeze-free period (actual range) | 126-150 days |
Precipitation total (actual range) | 20-25 in |
Frost-free period (average) | 112 days |
Freeze-free period (average) | 138 days |
Precipitation total (average) | 22 in |
Figure 2. Monthly precipitation range
Figure 3. Monthly minimum temperature range
Figure 4. Monthly maximum temperature range
Figure 5. Monthly average minimum and maximum temperature
Figure 6. Annual precipitation pattern
Figure 7. Annual average temperature pattern
Climate stations used
-
(1) VICTOR 4 NNE [USC00398652], Rosholt, SD
-
(2) PARK RIVER [USC00326857], Park River, ND
-
(3) GRAFTON [USC00323594], Grafton, ND
-
(4) WHEATON [USC00218907], Wheaton, MN
-
(5) AGASSIZ REFUGE [USC00210050], Grygla, MN
-
(6) PEMBINA [USW00014924], Pembina, ND
Influencing water features
This Limy Subirrigated site does receive additional water from a seasonal high-water table. The high level of carbonates near the surface indicates that the soils formed with a dominantly upward direction of water movement through the soil. During the growing season, water table depths typically are 1.5 to 3.5 feet during April through June. As a result of evapotranspiration and reduced precipitation, the water table lowers to 4 to 6 feet during July and August. It commonly starts to rise again in the fall (commonly at 2.5 to 5 feet during September through November). Surface infiltration ranges from moderately slow to rapid. Permeability through the profile ranges from slow to rapid. Water loss on this site is through evapotranspiration.
Soil features
Soils associated with this site are in the Mollisol order and most are classified further as Aeric Calciaquolls; some Aquic Calciudolls are also currently included in the site (see Site Development and Testing Plan below). These soils were developed under prairie vegetation. Typically, they formed in glaciolacustrine sediments, glaciofluvial deposits, or deltaic deposits; a few formed in alluvium along drainageways.
The common features of soils in this site are a highly calcareous subsoil within a depth of 16 inches and a seasonal high-water table which contributes additional water for transpiration. This site is somewhat poorly drained; redoximorphic features typically occur at a depth between 18 and 30 inches. These soils are very deep. Since sub-surface hydrology and calcium carbonate (CaCO3) accumulation are the primary factors used in identifying this site, all textures are included. Therefore, soil physical properties associated with texture vary widely.
Soil salinity is none to slight (E.C. <8 dS/m) to a depth 16 inches in the non-saline phases; in saline phases (Salinized Sate), E.C. exceeds 8 dS/m and may exceed 16 dS/m in some areas. Sodicity is typically low or moderately low (SAR <7) to 16 inches in the non-saline state but may be >7 in saline phases. Both salinity and sodicity commonly increase with depth in moderately fine to moderately coarse textured soils.
Soil reaction typically is neutral to moderately alkaline (pH 6.6 to 8.4) in the surface layer and slightly or moderately alkaline (pH 7.4 to 8.4) below. The soil is highly calcareous within a depth 16 inches. Calcium carbonate content is typically less than 15 percent in the surface layer. It is commonly 15 to 45 percent in the highly calcareous subsoil; however, in sandy soils, this layer may have 5 to 15 percent carbonates. Calcium carbonate content decreases in the substratum.
Soils on this site are moderately susceptible to highly susceptible to wind erosion. The soil surface is stable and intact.
Major soil series correlated to the Limy Subirrigated site are Antler, Bearden, Bohnsack, Divide, Elmville, Fram, Gilby, Glyndon, Grimstad, Gunclub, Hamerly, McIntosh, Moritz, Ortonville, Ulen, Wheatville, and Wyndmere.
Access Web Soil Survey ( https://websoilsurvey.sc.egov.usda.gov/App/WebSoilSurvey.aspx ) for specific local soils information.
Table 4. Representative soil features
Parent material |
(1)
Glaciolacustrine deposits
(2) Glaciofluvial deposits (3) Alluvium (4) Lacustrine deposits (5) Outwash (6) Till |
---|---|
Surface texture |
(1) Loamy fine sand (2) Sandy loam (3) Loam (4) Silt loam (5) Clay loam (6) Sandy clay loam (7) Silty clay loam (8) Silty clay |
Family particle size |
(1) Sandy (2) Clayey |
Drainage class | Somewhat poorly drained |
Permeability class | Slow to rapid |
Surface fragment cover <=3" | 5% |
Surface fragment cover >3" | 6% |
Available water capacity (0-40in) |
3 – 9 in |
Calcium carbonate equivalent (0-40in) |
5 – 45% |
Electrical conductivity (0-16in) |
8 mmhos/cm |
Sodium adsorption ratio (0-16in) |
7 |
Soil reaction (1:1 water) (0-40in) |
6.6 – 8.4 |
Subsurface fragment volume <=3" (Depth not specified) |
30% |
Subsurface fragment volume >3" (Depth not specified) |
5% |
Ecological dynamics
This ecological site description is based on nonequilibrium ecology and resilience theory and utilizes a State-and-Transition Model (STM) diagram to organize and communicate information about ecosystem change as a basis for management. The ecological dynamics characterized by the STM diagram reflect how changes in ecological drivers, feedback mechanisms, and controlling variables can maintain or induce changes in plant community composition (phases and/or states). The application of various management actions, combined with weather variables, impact the ecological processes which influence the competitive interactions, thereby maintaining or altering plant community structure.
Prior to European influence, the historical disturbance regime for MLRA 56A included frequent fires, both anthropogenic and natural in origin. Most fires, however, were anthropogenic fires set by Native Americans. Native Americans set fires in all months except perhaps January. These fires occurred in two peak periods, one from March-May with the peak in April and another from July-November with the peak occurring in October. Most of these fires were scattered and of small extent and duration. The grazing history would have involved grazing and browsing by large herbivores (such as American bison, elk, and whitetail deer). Herbivory by small mammals, insects, nematodes, and other invertebrates are also important factors influencing the production and composition of the communities. Grazing and fire interaction, particularly when coupled with drought events, influenced the dynamics discussed and displayed in the following state and transition diagram and descriptions.
Following European influence, this ecological site generally has had a history of grazing by domestic livestock, particularly cattle, which along with other related activities (e.g., fencing, water development, fire suppression) has changed the disturbance regime of the site. Changes will occur in the plant communities due to these and other factors.
Weather fluctuations coupled with managerial factors may lead to changes in the plant communities and may, under adverse impacts, result in a slow decline in vegetative vigor and composition. However, under favorable conditions the botanical composition may resemble that prior to European influence.
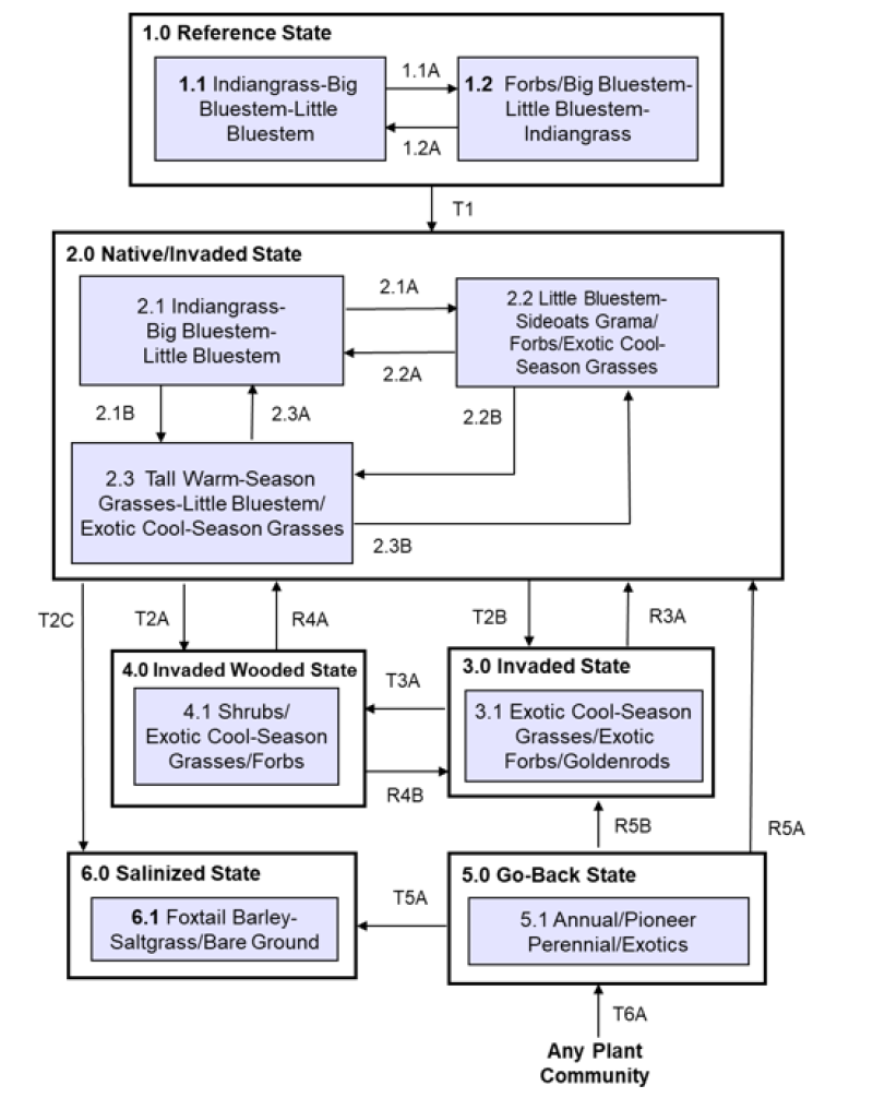
Five vegetative states have been identified for the site (Reference, Native/Invaded, Wooded, Invaded, and Go-Back). Within each state, one or more community phases have been identified. These community phases are named based on the more dominant and visually conspicuous species; they have been determined by study of historical documents, relict areas, scientific studies, and ecological aspects of plant species and plant communities. Transitional pathways and thresholds have been determined through similar methods.
State 1: Reference State represents the natural range of variability that dominated the dynamics of this ecological site prior to European influence. Dynamics of the state were largely determined by variations in climate and weather (e.g., drought), as well as that of fire (e.g., timing, frequency) and grazing by native herbivores (e.g., frequency, intensity, selectivity). Due to those variations, the Reference State is thought to have shifted temporally and spatially between two plant community phases.
Presently, the primary disturbances include widespread introduction of exotic plants, concentrated livestock grazing, lack of fire, and perhaps long-term non-use or very light grazing (and no fire). Because of these changes, particularly the widespread occurrence of exotic species, as well as other environmental changes, the Reference State is considered to no longer exist. Thus, the presence of exotic plants on the site precludes it from being placed in the Reference State. It must then be placed in one of the other states, commonly State 2: Native/Invaded State (T1A).
State 2: Native/Invaded State. Colonization of the site by exotic plants results in a transition from State 1: Reference State to State 2: Native/Invaded State (T1A). This transition was inevitable; it often resulted from colonization by exotic cool-season grasses (e.g., Kentucky bluegrass, smooth brome, quackgrass) which have been particularly and consistently invasive under long-term non-use or very light grazing, and no fire. Other exotic plants (e.g., Canada thistle, leafy spurge) are also known to invade the site.
Three community phases have been identified for this state; they are similar to the community phases in the Reference State but have now been invaded by exotic cool-season grasses. These exotic cool- season grasses can be expected to increase. As that increase occurs, plants more desirable to wildlife and livestock may decline. A decline in forb diversity can also be expected. Under non-use or minimal use management, mulch increases and may become a physical barrier to plant growth. This also changes the micro-climate near the surface and may alter infiltration, nutrient cycling, and biological activity near the soil surface. As a result, these factors coupled with shading cause desirable native plants to have increasing difficulty remaining viable and recruitment declines.
To slow or limit the invasion of these exotic grasses or other exotic plants, it is imperative that managerial techniques (e.g., prescribed grazing, prescribed burning) be carefully constructed, monitored, and evaluated with respect to that objective. If management does not include measures to control or reduce these exotic plants, the transition to State 3: Invaded State should be expected (T2B). Long-term non-use or very light grazing, and no fire, can lead to State 4: Invaded Wooded State (T2A). Long-term heavy grazing or annual haying will lead to State 6: Salinized State (T2C).
State 3: Invaded State. The threshold for this state is reached when both the exotic cool-season grasses (e.g., Kentucky bluegrass, smooth brome, quackgrass) exceed 30% of the plant community and native grasses represent less than 40% of the community. Two community phases have been identified for this state, one dominated by exotic cool-season grasses, and one dominated by shrubs (commonly willows).
The exotic cool-season grasses can be quite invasive and often form monotypic stands. As they increase, both forage quantity and quality of the annual production becomes increasingly restricted to late spring and early summer, even though annual production may increase. Forb diversity often declines. Under non-use or minimal use management, mulch can increase and become a physical barrier to plant growth which alters nutrient cycling, infiltration, and soil biological activity. As such, desirable native plants become increasingly displaced.
Once the state is well established, prescribed burning and prescribed grazing techniques have been largely ineffective in suppressing or eliminating the exotic cool-season grasses, even though some short-term reductions may appear successful. However, assuming there is an adequate component of native grasses to respond to treatments, a restoration pathway to State 2: Native/Invaded State may be accomplished with the implementation of long-term prescribed grazing in conjunction with prescribed burning (R3A). Long-term non-use or very light grazing, and no fire, can lead to State 4: Invaded Wooded State (T3A).
State 4: Invaded Wooded State. This state historically existed as small patches of trees and/or shrubs scattered across the site when precipitation, fire frequency, and other factors enabled woody species to colonize or encroach on the site. This often resulted in a mosaic of patches of woody vegetation interspersed within the grass dominated vegetation. A marked increase in non-use management and active fire suppression since European influence has enabled this state to expand and become more widespread. One community phase has been identified and often results from long-term non-use or very light grazing, and no fire (T2A, T3A). Depending on the abundance of native plants, brush control may need to be followed by a range planting to complete the restoration to State 2: Native/Invaded State (R4A).
State 5: Go-Back State often results following cropland abandonment and consists of only one plant community phase. This weedy assemblage may include noxious weeds that need control. Over time, the exotic cool-season grasses (Kentucky bluegrass, smooth brome, and/or quackgrass) will likely predominate.
Initially, due to extensive bare ground and a preponderance of shallow rooted annual plants the potential for soil erosion is high. Plant species richness may be high, but overall diversity (i.e., equitability) is typically low, with the site dominated by a relatively small assemblage of species.
Due to the lack of native perennials and other factors, restoring the site with the associated ecological processes is difficult. However, a successful range planting may result in something approaching State 2: Native/Invaded State (R5A). Following establishment, prescribed grazing, prescribed burning, haying, and the use of herbicides will generally be necessary to achieve the desired result and control weeds, some of which may be noxious weeds. A failed range planting and/or secondary succession with soil E.C. <8 dS/m will lead to State 3: Invaded State (R5B). The cessation of annual cropping with E.C. >8 dS/m, with no range planting or failed range planting (i.e. secondary succession) will result in the transition to State 5: Salinized State (T5A).
State 6.0: Salinized State: Soil parent material in MLRA 56A is commonly stratified; contrasting textures often create episaturation and regional lateral movement of water. Discharge of laterally moving saline water can contribute significantly to the salinization of the soils. In addition, specifically in Grand Forks County (Manvel area), artesian pressure forces water from the Dakota Sandstone aquifer toward the land surface, contributing to wide-spread soil salinity.
The Salinized State often results from long-term overgrazing or annual haying on high-water table soils. This leads to an increase in lower statured shallow-rooted plants, decreased litter, increased bare ground, resulting in decreased transpiration and increased evaporation increasing upward water movement to the soil surface through capillary rise. Water evaporates and soluble salts accumulate. Salinity greater than 8 dS/m favors foxtail barley, salt grass, and bare ground. The site remains somewhat poorly drained.
Increased salinity is the main driver for the transition to State 6.0 Salinized State of a Limy Subirrigated ecological site. Increased salinity levels favor salt tolerant vegetation and will make perennial vegetation establishment more difficult. State 6.0: Salinized State also occurs along the upland boundary of wetlands. Long term overgrazing or total removal of vegetation (cropping) along the wetland edge increases evaporation with less transpiration; this brings salts to the soil surface increasing surface salinity. This salinization process can be exasperated by cropping the recharge areas around the wetland.
The following state and transition model diagram illustrates the common states, community phases, community pathways, and transition and restoration pathways that can occur on the site. These are the most common plant community phases and states based on current knowledge and experience; changes may be made as more data are collected. Pathway narratives describing the site’s ecological dynamics reference various management practices (e.g., prescribed grazing, prescribed fire, brush management, herbaceous weed treatment) which, if properly designed and implemented, will positively influence plant community competitive interactions. The design of these management practices will be site specific and should be developed by knowledgeable individuals; based upon management goals and a resource inventory; and supported by an ongoing monitoring protocol.
When the management goal is to maintain an existing plant community phase or restore to another phase within the same state, modification of existing management to ensure native species have the competitive advantage may be required. To restore a previous state, the application of two or more management practices in an ongoing manner will be required. Whether using prescribed grazing, prescribed burning, or a combination of both with or without additional practices (e.g., brush management), the timing and method of application needs to favor the native species over the exotic species. Adjustments to account for variations in annual growing conditions and implementing an ongoing monitoring protocol to track changes and adjust management inputs to ensure desired outcome will be necessary.
The plant community phase composition table(s) has been developed from the best available knowledge including research, historical records, clipping studies, and inventory records. As more data are collected, plant community species composition and production information may be revised.
Figure 8: Diagram depicts water movement, capillary rise on high water table soils. In silt loam soils, this rise can reach eight to nine feet above the water table. In sandy soils, which have larger pore sizes between soil particles, the capillary rise is less, perhaps reaching 1.5 to 2 feet above the water table. Water movement toward the surface due to capillary rise provides a continuous supply of soluble salts which accumulate in the root zone or at the soil surface as the capillary water evaporates
State and transition model



Figure 8. Diagram depicts water movement, capillary rise on high water table soils.

Figure 9. Diagram depicts water movement (surface and subsurface) from Wet Meadow/Shallow Marsh and adjacent upland site to the State 5.0 Salinized State of a Limy Subirrigated. Increased salinity levels will make establishment of grasses and forbs more difficult.
More interactive model formats are also available.
View Interactive Models
More interactive model formats are also available.
View Interactive Models
Click on state and transition labels to scroll to the respective text
Ecosystem states
States 2, 5 and 6 (additional transitions)
T1A | - | Introduction of exotic cool-season grasses |
---|---|---|
T2B | - | Long-term heavy grazing or non-use |
T2A | - | Long-term non-use or very light grazing, no fire |
T2C | - | Long-term heavy grazing or annual haying |
R3A | - | Long-term prescribed grazing and prescribed burning |
T3A | - | Long-term non-use or very light grazing, no fire |
R4A | - | Brush control, perhaps followed by range planting |
R4B | - | Brush control |
R5A | - | Successful range planting |
R5B | - | Failed range planting and/or secondary succession with soil EC<8 |
T5A | - | Secondary succession with soil electric conductivity (EC) >8 |
T6A | - | Cessation of annual cropping |
State 1 submodel, plant communities
1.1A | - | Periods of below average precipitation, increased disturbance |
---|---|---|
1.2A | - | Return to average precipitation and disturbance regime |
State 2 submodel, plant communities
2.1A | - | No grazing, no fire |
---|---|---|
2.1B | - | Heavy grazing pressure without adequate recovery periods |
2.2A | - | Prescribed grazing and prescribed burning |
2.2B | - | Long-term heavy grazing pressure |
2.3A | - | Prescribed grazing and prescribed burning |
2.3B | - | Prescribed grazing |
State 3 submodel, plant communities
State 4 submodel, plant communities
State 5 submodel, plant communities
State 6 submodel, plant communities
State 1
Reference State
This state represents the natural range of variability that dominated the dynamics of this ecological site prior to European influence. The primary disturbance mechanisms for this site in the reference condition included frequent fire and grazing by large herding ungulates. Timing of fires and grazing, coupled with weather events, dictated the dynamics that occurred within the natural range of variability. These factors likely caused the community to shift both spatially and temporally between two community phases. Both warm-season grasses and cool-season grasses were well represented in the community; as a result, production was distributed throughout the growing season.
Characteristics and indicators. (i.e., characteristics and indicators that can be used to distinguish this state from others). Because of changes in disturbances and other environmental factors (particularly the widespread occurrence of exotic species), the Reference State is considered to no longer exist.
Resilience management. (i.e., management strategies that will sustain a state and prevent a transition). If found intact, the reference state should probably be managed with current disturbance regimes which has permitted the site to remain in reference condition, as well as maintaining the quality and integrity of associated ecological sites. Maintenance of the reference state is contingent upon a monitoring protocol to guide management.
Community 1.1
Indiangrass-Big Bluestem-Little Bluestem (Sorghastrum nutans-Andropogon gerardii-Schizachyrium scoparium)
This community phase was the most dominant both temporally and spatially. Major warm-season grasses included Indiangrass, big bluestem, little bluestem, and sideoats grams. Porcupinegrass, green needlegrass, western wheatgrass, and slender wheatgrass were the major cool-season grasses. A diverse forb component included Indianhemp, Norwegian cinquefoil, purple prairie clover, American licorice, and Canada goldenrod. Leadplant and rose were common shrubs. Annual production would have varied from about 3000-5200 pounds per acre with grasses and grass-likes, forbs, and shrubs contributing about 85%, 10%, and 5% respectively. This community represents the plant community phase upon which interpretations are primarily based and is described in the “Plant Community Composition and Group Annual Production” portion of this ecological site description.
Figure 10. Annual production by plant type (representative values) or group (midpoint values)
Table 5. Annual production by plant type
Plant type | Low (lb/acre) |
Representative value (lb/acre) |
High (lb/acre) |
---|---|---|---|
Grass/Grasslike | 2755 | 3759 | 4535 |
Forb | 205 | 315 | 450 |
Shrub/Vine | 40 | 126 | 215 |
Total | 3000 | 4200 | 5200 |
Community 1.2
Forbs/Little Bluestem-Big Bluestem-Indiangrass (Forbs/Schizachyrium scoparium-Andropogon gerardii-Sorghastrum nutans)
This community phase could be characterized by marked increases in forbs and little bluestem with corresponding decreases in Indiangrass and big bluestem compared to Community Phase 1.1. Fire events followed by increased grazing pressure were prominent factors in the change. Dominant grasses would have included little bluestem, switchgrass, prairie cordgrass, big bluestem, and Indiangrass. Showy forbs (such as tall gayfeather, sunflowers, showy deathcamas, black-eyed Susan, goldenrods, and American Licorice) would have dominated the visual appearance of the site. Annual production would have been somewhat reduced compared to Community Phase 1.1. The contribution from forbs, however, would have increased.
Pathway 1.1A
Community 1.1 to 1.2
Community Phase Pathway 1.1 to 1.2 would have occurred during periods of below average precipitation and increased disturbance. This would have resulted in marked increases in forbs and little bluestem with corresponding decreases in Indiangrass and big bluestem.
Pathway 1.2A
Community 1.2 to 1.1
Community Phase Pathway 1.2A occurred with the return to average precipitation and historic disturbance regime leading to increases in big bluestem and Indiangrass with corresponding decreases in forbs and little bluestem.
State 2
Native/Invaded State
This state is similar to State 1: Reference State but has now been colonized by the exotic cool-season grasses (commonly Kentucky bluegrass, smooth brome, and/or quackgrass) which are now present in small amounts. Although the state is still dominated by native grasses, an increase in these exotic cool-season grasses can be expected. These exotic cool-season grasses can be quite invasive on the site and are particularly well adapted to heavy grazing. They also often form monotypic stands. As these exotic cool-season grasses increase, both forage quantity and quality become increasingly restricted to late spring and early summer due to the monotypic nature of the stand, even though annual production may increase. Native forbs generally decrease in production, abundance, diversity, and richness compared to that of State 1: Reference State. These exotic cool-season grasses have been particularly and consistently invasive under long-term non-use or very light grazing, and no fire. To slow or limit the invasion of these exotic grasses, it is imperative that managerial techniques (e.g., prescribed grazing, prescribed burning) be carefully constructed, monitored, and evaluated with respect to that objective. If management does not include measures to control or reduce these exotic cool-season grasses, the transition to State 4: Invaded State should be expected. Annual production of this state can be quite variable, in large part due to the amount of exotic cool- season grasses. However, annual production may be expected to range from 3000-5200 pounds per acre.
Characteristics and indicators. (i.e., characteristics that can be used to distinguish this state from others). The presence of trace amounts of exotic cool-season grasses indicates a transition from State 1 to State 2. The presence of exotic biennial or perennial leguminous forbs (i.e., sweet clover, black medic) may not, on their own, indicate a transition from State 1 to State 2 but may facilitate that transition.
Resilience management. (i.e., management strategies that will sustain a state and prevent a transition). To slow or limit the invasion of these exotic grasses, it is imperative that managerial techniques (e.g., prescribed grazing, prescribed burning) be carefully constructed, monitored, and evaluated with respect to that objective. Grazing management should be applied that enhances the competitive advantage of native grass and forb species. This may include: (1) grazing when exotic cool-season grasses are actively growing and native cool-season grasses are dormant; (2) applying proper deferment periods allowing native grasses to recover and maintain or improve vigor; (3) adjusting overall grazing intensity to reduce excessive plant litter (above that needed for rangeland health indicator #14 – see Rangeland Health Reference Worksheet); (4) incorporating early heavy spring utilization which focuses grazing pressure on exotic cool-season grasses and reduces plant litter, provided that livestock are moved when grazing selection shifts from exotic cool-season grasses to native grasses. Prescribed burning should be applied in a manner that maintains or enhances the competitive advantage of native grass and forb species. Prescribed burns should be applied as needed to adequately reduce/remove excessive plant litter and maintain the competitive advantage for native species. Timing of prescribed burns (spring vs. summer vs. fall) should be adjusted to account for differences in annual growing conditions and applied during windows of opportunity to best shift the competitive advantage to the native species.
Community 2.1
Indiangrass/ Big Bluestem/ Little Bluestem (Sorghastrum nutans-Andropogon gerardii-Schizachyrium scoparium)
This community phase is similar to Community Phase 1.1 but has been colonized by exotic cool- season grasses (often Kentucky bluegrass, smooth brome, and/or quackgrass). However, these exotic grasses are present in smaller amounts with the community still dominated by native grasses. Annual production of this state can be quite variable, in large part due to the amount of exotic cool- season grasses. However, annual production may be expected to range from 3000-5200 pounds per acre.
Community 2.2
Little Bluestem-Sideoats Grama/ Forbs/ Exotic Cool-Season Grasses (Schizachyrium scoparium-Bouteloua curtipendula)

Figure 11. Community Phase 2.2: Little Bluestem-Sideoats Grama/Forbs/Exotic Cool-Season Grasses
This community phase is characterized by a shift from the tall warm-season grasses to the more grazing tolerant, mid statured warm-season bunchgrass and introduced cool-season sod formers. In the early stages of this community phase, little bluestem will initially increase along with the increase of introduced cool-season grasses. In many situations with inadequate recovery periods, the little bluestem will also begin to decline over time, facilitating the change to State 4: Invaded State. Significant grass and grass-like species include little bluestem, porcupinegrass, slender wheatgrass, switchgrass, prairie cordgrass, Kentucky bluegrass, and sedges. Other grasses present include sideoats grama, northern reedgrass, mat muhly, and scratchgrass. Indiangrass and big bluestem are still present in minor amounts. Common forbs include American licorice, white sagebrush, goldenrods, silverleaf Indian breadroot, and common yarrow. Western snowberry and prairie rose are the principal shrubs. This community phase is often dispersed throughout the pasture, in an overgrazed/undergrazed pattern, typically referred to as patch grazing. Some areas (overgrazed) will exhibit the impacts of heavy use, while other areas (undergrazed) will have a build-up of litter and a high amount of plant decadence. This is a typical pattern found in properly stocked pastures grazed season-long. In the undergrazed patches, litter buildup reduces plant vigor and density, and native seedling recruitment declines. Due to a lack of tiller stimulation and sunlight, native bunchgrasses typically develop dead centers and native rhizomatous grasses are limited to small colonies. In the overgrazed patches, plant vigor is reduced; the competitive advantage goes towards the grazing tolerant short-statured species, such as Kentucky bluegrass. This community phase is approaching the threshold leading to a transition to State 4: Invaded State. As a result, it is an “at risk” community. If management does not include measures to control or reduce these exotic cool-season grasses, the transition to State 4: Invaded State should be expected.
Community 2.3
Tall Warm-Season Grasses-Little Bluestem/ Exotic Cool-Season Grasses (Tall Warm-Season Grasses-Schizachyrium scoparium/ Exotic Cool-Season Grasses)

Figure 12. Community Phase 2.3: Tall Warm-Season Grasses-Little Bluestem/Exotic Cool-Season Grasses
The removal of disturbances has allowed the plant community to shift to one visually dominated by tall warm-season species with Kentucky bluegrass invading this plant community. Tall warm-season grasses have decreased in vigor and density but are still visually dominant. This plant community is short-lived and is at risk of approaching the threshold which could readily transition to State 3: Invaded State. If management is significantly altered, this community phase can still be reverted to Plant Community Phase 2.1. A combination of long-term prescribed grazing and prescribed burning may be the most effective method to move this community phase towards a community resembling the reference plant community. Kentucky bluegrass constitutes 20 to 30 percent of the annual production with tall and mid statured warm-season native grasses (such as Indiangrass, switchgrass, little bluestem, and sideoats grama) constituting at least 40 percent of the annual production. Native forbs (such as Maximilian sunflower, goldenrods, white heath aster, common yarrow, Cuman ragweed, and white sagebrush) are present along with introduced forbs, such as sweet clover and black medic. Shrubs include western snowberry and prairie rose. Annual production is similar to that of the reference plant community.
Pathway 2.1A
Community 2.1 to 2.2
Community Phase Pathway 2.1 to 2.2 results from heavy grazing without adequate recovery periods. This results in increases in little bluestem, exotic cool-season grasses, and forbs with corresponding decreases in Indiangrass and big bluestem. However, the inadequate recovery periods between grazing events are especially damaging to the tall warm-season grasses. As the vigor of these dominant species is reduced, the more grazing tolerant native and introduced species gain a competitive advantage.
Pathway 2.1B
Community 2.1 to 2.3
Community Phase Pathway 2.1 to 2.3 results from long-term non-use or very light grazing, and no fire. This results in a reduction in vigor and density of the tall warm-season grasses (e.g., Indiangrass, big bluestem) and corresponding increases in the exotic cool-season grasses, little bluestem, and forbs.
Pathway 2.2A
Community 2.2 to 2.1
Community Phase Pathway 2.2 to 2.1 is initiated with the implementation of long-term prescribed grazing and prescribed burning. If properly implemented, this will shift the competitive advantage from the introduced cool-season species to the tall and mid warm-season grass species.
Pathway 2.2B
Community 2.2 to 2.3


Community Phase Pathway 2.2 to 2.3 is initiated with the implementation of long-term prescribed grazing. This enables the tall warm-season grasses (i.e., big bluestem, Indiangrass, switchgrass) to increase in appearance and vigor but not density. This pathway is similar to that of Community Phase Pathway 2.2A; however, it involves prescribed grazing but not prescribed burning. The lack of prescribed burning leads to (among other things) markedly reduced vigor and production of Indiangrass compared to Community Phase Pathway 2.2A.
Pathway 2.3A
Community 2.3 to 2.1
Community Phase Pathway 2.3 to 2.1 can occur with the implementation of long-term prescribed grazing and prescribed burning. This results in marked increases in the density and vigor of Indiangrass and big bluestem with a corresponding decrease in the exotic cool-season grasses.
Pathway 2.3B
Community 2.3 to 2.2


Community Phase Pathway 2.3 to 2.2 results from long-term heavy grazing without adequate recovery periods. This results in increases in little bluestem, exotic cool-season grasses, and forbs with corresponding decreases in Indiangrass and big bluestem. The inadequate recovery periods between grazing events are especially damaging to the tall warm-season grasses. As the vigor of these dominant species is reduced, the more grazing tolerant native and introduced species gain a competitive advantage.
State 3
Invaded State
This state is the result of invasion and dominance by the exotic cool-season grasses (commonly Kentucky bluegrass, smooth brome, and/or quackgrass). The exotic Canada thistle and leafy spurge may also invade the site. These exotic cool-season grasses can be quite invasive on the site and are particularly well adapted to heavy grazing. They also often form monotypic stands. As these exotic cool-season grasses increase, both forage quantity and quality become increasingly restricted to late spring and early summer due to the monotypic nature of the stand, even though annual production may increase. Native forbs generally decrease in production, abundance, diversity, and richness compared to that of State 1: Reference State. Common forbs often include white heath aster, goldenrod, common yarrow, and white sagebrush. Shrubs, such as western snowberry and rose, may show marked increases. Once the state is well established, prescribed burning and grazing techniques have been largely ineffective in suppressing or eliminating these species, even though some short-term reductions may appear successful. Annual production of this state may vary widely, in part due to variations in the extent of invasion by exotic cool-season grasses. However, annual production may be in the range of 1700-2800 pounds per acre, with the exotic cool-season grasses contributing up to 75% or more of the total production.
Characteristics and indicators. (i.e., characteristics that can be used to distinguish this state from others). This site is characterized by exotic cool-season grasses constituting greater than 30 percent of the annual production and native grasses constituting less than 40 percent of the annual production.
Resilience management. (i.e., management strategies that will sustain a state and prevent a transition). Light or moderately stocked continuous, season-long grazing or a prescribed grazing system which incorporates adequate deferment periods between grazing events and proper stocking rate levels will maintain this State. Application of herbaceous weed treatment (herbicide and or targeted grazing), occasional prescribed burning and/or brush management may be needed to manage noxious weeds and increasing shrub (e.g., western snowberry) populations.
Community 3.1
Exotic Cool-Season Grasses/ Exotics Forbs/ Goldenrods (Exotic Cool-Season Grasses/ Exotic Forbs/ Solidago spp.)
This community phase is dominated by exotic cool-season grasses (e.g., Kentucky bluegrass, smooth brome, quackgrass) in association with exotic forbs and goldenrods. Native grasses are largely absent. Common exotic forbs include black medic, sweet clover, Canada thistle and leafy spurge. Excessive accumulation of mulch may also be present, particularly when dominated by Kentucky bluegrass. Total production may be in the range of 1700-2800 pounds per acre, with the bulk of the production attributable to the exotic cool-season grasses. As a result of the dominance of cool-season exotic grasses, production is largely limited to early in the growing season and late in the growing season, depending upon growing conditions. The longer this community phase exists, the more resilient it becomes. Natural or management disturbances that reduce the cover of Kentucky bluegrass or other exotic cool-season grasses are typically short-lived.
State 4
Invaded Wooded State
This state historically existed as small patches of shrubs (e.g., willow/dogwood species) scattered across the site, particularly during wet periods and near wooded areas where shrubs could encroach onto the site vegetatively (e.g., rhizomes, root sprouts) or provided a seed source for colonization of the site. Variations in fire frequency enabled woody plant species in some areas (i.e., period of infrequent fire) to grow large enough to escape the next fire event. As trees increased in size, canopy cover increased which altered micro-climate and reduced fine fuel amounts, resulting in reduced fire intensity and frequency. This would have been the primary pathway under the historic disturbance regime and would have resulted in a mosaic pattern of small shrub patches interspersed within herbaceous plant community phases. Marked increases in non-use management and active fire suppression since European influence have enabled this state to expand and become more widespread.
Characteristics and indicators. (i.e., characteristics and indicators that can be used to distinguish this state from others). The dominance of woody species (by cover and production) distinguishes this state from other herbaceously dominated states.
Resilience management. (i.e., management strategies that will sustain a state and prevent a transition). This state is resistant to change in the long-term absence of fire. Restoration efforts would require the use of prescribed fire, mechanical treatment, and prescribed grazing. Considerable time and effort will be required to restore to other States.
Community 4.1
Shrubs/Exotic Cool-Season Grasses/Forbs
Visually, this community phase is characterized by a dominance of shrubs (such as willow, meadowsweet, western snowberry, dogwood, and/or prairie rose). The understory is composed of exotic cool-season grasses (e.g., Kentucky bluegrass) along with forbs (such as Cuman ragweed, goldenrods, and white sagebrush). Native grasses may still be present but in greatly reduced numbers, below that which would allow for recovery.
State 5
Go-Back State
This state is highly variable depending on the level and duration of disturbance related to the T6A transitional pathway. In this MLRA, the most probable origin of this state is plant succession following cropland abandonment. This plant community will initially include a variety of annual forbs and grasses, some of which may be noxious weeds and need control. Over time, the exotic cool-season grasses (Kentucky bluegrass, smooth brome, and/or quackgrass) will likely predominate.
Characteristics and indicators. (i.e., characteristics that can be used to distinguish this state from others). Tillage has destroyed the native plant community, altered soil structure and biology, reduced soil organic matter, and resulted in the formation of a tillage induced compacted layer which is restrictive to root growth. Removal of perennial grasses and forbs results in decreased infiltration and increased runoff.
Resilience management. (i.e., management strategies that will sustain a state and prevent a transition). Continued tillage will maintain the state. Control of noxious weeds will be required.
Community 5.1
Annual/Pioneer Perennial/Exotics
This community phase is highly variable depending on the level and duration of disturbance related to the T6A transitional pathway. In this MLRA, the most probable origin of this phase is secondary succession following cropland abandonment. This plant community will initially include a variety of annual forbs and grasses, including noxious weeds (e.g. Canada thistle, leafy spurge) which may need control. Over time the exotic cool-season grasses Kentucky bluegrass, smooth brome, and/or quackgrass crested wheatgrass will likely predominate, often in association with exotic forbs and goldenrods.
State 6
Salinized State
Increased salinity is the main driver for the transition to State 6: Salinized State of a Limy Subirrigated ecological site. Increased salinity levels favor salt tolerant vegetation and will make perennial vegetation establishment more difficult. Long-term heavy grazing, annual haying, or total removal of vegetation (cropping) increases evaporation with less transpiration bringing salts to the soil surface increasing surface salinity. This salinization process can be exasperated by cropping. Salinity increases greater than 8 dS/m favors foxtail barley, salt grass, and bare ground. The site remains somewhat poorly drained. Annual production of this state may vary widely, in part due to salinity levels. As salinity increases, production decreases as does palatability of the species present, e.g., foxtail barley.
Characteristics and indicators. (i.e., characteristics that can be used to distinguish this state from others). This site is characterized when salinity levels are greater than 8 dS/m and saline-tolerant vegetation (such as foxtail barley, saltgrass, Nutall’s alkali grass, western wheatgrass, and bare ground) begin to dominate the site.
Resilience management. (i.e., management strategies that will sustain a state and prevent a transition). That state is very resilient to change. Salinity levels (>8 dS/m) are difficult to reduce allowing for non-salt tolerant grasses to establish. No known restoration pathways or technology currently exists to restore this site to State 2. At a minimum, salinity levels need to be reduced to less than 8 dS/m and native grasses (such as big bluestem, Indian grass, needlegrasses, and little bluestem) need to be present or planted on the site to transition to State 2. A transition to State 3 Invaded State will be a more likely pathway. Prior to implementation of any management or restoration techniques, such as range planting, salinity levels need to be determined.
Community 6.1
Foxtail Barley-Saltgrass/ Bare Ground (Hordeum jubatum- Distichlis spicata/ Bare Ground)
This community phase is dominated by foxtail barley, saltgrass, and bare ground. Forbs are limited and may consist of curlycup gumweed, silverleaf cinquefoil, and western dock. In this MLRA, the most probable origin of this phase is overgrazing with increased salinity and increased capillary action bringing salts to the soil surface. As salinity increases, bare ground may also increase.
State 7
Any Plant Community State
Transition T1A
State 1 to 2
This is the transition from the State 1: Reference State to the State 2: Native/Invaded State due to the introduction and establishment of exotic cool-season grasses, typically Kentucky bluegrass, smooth brome, and/or quackgrass. This transition was probably inevitable and corresponded to a decline in native warm-season and cool-season grasses. This transition may have been exacerbated by chronic season-long or heavy late season grazing. Complete rest from grazing and suppression of fire could also have hastened the transition. The threshold between states was crossed when Kentucky bluegrass, smooth bromegrass, quackgrass, or other exotic species became established on the site.
Constraints to recovery. (i.e., variables or processes that preclude recovery of the former state). Current knowledge and technology will not facilitate a successful restoration to Reference State.
Transition T2B
State 2 to 3
This transition from the State 2: Native/Invaded State to State 3: Invaded State generally occurs with long-term heavy grazing or long-term non-use. Exotic cool-season grasses (such as quackgrass, Kentucky bluegrass, and/or smooth brome) become the dominant graminoids. Studies indicate that a threshold may exist in this transition when both the exotic cool-season grasses exceed 30% of the plant community and native grasses represent less than 40% of the plant community composition.
Constraints to recovery. (i.e., variables or processes that preclude recovery of the former state). Variations in growing conditions (e.g., cool, wet spring) will influence effects of various management activities on exotic cool-season grass populations.
Transition T2A
State 2 to 4
This transition from the State 2: Native/Invaded to State 4: Invaded Wooded State generally occurs with long-term non-use or very light grazing, and no fire. It frequently occurs when the site has high density of shrubs, such as willow or dogwood, or is in close proximity to shrub dominated areas where woody vegetation may encroach vegetatively upon the site and/or serve as a seed source for these species to colonize the site. It has also become more frequent following European settlement when the historic fire regime was markedly reduced.
Constraints to recovery. (i.e., variables or processes that preclude recovery of the former state). The extended fire interval may make recovery doubtful due to the abundance of exotic cool-season grasses and lack of native grasses. Fire intensity along with consumption of available fuels may cause incomplete or patchy burns. Continued recruitment of tree seeds from adjacent sites will hamper site restoration. Constraints to recovery include reticence to undertake tree removal and the perception that trees may be a desirable vegetation component for wildlife habitat, carbon sequestration, aesthetics, etc. Managers wanting to manage the site for deer, livestock, or grassland nesting birds will need to consider the intensive management required to restore and maintain the site in State 2. The disturbance regime necessary to restore this site to State 2: Native/Invaded State is very labor intensive and costly; therefore, addressing woody removal earlier in the encroachment phase is the most cost-effective treatment for woody control.
Transition T2C
State 2 to 6
This transition from State 2: Native/Invaded State to State 6: Salinized State results from long-term heavy grazing or annual haying which leads to salinization of the site. Vegetation becomes characterized by foxtail barley, saltgrass, and areas of bare ground.
Constraints to recovery. (i.e., variables or processes that preclude recovery of the former state). Increased salinity at the soil surface will make it difficult to restore to a less salinized state.
Restoration pathway R3A
State 3 to 2
This Restoration Pathway from State 3: Invaded State to State 2: Native/Invaded State may be accomplished with the implementation of long-term prescribed grazing and prescribed burning, assuming there is an adequate component of native grasses to respond to the treatments. Both prescribed grazing and prescribed burning are likely necessary to successfully initiate this restoration pathway, the success of which depends upon the presence of a remnant population of native grasses in Community Phase 4.1. That remnant population, however, may not be readily apparent without close inspection. The application of several prescribed burns may be needed at relatively short intervals in the early phases of this restoration process, in part because many of the shrubs (e.g., western snowberry) sprout profusely following one burn. Early season prescribed burns have been successful; however, fall burning may also be an effective technique. The prescribed grazing should include adequate recovery periods following each grazing event and stocking levels which match the available resources. If properly implemented, this will shift the competitive advantage from the exotic cool-season grasses to the native cool-season grasses.
Context dependence. (i.e., factors that cause variations in plant community shifts, restoration likelihood, and contribute to uncertainty). Grazing management should be applied in a manner that enhances/maximizes the competitive advantage of native grass and forb species over the exotic species. This may include the use of prescribed grazing to reduce excessive plant litter accumulations above that needed for rangeland health indicator #14 (see Rangeland Health Reference Worksheet). Increasing livestock densities may facilitate the reduction in plant litter, provided length and timing of grazing periods are adjusted to favor native species. Grazing prescriptions designed to address exotic grass invasion and favor native species may involve earlier, short, intense grazing periods with proper deferment to improve native species health and vigor. Fall (e.g., September, October) prescribed burning followed by an intensive, early spring graze period with adequate deferment for native grass recovery may shift the competitive advantage to the native species, facilitating the restoration to State 2: Native/Invaded. Prescribed burning should be applied in a manner that enhances the competitive advantage of native grass and forb species over the exotic species. Prescribed burns should be applied at a frequency which mimics the natural disturbance regime, or more frequently as is ecologically (e.g., available fuel load) and economically feasible. Burn prescriptions may need adjustment to: (1) account for change in fine fuel orientation (e.g., “flopped” Kentucky bluegrass); (2) fire intensity and duration by adjusting ignition pattern (e.g., backing fires vs head fires); (3) account for plant phenological stages to maximize stress on exotic species while favoring native species (both cool- and warm-season grasses). The longer this community phase exists, the more resilient it becomes. Natural or management disturbances that reduce the cover of Kentucky bluegrass or smooth brome are typically short-lived.
Transition T3A
State 3 to 4
This transition from State 3: Invaded State to State 4: Invaded Wooded State occurs with long-term non-use or very light grazing, and no fire. It frequently occurs when the site is in close proximity to wooded areas where the woodland vegetation may encroach vegetatively upon the site and/or serve as a seed source for these species to colonize the site. It has also become more frequent following European settlement when the historic fire regime was markedly reduced.
Constraints to recovery. (i.e., variables or processes that preclude recovery of the former state). Reduced fire frequencies will make recovery doubtful due to the abundance of exotic cool-season grasses and lack of native grasses. Fire intensity along with consumption of available fuels may cause incomplete or patchy burns. Continued recruitment of tree seeds from adjacent sites will hamper site restoration. Constraints to recovery include the reticence to undertake tree removal and the perception that trees may be a desirable vegetation component for wildlife habitat, carbon sequestration, aesthetics, etc. Managers wanting to manage the site for deer, livestock, or grassland nesting birds will need to consider the intensive management required to restore and maintain the site in State 2. The disturbance regime necessary to restore this site to State 2: Native/Invaded State is very labor intensive and costly; therefore, addressing woody removal earlier in the encroachment phase is the most cost-effective treatment for woody control.
Restoration pathway R4A
State 4 to 2
This from State 4: Invaded Wooded State to State 2: Native/Invaded State can be accomplished with brush control, perhaps followed by a range planting. Initial use of herbicides and/or mechanical brush control to reduce the shrubs will permit adequate fine fuel loads to establish, permitting the application of prescribed fire to further control sprouting shrubs species. However, depending upon level of remnant native grasses and forbs, a range planting may also be necessary to complete the restoration. A combination of mechanical brush management, chemical treatment, and prescribed burning is necessary to remove the woody vegetation and, if necessary, to prepare the seedbed for a successful range planting. Once this is accomplished, it may be possible using selected plant materials and agronomic practices to approach something very near the functioning of State 2: Native/Invaded State. Application of chemical herbicides and the use of mechanical seeding methods using adapted varieties of the dominant native grasses are possible and can be successful. The application of several prescribed burns may be needed at relatively short intervals in the early phases of this restoration process, in part because many of the shrubs (e.g., western snowberry) sprout profusely following one burn. After establishment of the native plant species, management objectives must include the maintenance of those species, the associated reference state functions, and continued treatment of exotic grasses. Due to the resprouting nature of woody species within MLRA 56A repeated treatments will be necessary for a transition from this state. Following the removal of woody species, other restoration practices (such as range planting, prescribed burning, and prescribed grazing) may be necessary to complete the restoration. The prescribed grazing should include adequate recovery periods following each grazing event and stocking levels which match the available resources. If properly implemented, this will help suppress any exotic cool-season grasses on the site.
Context dependence. (i.e., factors that cause variations in plant community shifts, restoration likelihood, and contribute to uncertainty). Prescribed burning should be applied in a manner that enhances the competitive advantage of native grass and forb species over the exotic species. Prescribed burns should be applied at a frequency which mimics the natural disturbance regime or more frequently as is ecologically (e.g., available fuel load) and economically feasible. Burn prescriptions may need adjustment to: (1) account for change in fuel type (herbaceous vs. shrub vs. tree), fine fuel amount and orientation; (2) fire intensity and duration by adjusting ignition pattern (e.g., backing fires vs head fires); (3) account for plant phenological stages to maximize stress on woody and exotic species while favoring native species (both cool- and warm-season grasses). The method of brush management will be site specific but generally the goal would be to apply the pesticide, mechanical control, or biological control (either singularly or in combination) in a manner that shifts the competitive advantage from the targeted species to the native grasses and forbs. The control method(s) should be as specific to the targeted species as possible to minimize impacts to non-target species. A successful range planting will include proper seedbed preparation, weed control (both prior to and after the planting), selection of adapted native species representing functional/structural groups inherent to the State 1, and proper seeding technique. Management (e.g., prescribed grazing, prescribed burning) during and after establishment must be applied in a manner that maintains the competitive advantage for the seeded native species. Adding non-native species can impact the above and below ground biota. Some evidence suggests the addition of exotic legumes to the seeding mixture may favor exotic cool-season grass expansion/invasion.
Restoration pathway R4B
State 4 to 3
This is the restoration from State 4: Invaded Wooded State to State3: Invaded State resulting from brush control (e.g., mechanical and/or chemical) and prescribed burning.
Context dependence. (i.e., factors that cause variations in plant community shifts, restoration likelihood, and contribute to uncertainty). Societal norms have accepted woody invasion as positive for wildlife habitat, carbon sequestration, aesthetics, etc. Livestock managers may not understand the loss of production due to woody invasion and loss of native grass species. Wildlife managers may need to manage woody habitat for exotic wildlife species, such as ring-necked pheasant, instead of sharp-tailed grouse or other grassland nesting birds which are intolerant to woody species invasion.
Restoration pathway R5A
State 5 to 2
This Restoration from State 5: Go-Back State to State 2: Native/Invaded State can be accomplished with a successful range planting. Following seeding, prescribed grazing, prescribed burning, haying, or use of herbicides will generally be necessary to achieve the desired result and control any noxious weeds. It may be possible using selected plant materials and agronomic practices to approach something very near the functioning of State 2: Native/Invaded State. Application of chemical herbicides and the use of mechanical seeding methods using adapted varieties of the dominant native grasses are possible and can be successful. After establishment of the native plant species, prescribed grazing should include adequate recovery periods following each grazing event and stocking levels which match the available resources; management objectives must include the maintenance of those species, the associated reference state functions, and continued treatment of exotic grasses.
Context dependence. (i.e., factors that cause variations in plant community shifts, restoration likelihood, and contribute to uncertainty). A successful range planting will include proper seedbed preparation, weed control (both prior to and after the planting), selection of adapted native species representing functional/structural groups inherent to the State 1, and proper seeding technique. Management (e.g., prescribed grazing, prescribed burning) during and after establishment must be applied in a manner that maintains the competitive advantage for the seeded native species. Adding non-native species can impact the above and below ground biota. Elevated soil nitrogen levels have been shown to benefit smooth brome and Kentucky bluegrass more than some native grasses. As a result, fertilization, exotic legumes in the seeding mix, and other techniques that increase soil nitrogen may promote smooth brome and Kentucky bluegrass invasion. The method or methods of herbaceous weed treatment will be site specific to each situation; but generally, the goal would be to apply the pesticide, mechanical control, or biological control (either singularly or in combination) in a manner that shifts the competitive advantage from the targeted species to the native grasses and forbs. The control method(s) should be as specific to the targeted species as possible to minimize impacts to non-target species.
Restoration pathway R5B
State 5 to 3
A failed range planting and/or secondary succession with soil E.C. <8 dS/m will lead to State 4: Invaded State.
Context dependence. (i.e., factors that cause variations in plant community shifts, restoration likelihood, and contribute to uncertainty). Failed range plantings can result from many causes (both singularly and in combination) including drought, poor seedbed preparation, improper seeding methods, seeded species not adapted to the site, high weed control, herbicide carryover, poor seed quality (purity & germination), and/or improper management.
Transition T5A
State 5 to 6
This transition from State 5: Go-Back State to State 6: Salinized State occurs with secondary succession with soil E.C. >8 dS/m.
Constraints to recovery. (i.e., variables or processes that preclude recovery of the former state). Increased salinity at the soil surface will make it difficult to restore to a less salinized state.
Transition T6A
State 7 to 5
This transition from any plant community to State 5: Go-Back State. It is most associated with the cessation of cropping without the benefit of range planting, resulting in a “go-back” situation. Soil conditions can be quite variable on the site, in part due to variations in the management/cropping history (e.g., development of a tillage induce compacted layer, erosion, fertility, and/or herbicide/pesticide carryover). Thus, soil conditions should be assessed when considering restoration techniques.
Additional community tables
Table 6. Community 1.1 plant community composition
Group | Common name | Symbol | Scientific name | Annual production (lb/acre) | Foliar cover (%) | |
---|---|---|---|---|---|---|
Grass/Grasslike
|
||||||
1 | Tall Warm-Season Grasses | 840–1680 | ||||
Indiangrass | SONU2 | Sorghastrum nutans | 840–1260 | – | ||
big bluestem | ANGE | Andropogon gerardii | 630–1050 | – | ||
switchgrass | PAVI2 | Panicum virgatum | 420–840 | – | ||
prairie cordgrass | SPPE | Spartina pectinata | 0–210 | – | ||
2 | Mid Warm-Season Grasses | 210–1260 | ||||
little bluestem | SCSC | Schizachyrium scoparium | 630–1050 | – | ||
sideoats grama | BOCU | Bouteloua curtipendula | 210–420 | – | ||
prairie dropseed | SPHE | Sporobolus heterolepis | 42–210 | – | ||
3 | Cool-Season Grasses | 210–840 | ||||
porcupinegrass | HESP11 | Hesperostipa spartea | 210–420 | – | ||
green needlegrass | NAVI4 | Nassella viridula | 0–210 | – | ||
Canada wildrye | ELCA4 | Elymus canadensis | 42–210 | – | ||
slender wheatgrass | ELTR7 | Elymus trachycaulus | 42–210 | – | ||
northern reedgrass | CASTI3 | Calamagrostis stricta ssp. inexpansa | 42–126 | – | ||
western wheatgrass | PASM | Pascopyrum smithii | 42–126 | – | ||
4 | Other Native Grasses | 42–210 | ||||
Grass, perennial | 2GP | Grass, perennial | 42–420 | – | ||
blue grama | BOGR2 | Bouteloua gracilis | 0–168 | – | ||
marsh muhly | MURA | Muhlenbergia racemosa | 42–126 | – | ||
mat muhly | MURI | Muhlenbergia richardsonis | 42–84 | – | ||
prairie wedgescale | SPOB | Sphenopholis obtusata | 42–84 | – | ||
prairie Junegrass | KOMA | Koeleria macrantha | 0–42 | – | ||
Scribner's rosette grass | DIOLS | Dichanthelium oligosanthes var. scribnerianum | 0–42 | – | ||
scratchgrass | MUAS | Muhlenbergia asperifolia | 0–42 | – | ||
5 | Grass-likes | 42–210 | ||||
Grass-like (not a true grass) | 2GL | Grass-like (not a true grass) | 0–210 | – | ||
sedge | CAREX | Carex | 42–126 | – | ||
spikerush | ELEOC | Eleocharis | 42–84 | – | ||
Forb
|
||||||
6 | Forbs | 210–420 | ||||
Forb, native | 2FN | Forb, native | 42–210 | – | ||
Indianhemp | APCA | Apocynum cannabinum | 42–126 | – | ||
Norwegian cinquefoil | PONO3 | Potentilla norvegica | 42–126 | – | ||
pussytoes | ANTEN | Antennaria | 42–84 | – | ||
purple prairie clover | DAPU5 | Dalea purpurea | 42–84 | – | ||
smooth horsetail | EQLA | Equisetum laevigatum | 42–84 | – | ||
downy gentian | GEPU5 | Gentiana puberulenta | 42–84 | – | ||
American licorice | GLLE3 | Glycyrrhiza lepidota | 42–84 | – | ||
Maximilian sunflower | HEMA2 | Helianthus maximiliani | 42–84 | – | ||
Lewis flax | LILE3 | Linum lewisii | 42–84 | – | ||
palespike lobelia | LOSP | Lobelia spicata | 42–84 | – | ||
soft-hair marbleseed | ONBEB | Onosmodium bejariense var. bejariense | 42–84 | – | ||
prairie groundsel | PAPL12 | Packera plattensis | 42–84 | – | ||
blackeyed Susan | RUHI2 | Rudbeckia hirta | 42–84 | – | ||
Canada goldenrod | SOCA6 | Solidago canadensis | 42–84 | – | ||
prairie violet | VIPE2 | Viola pedatifida | 42–84 | – | ||
meadow zizia | ZIAP | Zizia aptera | 42–84 | – | ||
white sagebrush | ARLUA | Artemisia ludoviciana ssp. albula | 0–84 | – | ||
rough bugleweed | LYAS | Lycopus asper | 0–84 | – | ||
common yarrow | ACMI2 | Achillea millefolium | 0–42 | – | ||
Cuman ragweed | AMPS | Ambrosia psilostachya | 0–42 | – | ||
Canadian anemone | ANCA8 | Anemone canadensis | 0–42 | – | ||
whorled milkweed | ASVE | Asclepias verticillata | 0–42 | – | ||
bluebell bellflower | CARO2 | Campanula rotundifolia | 0–42 | – | ||
flat-top goldentop | EUGR5 | Euthamia graminifolia | 0–42 | – | ||
Virginia strawberry | FRVI | Fragaria virginiana | 0–42 | – | ||
closed bottle gentian | GEAN | Gentiana andrewsii | 0–42 | – | ||
stiff sunflower | HEPA19 | Helianthus pauciflorus | 0–42 | – | ||
common goldstar | HYHI2 | Hypoxis hirsuta | 0–42 | – | ||
tall blazing star | LIAS | Liatris aspera | 0–42 | – | ||
stiff goldenrod | OLRI | Oligoneuron rigidum | 0–42 | – | ||
cinquefoil | POTEN | Potentilla | 0–42 | – | ||
upright prairie coneflower | RACO3 | Ratibida columnifera | 0–42 | – | ||
blue-eyed grass | SISYR | Sisyrinchium | 0–42 | – | ||
white prairie aster | SYFA | Symphyotrichum falcatum | 0–42 | – | ||
New England aster | SYNO2 | Symphyotrichum novae-angliae | 0–42 | – | ||
mountain deathcamas | ZIEL2 | Zigadenus elegans | 0–42 | – | ||
Shrub/Vine
|
||||||
7 | Shrubs | 42–210 | ||||
leadplant | AMCA6 | Amorpha canescens | 42–126 | – | ||
prairie rose | ROAR3 | Rosa arkansana | 42–126 | – | ||
Shrub (>.5m) | 2SHRUB | Shrub (>.5m) | 0–126 | – | ||
willow | SALIX | Salix | 0–42 | – |
Interpretations
Animal community
Animal Community – Wildlife Interpretations
Landscape
The MLRA 56A landscape is characterized by a nearly level glacial lake plain bordered on the east and west by outwash plains, till plains, gravelly beaches, and dunes. MLRA 56A is considered to have a continental climate with cold winters and hot summers, low humidity, light rainfall, and much sunshine. Extremes in temperature are common and characteristic of the MLRA. This area supports natural tall-grass prairie vegetation with bur oak, green ash, and willow growing in drainageways. This area is formed in silty and clayey lacustrine sediments from the former Glacial Lake Agassiz. Complex intermingled ecological sites create diverse grass/shrub land habitats interspersed with varying densities of linear, slope, depressional, and in-stream wetlands associated with headwater streams and tributaries to the Red River of the North. MLRA 56A is located within the boundaries of the Prairie Pothole Region and is an ecotone between the humid east and the sub-humid west regions. The primary land use is annual cropland (~80%). The Red River Valley is known for its exceptional fertility with major crops including corn, soybeans, small grains, and sugar beets.
By the mid-19th century, the majority of the Red River Valley had been converted from tall-grass prairie to annual crop production. To alleviate crop production loss from wetlands and overland flow, a system of shallow surface ditches, judicial ditches, and road ditches removes surface water in spring and during high rainfall events. The major soils are poorly drained with extensive areas of saline soils. Tile drainage systems have been or are being extensively installed throughout MLRA 56A for sub-surface field drainage to enhance annual crop production.
The east and west side of the Red River Valley formed in a complex pattern of sandy beach material, stratified inter-beach material, lacustrine silts, and lake washed glacial till. The soils vary from excessively drained on ridges to very poorly drained organic basins. Surface ditches serve to drain some of the area, although much of the area lacks adequate drainage for maximum crop production. Calcareous fens and saline seeps can occur at the base of beach ridges and result in rare plant communities. Native vegetation was mixed- and tall-grass prairie with scattered woodland and brush.
Historic Communities/Conditions within MLRA 56A:
The northern tall- and mixed-grass prairie was a disturbance-driven ecosystem with fire, herbivory, and climate functioning as the primary ecological drivers (either singly or often in combination). Frequent and expansive flooding along the Red River and its tributaries provided abundant opportunities for Native Americans to harvest wild rice. American bison roamed MLRA 56A wintering along the Red River and migrating west into MLRA 55A and 55B for parts of the season. Many species of grassland birds, small mammals, insects, reptiles, amphibians, and large herds of roaming American bison, elk, and pronghorn were historically among the inhabitants adapted to this region. Roaming herbivores, as well as several small mammal and insect species, were the primary consumers linking the grassland resources to large predators (such as the wolf and American black bear) and smaller carnivores (such as the coyote, bobcat, red fox, and raptors). Extirpated species include free-ranging American bison and gray wolf (breeding). Extinct from the region is the Rocky Mountain locust.
Present Communities/Conditions within MLRA 56A:
MLRA 56A has the most conversion to cropland of any MLRA within Region F-Northern Great Plains. European influence has impacted remaining grassland and shrubland by domestic livestock grazing, elimination of fire, removal of surface and subsurface hydrology via artificial drainage, and other anthropogenic factors influencing plant community composition and abundance.
Extensive drainage has taken place. Streams have been straightened (removing sinuosity) and riparian zones have been converted to annual crop production. These anthropogenic impacts have reduced flood water detention and retention on the landscape, increasing storm water runoff, sediment, and nutrient loading to the Red River and its tributaries. The installation of instream structures has reduced aquatic species movement within the MLRA.
Annual cropping is the main factor contributing to habitat fragmentation, reducing habitat quality for area-sensitive species. These influences fragmented the landscape, reduced, or eliminated ecological drivers (fire), and introduced exotic species including smooth brome, Kentucky bluegrass, and leafy spurge which further impacted plant and animal communities. The loss of the bison and fire as primary ecological drivers greatly influenced the character of the remaining native plant communities and the associated wildlife, moving towards a less diverse and more homogeneous landscape.
Included in this MLRA are approximately 70,000 acres of the United States Forest Service, Sheyenne National Grassland (southern portion of MLRA) with an additional 65,000 acres of intermingled privately owned land of sandy soils providing a large tract of intact tall grass prairie within the MLRA. United Fish and Wildlife Service refuges and waterfowl production areas, along with and state wildlife management areas cover approximately 67,000 acres within the MLRA. Two of three largest cities in North Dakota are located within the MLRA.
USDA conservation programs have seeded thousands of cropland acres in riparian zones to native herbaceous vegetation. Natural succession is replacing the planted native herbaceous vegetation to native woody vegetation re-establishing native wooded riparian areas on previously cropland. Most of the plantings have been along the Red River and its tributaries in the northern portions of the MLRA within the United States. These areas are privately owned and protected from annual agricultural production with perpetual conservation easements.
Some characteristic wildlife species in this area are:
Birds: Mallard, blue-winged teal, red-tailed hawk, American kestrel, ring-necked pheasant, western meadowlark, killdeer, eastern and western kingbird, American crow, common yellowthroat, downy and hairy woodpecker, clay-colored sparrow, vesper sparrow, Savannah sparrow, and brown-headed cowbird.
Mammals: Northern short-tailed shrew, white-tailed jackrabbit, snowshoe hare, Franklin’s ground squirrel, thirteen-lined ground squirrel, northern pocket gopher, plains pocket gopher, western harvest mouse, deer mouse, meadow vole, meadow jumping mouse, western jumping mouse, coyote, red fox, raccoon, American badger, striped skunk, white-tailed deer, North American beaver, and moose.
Reptiles/Amphibians: American toad, Great Plains toad, northern leopard frog, chorus frog, tree frog, tiger salamander, plains garter snake, and common garter snake.
Presence of wildlife species is often determined by ecological site characteristics including grass and forb species, hydrology, aspect, and other associated ecological sites. The home ranges of most species are usually larger than one ecological site or are dependent upon more than one ecological site for annual life requisites. Ecological sites offer different habitat elements as the annual life requisites change. Habitat improvement and creation must be conducted within the mobility limits of a known population for the species.
Insects play an important role providing ecological services for plant community development. Insects that are scavengers or aid in decomposition provide the food chain baseline sustaining the carnivorous insects feeding upon them. Many insects provide the ecological services necessary for pollination, keeping plant communities healthy and productive. Insects provide a protein food source for numerous species including grassland-nesting birds and their young. Extensive use of insecticides for specialty crops (such as potatoes, sugar beets, and other crops) has greatly reduced insects within this MLRA.
Species of Concern within MLRA 56A:
The following is a list of species considered “species of conservation priority” in the North Dakota State Wildlife Action Plan (2015); “species of greatest conservation need” in the Minnesota State Wildlife Action Plan, Conservation Focus Areas, Target Species (2015) and the South Dakota State Wildlife Action Plan (2014); and “species listed as threatened, endangered, or petitioned” under the Endangered Species Act within MLRA 56A at the time this section was developed:
Invertebrates: Arogos skipper, Assiniboia skipper, Dakota skipper, dusted skipper, Leonard’s skipper, monarch butterfly, Poweshiek skippering, red-tailed leafhopper, regal fritillary, and Uhler’s Arctic.
Birds: American kestrel, American bittern, bobolink, American white pelican, bald eagle, black-billed cuckoo, chestnut-collared longspur, Dickcissel, grasshopper sparrow, greater prairie-chicken, Henslow’s sparrow, LeConte’s sparrow, loggerhead shrike, marbled godwit, Nelson’s sparrow, northern harrier, northern pintail, red-headed woodpecker, sharp-tailed grouse, short-eared owl, Swainson’s hawk, upland sandpiper, western meadowlark, willet, Wilson’s phalarope, and yellow rail.
Mammals: Arctic shrew, big brown bat, eastern spotted skunk, gray fox, little brown bat, northern grasshopper mouse, plains pocket mouse, prairie vole, pygmy shrew, Richardson’s ground squirrel, and river otter.
Amphibians/Reptiles: Canadian toad, common snapping turtle, northern prairie skink, and plains hognose snake.
Fish: Blacknose shiner, blue sucker, burbot, chestnut lamprey, finescale dace, hornyhead chub, largescale stoneroller, logperch, northern pearl dace, northern redbelly dace, pearl dace, shortnose gar, sickle-fin chub, sliver chub, silver lamprey, trout-perch, and yellow bullhead.
Mussels: Black sandshell, creek heelsplitter, creeper, mapleleaf, pink heelsplitter, pink papershell, threeridge, and Wabash pigtoe.
Grassland Management for Wildlife in MLRA 56A:
Management activities within the community phase pathways have both short and long term positive and negative impacts on wildlife. Community phase, transitional, and restoration pathways are keys to long-term management within each State and between States. Significant inputs must occur to cross the threshold between States (e.g., State 3.0 to 2.0) requiring substantial economic inputs and management (grazing intensity, reseeding, prescribed fire, woody vegetation removal, etc.). Timing, intensity, and frequency of these inputs can have dramatic positive or negative effects on vegetative structure impacting local wildlife species’ habitats. Ranchers and other land managers must always consider the long-term beneficial effects of management on the habitat in comparison to potential short-term negative effects to individual species.
Ecological sites occur as intermingled complexes on the landscape with gradual or sometimes abrupt transitions. Rarely do ecological sites exist in large enough acreage to manage independently. Ecological sites supporting a dominance of herbaceous vegetation (Wet Meadow, Subirrigated Sands) can be located adjacent to ecological sites that support trees (Choppy Sands and Loamy Overflow).
Management of these complex ecological sites can provide a heterogeneous or a homogenous landscape. Grassland bird use reduces as the plant community transitions to a homogenous state or increases in woody vegetation. Managers need to recognize ecological sites and the complexes they occur in to properly manage the landscape. A management regime for one ecological site may negatively impact an adjacent site (e.g., alteration of a grazing regime within a Choppy Sands ecological site to encourage understory growth may encourage exotic cool- season grasses to increase or dominate an adjacent ecological site).
Life requisites and habitat deficiencies are determined for targeted species. Deficiencies need to be addressed along community phase, transitional, and restoration pathways as presented in specific state-and-transition models. Ecological sites should be managed and restored within the site’s capabilities to provide sustainable habitat. Managers also must consider habitat provided by adjacent/intermingled ecological sites for species with home ranges or life requisites that cannot be provided by one ecological site.
With populations of many grassland-nesting birds in decline, it is important to maintain these ecological sites in a 1.0 Reference State or the 2.0 Native/Invaded State. Plant communities optimal for a guild of grassland species serve as a population source where the birth rate exceeds mortality. Species may use marginal plant communities; however, these sites may function as a population sink where mortality exceeds the birth rate.
Understanding preferred vegetative stature and sensitivity to woody encroachment is necessary to manage for the specific grassland species. Various grass heights may be used for breeding, nesting, or foraging habitat. While most species use varying heights, many have a preferred vegetative stature height.
To see the chart please follow the hyperlink. (
https://efotg.sc.egov.usda.gov/references/public/ND/56A_Limy_Subirrigated_Narrative_FINAL_Ref_FSG.pdf )
Limy Subirrigated Wildlife Habitat Interpretation:
Limy Subirrigated ecological sites are somewhat poorly drained and usually found on flats and swales on lake plains, outwash plains, and delta plains. This site has a persistent water table strongly influencing vegetation production. These soils have a calcareous subsoil and are dominated by tall and mid warm-season grasses and forbs. Little bluestem is the dominant mid warm-season grass. Associated ecological sites include Saline Lowland, Loamy, Sandy, Subirrigated, Subirrigated Sands, Shallow Marsh, Sodic Subirrigated, and Wet Meadow. This complex of ecological sites provides habitat for many edge-sensitive, grassland bird species preferring medium- to tall-statured vegetation.
Limy Subirrigated habitat features and components commonly support grassland-nesting birds, notably sharp-tailed grouse, and greater prairie chicken nesting sites. Insects rely on associated forbs and grasses for survival. High insect populations provide food sources for birds and their young. Limy Subirrigated ecological sites provide quality forage for small and large herbivores. Dakota skippers use Limy Subirrigated ecological sites in MLRA 56A. Limy Subirrigated sites have the potential to support western prairie fringed orchids during high water periods when preferred Wet Meadow ecological sites are inundated for long periods.
Limy Subirrigated ecological sites may be found in four plant community states (1.0 Reference State, 2.0 Native/Invaded State, 3.0 Invaded State, 4.0 Invaded Wooded State,
5.0 Go-Back State, and 6.0 Salinized State) within a local landscape. Multiple plant community phases exist within State 1.0 and 2.0. Today, these states occur primarily in response to drought, fire, grazing, and non-use, and other anthropogenic disturbances.
Because there is no known restoration pathway from State 2.0 to State 1.0, it is important to intensively manage using tools in State 1.0 and State 2.0 Community Phase Pathways to prevent further plant community degradation along the T2A Transitional Pathway to State 3.0 or T2B Transitional Pathway to State 4.0. Native wildlife generally benefits from the heterogeneous grasslands found in States 1.0 and 2.0 that include grass and forb species of varying stature and density. As plant communities degrade within State 2.0, Kentucky bluegrass increases while native forbs are reduced. When Kentucky bluegrass exceeds 30%, the site transitions to 3.0 Invaded State. This transition results in reduced stature and increased plant community homogeneity. When adjacent and/or intermingled, ecological sites undergo the same transition, the result can be an expansive, homogenous landscape.
Success along Restoration Pathway R3A from State 3.0 to State 2.0 is very difficult and is dependent upon presence of a remnant native grass population. This concept also applies to wildlife, as the target species must either be present on adjacent State 1.0 or State 2.0 plant communities or on other ecological sites within the mobility limits of the species. Species with limited mobility, such as Dakota skippers, must exist near the plant community to utilize restored sites. Mobile species, such as grassland-nesting birds, can easily locate isolated, restored plant communities.
Plant Community Phase 3.1 shows dramatically increased homogeneity of exotic cool- season grasses and further reduction in native forbs. Reduced forb diversity limits insect populations, negatively affecting foraging opportunities for grassland-nesting birds.
Increased exotic grass litter can limit access to bare ground by nesting insects and can limit mobility by small chicks. A homogenous grassland landscape does not provide quality escape or winter cover. As a result, many species are not able to meet life requisites, especially non-migratory species.
Management along community phase, transition, or restoration pathways should focus upon attainable changes. Short- and long-term monetary costs must be evaluated against short-and long-term ecological services in creating and maintaining habitat of sufficient quality to support a sustainable population density.
1.0 Reference State
Community Phase 1.1 Indiangrass-Big Bluestem-Little Bluestem: This plant community offers quality vegetative cover for wildlife; when found, every effort should be made to maintain this ecological site within this community phase. This phase retains high functionality through continued maintenance including prescribed grazing with adequate recovery period, as well as prescribed fire. Prescribed fire frequency maintains a grass- dominated plant community providing habitat for bird species sensitive to woody vegetation. Predominance of grass species in this community favors grazers and mixed-feeders (animals selecting grasses as well as forbs and shrubs). The structural diversity provides habitat for a wide array of migratory and resident birds.
Invertebrates: Insects play a role in maintaining the forb community and provide a forage base for grassland birds, reptiles, and rodents. Ecological services, historically provided by bison, are simulated by domestic livestock. These services include putting plant material and dung in contact with mineral soil to be used by lower trophic level consumers (such as invertebrate decomposers, scavengers, shredders, predators, herbivores, dung beetles, and fungal-feeders).
Dakota skippers prefer this site due to host plants (such as little bluestem, big bluestem, and harebell). Arogos skippers may use these sites since it contains host plants, such as big bluestem and little bluestem, and they can nectar on other species (such as blacksamson echinacea, black-eyed Susan, and various thistles). Regal fritillary can make use of violet species and other nectar producing forbs on this site. Monarch butterfly may use flowering forbs on this site; however, few milkweed species are found on this site to support caterpillar food. Bumblebees and other native bees utilize forbs as a nectar source; however, bare ground and nesting sites are limited due to the dominance of sod-forming grasses.
Birds: This plant community provides quality nesting, foraging, and escape habitats favored by mid- to tallgrass-nesting birds. To limit litter accumulations, prescribed fire maintains a grass-dominated plant community providing habitat for bird species sensitive to woody vegetation. This plant community does not provide suitable areas for sharp-tailed grouse or greater prairie chicken lek sites but does provide quality nesting, brood-rearing, and escape habitat. This site provides good hunting opportunities for grassland raptors.
Mammals: The diversity of grasses and forbs provide high nutrition levels for small and large herbivores. Tall- to mid-statured vegetation provides suitable food, thermal, protective, and escape cover for small and large herbivores.
Amphibians and Reptiles: This ecological site can provide habitat for the northern leopard frog and Canadian toad since this site is frequently found in close proximity to Wet Meadow ecological sites. Although this site can provide habitat for the northern prairie skink and plains hog-nosed snake, this plant community may be too dense for these two species.
Fish and Mussels: This ecological site is not typically adjacent to streams, rivers, or water bodies. This site receives limited run-on hydrology from adjacent ecological sites (Loamy, Sandy) and provides hydrology to Subirrigated ecological sites which can be adjacent to Wet Meadow or Shallow Marsh ecological sites. Management on Limy Subirrigated sites, in conjunction with neighboring run-on sites, will have an indirect effect on aquatic species in streams and/or tributaries receiving water from Limy Subirrigated and adjacent sites. Optimum hydrological function and nutrient cycling limit potential for sediment yield and nutrient loading to the adjacent aquatic ecosystems from Community Phase 1.1.
Community Phase 1.2 Forbs/Little Blue Stem-Big Bluestem-Indiangrass: This plant community phase occurs after a spring burn followed by intense grazing. Showy forbs become evident but remain a minor component.
Invertebrates: Provides similar life requisites as Community Phase 1.1. However, increases in forbs provide increased pollen and nectar sources for insects.
Birds: Provides similar life requisites as Community Phase 1.1. Mammals: Provides similar life requisites as Community Phase 1.1.
Amphibians and Reptiles: Provides similar life requisites as Community Phase 1.1. Fish and Mussels: Provides similar life requisites as Community Phase 1.1
2.0 Native/Invaded State
Community Phase 2.1 Indiangrass-Big Bluestem-Little Bluestem: This plant community develops through Transition Pathway T1A due to changes in management and the presence of exotic, cool-season grasses. The threshold between States 1.0 and 2.0 is crossed when Kentucky bluegrass, quackgrass, and redtop become established. This plant community phase has a very similar appearance and function to the Plant Community 1.1, except that it has a minor amount of cool-season exotic grasses and forbs. This phase functions at a high level for native wildlife; therefore, managers should consider management within the State 2.0 Community Phase Pathways to avoid transitioning to States 3.0 and 4.0.
Invertebrates: Provides similar life requisites as Community Phase 1.1. Birds: Provides similar life requisites as Community Phase 1.1.
Mammals: Provides similar life requisites as Community Phase 1.1.
Amphibians and Reptiles: Provides similar life requisites as Community Phase 1.1.
Fish and Mussels: Provides similar life requisites as Community Phase 1.1.
Community Phase 2.2 Little bluestem-Sideoats Grama/Forbs//Exotic Cool-Season Grasses: Heavy grazing without adequate recovery periods (along Community Phase Pathway 2.1A) damages tall, warm-season grasses. The reduction of vigor of warm-season grasses allow for the increase in Kentucky bluegrass, quackgrass, and redtop. This community phase is often found in a mosaic in the pasture in an overgrazed/undergrazed pattern typical of properly stocked pastures grazed season-long. Some areas will be impacted by heavy use while other areas will have a build-up of litter and a high amount of plant decadence. This mosaic of grazed and ungrazed areas provides a short to tall vegetative stature.
Invertebrates: Provides similar life requisites as Community Phase 1.1 dependent upon degree of exotic grass invasion. Invertebrates will respond to the amount of over-utilized vs. under-utilized area and the resultant vegetative stature. Reduced litter amounts on the over- utilized area will have an increase in bare ground which favors ground nesting insects. Under-utilized areas will have a decrease in bare ground for ground-nesting insects but may have more pollen and nectar producing forbs.
Birds: Depending on the patch size of overgrazed vs. undergrazed areas, grassland nesting birds preferring short/mid-vegetative stature may prefer this plant community phase.
Mammals: Provides similar life requisites as Community Phase 1.1.
Amphibians and Reptiles: Provides similar life requisites as Community Phase 1.1.
Fish and Mussels: Provides similar life requisites as Community Phase 1.1.
Community Phase 2.3 Tall Warm Season Grasses-Little Bluestem/Exotic Cool-Season Grasses: Removal of disturbances, such as grazing and fire (via Community Phase Pathway 2.1B), allows for the increase in Kentucky bluegrass. Kentucky bluegrass is approaching the 30 percent threshold found in the invade State 4.0. Every effort should be made by managers to avoid reaching the 40 percent Kentucky bluegrass threshold by implementing and maintaining a prescribed grazing system and introducing prescribed fire.
Invertebrates: Provides similar life requisites as Community Phase 2.2. Bare ground is less than 1%, limiting use by ground nesting bee species.
Birds: Provides similar life requisites as Community Phase 1.1. However, as this community phase approaches the 40 percent Kentucky bluegrass threshold, grassland nesting bird species that favor mid-grass statured vegetation increase.
Mammals: Provides similar life requisites as Community Phase 1.1. However, the increase of Kentucky bluegrass reduces the quality of thermal and escape cover.
Amphibians and Reptiles: Provides similar life requisites as Community Phase 1.1.
Fish and Mussels: Provides similar life requisites as Community Phase 1.1.
3.0 Invaded State
Community Phase 3.1 Exotic Cool-Season Grasses/Exotic Forbs/Goldenrod: Heavy grazing without adequate recovery periods, extended periods of non-use, or cropland allowed to “go- back” can cause Community Phase 4.1 to establish. Kentucky bluegrass will dominate the site. Potential use by wildlife will be dependent upon management. Non-use will result in extensive areas of Kentucky bluegrass litter accumulation and have the effect of residual cover flopping. Heavy grazing without adequate recovery periods will result in little, if any, residual cover.
Community Phase 4.1 can also result (via Transition Pathway T4A from Community Phase 3.1) when shrubs are removed which results in a Kentucky bluegrass dominated plant community. Management following shrub removal will determine the quality of wildlife habitat. Extensive management using prescribed grazing, herbicide treatments, range seedings, and prescribed fire will be needed to move this plant community to State 2.0 (via Restoration Pathway R4A).
Invertebrates: Litter amounts will vary in this community phase. Non-native forbs dominate with goldenrods and Cuman ragweed also present. A reliable amount of season-long pollen and nectar sources will not be present. Intense grazing will reduce litter amounts and provide some bare ground for ground nesting insects. Non-use will increase litter, reduce sites for ground nesting pollinators, and limit pollen and nectar availability. Overall, this community phase will not favor pollinating species in either management scenario (heavy use or non-use). This plant community will not provide life requisites for Dakota skippers or Regal fritillary, but it may support monarch butterfly’s depending on availability of milkweed.
Birds: Heavy grazing will favor short-grass bird species. Short- to mid-grass bird species will also be favored with the non-use management scenario. Lack of pollinator forb species limits invertebrate use, reducing protein sources for food. This plant community does not provide suitable areas for lek sites or for brood or escape cover for sharp-tailed grouse or greater prairie chicken. This site provides hunting opportunities for grassland raptors.
Mammals: Lacking residual cover under the over-grazing management scenario, this short- statured community provides limited food, thermal, protective, and escape cover for small herbivores. Under the non-use management scenario, exotic cool-season grasses will provide residual cover for small mammals (such as mice, ground squirrels, and voles). Use by large mammals will be limited under either management scenario.
Amphibians and Reptiles: Kentucky bluegrass litter accumulations may become too heavy for northern prairie skink and plains hog-nose snake under the non-use scenario. Under heavy grazing, cover for amphibians and reptiles can be eliminated.
Fish and Mussels: When grazed heavily, runoff increases and is the highest of any plant community phase on this ecological site - increasing run-off to adjacent ecological sites and into neighboring water bodies. Nutrient cycling is severely limited to the rooting depth of the Kentucky bluegrass increasing nutrient loading to neighboring water bodies.
4.0 Invaded Wooded State
Community Phase 4.1 Shrubs/Exotic Cool-Season Grasses/Forbs: The elimination of fire via Transitional Pathway T2B allows for shrubs (such as western snowberry, spirea, and willow species) to dominate this site. Shade-tolerant Kentucky bluegrass dominates the understory and warm-season, native grasses may still be present but with reduced vigor and numbers not allowing for recovery without herbicide and mechanical brush control (via Restoration Pathway R3A).
Invertebrates: The invasion of woody vegetation reduces habitat for all species of concern within MLRA 56A. Season-long pollen and nectar availability is reduced in this plant community. The woody shrub component (western snowberry, willow, and meadowsweet) will provide some early season bloom period. Forbs, such a goldenrod, will provide late season pollen and nectar opportunities. Overall, pollinator plant diversity is low, limiting season-long nectar and pollen production.
Birds: Grassland nesting birds sensitive to woody vegetation encroachment will discontinue use of this community phase. Bird species preferring woodland edge may begin to use this site, especially where willow species dominate.
Mammals: Shrubs will provide increased year-round cover and browse for white-tailed deer, moose and elk. Mammals, such as porcupines, that prefer woody habitat will use this site.
Amphibians and Reptiles: This site no longer provides life requisites for the northern prairie skink and plains hog-nosed snake due to the dominance of shrubs.
Fish and Mussels: Provides similar life requisites as Community Phase 1.1.
5.0 Go-Back State
Community Phase 5.1 Annual/Pioneer Perennial/Exotics: These plant communities are the result of severe soil disturbance (such as cropping, recreational activity, or concentrated livestock activity for a prolonged time). Following cessation of disturbances, the resulting plant community is dominated by early pioneer annual and perennial plant species. Plant species composition and production are highly variable. Weedy plants can provide pollinator habitat along with spring and summer cover for many mammals and birds, and their young. Dense weed cover can keep soils moist, increasing the presence of insects. Milkweed can be an early pioneering pollinator species and host plant for monarch butterflies. Tall stature provided by some annual weeds offers thermal cover and seeds throughout winter for deer, small mammals, and over-wintering birds. The response by wildlife species will be dependent upon plant community composition, vegetative stature, patch size, and management activities (such as prescribed grazing, burning, inter-seeding, haying, or noxious weed control).
Successful restoration of native species along Transition Pathway R5A can result in a native grass and forb community in Native/Invaded State 2.0. Over time (with no management), the exotic cool-season perennial grasses (Kentucky bluegrass, smooth brome, and/or quackgrass) generally become established and dominate the community. Failed range planting, via Transition Pathway R5B, can result in an invaded plant community Invaded State 3.0.
6.0 Salinized State
Community Phase 6.1 Foxtail Barley/Saltgrass/Bare Ground: Multiyear drought, with heavy grazing, with lack of recovery periods gives foxtail barley and other salt tolerant grasses a competitive edge. This plant community is adapted to increased salinity and is relatively stable. No known restoration pathway or technology currently exists to restore this site.
Invertebrates: Drought coupled with heavy continuous grazing limits production of forbs and nectar and pollen availability. Salinity and wetness limits ground nesting invertebrate habitat.
Birds: Structural diversity and density reduce habitat for a wide array of migratory and resident birds. Heavy continuous grazing with lack of recovery periods gives foxtail barley, inland saltgrass, and other salt tolerant grasses a competitive edge reducing density and stature of grasses. Grassland nesting birds, favoring short statured structure, may use this plant community. Dependent upon water depth and duration, this plant community may be attractive to various shorebirds.
Mammals: This site is no longer favored by large herbivores and provides limited life requests for small herbivores.
Amphibians and Reptiles: Due to potential high salinity levels and wetness, this plant community does not provide suitable habitat for many amphibians and reptiles except during periods of above normal precipitation reducing the effects of high salinity levels. Ponded water during above average precipitation events will provide foraging habitat for the northern leopard frog and Canadian toad, depending upon salinity levels. Ponded water will not be deep enough to provide breeding habitat.
Fish and Mussels: Provides similar life requisites as Community Phase 1.1; however, increased bare ground will yield additional sediment to nearby water bodies.
Animal Community – Grazing Interpretations
This site is well adapted to managed grazing by domestic livestock. The predominance of herbaceous plants across all plant community phases best lends these sites to grazing by cattle, but other domestic grazers with differing diet preferences may also be a consideration depending upon management objectives. Often, the current plant community does not entirely match any particular plant community (as described in the ecological site description). Because of this, a resource inventory is necessary to document plant composition and production. Proper interpretation of this inventory data will permit the establishment of a safe, initial stocking rate for the type and class of animals and level of grazing management. More accurate stocking rate estimates should eventually be calculated using actual stocking rate information and monitoring data.
NRCS defines prescribed grazing as “managing the harvest of vegetation with grazing and/or browsing animals with the intent to achieve specific ecological, economic, and management objectives”. As used in this site description, the term ‘prescribed grazing’ is intended to include multiple grazing management systems (e.g., rotational grazing, twice-over grazing, conservation grazing, targeted grazing, etc.) provided that, whatever management system is implemented, it meets the intent of prescribed grazing definition.
The basic grazing prescription addresses balancing forage demand (quality and quantity) with available forage, varying grazing and deferment periods from year-to-year, matching recovery/deferment periods to growing conditions when pastures are grazed more than once in a growing season, implementation of a contingency (e.g., drought) plan, and a monitoring plan. When the management goal is to facilitate change from one plant community phase or state to another, then the prescription needs to be designed to shift the competitive advantage to favor the native grass and forb species.
Grazing levels are referenced within the plant community narratives and pathways in reference to prescribed grazing management. Degree of utilization is defined as the proportion of the current year’s forage production that is consumed and/or destroyed by grazing animals (may refer to a single plant species or a portion or all the vegetation). Grazing utilization is classified as slight, moderate, full, close, and severe (see the following table for description of each grazing use category). The following utilization levels are also described in the Ranchers Guide to Grassland Management IV. Utilization levels are determined by using the landscape appearance method as outlined in the Interagency Technical Reference “Utilization Studies and Residual Measurements” 1734-3.
Utilization Level % Use Description
Slight (Light) 0-20 Appears practically undisturbed when viewed obliquely. Only choice areas and forage utilized.
Moderate 20-40 Almost all of accessible range shows grazing. Little or no use of poor forage. Little evidence of trailing to grazing.
Full 40-60 All fully accessible areas are grazed. The major sites have key forage species properly utilized (about half taken, half left). Points of concentration with overuse limited to 5 to 10 percent of accessible area.
Close (Heavy) 60-80 All accessible range plainly shows use and major sections closely cropped. Livestock forced to use less desirable forage, considering seasonal preference.
Severe > 80 Key forage species completely used. Low-value forages are dominant.
Hydrological functions
The duration of the seasonal high-water table within the rooting zone is the principal factor in herbage production on this site. The site is dominated by soils in hydrologic groups B and C. Infiltration varies from slow to rapid; runoff potential varies from negligible to medium for this site depending on depending on hydrologic group, surface texture, slope percent, slope shape, and ground cover. In many cases, areas with greater than 75% ground cover have the greatest potential for high infiltration and lower runoff. An exception would be where shortgrasses form a dense sod and dominate the site. Areas where ground cover is less than 50% have the greatest potential to have reduced infiltration and higher runoff (refer to Section 4, NRCS National Engineering Handbook for runoff quantities and hydrologic curves).
Hydrological manipulation (surface or tile drainage, pumping, surface water diversion, etc.) modifies this ecological site. Under natural conditions, this ecological site includes a wide range of soil textures; after hydrologic manipulation, soil texture often becomes a more significant factor in vegetative response. If the degree of manipulation allows soil texture to influence the plant community or if altered soil properties (i.e., salinization or the addition of fill material) results in vegetation change, a transition to a completely different ecological site may have occurred. The transition to an altogether different ecological site will depend upon severity of altered hydrology, soil properties, and corresponding vegetation. Due to the many variables (e.g., hydrology, type and success of drainage, etc.), impacts to the ecological site will be site-specific. As a result, each situation will require field investigation to determine what, if any, change in ecological site designation is necessary and proceed accordingly.
Without restoring hydrologic function (which may include range seeding), managers need to reference state and transition models within those sites. Hydrology will need to be fully restored in the associated Wet Meadow and Shallow Marsh ecological sites in order for these sites to properly function. It is recommended that managers review the appropriate State and Transition Models prior to wetland restoration.
Recreational uses
Hunting and Bird Watching: The United States Fish and Wildlife Service manages approximately 4,000 acres of National Wildlife Refuges for hiking and bird watching and approximately 24,000 acres of Waterfowl Production Areas for public hunting, hiking, and bird watching. States within MLRA 56A manage approximately 39,000 acres of wildlife management areas for multiple use including hunting, fishing, hiking, birdwatching, berry picking, and other non-motorized uses. Of the 39,000 acres, approximately 21,400 are in Minnesota with approximately 16,000 acres in North Dakota and approximately 1,700 acres in South Dakota.
In North Dakota, the United States Forest Service manages 70,000 acres on the Sheyenne National Grassland for multiple uses including camping, hunting, photography, backpacking birdwatching, biking, horseback riding, and other non-motorized recreation. The Sheyenne National Grassland is also managed for livestock grazing. The Choppy Sands and Sands ecological sites dominate the Grassland. It is the only National Grassland in the tallgrass prairie region of the United States. The grassland provides habitat for greater prairie chicken, as well as several other sensitive species (such as the Dakota skipper and regal fritillary). It also contains one of largest populations of the western prairie fringed orchid which is listed as a threatened species by the U.S. Fish and Wildlife Service.
Fishing: Approximately 20 lakes are managed for public fishing MLRA 56A. Most of these lakes offer boat docks and ramps. These lakes contain various sport fish including walleye, northern pike, yellow perch, crappie, and bluegill. The Red River runs from south to north through the center of the MLRA. The Red River is best known for channel catfish but also has walleye, sauger, northern pike, and smallmouth bass. The Red River is 550 miles long from its source in the southern end of the MLRA near Breckenridge, Minnesota to Lake Winnipeg in Manitoba, Canada. Between North Dakota and Minnesota, there are 32 public access points along the Red River with 18 having boat ramps.
Camping: Four state parks or recreation areas provide of modern and primitive camping facilities. Minnesota hosts the Buffalo River State Park and Red River State Park. North Dakota hosts the Icelandic State Park and Turtle River State Park. These Parks provide hiking, biking, birding, canoeing, and wildlife viewing opportunities. Many local parks and private parks provide modern and primitive camping opportunities. Limited primitive camping is also available on North Dakota Game and Fish Department Wildlife Management Areas.
Hiking/Biking/Horseback Riding: Hiking is permitted on most state and federally owned lands. Developed hiking and biking trails can be found the four state parks. The Grand Forks Greenway has over 22 miles of trails while municipalities along the Red River have extensive walking and hiking trails. A 30-mile segment of the North Country National Scenic Trail leads hikers through the Sheyenne National Grassland’s unique landforms and plant communities. This trail has three trailheads along its route; it is a graveled, marked trail. The entire North Country National Scenic Trail stretches from Crown Point, New York to Lake Sakakawea near Garrison, North Dakota.
Canoeing/Kayaking: The Red River has six designated canoe/kayaking trails. Public access, with limited rentals, is available at these segments. Sheyenne River Water Trail has a segment within the MLRA Sheyenne National Grasslands. Canoe/kayak rentals are available at Icelandic State Park.
Wood products
No appreciable wood products are present on the site.
Other products
Seed harvest of native plant species can provide additional income on this site.
Other information
• Further investigation is need on the inclusion of moderately well drained Aquic Calciudolls (Glyndon taxadjunct, McIntosh, and Ortonville soils) in this site. Although the water table may be as shallow as 2 feet during the early spring, it typically is deeper than 36 inches during April-June and deeper than 4.5 feet during mid-summer. Plant communities on these soils may be more similar to the Thin Loamy site or be a transition community between Limy Subirrigated and Thin Loamy. The ‘Wheatville, dry’ component is also an Aquic Calciudoll in the MLRA with the same water table data but has been linked to the Thin Loamy site. MLRA map units to investigate are:
o Glyndon loam, dry, 2 to 6 percent slopes (map unit 1tbnd)
o Glyndon silt loam, dry, 2 to 6 percent slopes (map unit 2pg3j)
o McIntosh silt loam, 0 to 2 percent slopes (map unit 2ql2b)
o McIntosh-Mustinka complex, 0 to 2 percent slopes (map unit 2ql2c)
o Ortonville silt loam, lacustrine, 2 to 6 percent slopes (map unit 1vv7f)
• Further investigation in need on areas of this site associated with drainageways. Divide soils occur on some low terraces of drainageways. Moritz soils occur along the outer edges of some channeled drainageways. The impact of occasional flooding on these areas needs evaluation.
• Further investigate the possibility of a restoration or transition from 6.0 Salinization State to another State.
• Further investigation may be needed on the ‘Aspen Parkland’ phase of the Grimstad soil map unit included in this site. The presence of aspen is not discussed in the Limy Subirrigated ES narratives. This map unit occurs in Clay, Grant, Otter Tail, and Wilkin counties in Minnesota: Grimstad fine sandy loam, 0 to 2 percent slopes, aspen parkland (map unit prn8). The extent of this map unit is nearly 20,000 acres in these counties. If aspen only occurs on this site in this one map unit, some note to that effect should probably be added to the narrative.
• Further investigation is needed on the wide range of soil textures and associated properties and their relationship to hydrology/plant dynamics.
• Further evaluation and refinement of the State-and-Transition model may be needed to identify disturbance driven dynamics. Additional states and/or phases may be required to address grazing response.
• Further documentation may be needed for plant communities in all states. Plant data has been collected in previous range-site investigations, including clipping data; however, this data needs review. If geo-referenced sites meeting Tier 3 standards for either vegetative or soil data are not available, representative sites will be selected for further investigation.
• Site concepts will be refined as the above noted investigations are completed.
• The long-term goal is to complete an approved, correlated Ecological Site Description as defined by the National Ecological Site Handbook.
• NASIS revisions needed:
o During the recently completed Ecological Site Description update, saline phases of Aeric Calciaquolls were reassigned from Saline Lowland to the Salinized State of Limy Subirrigated. Numerous components of Antler, Bearden, Elmville, Gilby, Glyndon, Hamerly, Ulen, Wheatville, and Wyndmere need to be relinked, as well as three components of Moritz.
o One major component of Bearden (Bearden-Lamoure complex) is linked to Loamy ES; this needs to be corrected to Limy Subirrigated.
This ESD is the best available knowledge. The site concept and species composition table have been used in the field and tested for more than five years. It is expected that as additional information becomes available revisions may be required.
Supporting information
Inventory data references
Information presented here has been derived from NRCS and other federal/state agency clipping and inventory data. Also, field knowledge of range-trained personnel was used. All descriptions were peer reviewed and/or field-tested by various private, state and federal agency specialists.
Those involved in developing this site description include: Stan Boltz, NRCS State Rangeland Management Specialist; Bernadette Braun, USFS Rangeland Management Specialist; Stacey Swenson, USFS Rangeland Management Specialist; Jeff Printz, NRCS State Rangeland Management Specialist; Dr. Kevin Sedivec, Extension Rangeland Management Specialist; Dr. Shawn Dekeyser, North Dakota State University; Rob Self, The Nature Conservancy; Lee Voigt, NRCS Area Rangeland Management Specialist; Dr. Mark Gonzales, USFS Hydrologist; David Dewald, NRCS State Biologist; Keith Anderson, NRCS Soil Scientist, Fred Aziz; NRCS Area Resource Soil Scientist; and Steve Sieler, NRCS Soil Scientist.
Other references
Bakker, K.K. 2003. The effect of woody vegetation on grassland nesting birds: an annotated bibliography. The Proceedings of the South Dakota Academy of Science 82:119-141.
Barker, W.T. and W. C. Whitman. 1988. Vegetation of the northern great plains. Rangelands 10(6): 266-272.
Bluemle. J.P. 2016. North Dakota’s Geologic Legacy. North Dakota State University Press. 382 pages.
Briske, D.D. (editor). 2017. Rangeland Systems – Processes, Management, and Challenges. Springer Series on Environmental Management. 661 pages.
Burgess, R.L. 1965. A study of plant succession in the sandhills of southeastern North Dakota. Proceedings ND Academy of Science 19:62-80
DeKeyser, E.S., G. Clambey, K. Krabbenhoft, and J. Ostendorf. 2009. Are changes in species composition on central North Dakota rangelands due to non-use management? Rangelands 31:16- 19
Dix, R.L. and F.E. Smeins. 1967. The prairie, meadow, and marsh vegetation of Nelson County, North Dakota. Canadian Journal of Botany 45:21-57.
Dornbusch, M.J., R.F. Limb, and C.K. Gasch. 2018. Facilitation of an exotic grass through nitrogen enrichment by an exotic legume. Rangeland Ecology & Management 71:691-694.
Dyke, S.R., S.K. Johnson, and P.T. Isakson. 2015. North Dakota State Wildlife Action Plan. North Dakota Game and Fish Department, Bismarck, ND. 468 pages.
Ehrenfeld, Joan G. 2002. Effects of exotic plant invasions on soil nutrient cycling processes. Ecosystems 6:503-523. Endangered and threatened wildlife and plants; designation of critical habitat for the Dakota skipper and Poweshiek skipperling; Vol. 79 No. Final Rule October 1, 2015, 50 CFR Part 17.
Ereth, C., J. Hendrickson, D. Kirby, E. DeKeyser, K. Sedevic, and M. West. Controlling Kentucky bluegrass with herbicide and burning is influenced by invasion level. Invasive Plant Science and Management 10: 80-89.
Ewing, J. 1924. Plant Succession on the Brush Prairie in Northwestern Minnesota. Journal of Ecology 12:228-266.
Gilgert, W. and S. Zack. 2010. Integrating multiple ecosystem services introduction ecological site descriptions. Rangelands: 32:49-54.
Grant, T.A. and R.K. Murphy. 2005. Changes on woodland cover on prairie refuges in North Dakota, USA. Natural Areas Journal 25:359-368.
Heitschmidt, R. K., K. D. Klement, and M. R. Haferkamp. 2005. Interactive effects of drought and grazing on northern great plains rangelands. Rangeland Ecology and Management 58:11-19.
Hendrickson, J.R., P. S. Johnson, M. A. Liebig, K. K. Sedivec, and G. A. Halvorson. 2016. Use of ecological sites in managing wildlife and livestock: an example with prairie dogs. Rangelands
Hendrickson, J.R., S.L. Kronberg, and E.J. Scholljegerdes. 2020. Can targeted grazing reduce abundance of invasive perennial grass (Kentucky Bluegrass) on native mixed-grass prairie? Rangeland Ecology and Management, 73:547-551.
Higgins, K.F. 1984. Lightning fires in grasslands in North Dakota and in pine-savanna lands in nearby South Dakota and Montana. J. Range Manage. 37:100-103.
Higgins, K.F. 1986. Interpretation and compendium of historical fire accounts in the northern great plains. United States Department of Interior, Fish and Wildlife Service. Resource Publication 161. 39 pages.
Higgins, K.F., A.D. Kruse, and J.L. Piehl. 1989. Effects of fire in the Northern Great Plains. U.S. Fish and Wildlife Service and Cooperative Extension Service South, Dakota State University. Extension Circular 761. 48 pages.
High Plains Regional Climate Center, University of Nebraska, 830728 Chase Hall, Lincoln, NE 68583-0728. (http://hprcc.unl.edu)
Johnson, Sandra. 2015. Reptiles and Amphibians of North Dakota. North Dakota Game and Fish Department. 64 pages.
Jordan, N. R., D.L. Larson, and S.C. Huerd. 2008. Soil modification by invasive plants: effects on native and invasive species of mixed-grass prairies. Biological Invasions 10:177-190.
Mader, E., M. Shepherd, M. Vaughan, and S.H. Black. 2011. Attracting native pollinators: protecting North America's bees and butterflies. Accessed at https://xerces.org, May 1, 2017.
Minnesota Department of Natural Resources. 2005. Field guide to the native plant communities of Minnesota – the prairie parkland and tallgrass aspen parklands provinces. Minnesota DNR.
Nelson, W.T. 1986. Grassland habitat type classification of the Sheyenne National Grasslands of southeastern North Dakota. M.S. thesis. North Dakota State University. 139 pages.
North Dakota Division of Tourism, Accessed on February 25, 2019. Available at https://www.ndtourism.com/sports-recreation
North Dakota Parks and Recreation Department, Accessed on February 25, 2019. Available at http://www.parkrec.nd.gov/recreationareas/recreationareas.html
Palit, R., G. and E.S. DeKeyser. 2022. Impacts and drivers of smooth brome (Bromus inermis Leyes.) invasion in native ecosystems. Plants: 10,3390. https://www.mdpi.com/2223- 7747/11/10/1340
Palit, R., G. Gramig, and E.S. DeKeyser. 2021. Kentucky bluegrass invasion in the Northern Great Plains and prospective management approaches to mitigate its spread. Plants: 10,817. https://doi.org/10.3390/plants10040817
Peterson, K. 2013. Remediation of Sand Dune Blowouts Along Pipeline Rights of Ways. M.S. thesis. University of New Mexico, Albuquerque. https://digitalrepository.unm.edu/cgi/viewcontent.cgi?article=1015&context=geog_etds
Printz, J.L. and J.R. Hendrickson. 2015. Impacts of Kentucky bluegrass Invasion (Poa pratensis) on Ecological Processes in the Northern Great Plains. Rangelands 37(6):226-232.
Reeves, J.L., J.D. Derner, M.A. Sanderson, J.R. Hendrickson, S.L. Kronberg, M.K. Petersen, and L.T. Vermeire. 2014. Seasonal weather influences on yearling beef steer production in C3- dominated Northern Great Plains rangeland. Agriculture, Ecosystems and Environment 183:110- 117.
Ralston, R.D., and R.L. Dix. 1966. Green herbage production of native grasslands in the Red River Valley-1965. Proceedings ND Academy of Science 20:57-66.
Royer, R. A., 2003. Butterflies of North Dakota: An Atlas and Guide. Minot State University, Minot, ND.
Seabloom, R. 2020. Mammals of North Dakota. North Dakota Institute for Regional Studies, Fargo, ND. 470 pages.
Sedivec, K.D., J.L. Printz. 2014. Ranchers Guide to Grassland Management IV. NDSU Extension Service publication R1707.
Severson, K. E. and C. Hull Sieg. 2006. The Nature of Eastern North Dakota: Pre-1880 Historical Ecology. North Dakota Institute for Regional Studies.
South Dakota Dept. of Game, Fish and Parks. 2014. South Dakota Wildlife Action Plan. Wildlife Division Report 2014-03.
Spaeth, K.E., Hayek, M.A., Toledo, D., and Hendrickson, J. 2019. Cool Season Grass Impacts on Native Mixedgrass Prairie Species in the Norther Great Plains. America’s Grassland Conference: Working Across Boundaries. The Fifth Biennial Conference on the Conservation of America’s Grasslands. Bismarck, ND. 20-22 August.
Swingen, M., R, M. Walker, R. Baker, G. Nordquist, T. Catton, K. Kirschbaum, B. Dirks, and N. Dietz. 2018. Northern Long-eared Bat Roost Tree Characteristics 2015-2017. Natural Research Institute, University of Minnesota Duluth, Technical Report NRRI/TR-2018/41, 88p.
Tidwell, D., D.T. Fogarty, and J.R. Weir. 2021. Woody encroachment in grasslands, a guide for understanding risk and vulnerability. Oklahoma State University, Oklahoma Cooperative Extension Service publication E-1054. 32 pages.
Toledo, D., M. Sanderson, K. Spaeth, J. Hendrickson, and J. Printz. 2014. Extent of Kentucky bluegrass and its effect on native plant species diversity and ecosystem services in the northern great plains of the United State. Invasive Plant Science and Management 7(4): 543-552.
USDA, NRCS. 2021. National Range and Pasture Handbook, (https://www.nrcs.usda.gov/wps/portal/nrcs/detailfull/national/landuse/rangepasture/?cid=stelprdb1 043084)
USDA, NRCS. 2006. Land Resource Regions and Major Land Resource Areas of the United States, the Caribbean, and the Pacific Basin. U.S. Department of Agriculture Handbook 296.
USDA, NRCS. National Soil Information System, 100 Centennial Mall North, Room 152, Lincoln, NE 68508-3866.
(https://www.nrcs.usda.gov/wps/portal/nrcs/detail/soils/survey/tools/?cid=nrcs142p2_053552)
USDA, NRCS. National Water & Climate Center, 1201 NE Lloyd Blvd, Suite 802, Portland, OR 97232-1274. (https://www.wcc.nrcs.usda.gov/)
USDA, NRCS. 2001. The PLANTS Database, Version 3.1 (http://plants.usda.gov). National Plant Data Center, Baton Rouge, LA 70874-4490 USA.
USDA, NRCS, Various Published Soil Surveys.
USDI BLM.1999. Utilization Studies and Residual Measurements. Interagency Technical Reference 1734-3.
Vinton, M.A. and E.M. Goergen. 2006. Plant-soil feedbacks contribute to the persistence of Bromus inermis in tallgrass prairie. Ecosystems 9: 967-976.
Whitman, W.H., H. Hanson, and R. Peterson. 1943. Relation of drought and grazing to North Dakota range lands. North Dakota Agricultural Experimentation Bulletin 340.
Contributors
Stan Boltz, NRCS State Rangeland Management Specialist; Bernadette Braun, USFS Rangeland Management Specialist; Stacey Swenson, USFS Rangeland Management Specialist;
Rob Self, The Nature Conservancy; Lee Voigt, NRCS Area Rangeland Management Specialist; Dr. Mark Gonzales, USFS Hydrologist; David Dewald, NRCS State Biologist;
Jeff Printz, NRCS State Rangeland Management Specialist; Dr. Kevin Sedivec, Extension Rangeland Management Specialist; Dr. Shawn Dekeyser, North Dakota State University;
Keith Anderson, NRCS Soil Scientist, Fred Aziz; NRCS Area Resource Soil Scientist; and Steve Sieler, NRCS Soil Scientist.
ND NRCS: Keith Anderson, Fred Aziz, Stan Boltz, David Dewald, Jonathan Fettig, Alan Gulsvig, Mark Hayek, Chuck Lura, Jeff Printz, Steve Sieler, Lee Voigt, and Hal Weiser
Approval
Suzanne Mayne-Kinney, 5/21/2025
Acknowledgments
We gratefully acknowledge Bernadette Braun, Dr. Mark Gonzales, Stacy Swenson, USFS; and Rob Self, The Nature Conservancy; for their helpful comments and suggestions.
Rangeland health reference sheet
Interpreting Indicators of Rangeland Health is a qualitative assessment protocol used to determine ecosystem condition based on benchmark characteristics described in the Reference Sheet. A suite of 17 (or more) indicators are typically considered in an assessment. The ecological site(s) representative of an assessment location must be known prior to applying the protocol and must be verified based on soils and climate. Current plant community cannot be used to identify the ecological site.
Author(s)/participant(s) | USDA-NRCS North Dakota |
---|---|
Contact for lead author | NRCS State Rangeland Management Specialist |
Date | 12/01/2021 |
Approved by | Suzanne Mayne-Kinney |
Approval date | |
Composition (Indicators 10 and 12) based on | Annual Production |
Indicators
-
Number and extent of rills:
Rills are not expected on this site. -
Presence of water flow patterns:
Water flow patterns are not visible. -
Number and height of erosional pedestals or terracettes:
Neither pedestals nor terracettes are expected. -
Bare ground from Ecological Site Description or other studies (rock, litter, lichen, moss, plant canopy are not bare ground):
Bare ground is 5% or less occurring in small patches (less than 2 inches in diameter) and disconnected. Animal activity (burrows and ant mounds) ay occasionally result in isolated bare patches of up to 24 inches in diameter. -
Number of gullies and erosion associated with gullies:
Active gullies are not expected on this site. -
Extent of wind scoured, blowouts and/or depositional areas:
No wind-scoured or depositional areas expected on this site. -
Amount of litter movement (describe size and distance expected to travel):
Plant litter movement not expected on this site. -
Soil surface (top few mm) resistance to erosion (stability values are averages - most sites will show a range of values):
Stability class averages 6. -
Soil surface structure and SOM content (include type of structure and A-horizon color and thickness):
Use soil series description for depth, color, and structure of A-horizon. -
Effect of community phase composition (relative proportion of different functional groups) and spatial distribution on infiltration and runoff:
Tall-statured rhizomatous grasses, mid- and short-statured bunchgrasses are dominant and well distributed across the site. Mid- and short-statured rhizomatous grasses and a diverse forb component are subdominant. -
Presence and thickness of compaction layer (usually none; describe soil profile features which may be mistaken for compaction on this site):
No compaction layers occur naturally on this site. -
Functional/Structural Groups (list in order of descending dominance by above-ground annual-production or live foliar cover using symbols: >>, >, = to indicate much greater than, greater than, and equal to):
Dominant:
Phase 1.1 -
Tall C4 rhizomatous grasses (3)Sub-dominant:
Phase 1.1 -
Mid & short C4 bunch grasses (2); Mid & short C3 bunch grasses (4); Mid & short C4 rhizomatous grasses (3); Forbs (16)Other:
Minor - Phase 1.1 -
Mid & short C3 rhizomatous grasses; Grass-likes; ShrubAdditional:
Due to differing root structure and distribution, Kentucky bluegrass and smooth bromegrass do not fit into reference plant community F/S groups.
To see a full version 5 rangeland health worksheet with functional/structural group tables. Please use the following hyperlink:(
https://efotg.sc.egov.usda.gov/references/public/ND/53B_Clayey_Narrative_FINAL_Ref_FSG.pdf ) -
Amount of plant mortality and decadence (include which functional groups are expected to show mortality or decadence):
Rare to not occurring on this site. -
Average percent litter cover (%) and depth ( in):
Plant litter cover is 80 to 90% with a depth of 0.25 to 0.5 inches or less. Litter is in contact with the soil surface. -
Expected annual annual-production (this is TOTAL above-ground annual-production, not just forage annual-production):
Annual air-dry production is 4200 lbs./ac (reference value) with normal precipitation and temperatures. Low and high production years should yield 3000 lbs./ac to 5200 lbs./ac, respectively. -
Potential invasive (including noxious) species (native and non-native). List species which BOTH characterize degraded states and have the potential to become a dominant or co-dominant species on the ecological site if their future establishment and growth is not actively controlled by management interventions. Species that become dominant for only one to several years (e.g., short-term response to drought or wildfire) are not invasive plants. Note that unlike other indicators, we are describing what is NOT expected in the reference state for the ecological site:
State and local noxious species, Kentucky bluegrass, smooth bromegrass, quackgrass, redtop, Siberian elm, and Russian olive. -
Perennial plant reproductive capability:
Noninvasive species in all functional/structural groups are vigorous and capable of reproducing annually under normal weather conditions.
Print Options
Sections
Font
Other
The Ecosystem Dynamics Interpretive Tool is an information system framework developed by the USDA-ARS Jornada Experimental Range, USDA Natural Resources Conservation Service, and New Mexico State University.
Click on box and path labels to scroll to the respective text.
Ecosystem states
States 2, 5 and 6 (additional transitions)
T1A | - | Introduction of exotic cool-season grasses |
---|---|---|
T2B | - | Long-term heavy grazing or non-use |
T2A | - | Long-term non-use or very light grazing, no fire |
T2C | - | Long-term heavy grazing or annual haying |
R3A | - | Long-term prescribed grazing and prescribed burning |
T3A | - | Long-term non-use or very light grazing, no fire |
R4A | - | Brush control, perhaps followed by range planting |
R4B | - | Brush control |
R5A | - | Successful range planting |
R5B | - | Failed range planting and/or secondary succession with soil EC<8 |
T5A | - | Secondary succession with soil electric conductivity (EC) >8 |
T6A | - | Cessation of annual cropping |
State 1 submodel, plant communities
1.1A | - | Periods of below average precipitation, increased disturbance |
---|---|---|
1.2A | - | Return to average precipitation and disturbance regime |
State 2 submodel, plant communities
2.1A | - | No grazing, no fire |
---|---|---|
2.1B | - | Heavy grazing pressure without adequate recovery periods |
2.2A | - | Prescribed grazing and prescribed burning |
2.2B | - | Long-term heavy grazing pressure |
2.3A | - | Prescribed grazing and prescribed burning |
2.3B | - | Prescribed grazing |