
Natural Resources
Conservation Service
Ecological site R055AY051ND
Choppy Sands
Last updated: 5/08/2025
Accessed: 10/18/2025
General information
Provisional. A provisional ecological site description has undergone quality control and quality assurance review. It contains a working state and transition model and enough information to identify the ecological site.
MLRA notes
Major Land Resource Area (MLRA): 055A–Northern Black Glaciated Plains
The Northern Black Glaciated Plains MLRA is an expansive and agriculturally important region consisting of 8,200,000 acres and including all or a portion of 16 counties in north-central and northeast North Dakota.
Nearly all MLRA 55A is covered by till: material that was moved and redeposited by the glaciers. Pre-glaciated bedrock (shale) is exposed in some of the deeper valleys and at the edges of some hills; but what covers the bedrock is glacier sediment, known as drift. These areas have the Late Wisconsin age till plain integrated drainage system in contrast to the closed drainage of the majority of the till plain and moraines. The Drift Prairie Region consists of nearly level to gently rolling glacial till plains dissected by glacial outwash channels. Five rivers flow through parts of the MLRA. The Souris (also known as Mouse) River meanders across the Canadian border through Renville and Ward counties; it then loops east through McHenry County and north through Bottineau County returning to Canada. The Des Lacs River flows southward from Canada through Burke, southwest Renville, and Ward counties where it joins the Souris River. Along the eastern edge of the MLRA the Pembina River, Park River, and Forest River flow eastward to join the Red River. Some soils along these rivers have weathered shale beds in the substratum.
This region is utilized mostly by farms and ranches; about 80 percent is cropland that is dry-farmed. Cash-grain, bean and oil production crops are the principal enterprise on many farms, but other feed grains and hay are also grown. The vegetation on the steeper slopes and thinner (or sandy) soils is still native rangeland. About 3 percent of this area is forested. The most extensive areas of forests are in Turtle Mountain, Pembina Gorge and Hills, and on the moraines in proximity to Devils Lake.
Classification relationships
Level IV Ecoregions of the Conterminous United States: 46a Pembina Escarpment, 46b Turtle Mountains, 46c Glacial Lake Basins, 46d Glacial Lake Deltas, 46f End Moraine Complex, 46g Northern Black Prairie, 46i Drift Plains, and 46j Glacial Outwash.
Ecological site concept
The Choppy Sands ecological site is located on sandy uplands – delta plains, lake plains, outwash plains, and sand-mantled moraines. Commonly, these have been wind-worked into dunes; however, some sites occur on upland ridges. The soils are very deep. The thickness of the topsoil is generally less than 5 inches; but it may be as thick as 9 inches. The surface layer is loamy fine sand or fine sand. The rest of the soil profile to depth >40 inches is typically fine sand. Soil on this site is excessively drained. The slopes, particularly of the dunes, are highly variable; the slope range is typically 15 to 35 percent, but slopes >35% may be included in some areas. On the landscape, this site is above the Subirrigated, Subirrigated Sands, and Wet Meadow ecological sites (all three sites occur in blowout areas). The Sands site occurs on adjacent, less sloping (<15 percent) sandy landscapes (see Site Development and Testing Plan).
To see a full copy of the ecological site description with all tables and the full version 5 rangeland health worksheet, please use the following hyperlink:
https://efotg.sc.egov.usda.gov/references/public/ND/55A_Choppy_Sands_Narrative_FINAL_Ref_FSG.pdf
Associated sites
R055AY043ND |
Sands This site occurs on less sloping areas (<15% slope) of sand plains and dunes. It is sand or loamy sand (fine to coarse sands) within a depth of 10 inches. The subsoil does not form a ribbon. |
---|---|
R055AY055ND |
Wet Meadow This poorly drained site is in the bottom of some blowouts. It has a seasonal high-water table, typically within a depth of 1.5 feet during the months of April through June; it may pond due to frozen ground in early spring. Redoximorphic features are within a depth of 18 inches. On this landscape, the site is non-saline. |
R055AY048ND |
Subirrigated This site occurs in swales and blow-outs. It has redoximorphic features at a depth of 18 to 30 inches. |
R055AY049ND |
Subirrigated Sands This site occurs lower on the landscape – on flats. It has redoximorphic features at a depth of 30 to 40 inches. The subsoil does not form a ribbon. |
Similar sites
R055AY043ND |
Sands This site occurs on less sloping areas (<15% slope) of sand plains and dunes. It is sand or loamy sand (fine to coarse sands) within a depth of 10 inches. The subsoil does not form a ribbon. |
---|
Table 1. Dominant plant species
Tree |
Not specified |
---|---|
Shrub |
Not specified |
Herbaceous |
(1) Andropogon hallii |
Physiographic features
This site occurs on sandy uplands – delta plains, lake plains, outwash plains, and sand-mantled moraines – which, commonly, have been reworked by wind into dunes. Slope typically ranges from 15 to 35 percent.
Table 2. Representative physiographic features
Landforms |
(1)
Dune
(2) Ridge |
---|---|
Runoff class | Very low to medium |
Flooding frequency | None |
Ponding frequency | None |
Elevation | 950 – 2,525 ft |
Slope | 15 – 35% |
Water table depth | 80 in |
Aspect | Aspect is not a significant factor |
Climatic features
MLRA 55A is considered to have a continental climate with cold winters and hot summers, low humidity, light rainfall, and much sunshine. Extremes in temperature are common and characteristic of MLRA 55A. The continental climate is the result of the location of this MLRA in the geographic center of North America. There are few natural barriers on the northern Great Plains, so air masses move unobstructed across the plains and account for rapid changes in temperature.
The average annual precipitation is 17 to 19 inches (432 to 483 millimeters). The normal average annual temperature is 36⁰ to 41⁰ F (2⁰ to 5⁰ C). January is the coldest month with an average low temperature of about ⁻ 3⁰ F (⁻19⁰ C). July is the warmest month with an average high temperature of about 80⁰ F (27⁰ C).
About 75 percent of the rainfall occurs as high-intensity, convective thunderstorms during the growing season. Winter precipitation is typically snow. The annual snowfall is 25 to 50 inches (635 to 1,270 millimeters). The frost-free period averages 101 days and ranges from 108 days to 92 days. The freeze-free period averages 124 days and ranges from 128 to 119 days.
Growth of native cool-season plants begins in mid-April and continues to mid-July. Native warm-season plants begin growth in late May and continue to the end of August. Green-up of cool-season plants can occur in September and October when adequate soil moisture is present.
Long-term climate data is lacking for Turtle Mountain; however, annual precipitation for the International Peace Garden averaged 27.7 inches (704 millimeters) from 1967-1970 while that for Boissevain, Manitoba averaged 17.1 inches (434 millimeters). Turtle Mountain likely has greater precipitation, cooler temperatures and less evapotranspiration than the adjacent plains.
Table 3. Representative climatic features
Frost-free period (characteristic range) | 92-109 days |
---|---|
Freeze-free period (characteristic range) | 119-128 days |
Precipitation total (characteristic range) | 17-19 in |
Frost-free period (actual range) | 88-112 days |
Freeze-free period (actual range) | 116-132 days |
Precipitation total (actual range) | 17-20 in |
Frost-free period (average) | 101 days |
Freeze-free period (average) | 124 days |
Precipitation total (average) | 18 in |
Figure 1. Monthly precipitation range
Figure 2. Monthly minimum temperature range
Figure 3. Monthly maximum temperature range
Figure 4. Monthly average minimum and maximum temperature
Figure 5. Annual precipitation pattern
Figure 6. Annual average temperature pattern
Climate stations used
-
(1) GRANVILLE [USC00323686], Granville, ND
-
(2) DEVILS LAKE KDLR [USW00014912], Devils Lake, ND
-
(3) DRAKE 9 NE [USC00322304], Drake, ND
-
(4) EDMORE 1NW [USC00322525], Edmore, ND
-
(5) MINOT EXP STN [USC00325993], Minot, ND
-
(6) RUGBY [USC00327704], Rugby, ND
-
(7) TOWNER 2 NE [USC00328792], Towner, ND
-
(8) UPHAM 3 N [USC00328913], Upham, ND
-
(9) WILLOW CITY [USC00329445], Willow City, ND
-
(10) BOTTINEAU [USC00320941], Bottineau, ND
-
(11) LEEDS [USC00325078], Leeds, ND
-
(12) WESTHOPE [USC00329333], Westhope, ND
-
(13) HANSBORO 4 NNE [USC00323963], Hansboro, ND
-
(14) LANGDON EXP FARM [USC00324958], Langdon, ND
-
(15) MOHALL [USC00326025], Mohall, ND
-
(16) ROLLA 1NE [USC00327664], Rolla, ND
-
(17) VELVA 3NE [USC00328990], Velva, ND
-
(18) MINOT INTL AP [USW00024013], Minot, ND
-
(19) BOWBELLS [USC00320961], Bowbells, ND
-
(20) CROSBY [USC00321871], Crosby, ND
Influencing water features
This site does not receive additional water, either as runoff from adjacent slopes or from a seasonal high-water table. Depth to the water table is deeper than 6 feet throughout the growing season. Surface infiltration and permeability through the profile are rapid. Water loss on this site occurs through percolation below the root zone and through evapotranspiration.
Soil features
Soils associated with Choppy Sands ES are in the Entisol and Mollisol orders. The Entisols are classified further as Typic Udipsamments; the Mollisols are classified further as Entic Hapludolls. These soils were developed under prairie vegetation. They formed primarily in eolian sands. These soils are very deep and excessively drained. The common features of soils in this site are the sandy textures throughout and dominant slopes exceeding 15 percent. The surface layer is loamy fine sand or fine sand; it generally is <5 inches thick, but it may be as thick as 9 inches. The rest of the soil profile is typically fine sand.
Salinity and sodicity are typically none throughout the soil profile. Soil reaction ranges from slightly acid to slightly alkaline (pH 6.1 to 7.8). Calcium carbonate content is none or very low.
Wind erosion is the greatest risk. Loss of the thin soil surface layer can result in a shift in species composition and/or production.
The major soil series correlated to the Choppy Sands site are Serden and Maddock.
Access Web Soil Survey (https://websoilsurvey.sc.egov.usda.gov/App/WebSoilSurvey.aspx) for specific local soils information.
Table 4. Representative soil features
Parent material |
(1)
Eolian sands
(2) Lacustrine deposits (3) Outwash |
---|---|
Surface texture |
(1) Fine sand (2) Loamy fine sand |
Family particle size |
(1) Sandy |
Drainage class | Excessively drained |
Permeability class | Rapid |
Depth to restrictive layer | 80 in |
Soil depth | 80 in |
Surface fragment cover <=3" | Not specified |
Surface fragment cover >3" | Not specified |
Available water capacity (0-40in) |
2.5 – 4 in |
Calcium carbonate equivalent (0-40in) |
5% |
Electrical conductivity (0-40in) |
Not specified |
Sodium adsorption ratio (0-40in) |
Not specified |
Soil reaction (1:1 water) (0-40in) |
6.1 – 7.8 |
Subsurface fragment volume <=3" (Depth not specified) |
2% |
Subsurface fragment volume >3" (Depth not specified) |
Not specified |
Ecological dynamics
This ecological site description is based on nonequilibrium ecology and resilience theory and utilizes a State-and-Transition Model (STM) diagram to organize and communicate information about ecosystem change as a basis for management. The ecological dynamics characterized by the STM diagram reflect how changes in ecological drivers, feedback mechanisms, and controlling variables can maintain or induce changes in plant community composition (phases and/or states). The application of various management actions, combined with weather variables, impact the ecological processes which influence the competitive interactions, thereby maintaining or altering plant community structure.
Prior to European influence, the historical disturbance regime for MLRA 55A included frequent fires, both anthropogenic and natural in origin. Most fires, however, were anthropogenic fires set by Native Americans. Native Americans set fires in all months except perhaps January. These fires occurred in two peak periods, one from March-May with the peak in April and another from July-November with the peak occurring in October. Most of these fires were scattered and of small extent and duration.
The grazing history would have involved grazing and browsing by large herbivores (such as American bison, elk, and whitetail deer). Herbivory by small mammals, insects, nematodes, and other invertebrates are also important factors influencing the production and composition of the communities. Grazing and fire interaction, particularly when coupled with drought events, influenced the dynamics discussed and displayed in the following state and transition diagram and descriptions.
Following European influence, this ecological site generally has had a history of grazing by domestic livestock, particularly cattle, which along with other related activities (e.g., fencing, water development, fire suppression) has changed the disturbance regime of the site. Changes will occur in the plant communities due to these and other factors.
Weather fluctuations coupled with managerial factors may lead to changes in the plant communities and may, under adverse impacts, result in a slow decline in vegetative vigor and composition. However, under favorable conditions the botanical composition may resemble that prior to European influence.
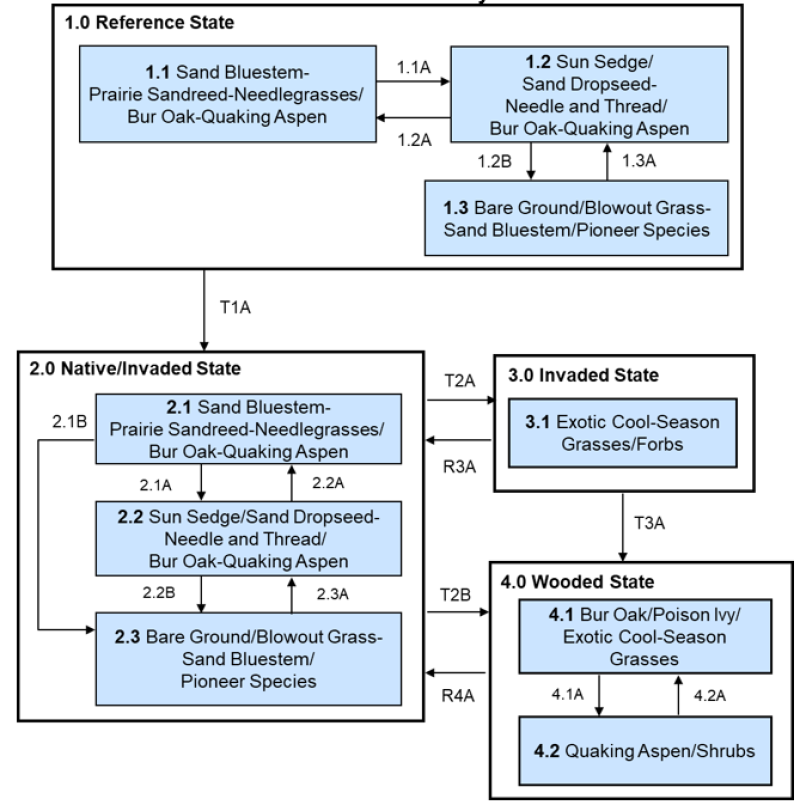
Four vegetative states have been identified for the site (Reference, Native/Invaded, Invaded, and Wooded). Within each state, one or more community phases have been identified. These community phases are named based on the more dominant and visually conspicuous species; they have been determined by study of historical documents, relict areas, scientific studies, and ecological aspects of plant species and plant communities. Transitional pathways and thresholds have been determined through similar methods.
State 1: Reference State represents the natural range of variability that dominated the dynamics of this ecological site prior to European influence. Dynamics of the state were largely determined by variations in climate and weather (e.g., drought), as well as that of fire (e.g., timing, frequency) and grazing by native herbivores (e.g., frequency, intensity, selectivity). Due to those variations, the Reference State is thought to have shifted temporally and spatially between three plant community phases.
Currently the primary disturbances include widespread introduction of exotic plants, concentrated livestock grazing, lack of fire, and perhaps long-term non-use and no fire. Because of these changes, particularly the widespread occurrence of exotic plants, as well as other environmental changes, the Reference State is considered to no longer exist. Thus, the presence of exotic plants on the site precludes it from being placed in the Reference State. It must then be placed in one of the other states, commonly State 2: Native/Invaded State (T1A).
State 2: Native/Invaded State. Colonization of the site by exotic plants results in a transition from State 1: Reference State to State 2: Native/Invaded State (T1A). This transition was inevitable; it often resulted from colonization by exotic cool-season grasses (often Kentucky bluegrass, smooth brome, quackgrass, and/or crested wheatgrass) which have been particularly and consistently invasive under extended periods of no use and no fire. Other exotic plants (e.g., leafy spurge) are also known to invade the site.
Three community phases have been identified for this state; they are similar to the community phases in the Reference State but have now been invaded by exotic cool-season grasses. These exotic cool- season grasses can be expected to increase. As that increase occurs, plants more desirable to wildlife and livestock decline. A decline in forb diversity can also be expected. Under non-use or minimal use management, mulch increases and may become a physical barrier to plant growth. This also changes the micro-climate near the soil surface and may alter infiltration, nutrient cycling, and biological activity near the soil surface. As a result, these factors coupled with shading cause desirable native plants to have increasing difficulty remaining viable and recruitment declines.
To slow or limit the invasion of these exotic cool-season grasses or other exotic plants, it is imperative that managerial techniques (e.g., prescribed grazing, prescribed burning) be carefully constructed, monitored, and evaluated with respect to that objective. If management does not include measures to control or reduce these exotic plants, the transition to State 3: Invaded State should be expected (T2A). This state may also transition to State 4: Wooded State during long-term non-use or very light grazing, and no fire, often directly from Community Phase 2.3 (T2B).
State 3: Invaded State. The threshold for this state is reached when both the exotic cool-season grasses (e.g., Kentucky bluegrass, smooth brome, quackgrass, crested wheatgrass) exceed 30% of the plant community and native grasses represent less than 40% of the community. One community phase has been identified for this state.
The exotic cool-season grasses can be quite invasive and often form monotypic stands. As they increase, both forage quantity and quality of the annual production becomes increasingly restricted to late spring and early summer, even though annual production may increase. Forb diversity often declines. Under non-use or minimal use management, mulch can increase and become a physical barrier to plant growth which alters nutrient cycling, infiltration, and soil biological activity. As such, desirable native plants become increasingly displaced.
Once the state is well established, prescribed burning and prescribed grazing techniques have been largely ineffective in suppressing or eliminating the exotic cool-season grasses, even though some short-term reductions may appear successful. However, assuming there is an adequate component of native grasses to respond to treatments, a restoration pathway to State 2: Native/Invaded State may be accomplished with the implementation of long-term prescribed grazing in conjunction with prescribed burning (R3A). This state may also transition to State 4: Wooded State during long-term non-use or very light grazing and no fire (T3A).
State 4: Wooded State. Woody vegetation historically existed as small patches of trees and/or shrubs scattered across the site when precipitation, fire frequency, and other factors enabled woody species to colonize or encroach on the site. This often resulted in a mosaic of patches of woody vegetation interspersed within the grass dominated vegetation. However, the woody vegetation has now been invaded by exotic cool-season grasses (e.g., Kentucky bluegrass, smooth brome, quackgrass, crested wheatgrass). A marked increase in non-use management and active fire suppression since European influence has enabled this state to expand and become more widespread. Two community phases have been identified and often result from long-term non-use or very light grazing, and no fire (T2B, T3A). Long-term prescribed grazing and prescribed burning, perhaps in combination with mechanical treatment may lead to State 2: Native/Invaded State (R4A).
Woody Invasion. Historically, individual (or small patches of) shrubs and/or trees were scattered across the site. However, a marked increase in fire suppression, climate change, increase in non- use, and other factors enabled woody species to colonize, form patches (resistant to fire), and begin to or encroach on the site. These changes have enabled these patches to expand and become more widespread. Encroachment of both native and exotic woody species (e.g., Rocky Mountain juniper, Russian olive, Siberian elm, western snowberry, silverberry, ponderosa. pine, eastern red cedar, etc.) are examples of woody vegetation increasing in extent and impinging on the ecological integrity of the grassland biome. Windbreaks and other tree plantings can contain problematic and invasive species (eastern redcedar, Rocky Mountain juniper, ponderosa pine, Russian olive, etc.) which can contaminate surrounding grasslands. This results in increased long-term costs to maintain or restore this ecological site in native grasses and forbs.
The following state and transition model diagram illustrates the common states, community phases, community pathways, and transition and restoration pathways that can occur on the site. These are the most common plant community phases and states based on current knowledge and experience; changes may be made as more data are collected. Pathway narratives describing the site’s ecological dynamics reference various management practices (e.g., prescribed grazing, prescribed fire, brush management, herbaceous weed treatment) which, if properly designed and implemented, will positively influence plant community competitive interactions. The design of these management practices will be site specific and should be developed by knowledgeable individuals; based upon management goals and a resource inventory; and supported by an ongoing monitoring protocol.
When the management goal is to maintain an existing plant community phase or restore to another phase within the same state, modification of existing management to ensure native species have the competitive advantage may be required. To restore a previous state, the application of two or more management practices in an ongoing manner will be required. Whether using prescribed grazing, prescribed burning, or a combination of both with or without additional practices (e.g., brush management), the timing and method of application needs to favor the native species over the exotic species. Adjustments to account for variations in annual growing conditions and implementing an ongoing monitoring protocol to track changes and adjust management inputs to ensure desired outcome will be necessary.
The plant community phase composition table(s) has been developed from the best available knowledge including research, historical records, clipping studies, and inventory records. As more data are collected, plant community species composition and production information may be revised.
State and transition model
More interactive model formats are also available.
View Interactive Models
Click on state and transition labels to scroll to the respective text
T1A | - | Introduction of exotic cool-season grasses |
---|---|---|
T2A | - | Extended periods of non-use, or very light grazing, no fire |
T2B | - | Long-term non-use, or very light grazing, no fire |
R3A | - | Long-term prescribed grazing with prescribed burning, perhaps in combination with mechanical treatment |
T3A | - | Long-term non-use, or very light grazing, no fire |
R4A | - | Long-term prescribed grazing with prescribed burning, perhaps in combination with mechanical treatment |
State 1 submodel, plant communities
1.1A | - | Below average precipitation with or without heavy grazing |
---|---|---|
1.2A | - | Return to average precipitation with light to moderate grazing |
1.2B | - | Prolonged drought with or without heavy grazing |
1.3A | - | Return to average precipitation with light to moderate grazing |
State 2 submodel, plant communities
2.1A | - | Below average precipitation with or without heavy grazing |
---|---|---|
2.1B | - | Extended drouth with or without heavy grazing |
2.2A | - | Return to average precipitation with light to moderate grazing |
2.2B | - | Prolonged drought with or without heavy grazing |
2.3A | - | Return to average precipitation with light to moderate grazing |
State 3 submodel, plant communities
State 4 submodel, plant communities
4.1A | - | Long-term non-use, and no fire |
---|---|---|
4.2A | - | Long-term no fire with long-term prescribed grazing and prescribed burning |
State 1
Reference State
This state represented the natural range of variability that dominates the dynamics of this ecological site. Prior to European influence, the primary disturbance mechanism for this site in the reference condition included frequent fire and grazing by large herding ungulates. Timing of fires and grazing coupled with weather events dictated the dynamics that occurred within the natural range of variability. These factors likely caused the community to shift both spatially and temporally between three community phases. Today the primary disturbance is from a lack of fire and concentrated livestock grazing. Grasses that are desirable for livestock and wildlife can decline and a corresponding increase in less desirable grasses will occur.
Characteristics and indicators. Because of changes in disturbances and other environmental factors (particularly the widespread occurrence of exotic species), the Reference State is considered to no longer exist.
Resilience management. If intact, the reference state should probably be managed with current disturbance regimes which has permitted the site to remain in reference condition, as well as maintaining the quality and integrity of associated ecological sites. Maintenance of the reference condition is contingent upon a monitoring protocol to guide management.
Community 1.1
Sand Bluestem-Prairie Sandreed-Needlegrasses/ Bur Oak-Quaking Aspen (Andropogon halli-Calamovilfa longifolia-Hesperostipa spp./ Quercus macrocarpa-Populus tremuloides)
This community phase was the most dominant both temporally and spatially. Tall statured warm- season grasses, such as sand bluestem and prairie sandreed, would have been co-dominant with mid statured warm-season and cool-season grasses (such as needle and thread, porcupinegrass, and little bluestem). Other grasses and grass-likes species would have included sideoats grama, Canada wildrye, sand dropseed, prairie Junegrass, blue grama, and sun sedge. A variety of perennial forbs including prairie spiderwort, dotted blazing star, goldenrod, field sagewort, hairy false goldenaster, silky prairie clover, and sunflower were also present. Scattered small stands (or mottes) of bur oak, quaking aspen, chokecherry, poison ivy, and other woody species were often interspersed among the grass dominated communities on the site. Other shrubs included prairie sagewort, leadplant, prairie willow, Saskatoon serviceberry, rose, and perhaps smooth sumac. Annual production would have likely ranged from around 1600-2800 pounds per acre. This represents the plant community phase upon which interpretations are primarily based and is described in the “Plant Community Composition and Group Annual Production” portion of this ecological site description. Community dynamics, nutrient cycling, water cycle, and energy flow were functioning at near optimum levels. A good component of bunchgrasses, minimal bare ground, plant litter in contact with the soil surface, soil texture, and deep-rooted plants would have resulted in high infiltration rates and minimal runoff. Due to the balance between warm-season and cool-season grasses, plant production would have been spread across the entire growing season. The diversity in plant species allowed for high drought tolerance. Bare ground was 15 percent or less occurring in small, non-connected patches. Average soil stability readings would have been 5 or greater.
Figure 7. Annual production by plant type (representative values) or group (midpoint values)
Table 5. Annual production by plant type
Plant type | Low (lb/acre) |
Representative value (lb/acre) |
High (lb/acre) |
---|---|---|---|
Grass/Grasslike | 1360 | 1870 | 2380 |
Forb | 128 | 172 | 224 |
Shrub/Vine | 64 | 88 | 112 |
Tree | 48 | 70 | 84 |
Total | 1600 | 2200 | 2800 |
Figure 8. Plant community growth curve (percent production by month). ND5503, Central Black Glaciated Plains, cool-season/warm-season co-dominant.. Cool-season, warm-season co-dominant..
Jan | Feb | Mar | Apr | May | Jun | Jul | Aug | Sep | Oct | Nov | Dec |
---|---|---|---|---|---|---|---|---|---|---|---|
J | F | M | A | M | J | J | A | S | O | N | D |
0 | 0 | 2 | 6 | 21 | 40 | 20 | 6 | 4 | 1 | 0 | 0 |
Community 1.2
Sun Sedge/Sand Dropseed-Needle and Thread/ Bur Oak-Quaking Aspen (Carex inops/ Sporobolus cryptandrus-Hesperostipa comata/ Quercus macrocarpa-Populus tremuloides)
Grasses and grass-like species would have still dominated this phase, but the overall productivity of these species would have decreased compared to Community Phase 1.1; forb diversity and production would have increased. Needle and thread, blue grama, sand dropseed, and sedges would have increased, while prairie sandreed and the bluestems would have decreased. Forb species such as field sagewort, goldenrod, Cuman ragweed, common yarrow, and upright prairie coneflower would have increased. The extent and production of woody vegetation would have been slightly reduced in comparison to Community Phase 1.1. A shift to shallower rooted and short statured blue grama and sedges, coupled with an increase in bare ground, resulted in higher soil surface temperatures as compared to Community Phase 1.1. Due to soil texture, however, infiltration rates would have been similar. While the timing of plant production would have remained similar, annual plant production may have been slightly reduced.
Community 1.3
Bare Ground/ Blowout Grass-Sand Bluestem /Pioneer Species (Bare Ground/ Redfieldia flexuosa-Andropogon hallii/ Pioneer Species)
This Plant Community may be characterized by “blowouts” (i.e. active dunes and/or denuded areas caused by wind erosion). Active wind erosion would have been very evident with soil deposition on the leeward side of the “blowouts.” This phase was unstable and generally occupied small, isolated areas (e.g. 2 acres or less). Vegetation would have been sparse and scattered with blowout grass along with scattered patches of sand bluestem and prairie sandreed. Other pioneer perennial and annual species such as mat sandbur and common sunflower comprised the majority of the vegetation. Depending upon depth to the water table, excessive soil erosion in isolated instances may have resulted in a change in ecological site designation. As erosion progressed and depth to seasonal water table decreased, Subirrigated Sands and/or Subirrigated ecological sites may have developed within the Choppy Sands ecological site complex. Bare ground would have exceeded 90 percent, with annual production and plant litter greatly reduced compared to Community Phase 1.1.
Pathway 1.1A
Community 1.1 to 1.2
Community Phase Pathway 1.1 to 1.2 occurred with below average precipitation with or without heavy grazing. This resulted in a marked increase in sun sedge and sand dropseed with a corresponding decrease in sand bluestem.
Pathway 1.2A
Community 1.2 to 1.1
Community Phase Pathway 1.2 to 1.1 occurred with the return to average precipitation with light to moderate grazing which resulted in a marked increase in sand bluestem along with a corresponding decrease in sun sedge and sand dropseed. Tall statured warm-season species and mid statured warm-season and cool-season bunch grasses would also have increased. As the plant community recovered, basal gaps would have decreased while plant litter would have increased.
Pathway 1.2B
Community 1.2 to 1.3
Community Phase Pathway 1.2 to 1.3 occurred during prolonged drought with or without heavy grazing. Excessive disturbances, such as prolonged drought, wildlife trailing or burrowing, or heavy grazing by wildlife due to proximity to a perennial water source, would have significantly reduced perennial plant cover, reduced soil surface cover, and increased basal gap distance. Coupled with the repeated disturbances, this would have increased wind erosion sufficient to form “blowouts,” (i.e. active dunes and/or denuded areas caused by wind erosion). These “blowouts” may have been relatively small and isolated or, depending upon the extent of the disturbance, much more extensive (i.e. long-term drought).
Pathway 1.3A
Community 1.3 to 1.2
Community Phase Pathway 1.3 to 1.2 would have occurred with the return to average precipitation with light to moderate grazing. This would have allowed the sand bluestem to increase along with plant cover, thus reducing erosion, stabilizing “blowouts,” and leading to the reestablishment of Community Phase 1.2.
State 2
Native/Invaded State
This state is similar to State 1: Reference State but has now been colonized by the exotic plants, typically cool-season grasses such as Kentucky bluegrass, smooth brome, crested wheatgrass, and/or quackgrass. Extended wet periods, particularly those including cool and wet springs, facilitate the invasion by these exotic cool-season grasses. Leafy spurge also commonly invades the site. Other disturbance mechanisms for this state include grazing by domestic livestock and rare to infrequent fire. These exotic cool-season grasses can be quite invasive on the site and are particularly well adapted to heavy grazing. They also often form monotypic stands. As these exotic cool-season grasses increase, both forage quantity and quality become increasingly restricted to late spring and early summer due to the monotypic nature of the stand even though annual production may increase. Native forbs generally decrease in production, abundance, diversity, and richness compared to that of State 1: Reference State. Although the state may still be dominated by native grasses, an increase in these exotic cool-season grasses (and/or leafy spurge) can be expected. These exotic cool-season grasses have been particularly and consistently invasive under extended periods of no use and no fire. To slow or limit the invasion of these exotic grasses, it is imperative that managerial options (e.g. prescribed grazing, prescribed burning) be carefully constructed and evaluated with respect to that objective. If management does not include measures to control or reduce these exotic cool-season grasses, the transition to State 3: Invaded State should be expected. Scattered small stands or mottes of bur oak, quaking aspen, chokecherry, poison ivy, and other woody species are often interspersed among the grass dominated communities on the site. Other shrubs include prairie sagewort, leadplant, prairie willow, Saskatoon serviceberry, rose, and perhaps smooth sumac. Bur oak trees in this state are often multi-stemmed, resulting from timber harvesting in the late 1800’s and early 1900’s. Annual production of this state can be quite variable, in large part due to the amount of exotic cool-season grasses. However, annual production may be in the range of 1600-2800 pounds per acre.
Characteristics and indicators. The presence of trace amounts of exotic cool-season grasses indicates a transition from State 1 to State 2. The presence of exotic biennial or perennial leguminous forbs (i.e., sweet clover, black medic) may not, on their own, indicate a transition from State 1 to State 2 but may facilitate that transition.
Resilience management. To slow or limit the invasion of these exotic grasses, it is imperative that managerial techniques (e.g., prescribed grazing, prescribed burning) be carefully constructed, monitored, and evaluated with respect to that objective. Grazing management should be applied that enhances the competitive advantage of native grass and forb species. This may include: (1) early spring grazing when exotic cool-season grasses are actively growing and native cool-season grasses are dormant; (2) applying proper deferment periods allowing native grasses to recover and maintain or improve vigor; (3) adjusting overall grazing intensity to reduce excessive plant litter (above that needed for rangeland health indicator #14 – see Rangeland Health Reference Worksheet); (4) incorporating early heavy spring utilization which focuses grazing pressure on exotic cool-season grasses and reduces plant litter, provided that livestock are moved when grazing selection shifts from exotic cool-season grasses to native grasses. Prescribed burning should be applied in a manner that maintains or enhances the competitive advantage of native grass and forb species. Prescribed burns should be applied as needed to adequately reduce/remove excessive plant litter and maintain the competitive advantage for native species. Timing of prescribed burns (spring vs. summer vs. fall) should be adjusted to account for differences in annual growing conditions and applied during windows of opportunity to best shift the competitive advantage to the native species.
Community 2.1
Sand Bluestem-Prairie Sandreed-Needlegrasses/ Bur Oak-Quaking Aspen (Andropogon halli-Calamovilfa longifolia-Hesperostipa spp./ Quercus macrocarpa-Populus tremuloides)
This Community Phase most closely resembles Community Phase 1.1 in appearance and ecological functions (i.e. hydrologic, biotic, and soil/site stability). However, it has now been invaded by exotic cool-season grasses, often Kentucky bluegrass, smooth brome, crested wheatgrass, and/or quackgrass. These exotics grasses are, however, present in smaller amounts with the community still dominated by native grasses. This community is maintained with grazing systems that allow for adequate recovery periods following grazing events, perhaps in combination with prescribed burning which closely mimics the natural disturbance regime.
Community 2.2
Sun Sedge/ Sand Dropseed-Needle and Thread/ Bur Oak-Quaking Aspen (Carex inops/ Sporobolus cryptandrus-Hesperostipa comata/ Quercus macrocarpa-Populus tremuloides)
This community phase is similar to Community Phase 1.2 but has typically been colonized by exotic cool-season grasses (e.g., Kentucky bluegrass, smooth brome, crested wheatgrass, quackgrass). Leafy spurge is also a common exotic of concern. However, these exotics are present in smaller amounts with the community still dominated by native grasses. Grasses and grass-like species still dominate this phase, but their overall productivity has declined while forb diversity and production has increased compared to Community Phase 2.1. Prairie sandreed, sand bluestem, sideoats grama, little bluestem, and porcupinegrass have decreased; short statured species (such as blue grama and grass-likes), as well as sand dropseed and the exotic cool-season grasses, have increased. Forbs (such as field sagewort, goldenrod, Cuman ragweed, common yarrow, and upright prairie coneflower) have also increased. Exotic forbs, such as leafy spurge, may also be present. This community phase is often dispersed throughout a pasture in an overgrazed/ undergrazed pattern, typically referred to as patch grazing. Some overgrazed areas will exhibit the impacts of heavy use, while the ungrazed areas will have a build-up of litter and increased plant decadence. This is a typical pattern found in properly stocked pastures grazed season-long. As a result, Kentucky bluegrass tends to increase more in the undergrazed areas while the more grazing tolerant short statured species, such as blue grama and sedges, increase in the heavily grazed areas. If present, Kentucky bluegrass may increase under heavy grazing. This community phase is also approaching the threshold leading to a transition to State 3: Invaded State. As a result, it is an “at risk” community. If management does not include measures to control or reduce these exotic cool-season grasses (or leafy spurge) the transition to State 3: Invaded State should be expected. Annual plant production has declined slightly compared to that of Community Phase 2.1.
Community 2.3
Bare Ground/Blowout Grass-Sand Bluestem/ Pioneer Species (Bare Ground/Redfieldia flexuosa-Andropogon hallii/ Pioneer Species)
This Community Phase is similar to Community Phase 1.3 but typically has been colonized by exotic cool-season grasses, often Kentucky bluegrass, smooth brome, crested wheatgrass, and/or quackgrass. However, these exotics are present in smaller amounts with the community still dominated by native grasses. Leafy spurge is also an exotic of concern. This Plant Community may be characterized by “blowouts” (i.e. active dunes and/or denuded areas caused by wind erosion). Active wind erosion is very evident with soil deposition on the leeward side of the “blowouts.” It is unstable and generally occupies small, isolated areas (e.g. 2 acres or less), but can increase to become more extensive. Vegetation consists of sparse and scattered patches of sand bluestem and prairie sandreed along with blowout grass and other pioneer perennial and annual species (e.g. mat sandbur). Exotic forbs such as leafy spurge may also be present.
Pathway 2.1A
Community 2.1 to 2.2
Community Phase Pathway 2.1 to 2.2 occurs with below average precipitation with or without heavy grazing. This results in a marked increase in sun sedge and sand dropseed with a corresponding decrease in sand bluestem.
Pathway 2.1B
Community 2.1 to 2.3
Community Phase Pathway 2.1 to 2.3 occurs during extended drought with or without heavy grazing. Excessive disturbances such as that associated with off-road vehicle use, prolonged drought, wildlife trailing or burrowing, or heavy grazing by wildlife due to proximity to a perennial water source significantly reduces perennial plant cover, soil surface cover, and increases basal gap distance. Coupled with the repeated disturbances, this increases soil erosion due to wind - resulting in a “blowout” condition (i.e. active dunes and/or denuded areas caused by wind erosion). These “blowouts” can be relatively small and isolated or larger depending on the extent of the disturbance.
Pathway 2.2A
Community 2.2 to 2.1
Community Phase Pathway 2.2 to 2.1 occurs with the return to average precipitation with light to moderate grazing. This results in a marked increase in sand bluestem along with a corresponding decrease in sun sedge and sand dropseed. Tall statured warm-season species and mid statured warm-season and cool-season bunch grasses increase. As the plant community recovers, basal gaps decrease and plant litter increases.
Pathway 2.2B
Community 2.2 to 2.3
Community Phase Pathway 2.2 to 2.3 occurs during prolonged drought with or without heavy grazing. Excessive disturbances such as that associated with off-road vehicle use, prolonged drought, wildlife trailing or burrowing, or heavy grazing by wildlife due to proximity to a perennial water source significantly reduce perennial plant cover, soil surface cover, and increase basal gap distance. This results in increased soil erosion and leads to “blowout” conditions (i.e. active dunes and/or denuded areas caused by wind erosion). These “blowouts” may be relatively small and isolated or larger and more extensive depending on the extent of the disturbances.
Pathway 2.3A
Community 2.3 to 2.2
Community Phase Pathway 2.3 to 2.2 occurs with the return to average precipitation with light to moderate grazing. This allows the sand bluestem to increase along with plant cover thus reducing erosion and leading to the establishment of Community Phase 2.2.
State 3
Invaded State
This state is the result of invasion and dominance by the exotic cool-season grasses (commonly Kentucky bluegrass, smooth brome, crested wheatgrass, and/or quackgrass). These exotic cool- season grasses can be quite invasive on the site and are particularly well adapted to heavy grazing. They also often form monotypic stands. As these exotic cool-season grasses increase, both forage quantity and quality become increasingly restricted to late spring and early summer due to the monotypic nature of the stand, even though annual production may increase. Native forbs generally decrease in production, abundance, diversity, and richness compared to that of State 1: Reference State and may include Cuman ragweed, horsetail, silverleaf Indian breadroot, and white sagebrush. Prairie rose, leadplant, and poison ivy are common shrubs. Once the state is well established, prescribed burning and grazing techniques have been largely ineffective in suppressing or eliminating these species, even though some short-term reductions may appear successful. This community phase is also frequently invaded by leafy spurge, often in combination with Kentucky bluegrass. Research indicates that leafy spurge alters soil microbiology in a manner which inhibits the growth of native species. This effectively reduces any potential for restoration to a native dominated plant community without very significant intervention. Annual production of this state may vary widely, in part due to variations in the extent of invasion by exotic cool-season grasses. However, annual production may be in the range of 2000-3000 pounds per acre with the exotic cool-season grasses accounting for the bulk of the production. Peak plant production occurs during early spring through early summer.
Characteristics and indicators. This site is characterized by exotic cool-season grasses constituting greater than 30 percent of the annual production and native grasses constituting less than 40 percent of the annual production.
Resilience management. Light or moderately stocked continuous, season-long grazing or a prescribed grazing system which incorporates adequate deferment periods between grazing events and proper stocking rate levels will maintain this State. Application of herbaceous weed treatment, occasional prescribed burning and/or brush management may be needed to manage noxious weeds and increasing shrub (e.g., western snowberry) populations.
Community 3.1
Exotic Cool-Season Grasses/Forbs
This community phase is dominated by exotic cool-season sodgrasses (e.g., Kentucky bluegrass, smooth brome, crested wheatgrass, quackgrass). Common forb and shrub species often include Cuman ragweed, white sagebrush, silverleaf Indian breadroot, horsetail, leadplant, and prairie rose. Annual production may be in the range of 2000-3000 pounds per acre, the bulk of which is from the exotic cool-season grass and/or leafy spurge. The longer these community phases exist, the more resilient they become. Natural or management disturbances that reduce the cover of Kentucky bluegrass or smooth brome are typically short-lived.
State 4
Wooded State
This state is characterized by a shift in dominance from herbaceous species to trees and shrubs. The principal trees are bur oak and quaking aspen, although other trees (such as hackberry, green ash, and basswood) may also be present. The wooded state often develops from small stands of bur oak or quaking aspen with shrubs (such as smooth sumac, poison ivy, and/or and chokecherry) on the periphery. The shrubs then encroach onto the adjacent herbaceous dominated communities with the bur oak and quaking aspen following. Increased shading leads to a decline in the native warm-season and cool-season grasses, as well as forbs. Smooth sumac, poison ivy, chokecherry, and Saskatoon serviceberry are common to the margins of these wooded stands. Further into the stands, wild sarsaparilla, poison ivy, and exotic species (such as Kentucky bluegrass and leafy spurge) are often conspicuous components of the herbaceous understory.
Characteristics and indicators. The dominance of woody species (by cover and production) distinguishes this state from other herbaceously dominated states.
Resilience management. This state is resistant to change in the long-term absence of fire. Restoration efforts would require the use of prescribed fire, mechanical treatment, and prescribed grazing. Considerable time and effort will be required to restore to other States.
Community 4.1
Bur Oak/Poison Ivy/Exotic Cool-Season Grasses (Quercus macrocarpa/Toxicodendron rydburgii/Exotic Cool-Season Grasses)
This community phase represents a shift from an herbaceous dominated plant community with scattered bur oak trees to bur oak mottes, perhaps in association with smaller amounts of quaking aspen, as well as basswood and green ash. Associated shrubs include smooth sumac, poison ivy, chokecherry, and Saskatoon serviceberry, often with an herbaceous understory composed largely of Kentucky bluegrass and perhaps leafy spurge. Initially the native grasses and grass-likes (such as sand dropseed, needle and thread, blue grama and sun sedge) are prominent along with forbs (such as Cuman ragweed, field sagewort, and white sagebrush). However, as the canopy cover of trees and shrubs increases, the herbaceous component shifts from to the more shade tolerant Kentucky bluegrass. Shrubs at the margin of the bur oak mottes (such as smooth sumac, poison ivy, and chokecherry) expand outward onto the adjacent herbaceous dominated plant community. Expansion of bur oak often follows. This leads to a decline in herbaceous production and the timing of peak plant production shifts from spring and summer to mid-spring and early summer. This, combined with the shading effect of the shrubs, limits the effectiveness of prescribed burning as a restoration tool.
Community 4.2
Quaking Aspen/Shrubs (Populus tremuloides/Shrubs)
Long-term non-use (and no fire) shifts the competitive advantage to the taller, faster growing tree species such as quaking aspen. Once established, the quaking aspen’s fast growth and clonal expansion often enables it to out-compete the slower growing trees (e.g., bur oak), as well as many other plant species. Poison ivy is often a common shrub in the community; the herbaceous understory is often dominated by Kentucky bluegrass and wild sarsaparilla. As the canopy increases and eventually closes, fire frequency and intensity are much reduced.
Pathway 4.1A
Community 4.1 to 4.2
Community Phase Pathway 4.1 to 4.2 occurs during long-term non-use and no fire. This lack of disturbance, primarily fire, shifts the competitive advantage to the taller, fast growing tree species such as quaking aspen. As the quaking aspen canopy increases, shade tolerant understory species increase. The increased canopy cover also serves to further reduce fire intensity and frequency.
Pathway 4.2A
Community 4.2 to 4.1
Community Phase Pathway 4.2 to 4.1 occurs with long-term no fire with long-term prescribed grazing and prescribed burning. As a result, the aspen becomes decadent which enables bur oak and green ash to increase. Poison ivy along with exotic cool-season grasses, such as Kentucky bluegrass, also increase.
Transition T1A
State 1 to 2
This is the transition from the State 1: Reference State to the State 2: Native/Invaded State due to the introduction and establishment of exotic cool-season grasses, typically Kentucky bluegrass, smooth brome, crested wheatgrass, and/or quackgrass. Leafy spurge may also invade the site. This transition is probably inevitable and corresponds to a decline in native warm-season and cool-season grasses. This transition may be exacerbated by chronic season-long or heavy late season grazing. Complete rest from grazing and suppression of fire can also hasten this transition. The threshold between states is crossed when Kentucky bluegrass, smooth bromegrass, crested wheatgrass, quackgrass, or other exotic species became established on the site.
Constraints to recovery. Current knowledge and technology will not facilitate a successful restoration to Reference State.
Transition T2A
State 2 to 3
This Transition from State 2: Native/Invaded State to State 3: Invaded State typically occurs with long- term moderate to heavy grazing, although it may occur under different management. These conditions often lead to the invasion by exotic cool-season grasses (such as Kentucky bluegrass, smooth brome, crested wheatgrass, and/or quackgrass). Studies indicate this threshold may exist when both the exotic cool-season grasses (e.g., Kentucky bluegrass, smooth brome, quackgrass, crested wheatgrass) exceed 30% of the plant community and native grasses represent less than 40% of the plant community composition. Curbing the invasion by the exotic cool-season grasses through prescribed spring burning is limited by early green-up. Efficacy of prescribed grazing techniques have also been largely limited. The peak production period of this state is restricted due to the monotypic nature of the stands. The invasion of leafy spurge onto this site can also initiate this pathway. As leafy spurge becomes established on the site, it limits use by livestock and changes the micro-climate at the soil surface which facilitates a shift from the native herbaceous species to a community dominated by introduced grasses and forbs.
Constraints to recovery. Variations in growing conditions (e.g., cool, wet spring) will influence effects of various management activities on exotic cool-season grass populations.
Transition T2B
State 2 to 4
This Transition from State 2: Native/Invaded State to State 4: Wooded State results from long-term non-use or very light grazing, and no fire. Complete rest from grazing and elimination of fire are the two major contributors to this transition. Removal of these two disturbances shifts the competitive advantage within the herbaceous component of the plant community to exotic species, such as Kentucky bluegrass and leafy spurge. The lack of repeated fire events permits shrubs (such as smooth sumac, poison ivy, and/or chokecherry) to expand from the edges of the oak mottes into the adjacent herbaceous communities. Once established, this facilitates further expansion of the tree and shrub components. As shrub and tree canopy cover increases, the potential for disturbance by fire decreases due to lack of fine fuels and reduction in fire behavior.
Constraints to recovery. The extended fire interval may make recovery doubtful due to the abundance of exotic cool-season grasses and lack of native grasses. Fire intensity, along with consumption of available fuels, may cause incomplete or patchy burns. Continued recruitment of tree seeds from adjacent sites will hamper site restoration. Reticence to undertake tree removal and the perception that trees may be a desirable vegetation component for wildlife habitat, carbon sequestration, aesthetics, etc. are some of the constraints to recovery. Managers wanting to manage the site for deer, livestock, or grassland nesting birds will need to consider the intensive management required to restore and maintain the site in State 2. The disturbance regime necessary to restore this site to State 2: Native/Invaded State is very labor intensive and costly; therefore, addressing woody removal earlier in the encroachment phase is the most cost-effective treatment for woody control.
Restoration pathway R3A
State 3 to 2
This restoration pathway from the State 3: Invaded State to the State 2: Native/Invaded State may be accomplished with the implementation of long-term prescribed grazing and prescribed burning, assuming there is an adequate component of native grasses to respond to the treatments. Both prescribed grazing and prescribed burning are likely necessary to successfully initiate this restoration pathway, the success of which depends upon the presence of a remnant population of native grasses in Community Phase 3.1. That remnant population, however, may not be readily apparent without close inspection. The application of several prescribed burns may be needed at relatively short intervals in the early phases of this restoration process, in part because many of the shrubs (e.g., western snowberry) sprout profusely following one burn. Early season prescribed burns have been successful; however, fall burning may also be an effective technique. The prescribed grazing should include adequate recovery periods following each grazing event and stocking levels which match the available resources. If properly implemented, this will shift the competitive advantage from the exotic cool-season grasses to the native cool-season grasses.
Context dependence. Grazing management should be applied in a manner that enhances/maximizes the competitive advantage of native grass and forb species over the exotic species. This may include the use of prescribed grazing to reduce excessive plant litter accumulations above that needed for rangeland health indicator #14 (see Rangeland Health Reference Worksheet). Increasing livestock densities may facilitate the reduction in plant litter provided length and timing of grazing periods are adjusted to favor native species. Grazing prescriptions designed to address exotic grass invasion and favor native species may involve earlier, short, intense grazing periods with proper deferment to improve native species health and vigor. Fall (e.g., September, October) prescribed burning followed by an intensive, early spring graze period with adequate deferment for native grass recovery may shift the competitive advantage to the native species, facilitating the restoration to State 2: Native/Invaded. Prescribed burning should be applied in a manner that enhances the competitive advantage of native grass and forb species over the exotic species. Prescribed burns should be applied at a frequency which mimics the natural disturbance regime, or more frequently as is ecologically (e.g., available fuel load) and economically feasible. Burn prescriptions may need adjustment to: (1) account for change in fine fuel orientation (e.g., “flopped” Kentucky bluegrass); (2) fire intensity and duration by adjusting ignition pattern (e.g., backing fires vs. head fires); (3) account for plant phenological stages to maximize stress on exotic species while favoring native species (both cool- and warm-season grasses).
Transition T3A
State 3 to 4
This transition from State 3: Invaded State to State 4: Wooded State occurs with long-term non-use or very light grazing, with no fire, which is advantageous to woody species.
Constraints to recovery. The extended fire interval may make recovery doubtful due to the abundance of exotic cool-season grasses and lack of native grasses. Fire intensity, along with consumption of available fuels, may cause incomplete or patchy burns. Continued recruitment of tree seeds from adjacent sites will hamper site restoration. Constraints to recovery include the reticence to undertake tree removal and the perception that trees may be a desirable vegetation component for wildlife habitat, carbon sequestration, aesthetics, etc. Managers wanting to manage the site for deer, livestock, or grassland nesting birds will need to consider the intensive management required to restore and maintain the site in State 2. The disturbance regime necessary to restore this site to State 2: Native/Invaded State is very labor intensive and costly; therefore, addressing woody removal earlier in the encroachment phase is the most cost-effective treatment for woody control.
Transition R4A
State 4 to 2
This Restoration Pathway from State 4: Wooded State to State 2: Native/Invaded State occurs with the implementation of long-term prescribed grazing and prescribed burning, perhaps in combination with mechanical treatment to convert the vegetation from dominance by woody plants to a mixture of native and exotic grasses. The mechanical methods may be needed to stabilize the site and to establish herbaceous vegetation.
Context dependence. Fire intensity along with consumption of available fuels may cause incomplete or patchy burns. Ladder fuel and/or fuel loading are required for successfully controlling trees and shrubs (crown vs. ground fire). Continued recruitment of seeds (e.g., juniper, Russian olive) from adjacent sites will hamper site restoration. Intensive management is required to restore and maintain the site in State 2: Native/Invaded State. Grazing management should be applied in a manner that enhances/maximizes the competitive advantage of native grass and forb species over the exotic species. This may include the use of prescribed grazing to reduce excessive plant litter accumulations above that needed for rangeland health indicator #14 (see Rangeland Health Reference Worksheet). Increasing livestock densities may facilitate the reduction in plant litter provided length and timing of grazing periods are adjusted to favor native species. Grazing prescriptions designed to address exotic grass invasion and favor native species may involve earlier, short, intense grazing periods with proper deferment to improve native species health and vigor. Fall (e.g., September, October) prescribed burning followed by an intensive, early spring graze period with adequate deferment for native grass recovery may shift the competitive advantage to the native species, facilitating the restoration to State 2: Native/Invaded. Prescribed burning should be applied in a manner that enhances the competitive advantage of native grass and forb species over the exotic species. Prescribed burns should be applied at a frequency which mimics the natural disturbance regime, or more frequently as is ecologically (e.g., available fuel load) and economically feasible. Burn prescriptions may need adjustment to: (1) account for change in fine fuel orientation (e.g., “flopped” Kentucky bluegrass); (2) fire intensity and duration by adjusting ignition pattern (e.g., backing fires vs head fires); (3) account for plant phenological stages to maximize stress on exotic species while favoring native species (both cool- and warm-season grasses).
Additional community tables
Table 6. Community 1.1 plant community composition
Group | Common name | Symbol | Scientific name | Annual production (lb/acre) | Foliar cover (%) | |
---|---|---|---|---|---|---|
Grass/Grasslike
|
||||||
1 | Tall Warm-season Grasses | 550–880 | ||||
sand bluestem | ANHA | Andropogon hallii | 330–550 | – | ||
prairie sandreed | CALO | Calamovilfa longifolia | 220–440 | – | ||
2 | Cool-season Bunchgrasses | 110–440 | ||||
needle and thread | HECOC8 | Hesperostipa comata ssp. comata | 110–330 | – | ||
porcupinegrass | HESP11 | Hesperostipa spartea | 22–110 | – | ||
Canada wildrye | ELCA4 | Elymus canadensis | 22–110 | – | ||
3 | Mid Warm-season Grasses | 110–330 | ||||
little bluestem | SCSC | Schizachyrium scoparium | 110–220 | – | ||
sand dropseed | SPCR | Sporobolus cryptandrus | 22–110 | – | ||
sideoats grama | BOCU | Bouteloua curtipendula | 22–110 | – | ||
4 | Short Warm-season Grasses | 22–110 | ||||
blue grama | BOGR2 | Bouteloua gracilis | 22–110 | – | ||
hairy grama | BOHI2 | Bouteloua hirsuta | 22–110 | – | ||
5 | Other Native Grasses | 22–220 | ||||
prairie Junegrass | KOMA | Koeleria macrantha | 22–110 | – | ||
Scribner's rosette grass | DIOLS | Dichanthelium oligosanthes var. scribnerianum | 22–110 | – | ||
mat sandbur | CELO3 | Cenchrus longispinus | 22–110 | – | ||
Graminoid (grass or grass-like) | 2GRAM | Graminoid (grass or grass-like) | 22–110 | – | ||
6 | Grass-likes | 22–220 | ||||
sun sedge | CAINH2 | Carex inops ssp. heliophila | 22–110 | – | ||
Schweinitz's flatsedge | CYSC3 | Cyperus schweinitzii | 0–110 | – | ||
Grass-like (not a true grass) | 2GL | Grass-like (not a true grass) | 22–110 | – | ||
Forb
|
||||||
7 | Forbs | 22–176 | ||||
Forb (herbaceous, not grass nor grass-like) | 2FORB | Forb (herbaceous, not grass nor grass-like) | 22–110 | – | ||
prairie spiderwort | TROC | Tradescantia occidentalis | 22–66 | – | ||
Cuman ragweed | AMPS | Ambrosia psilostachya | 22–44 | – | ||
field sagewort | ARCA12 | Artemisia campestris | 22–44 | – | ||
white sagebrush | ARLUA | Artemisia ludoviciana ssp. albula | 22–44 | – | ||
silky prairie clover | DAVI | Dalea villosa | 22–44 | – | ||
smooth horsetail | EQLA | Equisetum laevigatum | 22–44 | – | ||
sanddune wallflower | ERCAC | Erysimum capitatum var. capitatum | 22–44 | – | ||
stiff sunflower | HEPA19 | Helianthus pauciflorus | 22–44 | – | ||
blazing star | LIATR | Liatris | 22–44 | – | ||
rush skeletonplant | LYJU | Lygodesmia juncea | 22–44 | – | ||
goldenrod | SOLID | Solidago | 22–44 | – | ||
flat-top goldentop | EUGR5 | Euthamia graminifolia | 0–44 | – | ||
common sunflower | HEAN3 | Helianthus annuus | 0–44 | – | ||
onion | ALLIU | Allium | 0–22 | – | ||
milkweed | ASCLE | Asclepias | 0–22 | – | ||
spotted sandmat | CHMA15 | Chamaesyce maculata | 0–22 | – | ||
thymeleaf sandmat | CHSES | Chamaesyce serpyllifolia ssp. serpyllifolia | 0–22 | – | ||
hairy false goldenaster | HEVI4 | Heterotheca villosa | 0–22 | – | ||
hoary puccoon | LICA12 | Lithospermum canescens | 0–22 | – | ||
narrowleaf stoneseed | LIIN2 | Lithospermum incisum | 0–22 | – | ||
Lewis flax | LILE3 | Linum lewisii | 0–22 | – | ||
Shrub/Vine
|
||||||
8 | Shrubs | 22–88 | ||||
leadplant | AMCA6 | Amorpha canescens | 22–44 | – | ||
prairie sagewort | ARFR4 | Artemisia frigida | 22–44 | – | ||
Saskatoon serviceberry | AMAL2 | Amelanchier alnifolia | 0–22 | – | ||
hawthorn | CRATA | Crataegus | 0–22 | – | ||
western sandcherry | PRPUB | Prunus pumila var. besseyi | 0–22 | – | ||
chokecherry | PRVI | Prunus virginiana | 0–22 | – | ||
smooth sumac | RHGL | Rhus glabra | 0–22 | – | ||
currant | RIBES | Ribes | 0–22 | – | ||
rose | ROSA5 | Rosa | 0–22 | – | ||
blackberry | RUBUS | Rubus | 0–22 | – | ||
prairie willow | SAHU2 | Salix humilis | 0–22 | – | ||
snowberry | SYMPH | Symphoricarpos | 0–22 | – | ||
western poison ivy | TORY | Toxicodendron rydbergii | 0–22 | – | ||
Shrub (>.5m) | 2SHRUB | Shrub (>.5m) | 0–22 | – | ||
Tree
|
||||||
9 | Tree | 22–66 | ||||
quaking aspen | POTR5 | Populus tremuloides | 22–66 | – | ||
bur oak | QUMA2 | Quercus macrocarpa | 22–44 | – | ||
Tree | 2TREE | Tree | 22–44 | – |
Interpretations
Animal community
Animal Community – Wildlife Interpretations
Landscape
The MLRA 55A landscape is characterized by mostly nearly level to gently rolling till plains with some steep slopes adjacent to streams. The MLRA includes areas of kettle holes, kames, and ground moraines. MLRA 55A is considered to have a continental climate with cold winters and hot summers, low humidity, light rainfall, and much sunshine. Extremes in temperature are common and characteristic of the MLRA. This area supports mid- to tall-grass prairie vegetation with quaking aspen, bur oak, green ash, and willow species growing on the higher elevations in Turtle Mountain, on moraines in proximity of Devils Lake, Pembina River Escarpment and Gorge, and various drainageways throughout the MLRA. Numerous depressional wetlands are ringed with quaking aspen. Complex intermingled ecological sites create diverse grass/shrub land habitats interspersed with varying densities of linear, slope, depressional, and in-stream wetlands associated with headwater streams and tributaries of the Souris and Pembina Rivers. MLRA 55A is located entirely within North Dakota and within the boundaries of the Prairie Pothole Region. The primary land use is cropland. Glacial Lake Souris and the Devils Lake Basin are known for exceptional fertility with major crops including corn, canola, soybeans, and small grains. Together, these two areas make up 73% of the MLRA (Glacial Lake Souris 5500 mi2, 43%; and the Devils Lake Basin 3810 mi2, 30%).
Turtle Mountain (1000 mi2 of which 405 mi2 are found in North Dakota), in the north-central part of the MLRA on the Canadian border, is approximately 1,950 to 2,541 feet (595 to 775 meters) in elevation, rising approximately 600 to 800 feet (150 meters) above the adjacent till plain. Home to an extensive forest of quaking aspen, bur oak, green ash, and willows, it has an understory of beaked hazel with associates of chokecherry, Saskatchewan serviceberry, downy arrowwood, and rose. Turtle Mountain comprises the largest area of quaking aspen forest in North Dakota.
The Pembina Escarpment extends from the Canadian border southeast to Walhalla where the Pembina River enters the floor of the Red River Valley in MLRA 56A. Mainly found on steep slopes along the Pembina River, the Pembina Gorge is in a rugged and sheltered setting with bur oak, green ash, cottonwood, and American elm. Encompassing approximately 12,500 acres, the Pembina Gorge is one of the largest uninterrupted blocks of woodlands in North Dakota. This segment of the Pembina River is the longest segment of unaltered river valley in the North Dakota.
Two major Hydrologic Unit Areas make up this MLRA. 56% of the MLRA drains into the Souris River while 44% drains into the Red River (via the Pembina River) or into Devils Lake (out-letting to Sheyenne River via a pump, pipeline, canal system). The North Dakota portion of the Souris River watershed is in this MLRA. The Souris River basin drains nearly 23,600 square miles and has a long history of flooding.
By the mid-19th century, over 75% of the MLRA had been converted from mid- to tall-grass prairie or woodland to annual crop production. To alleviate crop production loss from wetlands and overland
Landscape:
The MLRA 55A landscape is characterized by mostly nearly level to gently rolling till plains with some steep slopes adjacent to streams. The MLRA includes areas of kettle holes, kames, and ground moraines. MLRA 55A is considered to have a continental climate with cold winters and hot summers, low humidity, light rainfall, and much sunshine. Extremes in temperature are common and characteristic of the MLRA. This area supports mid- to tall-grass prairie vegetation with quaking aspen, bur oak, green ash, and willow species growing on the higher elevations in Turtle Mountain, on moraines in proximity of Devils Lake, Pembina River Escarpment and Gorge, and various drainageways throughout the MLRA. Numerous depressional wetlands are ringed with quaking aspen. Complex intermingled ecological sites create diverse grass/shrub land habitats interspersed with varying densities of linear, slope, depressional, and in-stream wetlands associated with headwater streams and tributaries of the Souris and Pembina Rivers. MLRA 55A is located entirely within North Dakota and within the boundaries of the Prairie Pothole Region. The primary land use is cropland. Glacial Lake Souris and the Devils Lake Basin are known for exceptional fertility with major crops including corn, canola, soybeans, and small grains. Together, these two areas make up 73% of the MLRA (Glacial Lake Souris 5500 mi2, 43%; and the Devils Lake Basin 3810 mi2, 30%).
Turtle Mountain (1000 mi2 of which 405 mi2 are found in North Dakota), in the north-central part of the MLRA on the Canadian border, is approximately 1,950 to 2,541 feet (595 to 775 meters) in elevation, rising approximately 600 to 800 feet (150 meters) above the adjacent till plain. Home to an extensive forest of quaking aspen, bur oak, green ash, and willows, it has an understory of beaked hazel with associates of chokecherry, Saskatchewan serviceberry, downy arrowwood, and rose. Turtle Mountain comprises the largest area of quaking aspen forest in North Dakota.
The Pembina Escarpment extends from the Canadian border southeast to Walhalla where the Pembina River enters the floor of the Red River Valley in MLRA 56A. Mainly found on steep slopes along the Pembina River, the Pembina Gorge is in a rugged and sheltered setting with bur oak, green ash, cottonwood, and American elm. Encompassing approximately 12,500 acres, the Pembina Gorge is one of the largest uninterrupted blocks of woodlands in North Dakota. This segment of the Pembina River is the longest segment of unaltered river valley in the North Dakota.
Two major Hydrologic Unit Areas make up this MLRA. 56% of the MLRA drains into the Souris River while 44% drains into the Red River (via the Pembina River) or into Devils Lake (out-letting to Sheyenne River via a pump, pipeline, canal system). The North Dakota portion of the Souris River watershed is in this MLRA. The Souris River basin drains nearly 23,600 square miles and has a long history of flooding.
By the mid-19th century, over 75% of the MLRA had been converted from mid- to tall-grass prairie or woodland to annual crop production. To alleviate crop production loss from wetlands and overland flow, a system of shallow surface ditches, judicial ditches, and road ditches removes surface water in spring and during high rainfall events. Tile drainage systems have been or are being installed extensively throughout MLRA 55A for sub-surface field drainage to enhance annual crop production.
Historic Communities/Conditions within MLRA 55A:
The northern tall- and mixed-grass prairie along with the quaking aspen forest were disturbance- driven ecosystems with fire, herbivory, and climate functions as the primary ecological drivers (either singly or often in combination). American bison roamed MLRA 55A wintering along the Souris River and migrating through MLRA 55A into MLRAs 56A and 55B. Many species of grassland birds, small mammals, insects, reptiles, amphibians, elk, moose, pronghorn, and large herds of American bison were historically among the inhabitants adapted to this region. Roaming herbivores, as well as several small mammal and insect species, were the primary consumers linking the grassland resources to large predators (such as the wolf, American black bear, grizzly bear) and smaller carnivores (such as the coyote, bobcat, red fox, and raptors). Extirpated species include free-ranging American bison and gray wolf (breeding). Extinct is the Rocky Mountain locust.
Present Communities/Conditions within MLRA 55A:
This area supports natural prairie vegetation characterized by western wheatgrass, green needlegrass, needle and thread, and blue grama. Little bluestem is an important species on the more sloping and shallower soils. Prairie cordgrass, northern reedgrass, big bluestem, and wheat sedge are important species on soils with higher water tables. Western snowberry, leadplant, and prairie rose are commonly interspersed throughout the area. Native forests occur in Turtle Mountain, Pembina Gorge, moraines near Devils Lake, woody draws, scattered tracts along the Souris River, and in the sand dunes in west central region of the MLRA.
Over 75% of MLRA 55A has been converted to annual crop production. European influence has impacted remaining grassland, forestland, and shrubland by domestic livestock grazing, elimination of fire, tree harvest, removal of surface and subsurface hydrology via artificial drainage, and other anthropogenic factors influencing plant community composition and abundance.
Hydrological manipulation is extensive throughout the MLRA. Extensive wetland and subsurface tile drainage have taken place. Ephemeral and intermittent streams and the Souris River have been straightened - removing sinuosity, creating isolated oxbows, and converting riparian zones to annual crop production. These anthropogenic impacts have reduced flood water detention and retention on the landscape. The results have been increasing storm water runoff sediment and nutrient loading impacting the Souris and Des Lacs Rivers and their tributaries along with Devils Lake and other lakes within the MLRA. The installation of instream structures has reduced aquatic species movement within the MLRA. Two large dams in Saskatchewan, Canada (Rafferty on the Souris River and Alameda on Moose Mountain Creek, a major tributary to the Souris River) were built, in part, to reduce flood peaks on the Souris River. In addition, three USFWS National Wildlife Refuges were created by building two low-head dams on the Souris River and one on the Des Lacs River in North Dakota. Numerous low-head dams are located on the Souris and Des Lacs Rivers in North Dakota. The Eaton Irrigation Project low-head dam, located in the vicinity of Towner, North Dakota, provides flood irrigation to approximately 6,700 acres of hayland and pastureland.
The loss of the American bison and fire, as primary ecological drivers, greatly influenced the character of the remaining native plant communities and the associated wildlife moving towards a less diverse and more homogeneous landscape. Annual cropping is the main factor contributing to habitat fragmentation, reducing habitat quality for area-sensitive species. These influences fragmented the landscape, reduced or eliminated ecological drivers (fire), and introduced exotic species including smooth brome, Kentucky bluegrass, and leafy spurge which further impacted plant and animal communities.
Included in this MLRA are over 121,000 acres of National Wildlife Refuges and over 77,000 acres of waterfowl production areas owned and managed by the United States Fish and Wildlife Service. White Horse Hill National Game Preserve is a 1,674-acre national wildlife refuge sitting on the south shores of Devils Lake, about 10 miles south of the city of Devils Lake. Numerous state-owned parks, state wildlife management areas, North Dakota Forest Service and Department of Trust Lands are found in the MLRA. Wakopa Wildlife Management Area is the largest WMA covering approximately 6,739 acres.
Some characteristic wildlife species in this area are:
Birds: Common loon, common goldeye, bufflehead, ruffed grouse, broad-winged hawk, alder flycatcher, mourning warbler, mallard, blue-winged teal, red-tailed hawk, American kestrel, killdeer, eastern and western kingbird, American crow, common yellowthroat, clay-colored sparrow, vesper sparrow, red-necked grebe, Savannah sparrow, downy and hairy woodpeckers, black-capped chickadee, white-breasted nuthatch, and brown-headed cowbird.
Mammals: Northern short-tailed shrew, water shrew, beaver, muskrat, mink, long-tailed weasel, American martin, fisher, white-tailed jackrabbit, snowshoe hare, Franklin’s ground squirrel, thirteen- lined ground squirrel, northern pocket gopher, plains pocket gopher, western harvest mouse deer mouse, meadow vole, meadow jumping mouse, western jumping mouse, coyote, red fox, racoon, American badger, striped skunk, white-tailed deer, elk, moose, and woodchuck, red squirrel, porcupine, and northern flying squirrel.
Reptiles/Amphibians: American toad, Great Plains toad, northern leopard frog, chorus frog, tiger salamander, plains garter snake, smooth green snake, wood frog, and common garter snake.
Presence of wildlife species is often determined by ecological site characteristics including grass and forb species, tree and shrub species, hydrology, aspect, and other associated ecological sites. The home ranges of a majority species are usually larger than one ecological site or are dependent on more than one ecological site for annual life requisites. Ecological sites offer different habitat elements as the annual life requisites change. Habitat improvement and creation must be conducted within the mobility limits of a known population for the species.
Insects play an important role providing ecological services for plant community development. Insects that are scavengers or aid in decomposition provide the food chain baseline sustaining the carnivorous insects feeding upon them. Many insects provide the ecological services necessary for pollination, keeping plant communities healthy and productive. Insects provide a protein food source for numerous species including grassland-nesting birds, woodpeckers, and woodland edge and interior species, and their young. Extensive use of insecticides for specialty crops (such as soybeans, corn, and other crops) has greatly reduced insects within this MLRA.
Species of Concern within MLRA 55A:
The following is a list of species considered “species of conservation priority” in the North Dakota State Wildlife Action Plan (2015) and “species listed as threatened, endangered, or petitioned” under the Endangered Species Act within MLRA 55A at the time this section was developed:
Invertebrates: Dakota skipper, monarch butterfly, and regal fritillary. Within the MLRA, the United States Fish and Wildlife Service lists 5 areas (in Rolette and McHenry Counties) as critical habitat for the Dakota skipper.
Birds: American avocet, American bittern, American kestrel, American white pelican, Baird’s sparrow, bald eagle, black tern, black-billed cuckoo, bobolink, canvasback, chestnut-collared longspur, ferruginous hawk, Franklin’s gull, grasshopper sparrow, horned grebe, LeConte’s sparrow, lesser scaup, loggerhead shrike, marbled godwit, Nelson’s sparrow, northern harrier, northern pintail, piping plover, sharp-tailed grouse, short-eared owl, Sprague’s pipit, Swainson’s hawk, upland sandpiper, western meadowlark, whooping crane, willet, Wilson’s phalarope, and yellow rail.
Mammals: American martin, Arctic shrew, big brown bat, gray fox, little brown bat, northern long- eared bat, plains pocket mouse, pygmy shrew, Richardson’s ground squirrel, river otter, and Townsend’s big-eared bat.
Amphibians/Reptiles: Canadian toad, common snapping turtle, plains hog-nosed snake, and smooth green snake.
Fish: Finescale dace, hornyhead chub, largescale stoneroller, logperch, northern pearl dace, and trout-perch.
Mussels: Black sandshell, creek heelsplitter, creeper, mapleleaf, and pink heelsplitter.
Grassland and Woodland Management for Wildlife in the MLRA 55A:
Management activities within the community phase pathways impact wildlife but are essential for maintenance of healthy grassland ecosystems. Community phase, transitional, and restoration pathways are keys to long-term management within each State and between States. Timing, intensity, and frequency of these inputs can have dramatic positive or negative effects on local wildlife species. Ranchers and other land managers must always consider the long-term beneficial management effects of grassland and woodland resources in comparison to typically short-term negative effects to the habitats of individual species.
Ecological sites occur as intermingled complexes on the landscape with gradual or sometimes abrupt transitions. Rarely do ecological sites exist in large enough acreage to manage independently for wildlife. Conversion to annual cropping and fragmentation due to transportation and electrical transmission corridors and to rural housing are main causes of fragmentation. This MLRA supports ecological sites that are dominated by woody vegetation and can be located adjacent to ecological sites that support tall- to mid-statured grasses (Thin Loamy/Shallow Loamy) or are adjacent to ecological sites that support wetland vegetation (Shallow Marsh and Wet Meadow).
Management of these ecological site complexes challenges managers to properly manage the entire landscape. A management strategy for one ecological site may negatively impact an adjacent site. For example, grazing Upland Hardwood Forest or Loamy Savannah ecological sites along with herbaceous dominated Loamy Overflow ecological sites may degrade one site by under-use, favoring woody vegetation or increasing exotic cool-season grasses.
Life requisites and habitat deficiencies are determined for targeted species. Deficiencies need to be addressed along community phase, transitional, and restoration pathways as presented in specific state-and-transition models. Ecological sites should be managed and restored within the site’s capabilities to provide sustainable habitat for targeted species or species guilds. Managers also need to consider vegetative associations provided by adjacent/intermingled ecological sites for species with home ranges or life requisites that may not be provided by one ecological site. Understanding specific grassland species’ sensitivity to woody encroachment and preferred vegetative structure enables managers to determine which grassland-nesting bird species will avoid grassland habitats adjacent to Upland Hardwood Forest or Loamy Savannah ecological sites or woody dominated, Plant Community Phase 5, Loamy ecological site.
Many passerine species utilize MLRA 55A as a major migratory travel corridor. Grassland species sensitive to woody associations during nesting and brooding may utilize the woodier fragmented sites, such as the Wooded State 5.0 in the Loamy ecological site, during migration.
Grassland-nesting birds use various grass heights for breeding, nesting, foraging, or winter habitat. While most species use varying heights, many have a preferred vegetative stature height or sensitivity to woody vegetation. Understanding the sensitivity of grassland species to woody vegetation and preferred vegetative structure enables managers to determine which grassland-nesting bird species avoid grassland habitats adjacent to Upland Hardwood Forest or Loamy Savannah ecological sites.
The following chart provides sensitivity to woody vegetation and preferred vegetative stature heights. To see the chart please follow the hyperlink:
https://efotg.sc.egov.usda.gov/references/public/ND/55A_Choppy_Sands_Narrative_FINAL_Ref_FSG.pdf
Choppy Sands Wildlife Habitat Interpretation:
Choppy Sands ecological sites are located on hummocks, dunes, and ridges; slopes are greater than 15 percent. They are found on sandy uplands – delta plains, lake plains, outwash plains, and sand-mantled moraines. The soils are excessively drained with no significant water table or surface run-on influencing vegetation production on this site.
Associated ecological sites include Sands, Subirrigated, Subirrigated Sands, and Wet Meadow which are very commonly intermingled with the Choppy Sands site. Choppy Sands ecological sites tend to provide habitat for many edge-sensitive, grassland bird species preferring medium- to tall-statured vegetation. Depending on the density of bur oak, aspen, and/or shrubs, grassland nesting birds that commonly avoid woody vegetation may not have their habitat needs met when woody vegetation density exceeds their tolerance level. Herbaceous cover may be too sparse for nesting habitat for sharp-tailed grouse even when tree density is low or absent. Insects rely on associated forbs and grasses for survival and serve as food sources for birds and their young, and as forage for small and large herbivores.
Choppy Sands ecological sites may be found in four plant community states (1.0 Reference State, 2.0 Native/Invaded State, 3.0 Wooded State, and 4.0 Invaded State) within a local landscape. Multiple plant community phases exist within States 1.0, 2.0, and 3.0. Today, these states occur primarily in response to precipitation (extended periods of above normal precipitation or drought), fire, grazing, non-use, and other anthropogenic disturbances. Because there is no known restoration pathway from State 2.0 to State 1.0, it is important to intensively manage using tools in State 1.0 and State 2.0 Community Phase Pathways to prevent further plant community degradation along the T2A Transitional Pathway to State 3.0 or T2B Transitional Pathway to State 4.0. Native wildlife species dependent upon grassland cover generally benefit from the heterogeneous grasslands found in States 1.0 and 2.0. Plant communities within State 2.0 depend upon long-term changes in precipitation and are compounded by grazing intensity and frequency.
Success along Restoration Pathway R4A from State 4.0 to State 2.0 is very difficult and is dependent upon presence of a remnant native grass population and degree of management treatments applied. Managers must realize there is no restoration pathway back to State 1.0 and, once the plant community reaches States 3.0 and 4.0, it is very difficult to transition back to State 2.0. Management along community phase, transition, or restoration pathways should focus upon attainable changes. Short- and long-term monetary costs must be evaluated against short- and long-term ecological services in creating and maintaining habitat of sufficient quality to support a sustainable population density.
1.0 Reference State:
Community Phase 1.1 Sand Bluestem-Prairie Sandreed-Needlegrasses/Bur Oak-Quaking Aspen: This plant community offers quality vegetative cover for wildlife; every effort should be made, when found, to maintain this ecological site within this community phase. This phase retains high functionality through continued maintenance including prescribed grazing (with adequate recovery period), as well as prescribed fire. Fire frequency maintains a grass-dominated plant community providing habitat for bird species sensitive to woody vegetation. Predominance of grass species in this community favors grazers and mixed- feeders (animals selecting grasses, as well as forbs and shrubs). The structural diversity provides habitat for a wide array of migratory and resident grassland birds.
Invertebrates: Insects play a role in maintaining the forb community and provide a forage base for grassland birds, reptiles, and rodents. Ecological services, historically provided by bison, are simulated by domestic livestock. These services include putting plant material and dung in contact with mineral soil to be used by lower trophic level consumers (such as invertebrate decomposers, scavengers, shredders, predators, herbivores, dung beetles, and fungal-feeders).
No violet species are found on this site, limiting use by Regal fritillary. Monarch butterfly may use flowering forbs on this site; however, limited milkweed species and numbers are found on this site to support caterpillar food. Bumblebees and other native bees utilize forbs as a nectar source. Bare ground is abundant for ground nesting bees. Although little bluestem and sideoats grama can occur, Choppy Sands are too dry for Dakota skipper larvae.
Prescribed grazing with adequate recovery periods (as well as prescribed fire) to maintain the Community Phase 1.1A will have long-term positive effects on ground dwelling insects.
Birds: This plant community provides quality nesting, foraging, and escape habitats favored by mid- to tallgrass-nesting birds. Dependent upon density of oak and aspen trees and shrubs, grassland bird species tolerant to woody vegetation will use this site. Fire frequency maintains a grass-dominated plant community providing habitat for bird species sensitive to woody vegetation. In years with reduced precipitation or drought, nesting recruitment may be compromised. This plant community does not provide suitable areas for sharp-tailed grouse lek sites but does provide nesting, brood-rearing, and escape habitat. The oak mottes and aspen clumps provide habitat for woodland edge species, such as bluebirds and scarlet tanagers. This site provides good hunting opportunities for grassland raptors.
Mammals: The diversity of grasses and forbs provide high nutrition levels for small and large herbivores including voles, mice, jackrabbits, white-tailed deer, and elk. Tall- to mid-statured vegetation provides suitable food, thermal, protective, and escape cover for small and large herbivores. The oak mottes and aspen clumps provide parturition, thermal, and protective cover for white-tailed deer and elk.
Amphibians and Reptiles: This ecological site provides limited foraging opportunities for the northern leopard frog and Canadian toad since it is not frequently found adjacent to Wet Meadow ecological sites. Northern prairie skinks and plains hog-nosed snakes will use this site since it provides sands habitat and open areas favored by these species.
Fish and Mussels: This ecological site is not typically adjacent to streams, rivers, or water bodies. This site typically does not receive run-on hydrology from adjacent ecological sites. The site typically contributes hydrology through sub-surface flows to sites lower on the landscape including Subirrigated, Subirrigated Sands, and Wet Meadow ecological sites.
Management on Choppy Sands sites, in conjunction with neighboring sites, will have an indirect effect on aquatic species in streams and/or tributaries receiving water from Choppy Sands and adjacent sites. Optimum hydrological function and nutrient cycling limit potential for sediment yield and nutrient loading to nearby aquatic ecosystems from Community Phase 1.1.
Community Phase 1.2 Sun Sedge/Sand Dropseed-Needle and Thread/Bur Oak-Quaking Aspen: This plant community phase occurs during periods of below average precipitation with or without heavy grazing. This results in marked increases in sun sedge and sand dropseed with a corresponding decrease in sand bluestem. This plant community has transformed from a mid- to tall-grass (Community Phase 1.1) to a mid- to short-statured herbaceous community with reduced regeneration of bur oak trees.
Invertebrates: Provides similar life requisites as Community Phase 1.1. However, forb species have increased in number and diversity providing increased pollen and nectar sources and increased bare ground for ground-nesting insects.
Birds: The reduction of tall- and mid- statured grasses to mid- to short-statured grasses favors grassland nesting birds that prefer short- to medium-vegetative stature. The reduction in regeneration of bur oak favors grassland nesting birds that avoid woody vegetation.
Mammals: A shift to short- to mid-statured grasses reduces habitat for large ungulates, such as deer and elk. Loss of woody vegetative cover, such as bur oak, also reduces protective cover for large ungulates.
Amphibians and Reptiles: Provides similar life requisites as Community Phase 1.1.
Fish and Mussels: Provides similar life requisites as Community Phase 1.1.
Community Phase 1.3 Bare Ground/Blowout Grass-Sand Bluestem/Pioneer Species: This plant phase is a result of a Community Phase Pathway 1.2B with a combination of prolonged drought and excess disturbance (such as trailing, burrowing, or heavy grazing). Prolonged drought and repeated disturbances increase wind erosion resulting in a blowout condition. This unstable plant community has large areas of bare soil subjected to extreme wind erosion. Pioneering perennial and annual vegetation dominate the site.
Invertebrates: Bare soil, active wind erosion, and a lack of forb species limits this site use by pollinating species.
Birds: Bare soil, active wind erosion, and a lack of herbaceous cover limits this site use by most bird species.
Mammals: Bare soil, active wind erosion, and a lack of herbaceous cover limits this site use by many mammal species. This plant community phase does not provide any habitat for large mammals and limited habitat for small mammals.
Amphibians and Reptiles: As this site dries out with active wind erosion, use by northern leopard frog and Canadian toad becomes very limited. Northern prairie skinks may still use this site.
Fish and Mussels: Provides similar life requisites as Community Phase 1.1.
2.0 Native/Invaded State:
Community Phase 2.1 Sand Bluestem-Prairie Sandreed-Needlegrasses/Bur Oak-Quaking Aspen: This plant community develops through Transition Pathway T1 with periods of above and below average precipitation, grazing by domestic livestock, and rare to infrequent fire.
Exotic cool-season grasses, such as Kentucky bluegrass and smooth brome, have established. This plant community phase has a very similar appearance and function to the Plant Community 1.1. Except for the increase of exotic cool-season grass species, this phase functions at a high level for native wildlife. However, due to a reduction in fire frequency, oak mottes increase in size and canopy cover. A wide array of forbs still provides nectar and pollen sources for pollinating species. Managers should consider management within the State 2.0 Community Phase Pathways to avoid transitioning to State 3.0. There is no known Community Phase Pathway back to State 1.0.
Invertebrates: Provides similar life requisites as Community Phase 1.1.
Birds: Provides similar life requisites as Community Phase 1.1. However, an increase in the coverage of oak mottes decreases habitat for grassland-nesting birds not tolerant to woody vegetation. The oak mottes provide habitat for woodland edge species.
Mammals: Provides similar life requisites as Community Phase 1.1. However, an increase in the coverage of oak mottes increases thermal, protective and parturition cover for large ungulates and other mammals which depend upon woody habitats.
Amphibians and Reptiles: Provides similar life requisites as Community Phase 1.1.
Fish and Mussels: Provides similar life requisites as Community Phase 1.1.
Community Phase 2.2 Sun Sedge/Sand Dropseed-Needle and Thread/Bur Oak-Quaking Aspen: Below average precipitation with or without drought (via Community Phase Pathway 2.1A) shifts the competitive advantages to grazing tolerant short-statured grasses, grass- likes, and forbs. Soil temperatures increase with shallower rooted, short-statured blue grama and sedges combined with an increase in bare ground. Forbs show an increase in number and diversity.
Invertebrates: Provides similar life requisites as Community Phase 1.2.
Birds: Provides similar life requisites as Community Phase 1.2.
Mammals: Provides similar life requisites as Community Phase 1.2.
Amphibians and Reptiles: Provides similar life requisites as Community Phase 1.1.
Fish and Mussels: Provides similar life requisites as Community Phase 1.1.
Community Phase 2.3 Bare Ground/Blowout Grass-Sand Bluestem/Pioneer Species: This plant phase is a result of Community Phase Pathway 2.2B with a combination of prolonged drought and excess disturbance (such as livestock trailing/loafing, off-road vehicle uses, and/or heavy grazing). This unstable plant community has large areas of bare soil (greater than 95%) subjected to wind erosion. Pioneering perennial and annual vegetation dominate the site.
Invertebrates: Provides similar life requisites as Community Phase 1.3.
Birds: Provides similar life requisites as Community Phase 1.3.
Mammals: Provides similar life requisites as Community Phase 1.3.
Amphibians and Reptiles: Provides similar life requisites as Community Phase 1.3.
Fish and Mussels: Provides similar life requisites as Community Phase 1.1.
3.0 Invaded State:
Community Phase 3.1 Exotic Cool-Season Grasses/Forbs: Extended periods of moderate to heavy grazing is the main management scenario (via Transition Pathway T2A) from Native/Invaded State 2.0 to Invaded State 3.0. These conditions often lead to the invasion by exotic cool-season grasses (such as Kentucky bluegrass, smooth brome, and/or quackgrass).
Extended periods of non-use or very light grazing, and no fire, are advantageous to woody species allowing this state to transition to State 4: Wooded State (via Transition PathwayT3A). Implementation of prescribed grazing and prescribed burning is advantageous to the native warm-season and cool-season grasses with a corresponding decrease in the exotic cool-season grasses, following Restoration Pathway R3A to 2.0 Native/Invaded State.
Invertebrates: The invasion of Kentucky bluegrass or other exotic cool-season grasses reduces or eliminates habitats for all pollinating species of concern within MLRA 55A. Season-long pollen and nectar availability becomes limited on this site. The woody shrub component (prairie rose) will provide an early- to mid- season bloom period. Non-use will increase litter, reducing sites for ground nesting pollinators. Overall, pollinator plant diversity is low, limiting season-long nectar and pollen production.
Birds: As vegetative stature becomes less diverse with an exotic cool-season monoculture (Kentucky bluegrass, brome and/or quackgrass), non-use or very light use (and no fire) results in extensive areas of grass litter accumulation. Grassland nesting bird species that favor short- to mid-statured vegetation may use this plant community. Depending on use and stature of residual vegetation, this plant community can provide suitable areas for sharp- tailed grouse lek sites with limited to no cover for other life requisites. This site provides limited hunting opportunities for grassland raptors.
Mammals: Excessive litter build up and the tendency for Kentucky bluegrass, brome and/or quack grass litter accumulation will have the effect of residual cover going prostrate (or “laying down”). This provides thermal, protective, and escape cover for small herbivores, but limited life requisites for large mammals. If the plant community is managed with heavy, season-long grazing, residual cover is removed which provides limited food and cover for most mammals except ground dwelling mammals (ground squirrels).
Amphibians and Reptiles: Provides similar life requisites as Community Phase 1.1; however, excessive grazing will negatively impact the plains hog-nosed snake.
Fish and Mussels: Provides similar life requisites as Community Phase 1.1. Due to low productivity of this site, the increase in exotic cool-season grasses (such as Kentucky bluegrass) does not create a duff layer significant enough to increase runoff or increased nutrient loading to adjacent ecological sites and waterbodies.
State 4.0: Wooded State
Community Phase 4.1 Bur Oak/Poison Ivy/Exotic Cool-Season Grasses: The elimination of fire and complete rest from grazing (via Transitional Pathway T2B) allows poison ivy, Saskatoon serviceberry, chokecherry, and western snowberry to expand out from the bur oak mottes into adjacent herbaceous vegetation dominated communities. The herbaceous understory becomes dominated by Kentucky bluegrass and leafy spurge. Quaking aspen may be present and, in some cases, several acres in size. Restoration to State 2.0 (via Restoration Pathway R4A) requires a combination of mechanical and herbicide application combined with repeated prescribed grazing and burning. Reseeding of native vegetation may be necessary depending on the amounts of native species in the site to re-establish the native plant community.
Invertebrates: Dense overstory of shrubs and bur oak provide shade with little sunlight reaching flowering forbs. The invasion of woody vegetation reduces habitat for pollinator insects within MLRA 55A. Season-long pollen and nectar availability becomes limited on this site. However, woody species (such as quaking aspen, Saskatoon serviceberry, chokecherry, and western snowberry) provide early- to mid- season pollen sources for native bees and honeybees. Insects do play a role in maintaining the limited forb community and provide a forage base for woodland birds, reptiles, and rodents. Plant materials and dung in contact with mineral soil are used by lower trophic level consumers (such as invertebrate decomposers, scavengers, shredders, predators, herbivores, dung beetles, and fungal feeders).
Birds: This plant community provides quality woodland edge nesting, foraging, and escape habitats. The closed canopy provides nesting opportunities for shrub nesters with limited habitat for canopy nesting birds. This site provides good hunting opportunities for woodland raptors and owls. The presence of woody plant species may increase mammalian and avian predation and may increase brood parasitism by brown-headed cowbirds on adjacent grassland ecological sites.
Depending on the size of the plant community, bird species that occupy both woodland edge and interior habitats can benefit. These species include American crow, American goldfinch, American kestrel, American redstart, black-billed cuckoos, blacked-capped chickadee, blue jay, brown-headed cowbird, brown thrasher, eastern bluebird, eastern and western kingbird, eastern screech-owl, gray catbird, great horned owl, house wren, black-billed magpie, mourning dove, northern flicker, oven bird, red-eyed vireos, red-headed woodpecker red- tailed hawk, scarlet tanager, sharp-shinned hawk, wild turkey, and yellow warbler.
Older trees provide cavity nesting sites for forest birds. An increase in mast producing trees provide food for wild turkey, blue jays, and woodpeckers. Limited flowering shrubs provide insect populations for birds and their young and berries from late summer to early winter.
Mammals: Shrubs and trees provide security and thermal cover used by elk and white-tailed deer for foraging, loafing, and rearing young-of-the-year. Multi-layer shrub/tree communities provide concealment protection from predators during parturition. Plant species provide highly nutritious forage during peak lactation, one of the most energy-demanding time periods of the year for female ungulates. Shrub and herbaceous cover provide thermal, protective, and escape cover for small and large herbivores including voles, mice, and snowshoe hare. Dead and mature trees provide cavities and loose bark for big brown bat, northern long-eared bat, and Townsend’s big-eared bat.
Amphibians and Reptiles: The invasion of woody vegetation significantly reduces habit for Canadian toad, northern prairie skink, and plains hognose snake.
Fish and Mussels: Provides similar life requisites as Community Phase 1.1.
Community Phase 4.2 Quaking Aspen/Shrubs: Continued lack of fire will shift the competitive edge to taller, faster growing trees such as quaking aspen. The aspen canopy cover shifts the understory to shade tolerant species, suppressing bur oak and allowing aspen to establish.
Invertebrates: Quaking aspen trees provide a source of pollen from early- to mid-season. Mid- to late-season pollen sources will be scarce on this site. Overall, pollinator plant diversity is low, limiting season-long nectar and pollen production. Lower trophic-level consumers (such as invertebrate decomposers, scavengers, shredders, predators, herbivores, dung beetles, and fungal-feeders) will use woody plant material, leaves, and limited amounts of grasses in contact with the mineral soil. The woody component of this site is not conducive to use by the Dakota skipper, regal fritillary, or monarch butterfly.
Woody plant material is available for wood-nesting bees.
Birds: This site does not provide habitat requisites for grassland-nesting bird species due its woody vegetation dominance. It provides similar life requisites for woodland obligate and edge species as Community Phase 4.1. These sites provide spring food (catkins), winter food (buds), and thermal cover for sharp-tailed grouse. This plant community provides potential habitat for ruffed grouse; however, Choppy Sands sites in MLRA 55A are not located near the main population of ruffed grouse (primarily found in the Turtle Mountain region). Wildlife use increases as the depth of snow increases during the winter, thereby becoming critical to the sustainment of winter resident bird populations. The presence of woody plant species may increase mammalian and avian predation and increase brood parasitism by brown-headed cowbirds on adjacent grassland ecological sites.
Mammals: Provides similar life requisites as Community Phase 4.1.
Amphibians and Reptiles: Provides similar life requisites as Community Phase 4.1.
Fish and Mussels: Provides similar life requisites as Community Phase 4.1.
Animal Community – Grazing Interpretations:
This site is well adapted to managed grazing by domestic livestock. The predominance of herbaceous plants across all plant community phases best lends these sites to grazing by cattle, but other domestic grazers with differing diet preferences may also be a consideration depending upon management objectives. Often, the current plant community does not entirely match any particular plant community (as described in the ecological site description). Because of this, a resource inventory is necessary to document plant composition and production. Proper interpretation of this inventory data will permit the establishment of a safe, initial stocking rate for the type and class of animals and level of grazing management. More accurate stocking rate estimates should eventually be calculated using actual stocking rate information and monitoring data.
NRCS defines prescribed grazing as “managing the harvest of vegetation with grazing and/or browsing animals with the intent to achieve specific ecological, economic, and management objectives”. As used in this site description, the term ‘prescribed grazing’ is intended to include multiple grazing management systems (e.g., rotational grazing, twice-over grazing, conservation grazing, targeted grazing, etc.) provided that, whatever management system is implemented, it meets the intent of prescribed grazing definition.
The basic grazing prescription addresses balancing forage demand (quality and quantity) with available forage, varying grazing and deferment periods from year-to-year, matching recovery/deferment periods to growing conditions when pastures are grazed more than once in a growing season, implementation of a contingency (e.g., drought) plan, and a monitoring plan. When the management goal is to facilitate change from one plant community phase or state to another, then the prescription needs to be designed to shift the competitive advantage to favor the native grass and forb species.
Grazing levels are noted within the plant community narratives and pathways in reference to grazing management. “Degree of utilization” is defined as the proportion of the current years forage production that is consumed and/or destroyed by grazing animals (may refer to a single plant species or a portion or all the vegetation). “Grazing utilization” is classified as slight, moderate, full, close, and severe (see the following table for description of each grazing use category). The following utilization levels are also described in the Ranchers Guide to Grassland Management IV. Utilization levels are determined by using the landscape appearance method as outlined in the Interagency Technical Reference “Utilization Studies and Residual Measurements” 1734-3.
Utilization Level % Use Description
Slight (Light) 0-20 Appears practically undisturbed when viewed obliquely. Only choice areas and forage utilized.
Moderate 20-40 Almost all of accessible range shows grazing. Little or no use of poor forage. Little evidence of trailing to grazing.
Full 40-60 All fully accessible areas are grazed. The major sites have key forage species properly utilized (about half taken, half left). Points of concentration with overuse limited to 5 to 10 percent of accessible area.
Close (Heavy) 60-80 All accessible range plainly shows use and major sections closely cropped. Livestock forced to use less desirable forage, considering seasonal preference.
Severe > 80 Key forage species completely used. Low-value forages are dominant.
Hydrological functions
Available water is the principal factor limiting herbage production on this site. The site is dominated by soils in hydrologic group A. Infiltration is rapid; runoff potential varies from very low to medium depending upon slope percent, surface texture, and ground cover. In many cases, areas with greater than 75% ground cover have the greatest potential for high infiltration and lower runoff. Areas where ground cover is less than 50% have the greatest potential to have reduced infiltration and higher runoff (refer to Section 4, NRCS National Engineering Handbook for runoff quantities and hydrologic curves).
Recreational uses
Hunting and Bird Watching: Over 113,000 acres of National Wildlife Refuges and over 77,000 acres of Waterfowl Production Areas owned and managed by the United States Fish and Wildlife Service are available for public hunting and bird watching. In addition, over 22,000 acres of North Dakota Wildlife Management Areas (WMAs), approximately 8,000 acres of North Dakota Forest Service, and thousands of acres of Department of Trust Lands are scattered throughout the central and western portions of the MLRA; these areas are available for hunting and bird watching. MLRA 55A provides a unique ruffed grouse hunting opportunity in North Dakota on wildlife management areas managed by the North Dakota Game and Fish Department and forest service lands managed by North Dakota Forest Service within the Turtle Mountain.
Camping: Three state parks are located within the MLRA including Lake Metigoshe State Park (Turtle Mt.), Grahams Island State Park (Devils Lake), and the newly designated Pembina Gorge State Park (formerly Pembina Gorge Recreation Area). These Parks provide hiking, biking, birding, canoeing, and wildlife viewing opportunities. Many local parks and private parks provide modern and primitive camping opportunities. The approximately 8,000 acres of North Dakota Forest Service provides primitive camping (no electric or water hookups) as well as fishing and canoeing access at various lakes. These forests and lakes provide access to swimming beaches, picnicking, and an extensive trail system open to hiking, mountain biking, horseback riding, snowmobiling, and cross-country skiing (not groomed). Limited primitive camping is also available on North Dakota Game and Fish Department Wildlife Management Areas.
Hiking/Biking/Horseback Riding: Hiking is permitted on most state and federally owned lands. Developed hiking and biking trails can be found on North Dakota Forest Service lands (18.6 miles), Upper Souris NWR (4.25 miles), Des Lacs NWR (8.5 miles), J. Clark NWR (3.3 miles), White Horse Hill National Game Preserve (3.6 miles), Lake Metigoshe State Park (16 miles), and Grahams Island State Park (2.1 miles; 3 miles cross country skiing). In addition, extensive biking and walking trails are found in local county and city parks. The Turtle Mountain State Recreation Area (ND Forest Service) is located six miles northwest of Bottineau. This recreation area has over 12 miles of trails open to hiking, biking, snowshoeing, horseback riding, and OHV’s.
The Pembina Gorge State Park encompasses over 2,800 acres of public land in the Pembina River Gorge. Steep valley cliffs towering over small, isolated prairies and pocketed wetlands surrounded by the largest continuous, undisturbed forest in North Dakota provide opportunities for canoeing, kayaking, hiking, biking, horseback riding, hunting, wildlife observing, birding, and downhill and cross- country skiing. Thirty miles of trails provide snowmobiling, mountain biking, and off-highway vehicles (OHV) opportunities.
Canoeing/Kayaking: Designated canoe and kayaking trails are available within the MLRA. J. Clark Sayler NWR has 12.75 miles of designated trails on the Souris River and Pembina Gorge State Park has 14.25 miles on the Pembina River. The Pembina Gorge State Park offers kayak rentals along with kayak transportation. Lake Metigoshe State Park offers canoe and kayak rentals along with standup paddleboards, pontoons, cross country skis, snowshoes, etc.
Downhill Skiing: Downhill skiing is available at Bottineau Winter Park within Turtle Mountain and Frost Fire Park at the Pembina Gorge. Full-service rental shops are available along with alpine trails ranging from beginner to expert. Conveyor lifts on the beginner hills to chairlifts are available for skiers.
International Peace Garden: The only peace garden located on the United States/Canada border, the International Peace Garden is a 2,339-acre botanical garden commemorating peace between the United States and Canada along the world’s longest unfortified border. It blooms with more than 155,000 flowers and showcases the Peace Chapel, Peace Towers, and Floral Clock. The North American Game Wardens Museum if also located within the boundaries of the International Peace Garden.
Wood products
No appreciable wood products are present on the site.
Other products
Seed harvest of native plant species can provide additional income on this site.
Other information
• Further investigation is needed on the slope break of 15% between Sands and Choppy Sands. It is currently thought that the plant community and production on stable landscapes (not dunes) with slopes >15% is similar to that of dune areas. There is also uncertainty about the plant community and productivity of Serden soils (dunes) with slope <15% as compared to other soils in the Sands ecological site. The plant communities and production levels need more documentation to verify the current slope break.
• Further documentation may be needed for plant communities in all states. Plant data has been collected in previous range-site investigations, including clipping data; however, this data needs review. If geo-referenced sites meeting Tier 3 standards for either vegetative or soil data are not available, representative sites will be selected for further investigation.
• Site concepts will be refined as the above noted investigations are completed.
• The long-term goal is to complete an approved, correlated Ecological Site Description as defined by the National Ecological Site Handbook.
This ESD is the best available knowledge. The site concept and species composition table have been used in the field and tested for more than five years. It is expected that as additional information becomes available revisions may be required.
Supporting information
Inventory data references
Information presented here has been derived from NRCS and other federal/state agency clipping and inventory data. Also, field knowledge of range-trained personnel was used. All descriptions were peer reviewed and/or field tested by various private, state and federal agency specialists.
Those involved in developing this site description include: Stan Boltz, NRCS Range Management Specialist; Dave Dewald, NRCS State Biologist; Jody Forman, NRCS Range Management Specialist; Jeff Printz, NRCS State Range Management Specialist; Kevin Sedivec, Extension Rangeland Management Specialist; Shawn Dekeyser, North Dakota State University; Rob Self, The Nature Conservancy and Lee Voigt, NRCS Range Management Specialist.
Other references
Bakker, K.K. 2003. The effect of woody vegetation on grassland nesting birds: an annotated bibliography. The Proceedings of the South Dakota Academy of Science 82:119-141.
Barker, W.T. and W. C. Whitman. 1988. Vegetation of the Northern Great Plains. Rangelands 10(6): 266-272.
Bluemle, J.P. 1985. Geology of Bottineau County, North Dakota. North Dakota Geological Survey Bulletin 78- Part I. 57 pages.
Bluemle. J.P. 2016. North Dakota’s geologic legacy. North Dakota State University Press. 382 pages.
Briske, D.D. (editor). 2017. Rangeland systems – processes, management, and challenges. Springer Series on Environmental Management. 661 pages.
DeKeyser, E.S., G. Clambey, K. Krabbenhoft, and J. Ostendorf. 2009. Are changes in species composition on central North Dakota rangelands due to non-use management? Rangelands 31:16-19
Dix, R.L. and F.E. Smeins. 1967. The prairie, meadow, and marsh vegetation of Nelson County, North Dakota. Canadian Journal of Botany 45:21-57.
Dornbusch, M.J., R.F. Limb, and C.K. Gasch. 2018. Facilitation of an exotic grass through nitrogen enrichment by an exotic legume. Rangeland Ecology & Management 71:691-694.
Dyke, S.R., S.K. Johnson, and P.T. Isakson. 2015. North Dakota state wildlife action plan. North Dakota Game and Fish Department, Bismarck, ND. 468 pages.
Ehrenfeld, Joan G. 2002. Effects of exotic plant invasions on soil nutrient cycling processes. Ecosystems 6:503-523.
Ereth, C., J. Hendrickson, D. Kirby, E. DeKeyser, K. Sedevic, and M. West. Controlling Kentucky bluegrass with herbicide and burning is influenced by invasion level. Invasive Plant Science and Management 10: 80-89.
Gilgert, W. and S. Zack. 2010. Integrating multiple ecosystem services into ecological site descriptions. Rangelands: 32:49-54.
Grant, T.A. and R.K. Murphy. 2005. Changes on woodland cover on prairie refuges in North Dakota, USA. Natural Areas Journal 25:359-368.
Guinan, D.M, and C.S. Rewcastle. 1982. Trends of plant succession in Turtle Mountain Provincial Park. Manitoba Department Natural Resources MS Report No. 82-6. 40 pages.
Heitschmidt, R. K., K. D. Klement, and M. R. Haferkamp. 2005. Interactive effects of drought and grazing on Northern Great Plains rangelands. Rangeland Ecology and Management 58:11-19.
Hendrickson, J.R., P. S. Johnson, M. A. Liebig, K. K. Sedivec, and G. A. Halvorson. 2016. Use of ecological sites in managing wildlife and livestock: an example with prairie dogs. Rangelands
Hendrickson, J.R., S.L. Kronberg, and E.J. Scholljegerdes. 2020. Can targeted grazing reduce abundance of invasive perennial grass (Kentucky Bluegrass) on native mixed-grass prairie? Rangeland Ecology and Management, 73:547-551.
Higgins, K.F. 1984. Lightning fires in grasslands in North Dakota and in pine-savanna lands in nearby South Dakota and Montana. J. Range Manage. 37:100-103.
Higgins, K.F. 1986. Interpretation and compendium of historical fire accounts in the Northern Great Plains. United States Department of Interior, Fish and Wildlife Service. Resource Publication 161. 39 pages.
Higgins, K.F., A.D. Kruse, and J.L. Piehl. 1989. Effects of fire in the Northern Great Plains. U.S. Fish and Wildlife Service and Cooperative Extension Service South, Dakota State University. Extension Circular 761. 48 pages.
High Plains Regional Climate Center, University of Nebraska, 830728 Chase Hall, Lincoln, NE 68583-0728. (http://hprcc.unl.edu)
Hoffman, G.R. and R.R. Alexander. 1987. Forest vegetation of the Black Hills National Forest of South Dakota and Wyoming: a habitat type classification. USDA Forest Service Research Paper RM-276, 48 pages.
Johnson, Sandra. 2015. Reptiles and amphibians of North Dakota. North Dakota Game and Fish Department. 64 pages.
Jordan, N. R., D.L. Larson, and S.C. Huerd. 2008. Soil modification by invasive plants: effects on native and invasive species of mixed-grass prairies. Biological Invasions 10:177-190.
Knudson, W. and R. L. Post. 1963. Butterflies of Bottineau County. North Dakota State University Department of Agricultural Entomology. 29 pp.
Kurmis, V., and E. Sucoff. 1999. Population density and height distribution of Corylus cornuta in undisturbed forests of Minnesota: 1965-1984. Can. J. Bot. 67:2409-2413.
Lemke, Richard W., Geology of the Souris River area North Dakota Geological Survey, Professional Paper, 325 pp. Prepared as a part of a program of the Department of the Interior for development of the Missouri River Basin United States Government Printing Office, Washington, DC:1960.
Mader, E., M. Shepherd, M. Vaughan, and S.H. Black. 2011. Attracting native pollinators: protecting North America's bees and butterflies. Accessed at https://xerces.org, May 1, 2017.
McCartney. D.H. 1993. History of grazing research in the aspen parkland. Canadian Journal of Botany 73:749-763.
Minnesota Department of Natural Resources, Managing your woodland for ruffed grouse, Accessed on February 25, 2019; Available at https://files.dnr.state.mn.us/recreation/hunting/grouse/managing_woodland_ruffed_grouse_flat.pdf
North Dakota Division of Tourism, Accessed on February 25, 2019. Available at https://www.ndtourism.com/sports-recreation
North Dakota Parks and Recreation Department, Accessed on February 25, 2019. Available at http://www.parkrec.nd.gov/recreationareas/recreationareas.html
Palit, R., G. and E.S. DeKeyser. 2022. Impacts and drivers of smooth brome (Bromus inermis Leyes.) invasion in native ecosystems. Plants: 10,3390. http://https://www.mdpi.com/2223-7747/11/10/1340
Palit, R., G. Gramig, and E.S. DeKeyser. 2021. Kentucky bluegrass invasion in the Northern Great Plains and prospective management approaches to mitigate its spread. Plants: 10,817. https://doi.org/10.3390/plants10040817
Potter, L.D. and D. R. Moir. 1961. Phytosociological study of burned deciduous woods, Turtle Mountains North Dakota. Ecology Vol 2, No. 3: 468-480.
Printz, J.L. and J.R. Hendrickson. 2015. Impacts of Kentucky bluegrass invasion (Poa pratensis) on Ecological Processes in the Northern Great Plains. Rangelands 37(6):226-232.
Redmann, Robert E. 1975. Production ecology of grassland plant communities in western North Dakota. Ecological Monographs 45:83-106.
Reeves, J.L., J.D. Derner, M.A. Sanderson, J.R. Hendrickson, S.L. Kronberg, M.K. Petersen, and L.T. Vermeire. 2014. Seasonal weather influences on yearling beef steer production in C3-dominated Northern Great Plains rangeland. Agriculture, Ecosystems and Environment 183:110-117.
Renton, J. C. 2010. The impact of cattle grazing on aspen regeneration on crown lands in western Manitoba. M.S. thesis, University of Manitoba, Winnipeg. 130 pages.
Riffle, J.W. and G.W. Peterson. 1986. Diseases of Trees in the Great Plains. U.S.D.A. Forest Service General Technical Report RM-129. 149 pages.
Royer, R. A., 2003. Butterflies of North Dakota: an atlas and guide:
Minot State University, Minot, ND.
Schulz, J.W. 1984. Manipulation of habitat for ruffed grouse on the Wakopa Wildlife Management Area, North Dakota. Pages 109-121 In Robinson, W.L. editor. Ruffed Grouse Management, state of the art in the early 1980’s. Proceedings of a Symposium, 45th Midwest Fish and Wildlife Conference, St. Louis, MO. 181 pages. Available at http://wildlife.org/wp-content/uploads/2015/12/Robinson1984_RuffedGrouseManagement_300dpi.pdf
Seabloom, R. 2020. Mammals of North Dakota. North Dakota Institute for Regional Studies, Fargo, ND. 470 pages.
Sedivec, K.D., J.L. Printz. 2014. Ranchers guide to grassland management IV. NDSU Extension Service publication R1707.
Severson, K. E. and C. Hull Sieg. 2006. The nature of eastern North Dakota: Pre-1880 historical ecology. North Dakota Institute for Regional Studies.
South Dakota Dept. of Game, Fish and Parks. 2014. South Dakota wildlife action plan. Wildlife Division Report 2014-03.
Spaeth, K.E., Hayek, M.A., Toledo, D., and Hendrickson, J. 2019. Cool season grass impacts on native mixedgrass prairie species in the Northern Great Plains. America’s Grassland Conference: Working Across Boundaries. The Fifth Biennial Conference on the Conservation of America’s Grasslands. Bismarck, ND. 20- 22 August.
Thorpe, J.P. 1978. Effects of cattle grazing on understory shrubs in Saskatchewan aspen forests. M.S. thesis, University of Saskatchewan, Saskatoon. 135 pages.
Tidwell, D., D.T. Fogarty, and J.R. Weir. 2021. Woody encroachment in grasslands, a guide for understanding risk and vulnerability. Oklahoma State University, Oklahoma Cooperative Extension Service publication E- 1054. 32 pages.
Toledo, D., M. Sanderson, K. Spaeth, J. Hendrickson, and J. Printz. 2014. Extent of Kentucky bluegrass and its effect on native plant species diversity and ecosystem services in the Northern Great Plains of the United State. Invasive Plant Science and Management 7(4): 543-552.
USDA, NRCS. 2021. National range and pasture handbook, (https://www.nrcs.usda.gov/wps/portal/nrcs/detailfull/national/landuse/rangepasture/?cid=stelprdb1043084)
USDA, NRCS. 2006. Land resource regions and major land resource areas of the United States, the Caribbean, and the Pacific Basin. U.S. Department of Agriculture Handbook 296.
USDA, NRCS. National soil information system, 100 Centennial Mall North, Room 152, Lincoln, NE 68508- 3866. (https://www.nrcs.usda.gov/wps/portal/nrcs/detail/soils/survey/tools/?cid=nrcs142p2_053552)
USDA, NRCS. National Water & Climate Center, 1201 NE Lloyd Blvd, Suite 802, Portland, OR 97232-1274. (https://www.wcc.nrcs.usda.gov/)
USDA, NRCS. 2001. The PLANTS database, Version 3.1 (http://plants.usda.gov). National Plant Data Center, Baton Rouge, LA 70874-4490 USA.
USDA, NRCS, Various Published Soil Surveys.
USDI BLM.1999. Utilization studies and residual measurements. Interagency Technical Reference 1734-3.
U.S. Fish and Wildlife Service. 2015. Endangered and threatened wildlife and plants; designation of critical habitat for the Dakota skipper and Poweshiek skipperling; Vol. 79 No. Final Rule October 1, 2015, 50 CFR Part 17.
Vinton, M.A. and E.M. Goergen. 2006. Plant-soil feedbacks contribute to the persistence of Bromus inermis in tallgrass prairie. Ecosystems 9: 967-976.
Waddington, J., D.H. McCartney, and L.P. Lefkovitch. 1999. Effects of management on species dynamics of Canadian aspen parkland pastures. Journal of Range Management 52:60-67.
Weatherill, R.G., and L.B. Keith. 1969. The effect of livestock grazing on an aspen forest community. Utah State University. Department of Lands and Forests Fish and Wildlife Division Technical Bulletin No. 1. 31 pages.
Whitman, W.H., H. Hanson, and R. Peterson. 1943. Relation of drought and grazing to North Dakota range lands. North Dakota Agricultural Experimentation Bulletin 340.
Contributors
ND NRCS: David Dewald, Jonathan Fettig, Alan Gulsvig, Mark Hayek, Chuck Lura, Jeff Printz, Steve Sieler, and Hal Weiser
Approval
Suzanne Mayne-Kinney, 5/08/2025
Acknowledgments
We gratefully acknowledge Tom Pabian, Upper Souris River National Wildlife Refuge manager for making the refuge available for field work in developing the ESD.
Rangeland health reference sheet
Interpreting Indicators of Rangeland Health is a qualitative assessment protocol used to determine ecosystem condition based on benchmark characteristics described in the Reference Sheet. A suite of 17 (or more) indicators are typically considered in an assessment. The ecological site(s) representative of an assessment location must be known prior to applying the protocol and must be verified based on soils and climate. Current plant community cannot be used to identify the ecological site.
Author(s)/participant(s) | USDA-NRCS North Dakota |
---|---|
Contact for lead author | NRCS State Rangeland Management Specialist |
Date | 12/01/2021 |
Approved by | Suzanne Mayne-Kinney |
Approval date | |
Composition (Indicators 10 and 12) based on | Annual Production |
Indicators
-
Number and extent of rills:
Rills are not expected on this site when slopes are less than 25%. When slopes exceed 25%, scattered, short (6 to 8 inches) rills, associated with water flow patterns, may be visible following heavy rainfall events. -
Presence of water flow patterns:
Water flow patterns are not visible when slopes are less than 25%. When slopes exceed 25%, short (3 to 5 feet), scattered water flow patterns may be observed but they and disconnected. Some soil and litter movement are associated with the water flow patterns. -
Number and height of erosional pedestals or terracettes:
Neither pedestals nor terracettes are expected when slopes are less than 25%. When slopes exceed 25%, some pedestalling of bunchgrasses and small terracettes may be observable, but plant roots will not be exposed. -
Bare ground from Ecological Site Description or other studies (rock, litter, lichen, moss, plant canopy are not bare ground):
Bare ground ranges from 10 to 15%. Bare ground patches are small (6 inches or less in diameter), randomly scattered, and disconnected. Animal activity (burrows and ant mounds) may occasionally result in isolated bare patches of up to 24 inches in diameter. -
Number of gullies and erosion associated with gullies:
Active gullies are not expected on this site. -
Extent of wind scoured, blowouts and/or depositional areas:
Not expected in Plant Community Phase 1.1. -
Amount of litter movement (describe size and distance expected to travel):
Short movement (12 to 24 inches) of fine/small classes of litter would be expected
associated with water flow patterns -
Soil surface (top few mm) resistance to erosion (stability values are averages - most sites will show a range of values):
Stability class averages 4 or greater. -
Soil surface structure and SOM content (include type of structure and A-horizon color and thickness):
Use soil series description for depth, color, and structure of A horizon. -
Effect of community phase composition (relative proportion of different functional groups) and spatial distribution on infiltration and runoff:
Tall rhizomatous grasses and mid- and short-statured bunch grasses are dominant and well distributed across the site. Grass-likes are subdominant. -
Presence and thickness of compaction layer (usually none; describe soil profile features which may be mistaken for compaction on this site):
No compaction layers occur naturally on this site. Buried A horizon may sometimes be visible but does not constitute a compaction layer. -
Functional/Structural Groups (list in order of descending dominance by above-ground annual-production or live foliar cover using symbols: >>, >, = to indicate much greater than, greater than, and equal to):
Dominant:
Phase 1.1:
Tall C4 rhizomatous grasses (2); Mid & short C4 bunch grasses (5); Mid & short C3 bunch grasses (3)Sub-dominant:
Phase 1.1:
Grass-likes (1)Other:
Minor - Phase 1.1:
Forbs; Mid & short C4 rhizomatous grasses; Shrub; TreesAdditional:
Due to differences in phenology, root morphology, soil biology relationships, and nutrient cycling Kentucky bluegrass, smooth brome, and crested wheatgrass are included in a new Functional/structural group, mid- and short-statured early cool-season grasses (MSeC3), not expected for this site.
To see a full version 5 rangeland health worksheet with functional/structural group tables, please use the following hyperlink:
https://efotg.sc.egov.usda.gov/references/public/ND/55A_Choppy_Sands_Narrative_FINAL_Ref_FSG.pdf -
Amount of plant mortality and decadence (include which functional groups are expected to show mortality or decadence):
Not expected. -
Average percent litter cover (%) and depth ( in):
Plant litter cover is 60 to 70% with a depth of 0.25 to 0.5 inch. Litter is in contact with soil surface. -
Expected annual annual-production (this is TOTAL above-ground annual-production, not just forage annual-production):
Annual air-dry production is 2200 lbs./ac (reference value) with normal precipitation and temperatures. Low and high production years should yield 1600 to 2800 lbs./ac, respectively. -
Potential invasive (including noxious) species (native and non-native). List species which BOTH characterize degraded states and have the potential to become a dominant or co-dominant species on the ecological site if their future establishment and growth is not actively controlled by management interventions. Species that become dominant for only one to several years (e.g., short-term response to drought or wildfire) are not invasive plants. Note that unlike other indicators, we are describing what is NOT expected in the reference state for the ecological site:
State and local noxious weeds, Kentucky bluegrass, smooth brome, Eastern red cedar/juniper -
Perennial plant reproductive capability:
Non-invasive species in all functional/structural groups are vigorous and capable of reproducing annually under normal weather conditions.
Print Options
Sections
Font
Other
The Ecosystem Dynamics Interpretive Tool is an information system framework developed by the USDA-ARS Jornada Experimental Range, USDA Natural Resources Conservation Service, and New Mexico State University.
Click on box and path labels to scroll to the respective text.
T1A | - | Introduction of exotic cool-season grasses |
---|---|---|
T2A | - | Extended periods of non-use, or very light grazing, no fire |
T2B | - | Long-term non-use, or very light grazing, no fire |
R3A | - | Long-term prescribed grazing with prescribed burning, perhaps in combination with mechanical treatment |
T3A | - | Long-term non-use, or very light grazing, no fire |
R4A | - | Long-term prescribed grazing with prescribed burning, perhaps in combination with mechanical treatment |
State 1 submodel, plant communities
1.1A | - | Below average precipitation with or without heavy grazing |
---|---|---|
1.2A | - | Return to average precipitation with light to moderate grazing |
1.2B | - | Prolonged drought with or without heavy grazing |
1.3A | - | Return to average precipitation with light to moderate grazing |
State 2 submodel, plant communities
2.1A | - | Below average precipitation with or without heavy grazing |
---|---|---|
2.1B | - | Extended drouth with or without heavy grazing |
2.2A | - | Return to average precipitation with light to moderate grazing |
2.2B | - | Prolonged drought with or without heavy grazing |
2.3A | - | Return to average precipitation with light to moderate grazing |
State 3 submodel, plant communities
State 4 submodel, plant communities
4.1A | - | Long-term non-use, and no fire |
---|---|---|
4.2A | - | Long-term no fire with long-term prescribed grazing and prescribed burning |