

Natural Resources
Conservation Service
Ecological site R055AY040ND
Limy Subirrigated
Last updated: 5/08/2025
Accessed: 10/18/2025
General information
Provisional. A provisional ecological site description has undergone quality control and quality assurance review. It contains a working state and transition model and enough information to identify the ecological site.
MLRA notes
Major Land Resource Area (MLRA): 055A–Northern Black Glaciated Plains
The Northern Black Glaciated Plains MLRA is an expansive and agriculturally important region consisting of 8,200,000 acres and including all or a portion of 16 counties in north-central and northeast North Dakota.
Nearly all MLRA 55A is covered by till: material that was moved and redeposited by the glaciers. Pre-glaciated bedrock (shale) is exposed in some of the deeper valleys and at the edges of some hills; but what covers the bedrock is glacier sediment, known as drift. These areas have the Late Wisconsin age till plain integrated drainage system in contrast to the closed drainage of the majority of the till plain and moraines. The Drift Prairie Region consists of nearly level to gently rolling glacial till plains dissected by glacial outwash channels. Five rivers flow through parts of the MLRA. The Souris (also known as Mouse) River meanders across the Canadian border through Renville and Ward counties; it then loops east through McHenry County and north through Bottineau County returning to Canada. The Des Lacs River flows southward from Canada through Burke, southwest Renville, and Ward counties where it joins the Souris River. Along the eastern edge of the MLRA the Pembina River, Park River, and Forest River flow eastward to join the Red River. Some soils along these rivers have weathered shale beds in the substratum.
This region is utilized mostly by farms and ranches; about 80 percent is cropland that is dry-farmed. Cash-grain, bean and oil production crops are the principal enterprise on many farms, but other feed grains and hay are also grown. The vegetation on the steeper slopes and thinner (or sandy) soils is still native rangeland. About 3 percent of this area is forested. The most extensive areas of forest are in the Turtle Mountains, Pembina Gorge and Hills, and on the moraines in proximity to Devils Lake.
Classification relationships
Level IV Ecoregions of the Conterminous United States: 46a – Pembina Escarpment; 46b – Turtle Mountains; 46c – Glacial Lake Basins; 46d – Glacial Lake Deltas; 46f – End Moraine Complex; 46g – Northern Black Prairie; 46i – Drift Plains; and 46j – Glacial Outwash.
Ecological site concept
The Limy Subirrigated ecological site is located on low-relief areas of till plains, lake plains, outwash plains, and sand plains - on flats, slight rises, and slightly convex slopes adjacent to shallow depressions. In addition, it occurs on some low terraces of drainageways. The soils are very deep. The dark-colored surface soil is more than 7 inches thick and typically has calcium carbonate (slight to moderate effervescence). The subsoil is highly calcareous (violent effervescence) within a depth of 16 inches. The soils are somewhat poorly drained; redoximorphic features typically occur at a depth between 18 and 30 inches. Carbonate accumulation and a seasonal high-water table are the primary factors used in identifying this site. All textures are included in the site. Soil salinity, typically, is none to slight to a depth of >16 inches; however, a Salinized State is recognized in the State and Transition Model. Sodicity is also low to a depth >16 inches. Slopes range from 0 to 3 percent. On the landscape, this site is below the Loamy and Subirrigated Sands ecological sites and above the Saline Lowland, Wet Meadow, Shallow Marsh, and Sodic Subirrigated sites. The Subirrigated ecological site has concave slopes; it does not have a highly calcareous subsoil within a depth of 16 inches.
To see a full copy of the ecological site description with all tables and the full version 5 rangeland health worksheet. Please use the following hyperlink:
https://efotg.sc.egov.usda.gov/references/public/ND/55A_Limy_Subirrigated_Narrative_FINAL_Ref_FSG.pdf
Associated sites
R055AY055ND |
Wet Meadow This poorly drained site occurs in depressions and slightly below Limy Subirrigated on flats. A seasonal high-water table is typically within a depth of 1.5 feet during the months of April through June; in depressions, it is frequently ponded (typically <1.5 feet) in April and May. It typically has redoximorphic features within a depth of 18 inches. Some soils are highly calcareous. It is non-saline to slightly saline (E.C. <8 dS/m) in the surface and subsoil layers. All textures are included in this site. |
---|---|
R055AY049ND |
Subirrigated Sands This site occurs on slightly higher, better drained positions on sand plains and outwash plains. It is not highly calcareous in the surface or upper subsoil layers. |
R055AY054ND |
Shallow Marsh This site occurs in deep depressions which have frequent ponding through most of the growing season. All textures are included in this site. |
R055AY042ND |
Saline Lowland This poorly drained site occurs on slightly lower landscape positions. It has an accumulation of salts in the surface and subsoil layer (E.C. >8 dS/m). A claypan is allowed. All textures are included in this site. |
R055AY047ND |
Loamy This site occurs on somewhat higher, better drained positions on till plains and lake plains. Depth to redoximorphic features is >30inches. The surface and upper subsoil are typically non-calcareous; depth to strong or violent effervescence >8 inches. The surface layer and subsoil form a ribbon 1 to 2 inches long. |
R055AY048ND |
Subirrigated This site occurs on concave flats and in shallow depressions which have occasional, brief ponding early in the growing season. It is >16 inches to a highly calcareous subsoil. All textures are included in this site. |
R055AY058ND |
Sodic Subirrigated This site occurs on poorly drained landscape positions on sand plains. Redoximorphic features occur within a depth of 18 inches. The soil has a dense, sodic claypan. The surface layer and upper part of subsoil do not have significant salt accumulations (E.C. <8). |
Similar sites
R055AY048ND |
Subirrigated This site occurs on concave flats and in shallow depressions which have occasional, brief ponding early in the growing season. It is >16 inches to a highly calcareous subsoil. All textures are included in this site. |
---|---|
R055AY042ND |
Saline Lowland This poorly drained site occurs on slightly lower landscape positions. It has an accumulation of salts in the surface and subsoil layer (E.C. >8 dS/m). A claypan is allowed. All textures are included in this site. |
Table 1. Dominant plant species
Tree |
Not specified |
---|---|
Shrub |
Not specified |
Herbaceous |
(1) Schizachyrium scoparium |
Physiographic features
This site typically occurs on till plains, lake plains, outwash plains, and sand plains where they are on flats, slight rises, and on slightly convex slopes adjacent to shallow depressions. In addition, it occurs on some low terraces of drainageways; flooding on these drainageways is rare to occasional with a brief duration. The subsurface hydrology of this site has been considered more determinative of the plant community than landform or soils variability; further investigation and documentation of the landform/soils/hydrology/plant relationship is needed. Slopes are less than 3 percent.
Table 2. Representative physiographic features
Landforms |
(1)
Ground moraine
(2) Lake plain (3) Outwash plain (4) Drainageway |
---|---|
Runoff class | Negligible to low |
Flooding duration | Brief (2 to 7 days) |
Flooding frequency | None to occasional |
Ponding frequency | None |
Elevation | 950 – 2,525 ft |
Slope | 3% |
Water table depth | 18 – 42 in |
Aspect | Aspect is not a significant factor |
Climatic features
MLRA 55A is considered to have a continental climate with cold winters and hot summers, low humidity, light rainfall, and much sunshine. Extremes in temperature are common and characteristic of MLRA 55A. The continental climate is the result of the location of this MLRA in the geographic center of North America. There are few natural barriers on the northern Great Plains, so air masses move unobstructed across the plains and account for rapid changes in temperature.
The average annual precipitation is 17 to 19 inches (432 to 483 millimeters). The normal average annual temperature is 36⁰ to 41⁰ F (2⁰ to 5⁰ C). January is the coldest month with an average low temperature of about ⁻ 3⁰ F (⁻19⁰ C). July is the warmest month with an average high temperature of about 80⁰ F (27⁰ C).
About 75 percent of the rainfall occurs as high-intensity, convective thunderstorms during the growing season. Winter precipitation is typically snow. The annual snowfall is 25 to 50 inches (635 to 1,270 millimeters). The frost-free period averages 101 days and ranges from 108 days to 92 days. The freeze-free period averages 124 days and ranges from 128 to 119 days.
Growth of native cool-season plants begins in mid-April and continues to mid-July. Native warm-season plants begin growth in late May and continue to the end of August. Green-up of cool-season plants can occur in September and October when adequate soil moisture is present.
Long-term climate data is lacking for Turtle Mountain; however, annual precipitation for the International Peace Garden averaged 27.7 inches (704 millimeters) from 1967-1970 while that for Boissevain, Manitoba averaged 17.1 inches (434 millimeters). Turtle Mountain likely has greater precipitation, cooler temperatures and less evapotranspiration than the adjacent plains.
Table 3. Representative climatic features
Frost-free period (characteristic range) | 92-109 days |
---|---|
Freeze-free period (characteristic range) | 119-128 days |
Precipitation total (characteristic range) | 17-19 in |
Frost-free period (actual range) | 88-112 days |
Freeze-free period (actual range) | 116-132 days |
Precipitation total (actual range) | 17-20 in |
Frost-free period (average) | 101 days |
Freeze-free period (average) | 124 days |
Precipitation total (average) | 18 in |
Figure 1. Monthly precipitation range
Figure 2. Monthly minimum temperature range
Figure 3. Monthly maximum temperature range
Figure 4. Monthly average minimum and maximum temperature
Figure 5. Annual precipitation pattern
Figure 6. Annual average temperature pattern
Climate stations used
-
(1) DRAKE 9 NE [USC00322304], Drake, ND
-
(2) EDMORE 1NW [USC00322525], Edmore, ND
-
(3) MINOT EXP STN [USC00325993], Minot, ND
-
(4) TOWNER 2 NE [USC00328792], Towner, ND
-
(5) WILLOW CITY [USC00329445], Willow City, ND
-
(6) DEVILS LAKE KDLR [USW00014912], Devils Lake, ND
-
(7) BOTTINEAU [USC00320941], Bottineau, ND
-
(8) GRANVILLE [USC00323686], Granville, ND
-
(9) HANSBORO 4 NNE [USC00323963], Hansboro, ND
-
(10) LANGDON EXP FARM [USC00324958], Langdon, ND
-
(11) VELVA 3NE [USC00328990], Velva, ND
-
(12) WESTHOPE [USC00329333], Westhope, ND
-
(13) UPHAM 3 N [USC00328913], Upham, ND
-
(14) MINOT INTL AP [USW00024013], Minot, ND
-
(15) LEEDS [USC00325078], Leeds, ND
-
(16) MOHALL [USC00326025], Mohall, ND
-
(17) ROLLA 1NE [USC00327664], Rolla, ND
-
(18) RUGBY [USC00327704], Rugby, ND
-
(19) CROSBY [USC00321871], Crosby, ND
-
(20) BOWBELLS [USC00320961], Bowbells, ND
Influencing water features
This Limy Subirrigated site does receive additional water from a seasonal high water table. The high level of carbonates near the surface indicates that the soils formed with a dominantly upward direction of water movement through the soil. During the growing season, water table depths typically are 1.5 to 3.5 feet during April through June. As a result of evapotranspiration and reduced precipitation, the water table lowers to 4 to 6 feet during July and August. It commonly starts to rise again in the fall (commonly at 2.5 to 5 feet during September through November). Surface infiltration rates range from moderately slow to rapid. Saturated hydraulic conductivity through the profile typically is moderately high or high, but is very high in the substratum of some coarse-textured soils. Water loss on this site is through evapotranspiration.
Wetland description
Not Applicable.
Soil features
Soils associated with this site are in the Mollisol order and are classified further as Aeric Calciaquolls. These soils were developed under prairie vegetation. Typically, they formed in glacial till, glaciolacustrine sediments, glaciofluvial deposits, or eolian deposits; a few formed in alluvium along drainageways.
The common features of soils in this site are a highly calcareous subsoil within a depth of 16 inches and a seasonal high water table which contributes additional water for transpiration. This site is somewhat poorly drained – redoximorphic features typically occur at a depth between 18 and 30 inches. These soils are very deep. Since sub-surface hydrology and calcium carbonate accumulation are the primary factors used in identifying this site, all textures are included. Therefore, soil physical properties associated with texture vary widely.
Soil salinity is none to slight (E.C. <8) to a depth >30 inches; sodicity is also low to that depth. Both salinity and sodicity may increase to moderate below that depth in some moderately fine to moderately coarse textured soils.
Soil reaction typically is neutral to moderately alkaline (pH 6.6 to 8.4) in the surface layer and slightly or moderately alkaline (pH 7.4 to 8.4) below. The soil is highly calcareous within a depth 16 inches. Calcium carbonate content is typically less than 15 percent in the surface layer. It is commonly 15 to 45 percent in the highly calcareous subsoil; however, in sandy soils, this layer may have 5 to 15 percent carbonates. Calcium carbonate content decreases in the substratum.
Soils on this site are moderately susceptible to highly susceptible to wind erosion. This site should show slight to no evidence of rills, wind-scoured areas, or pedestaled plants. No water flow paths are seen on this site. The soil surface is stable and intact.
Access Web Soil Survey ( https://websoilsurvey.sc.egov.usda.gov/App/WebSoilSurvey.aspx ) for specific local soils information.
Major soil series correlated to the Limy Subirrigated site are: Bearden, Divide, Fram, Gilby, Glyndon, Hamerly, Karlsruhe, Ulen, Wyndmere, and Wyrene.
Table 4. Representative soil features
Parent material |
(1)
Till
(2) Glaciofluvial deposits (3) Glaciolacustrine deposits (4) Eolian deposits (5) Alluvium |
---|---|
Surface texture |
(1) Loam (2) Silt loam (3) Fine sandy loam (4) Coarse sandy loam (5) Loamy fine sand (6) Silty clay loam |
Drainage class | Somewhat poorly drained |
Permeability class | Moderately slow to moderately rapid |
Depth to restrictive layer | 80 in |
Soil depth | 80 in |
Surface fragment cover <=3" | 14% |
Surface fragment cover >3" | 2% |
Available water capacity (0-40in) |
3 – 12 in |
Calcium carbonate equivalent (0-40in) |
5 – 45% |
Electrical conductivity (0-40in) |
8 mmhos/cm |
Sodium adsorption ratio (0-40in) |
5 |
Soil reaction (1:1 water) (0-40in) |
6.6 – 8.4 |
Subsurface fragment volume <=3" (Depth not specified) |
35% |
Subsurface fragment volume >3" (Depth not specified) |
3% |
Ecological dynamics
This ecological site description is based on nonequilibrium ecology and resilience theory and utilizes a State-and-Transition Model (STM) diagram to organize and communicate information about ecosystem change as a basis for management. The ecological dynamics characterized by the STM diagram reflect how changes in ecological drivers, feedback mechanisms, and controlling variables can maintain or induce changes in plant community composition (phases and/or states). The application of various management actions, combined with weather variables, impact the ecological processes which influence the competitive interactions, thereby maintaining or altering plant community structure.
Prior to European influence, the historical disturbance regime for MLRA 55A included frequent fires, both anthropogenic and natural in origin. Most fires, however, were anthropogenic fires set by Native Americans. Native Americans set fires in all months except perhaps January. These fires occurred in two peak periods, one from March-May with the peak in April and another from July-November with the peak occurring in October. Most of these fires were scattered and of small extent and duration.
The grazing history would have involved grazing and browsing by large herbivores (such as American bison, elk, and whitetail deer). Herbivory by small mammals, insects, nematodes, and other invertebrates are also important factors influencing the production and composition of the communities. Grazing and fire interaction, particularly when coupled with drought events, influenced the dynamics discussed and displayed in the following state and transition diagram and descriptions.
Following European influence, this ecological site generally has had a history of grazing by domestic livestock, particularly cattle, which along with other related activities (e.g., fencing, water development, fire suppression) has changed the disturbance regime of the site. Changes will occur in the plant communities due to these and other factors.
Weather fluctuations coupled with managerial factors may lead to changes in the plant communities and may, under adverse impacts, result in a slow decline in vegetative vigor and composition. However, under favorable conditions the botanical composition may resemble that prior to European influence.
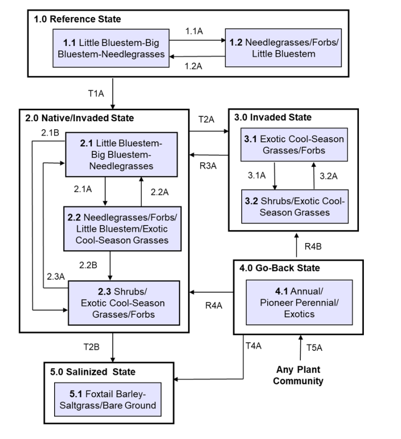
Five vegetative states have been identified for the site (Reference, Native/Invaded, Invaded, Go-Back, and Salinized). Within each state, one or more community phases have been identified. These community phases are named based on the more dominant and visually conspicuous species; they have been determined by study of historical documents, relict areas, scientific studies, and ecological aspects of plant species and plant communities. Transitional pathways and thresholds have been determined through similar methods.
State 1: Reference State represents the natural range of variability that dominated the dynamics of this ecological site prior to European influence. Dynamics of the state were largely determined by variations in climate and weather (e.g., drought), as well as that of fire (e.g., timing, frequency) and grazing by native herbivores (e.g., frequency, intensity, selectivity). Due to those variations, the Reference State is thought to have shifted temporally and spatially between two plant community phases.
Currently, the primary disturbances include widespread introduction of exotic plants, concentrated livestock grazing, lack of fire, and perhaps long-term non-use and no fire. Because of these changes, particularly the widespread occurrence of exotic plants (as well as other environmental changes), the Reference State is considered to no longer exist. Thus, the presence of exotic plants on the site precludes it from being placed in the Reference State. It must then be placed in one of the other states, commonly State 2: Native/Invaded State (T1A).
State 2: Native/Invaded State. Colonization of the site by exotic plants results in a transition from State 1: Reference State to State 2: Native/Invaded State (T1A). This transition was inevitable; it often resulted from colonization by exotic cool-season grasses (e.g., Kentucky bluegrass, smooth brome, quackgrass) which have been particularly and consistently invasive under long-term non-use or very light grazing, and no fire. Other exotics (e.g., Canada thistle, leafy spurge) are also known to invade the site.
Three community phases have been identified for this state; they are similar to the community phases in the Reference State but have now been invaded by exotic cool-season grasses. These exotic cool- season grasses can be expected to increase. As that increase occurs, plants more desirable to wildlife and livestock can decline. A decline in forb diversity can also be expected. Under non-use or minimal use management, mulch increases and may become a physical barrier to plant growth. This also changes the micro-climate near the soil surface and may alter infiltration, nutrient cycling, and biological activity near the soil surface. As a result, these factors coupled with shading cause desirable native plants to have increasing difficulty remaining viable and recruitment declines.
To slow or limit the invasion of these exotic cool-season grasses or other exotic plants, it is imperative that managerial techniques (e.g., prescribed grazing, prescribed burning) be carefully constructed, monitored, and evaluated with respect to that objective. If management does not include measures to control or reduce these exotic plants, the transition to State 3: Invaded State should be expected (T2A). Long-term heavy grazing or annual haying will lead to the transition to State 5: Salinized State (T2B).
State 3: Invaded State. The threshold for this state is reached when both the exotic cool-season grasses (e.g., Kentucky bluegrass, smooth brome, quackgrass) exceed 30% of the plant community and native grasses represent less than 40% of the community. Two community phases have been identified for this state - one dominated by exotic, cool-season grasses and one dominated by shrubs (commonly willows).
The exotic cool-season grasses can be quite invasive and often form monotypic stands. As they increase, both forage quantity and quality of the annual production becomes increasingly restricted to late spring and early summer, even though annual production may increase. Forb diversity often declines. Under non-use or minimal use management, mulch can increase and become a physical barrier to plant growth which alters nutrient cycling, infiltration, and soil biological activity. As such, desirable native plants become increasingly displaced.
Once the state is well established, prescribed burning and prescribed grazing techniques have been largely ineffective in suppressing or eliminating the exotic cool-season grasses, even though some short-term reductions may appear successful. However, assuming there is an adequate component of native grasses to respond to treatments, a restoration pathway to State 2: Native/Invaded State may be accomplished with the implementation of long-term prescribed grazing in conjunction with prescribed burning (R3A).
State 4: Go-Back State often results following cropland abandonment and consists of only one plant community phase. This weedy assemblage may include noxious weeds that need control. Over time, the exotic cool-season grasses (e.g., Kentucky bluegrass, smooth brome, quackgrass) will likely predominate.
Initially, due to extensive bare ground and a preponderance of shallow rooted annual plants, the potential for soil erosion is high. Plant species richness may be high, but overall diversity (i.e., equitability) is typically low, with the site dominated by a relatively small assemblage of species.
Due to the lack of native perennials and other factors, restoring the site with the associated ecological processes is difficult. However, a successful range planting may result in something approaching State 2: Native/Invaded State (R4A). Following establishment, prescribed grazing, prescribed burning, haying, and the use of herbicides will generally be necessary to achieve the desired result and control weeds, some of which may be noxious weeds. A failed range planting and/or secondary succession will lead to State 3: Invaded State (R4B). The cessation of annual cropping with E.C. >8 dS/m, with no range planting or failed range planting will result in the transition to State 5: Salinized State (T4A).
State 5.0: Salinized State often results from long-term overgrazing or annual haying on high-water table soils. This leads to an increase in lower statured shallow-rooted plants, decreased litter, increased bare ground, resulting in decreased transpiration and increased evaporation resulting in increased upward water movement to the soil surface through capillary rise. Water evaporates and soluble salts accumulate. Salinity greater than 8 dS/m favors foxtail barley, salt grass, and bare ground. The site remains somewhat poorly drained.
(See Image 1 Below) Diagram depicts water movement, capillary rise on high water table soils. In silt loam soils, this rise can reach eight to nine feet above the water table. In sandy soils, which have larger pore sizes between soil particles, the capillary rise is less, perhaps reaching 1.5 to 2 feet above the water table. Water movement toward the surface due to capillary rise provides a continuous supply of soluble salts which accumulate in the root zone or at the soil surface as the capillary water evaporates.
(See Image 2 Below) Diagram depicts water movement (surface and subsurface) from Wet Meadow/Shallow Marsh and adjacent upland site to the State 5.0 Salinized State of a Limy Subirrigated ecological site. Increased salinity levels will make establishment of grasses and forbs more difficult.
Increased salinity is the main driver for the transition to State 5.0 Salinized State of a Limy Subirrigated ecological site. Increased salinity levels favor salt tolerant vegetation and will make perennial vegetation establishment more difficult. State 5.0: Salinized State also occurs along the upland boundary of wetlands. Long term overgrazing or total removal of vegetation (cropping) along the wetland edge increases evaporation with less transpiration; this brings salts to the soil surface increasing surface salinity. This salinization process can be exasperated by cropping the recharge areas around the wetland.
Woody Invasion. Historically, individual (or small patches of) shrubs and/or trees were scattered across the site. However, a marked increase in fire suppression, climate change, increase in non- use, and other factors enabled woody species to colonize, form patches (resistant to fire), and begin to or encroach on the site. These changes have enabled these patches to expand and become more widespread. Encroachment of both native and exotic woody species (e.g., Rocky Mountain juniper, Russian olive, Siberian elm, western snowberry, silverberry, ponderosa pine, eastern red cedar, etc.) are examples of woody vegetation increasing in extent and impinging on the ecological integrity of the grassland biome. Windbreaks and other tree plantings can contain problematic and invasive species (eastern redcedar, Rocky Mountain juniper, ponderosa pine, Russian olive, etc.) which can contaminate surrounding grasslands. This results in increased long-term costs to maintain or restore this ecological site in native grasses and forbs.
The following state and transition model diagram illustrates the common states, community phases, community pathways, and transition and restoration pathways that can occur on the site. These are the most common plant community phases and states based on current knowledge and experience; changes may be made as more data are collected. Pathway narratives describing the site’s ecological dynamics reference various management practices (e.g., prescribed grazing, prescribed fire, brush management, herbaceous weed treatment) which, if properly designed and implemented, will positively influence plant community competitive interactions. The design of these management practices will be site specific and should be developed by knowledgeable individuals; based upon management goals and a resource inventory; and supported by an ongoing monitoring protocol.
When the management goal is to maintain an existing plant community phase or restore to another phase within the same state, modification of existing management to ensure native species have the competitive advantage may be required. To restore a previous state, the application of two or more management practices in an ongoing manner will be required. Whether using prescribed grazing, prescribed burning, or a combination of both with or without additional practices (e.g., brush management), the timing and method of application needs to favor the native species over the exotic species. Adjustments to account for variations in annual growing conditions and implementing an ongoing monitoring protocol to track changes and adjust management inputs to ensure desired outcome will be necessary.
The plant community phase composition table(s) has been developed from the best available knowledge including research, historical records, clipping studies, and inventory records. As more data are collected, plant community species composition and production information may be revised.
State and transition model

Figure 7. Water movement toward the surface due to capillary rise provides a continuous supply of soluble salts which accumulate in the root zone or at the soil surface as the capillary water evaporates.

Figure 8. Diagram depicts water movement from Wet Meadow/Shallow Marsh and adjacent upland site to the State 5.0 Salinized State of a Limy Subirrigated ecological site. Increased salinity levels will make establishment of grasses and forbs more difficult.


More interactive model formats are also available.
View Interactive Models
More interactive model formats are also available.
View Interactive Models
Click on state and transition labels to scroll to the respective text
Ecosystem states
States 2 and 5 (additional transitions)
T1A | - | Introduction of exotic cool-season grasses |
---|---|---|
T2A | - | Extended periods of non-use or very light grazing, heavy season-long grazing, no fire |
T2B | - | Long-term heavy grazing or annual haying |
R3A | - | Long term prescribed grazing with prescribed burning |
R4A | - | Successful range planting |
R4B | - | Failed range planting |
T4A | - | Cessation of annual cropping with EC>8, no range planting or failed range planting |
T5A | - | Cessation of cropping. |
State 1 submodel, plant communities
1.1A | - | Multiyear drought with/without heavy, long-term grazing |
---|---|---|
1.2A | - | Return to average precipitation |
State 2 submodel, plant communities
2.1A | - | Heavy season-long grazing or no-use |
---|---|---|
2.1B | - | Long-term non-use or very light grazing, and no fire. |
2.2A | - | Prescribed grazing with prescribed burning |
2.2B | - | Heavy season-long grazing |
2.3A | - | Long-term prescribed grazing with prescribed burning |
State 3 submodel, plant communities
3.1A | - | Long-term non-use or very light grazing, and no fire |
---|---|---|
3.2A | - | Long-term prescribed burning and/or chemical/mechanical brush management |
State 4 submodel, plant communities
State 5 submodel, plant communities
State 6 submodel, plant communities
State 1
Reference State
This state represents the natural range of variability that dominated the dynamics of this ecological site prior to European influence. The primary disturbance mechanisms for this site in the reference condition included frequent fire and grazing by large herding ungulates. Timing of fires and grazing, coupled with weather events, dictated the dynamics that occurred within the natural range of variability. These factors likely caused the community to shift both spatially and temporally between two community phases.
Characteristics and indicators. Because of changes in disturbances and other environmental factors (particularly the widespread occurrence of exotic species), the Reference State is considered to no longer exist.
Resilience management. If intact, the reference state should probably be managed with current disturbance regimes which has permitted the site to remain in reference condition, as well as maintaining the quality and integrity of associated ecological sites. Maintenance of the reference condition is contingent upon a monitoring protocol to guide management.
Community 1.1
Little Bluestem-Big Bluestem-Needlegrass (Schizachyrium scoparium-Andropogon gerardii-Hesperostipa spp., Nasella viridula)
This community phase was historically the most dominant both temporally and spatially; it was dominated by tall and mid warm-season grasses. The major warm-season grasses included little bluestem, big bluestem, switchgrass, and Indiangrass. Major cool-season graminoids were porcupinegrass, green needlegrass, wheatgrasses, and sedges. Sunflowers, goldenrods, white heath aster, common yarrow, and white sagebrush were among the more common forbs. Prairie rose and western snowberry were common shrubs. Annual production likely varied from about 3000-5500 pounds per acre with grasses and grass-likes, forbs, and shrubs contributing about 85%, 10% and 5%, respectively. Both warm-season and cool- season grasses are represented in the community; as a result, production was distributed throughout the growing season. This community represents the plant community phase upon which interpretations are primarily based and is described in the “Plant Community Composition and Group Annual Production” portion of this ecological site description.
Figure 9. Annual production by plant type (representative values) or group (midpoint values)
Table 5. Annual production by plant type
Plant type | Low (lb/acre) |
Representative value (lb/acre) |
High (lb/acre) |
---|---|---|---|
Grass/Grasslike | 2635 | 3485 | 4760 |
Forb | 310 | 410 | 560 |
Shrub/Vine | 155 | 205 | 280 |
Total | 3100 | 4100 | 5600 |
Figure 10. Plant community growth curve (percent production by month). ND5504, Central Black Glaciated Plains, warm-season dominant, cool-season sub-dominant.. Warm-season dominant, cool-season sub-dominant..
Jan | Feb | Mar | Apr | May | Jun | Jul | Aug | Sep | Oct | Nov | Dec |
---|---|---|---|---|---|---|---|---|---|---|---|
J | F | M | A | M | J | J | A | S | O | N | D |
0 | 0 | 1 | 5 | 20 | 38 | 25 | 8 | 3 | 0 | 0 | 0 |
Community 1.2
Needlegrasses/ Forbs/ Little Bluestem (Hesperostipa spp., Nassella viridula/ Forbs/ Schizachyrium scoparium)
This community phase formed during multiyear drought with or without heavy, long-term grazing. This resulted in marked increases in the needlegrasses and forbs and corresponding declines in big bluestem, little bluestem, and annual production compared to Community Phase 1.1.
Pathway 1.1A
Community 1.1 to 1.2
Community Phase Pathway 1.1 to 1.2 occurred with multiyear drought with or without heavy, long- term grazing. This led to marked decreases in big bluestem and little bluestem with corresponding increases in the needlegrasses and forbs
Pathway 1.2A
Community 1.2 to 1.1
Community Phase Pathway 1.2 to 1.1 occurred with the return to average precipitation. This led to marked increases in big bluestem and little bluestem with corresponding decreases in the needlegrasses and forbs.
State 2
Native/Invaded State
This state is similar to State 1: Reference State but has now been colonized by the exotic cool-season grasses (e.g., Kentucky bluegrass, smooth brome, quackgrass) which are now present in small amounts. Although the state is still dominated by native grasses, an increase in these exotic cool- season grasses can be expected. These exotic cool-season grasses can be quite invasive on the site and are particularly well adapted to heavy grazing. They also often form monotypic stands. As these exotic cool-season grasses increase, both forage quantity and quality become increasingly restricted to late spring and early summer due to the monotypic nature of the stand, even though annual production may increase. Native forbs generally decrease in production, abundance, diversity, and richness compared to that of State 1: Reference State. These exotic cool-season grasses have been particularly and consistently invasive under extended periods of non-use or very light grazing, and no fire. To slow or limit the invasion of these exotic cool- season grasses, it is imperative that managerial techniques (e.g., prescribed grazing, prescribed burning) be carefully constructed, monitored, and evaluated with respect to that objective. If management does not include measures to control or reduce these exotic cool-season grasses, the transition to State 3: Invaded State should be expected. Annual production of this state can be quite variable, in large part due to the amount of exotic cool- season grasses. However, as the exotic cool-season grasses increase, peak production will shift to earlier in the growing season. .
Characteristics and indicators. The presence of trace amounts of exotic cool-season grasses indicates a transition from State 1 to State 2. The presence of exotic biennial or perennial leguminous forbs (i.e., sweet clover, black medic) may not, on their own, indicate a transition from State 1 to State 2 but may facilitate that transition.
Resilience management. To slow or limit the invasion of these exotic grasses, it is imperative that managerial options (e.g., prescribed grazing, prescribed burning) be carefully constructed and evaluated with respect to that objective. Grazing management should be applied that enhances the competitive advantage of native grass and forb species. This may include: (1) grazing when exotic cool-season grasses are actively growing and native cool-season grasses are dormant; (2) applying proper deferment periods allowing native grasses to recover and maintain or improve vigor; (3) adjusting overall grazing intensity to reduce excessive plant litter (above that needed for rangeland health indicator #14 – see Rangeland Health Reference Worksheet); (4) incorporating early heavy spring utilization which focuses grazing pressure on exotic cool-season grasses and reduces plant litter, provided that livestock are moved when grazing selection shifts from exotic cool-season grasses to native grasses. Prescribed burning should be applied in a manner that maintains or enhances the competitive advantage of native grass and forb species. Prescribed burns should be applied as needed to adequately reduce/remove excessive plant litter and maintain the competitive advantage for native species. Timing of prescribed burns (spring vs. summer vs. fall) should be adjusted to account for differences in annual growing conditions and applied during windows of opportunity to best shift the competitive advantage to the native species.
Community 2.1
Community Phase 2.1: Little Bluestem-Big Bluestem-Needlegrass (Schizachyrium scoparium-Andropogon gerardii-Hesperostipa spp., Nasella viridula)

Figure 11. Photo depicting plant community 2.1.Little Bluestem-Big Bluestem-Needlegrass
This community phase closely resembles Community Phase 1.1 but the exotic cool-season grasses (e.g., Kentucky bluegrass, smooth brome, quackgrass) have become minor components of the community. This community phase is dominated by tall and mid warm-season grasses and mid cool-season grasses (such as little bluestem and big bluestem) along with porcupinegrass and green needlegrass. Other graminoids include switchgrass, Indiangrass, sideoats grama, western wheatgrass, slender wheatgrass, and sedges. A variety of native perennial forbs are generally present in small amounts and may include American licorice, white heath aster, stiff goldenrod, stiff sunflower, Maximillian sunflower, and Canadian anemone. This warm-season grass dominated community may be maintained with prescribed grazing systems that allow for adequate recovery periods following grazing events and, perhaps, a combination of prescribed grazing and prescribed burning which closely mimics the natural disturbance regime. Continued invasion by the exotic cool-season grasses may lead to the transition to the State 3: Invaded State.
Community 2.2
Little Bluestem-Exotic Grasses/ Forbs (Schizachyrium scoparium-Exotic Grasses/ Forbs)
This community phase occurs when grazing has caused a reduction of the tall, less grazing tolerant species (such as big bluestem) and corresponding increases in the shorter more grazing tolerant species and the exotic cool-season grasses. Exotic grasses (such as Kentucky bluegrass, smooth bromes, and/or quackgrass) increase markedly. In the early stages of this community phase, little bluestem initially increases but, with inadequate recovery periods, it eventually decreases. As such, peak production shifts to earlier in the growing season due to the increase in exotic cool-season grasses. Major graminoids of this community phase include little bluestem, green needlegrass, western wheatgrass, slender wheatgrass, Kentucky bluegrass and sedges. Other grasses present include big bluestem, switchgrass, porcupinegrass, and sideoats grama. Common forbs include American licorice, white sagebrush, goldenrod, silverleaf Indian breadroot, and common yarrow. Western snowberry and prairie rose are the principal shrubs. This community phase is often dispersed throughout a pasture in an overgrazed/ undergrazed pattern, typically referred to as patch grazing. Some overgrazed areas will exhibit the impacts of heavy use, while the ungrazed areas will have a build-up of litter and increased plant decadence. This is a typical pattern found in properly stocked pastures grazed season-long. As a result, Kentucky bluegrass tends to increase more in the undergrazed areas while the more grazing tolerant short-statured species, such as blue grama and sedges, increase in the heavily grazed areas. If present, Kentucky bluegrass may increase under heavy grazing. This community phase is approaching the threshold leading to a transition to State 3: Invaded State. As a result, it is an “at risk” community. If management does not include measures to control or reduce these exotic cool-season grasses, the transition to State 3: Invaded State should be expected. However, implementation of prescribed grazing and/or prescribed burning may move the community back to Community Phase 2.1 Little Bluestem-Big Bluestem-Needlegrass.
Community 2.3
Shrubs/Exotic Grasses/Forbs
This community phase is dominated by western snowberry, prairie rose, chokecherry, redosier dogwood, and willows alone or in combination. Native graminoids continue to decline while the exotic cool-season grasses increase. Forbs are few and may include goldenrods, silverweed cinquefoil, scouring rush, common yarrow, Flodman’s thistle, and others.
Pathway 2.1A
Community 2.1 to 2.2
Community Phase Pathway 2.1 to 2.2 often occurs with heavy season-long grazing or no use. This pathway may also result from grazing without adequate recovery periods. Along this pathway, the timing of peak production will shift to earlier in the growing season due to the increase in exotic cool-season grasses. Along this pathway a changes in plant composition leads to decrease in total production as well as the production and diversity of native plants.
Pathway 2.1B
Community 2.1 to 2.3
Community Phase Pathway 2.1 to 2.3 often occurs with long-term non-use or very light grazing, and no fire. This results in a marked increase in the exotic cool-season grasses and a corresponding decrease in native grasses, particularly warm-season species.
Pathway 2.2A
Community 2.2 to 2.1
Community Phase Pathway 2.2 to 2.1 is initiated by implementation of prescribed burning and prescribed grazing which includes adequate recovery periods following each grazing event, and stocking levels which match the available resources. If properly implemented, this will shift the competitive advantage from the introduced cool-season grasses to the tall and mid warm-season grasses such as big bluestem and little bluestem. The implementation of prescribed burning may expedite this shift as opposed to only prescribed grazing.
Pathway 2.2B
Community 2.2 to 2.3
Community Phase Pathway 2.2 to 2.3 occurs under extended periods of heavy season-long grazing which results in a reduction of the native grasses and corresponding increase in the shrubs such as western snowberry, exotic cool-season grasses, and forbs.
Pathway 2.3A
Community 2.3 to 2.1
Community Phase Pathway 2.3 to 2.1 occurs with long-term prescribed burning and prescribed grazing to reduce the shrub component and stimulate the native grasses. Because many of the shrubs sprout vigorously following one burn, repeated treatments are generally necessary (e.g., three burns in three years).
State 3
Invaded State
This state is the result of invasion and dominance by the exotic cool-season grasses (e.g., Kentucky bluegrass, smooth brome, quackgrass). Other exotic plants (e.g., leafy spurge) may also invade the site. These exotic cool-season grasses can be quite invasive on the site and are particularly well adapted to heavy grazing. They also often form monotypic stands. As these exotic cool-season grasses increase, both forage quantity and quality become increasingly restricted to late spring and early summer due to the monotypic nature of the stand, even though annual production may increase. Native forbs generally decrease in production, abundance, diversity, and richness compared to that of State 1: Reference State. Common forbs often include white heath aster, goldenrod, common yarrow, and white sagebrush. Native shrubs (e.g., willow, western snowberry), as well as native trees (e.g., plains cottonwood, quaking aspen) and exotics (e.g., Siberian elm, Russian olive), may also become prominent on the site. Once the state is well established, prescribed burning and grazing techniques have been largely ineffective in suppressing or eliminating these species, even though some short- term reductions may appear successful. Annual production of this state may vary widely, in part due to variations in the extent of invasion by exotic cool-season grasses. However, as the exotic cool-season grasses increase, annual production will shift to earlier in the growing season.
Characteristics and indicators. This site is characterized by exotic cool-season grasses constituting greater than 30 percent of the annual production and native grasses constituting less than 40 percent of the annual production.
Resilience management. Light or moderately stocked continuous, season-long grazing or a prescribed grazing system which incorporates adequate deferment periods between grazing events and proper stocking rate levels will maintain this State. Application of herbaceous weed treatment, occasional prescribed burning and/or brush management may be needed to manage noxious weeds and increasing shrub (e.g., western snowberry) populations.
Community 3.1
Exotic Cool-Season Grasses/Forbs
This community phase is typically dominated by the exotic cool-season grasses (e.g., Kentucky bluegrass, quackgrass, smooth brome). Native warm-season and cool-season grasses may be present but are much reduced compared to that of the reference state. The center area of bunchgrasses, such as little bluestem, may become decadent and die due to complete lack of grazing and burning. Forbs common to this community phase include American licorice, white heath aster, Canada goldenrod, Flodman’s thistle, white heath aster, black-eyed Susan, and Norwegian cinquefoil. Western snowberry and other shrubs may also be a noticeable component in this community phase. The longer this community phase exists, the more resilient it becomes. Natural or management disturbances that reduce the cover of Kentucky bluegrass or smooth brome are typically short-lived. In some situations, the peak production may become restricted to a short period during early spring due to the abundance of Kentucky bluegrass or the other exotic cool-season grasses. Forb production varies considerably but may contribute nearly one-fourth of the total production.
Community 3.2
Shrubs/Exotic Cool-Season Grasses
Historically, small patches of shrubs and perhaps trees were scattered across the site when precipitation, fire frequency, and other factors enabled woody species to colonize or encroach on the site. A marked increase in non-use management and active fire suppression since European influence has enabled woody vegetation to expand and become more widespread. This phase is often dominated by willows but may contain a variety of shrubs including western snowberry, rose, white meadowsweet, and/or redosier dogwood. Plains cottonwood and quaking aspen may also be present. Russian olive is also known to invade the site. The herbaceous vegetation is commonly dominated by exotic cool-season grasses with few forbs.
Pathway 3.1A
Community 3.1 to 3.2
Community Phase Pathway 3.1 to 3.2 occurs with long-term non-use or very light grazing, and no fire. This can lead to a marked increase in shrubs, commonly willows.
Pathway 3.2A
Community 3.2 to 3.1
Community Phase Pathway 3.2 to 3.1 occurs with the implementation of long-term prescribed burning and/or chemical/mechanical brush management to reduce the woody component of the community.
State 4
Go-Back State
This state is highly variable depending on the level and duration of disturbance related to the T5A transitional pathway. In this MLRA, the most probable origin of this state is plant succession following cropland abandonment. This plant community will initially include a variety of annual forbs and grasses, some of which may be noxious weeds and need control. Over time, the exotic cool-season grasses (e.g., Kentucky bluegrass, smooth brome, and/or quackgrass) will likely predominate.
Characteristics and indicators. Tillage has destroyed the native plant community, altered soil structure and biology, reduced soil organic matter, and resulted in the formation of a tillage induced compacted layer which is restrictive to root growth. Removal of perennial grasses and forbs results in decreased infiltration and increased runoff.
Resilience management. Continued tillage will maintain the state. Control of noxious weeds will be required.
Community 4.1
Annual/Pioneer Perennial/Exotics

Figure 12. Photo depicting plant community phase 4.1. Annual/Pioneer Perennial/Exotics
This community phase is highly variable depending on the level and duration of disturbance related to the T5A transitional pathway. In this MLRA, the most probable origin of this phase is secondary succession following cropland abandonment. This plant community will initially include a variety of annual forbs and grasses, including noxious weeds (e.g., Canada thistle) which may need control. Over time, the exotic cool-season grasses (Kentucky bluegrass, smooth brome, and/or quackgrass) will likely predominate.
State 5
Salinized State
Increased salinity is the main driver for the transition to State 5: Salinized State of a Limy Subirrigated ecological site. Increased salinity levels favor salt tolerant vegetation and will make perennial vegetation establishment more difficult. This state also occurs along the upland boundary of wetlands. Long-term heavy grazing, annual haying, or total removal of vegetation (cropping) along the wetland edge increases evaporation with less transpiration bringing salts to the soil surface increasing surface salinity. This salinization process can be exasperated by cropping the discharge area around the wetland. Salinity increases greater than 8 dS/m favors foxtail barley, salt grass, and bare ground. The site remains somewhat poorly drained. Annual production of this state may vary widely, in part due to salinity levels. As salinity increases, production decreases as does palatability of the species present (e.g., foxtail barley).
Characteristics and indicators. This state is characterized when salinity levels are greater than 8 dS/m and saline tolerant vegetation (such as foxtail barley, saltgrass, Nutall’s alkali grass, western wheatgrass, and bare ground) begin to dominate the site.
Resilience management. This state is very resilient to change. Salinity levels (E.C. >8 dS/m) are difficult to reduce allowing for non-salt tolerant grasses to establish. No known restoration pathways or technology currently exists to restore this site to State 2. At a minimum, salinity levels need to be reduced to less than 8 dS/m and native grasses (such as big bluestem, Indian grass, needlegrasses, and little bluestem) need to be present or planted on the site to transition to State 2. A transition to State 3 Invaded State will be a more likely pathway. Prior to implementation of any management or restoration techniques, such as range planting, salinity levels need to be determined.
Community 5.1
Foxtail Barley-Saltgrass/Bare Ground (Hordeum jubatum- Distichlis spicata/Bare Ground)
This community phase is dominated by foxtail barley, saltgrass, and bare ground. Forbs are limited and may consist of curlycup gumweed, silverleaf cinquefoil, and western dock. In this MLRA, the most probable origin of this phase is overgrazing with increased salinity and increased capillary action bring salts to the soil surface. As salinity increases, bare ground may also increase.
State 6
Any Plant Community
This state is associated with cropland often.
Community 6.1
Any Plant Community
This community is often a cropland.
Transition T1A
State 1 to 2
This is the transition from the State 1: Reference State to the State 2: Native/Invaded State due to the introduction and establishment of exotic cool-season grasses, typically Kentucky bluegrass, smooth brome, and/or quackgrass. The invasion of the site by these exotic cool-season grasses is expected with a corresponding decline in native warm-season and cool-season grasses. This transition may be exacerbated by chronic season-long or heavy late season grazing. Complete rest from grazing and suppression of fire can also hasten this transition. The threshold between states is crossed when Kentucky bluegrass, smooth bromegrass, quackgrass, or other exotic species became established on the site.
Constraints to recovery. Current knowledge and technology will not facilitate a successful restoration to Reference State.
Transition T2A
State 2 to 3
This is the transition from the State 2: Native/Invaded State to State 3: Invaded State. This transition can occur with complete no-use and no grazing, light grazing, or heavy season-long grazing. Increasing plant litter under no grazing and no burning leads to an increase in the shade tolerant exotic cool-season grasses, particularly Kentucky bluegrass. Similarly, heavy grazing also benefits the grazing tolerant exotic species such as Kentucky bluegrass, and/or quackgrass. Preliminary studies indicate this threshold may occur when Kentucky bluegrass (or perhaps smooth brome or quackgrass) exceeds 30% of the plant community and native grasses represent less than 40% of the plant community composition. Similar thresholds may exist for smooth brome and quackgrass. Once the threshold is crossed, grazing management alone cannot reduce the exotic cool-season grasses, and prescribed burning is difficult and largely ineffective in reducing the exotic cool-season grasses due to early green up and high moisture/humidity conditions. Burning is also difficult under heavy season-long grazing, due to low fuel loads.
Constraints to recovery. Variations in growing conditions (e.g., cool, wet spring) will influence effects of various management activities on exotic cool-season grass populations.
Transition T2B
State 2 to 5
This is the transition from the State 2: Native/Invaded State to State 5: Salinized State results from long-term heavy grazing or annual haying. This leads to salinization of the site. Vegetation becomes characterized by foxtail barley, saltgrass, and areas of bare ground.
Constraints to recovery. Increased salinity at the soil surface will make it difficult to restore to a less salinized state.
Restoration pathway R3A
State 3 to 2
This restoration pathway from State 3: Invaded State to State 2: Native/Invaded State may be accomplished with the implementation of long-term prescribed grazing and prescribed burning, assuming there is an adequate component of native grasses to respond to the treatments. Both prescribed grazing and prescribed burning are likely necessary to successfully initiate this restoration pathway, the success of which depends upon the presence of a remnant population of native grasses in Community Phase 3.1. That remnant population, however, may not be readily apparent without close inspection. The application of several prescribed burns may be needed at relatively short intervals in the early phases of this restoration process, in part because many of the shrubs (e.g., western snowberry) sprout following one burn. Early season prescribed burns have been successful; however, fall burning may also be an effective technique. The prescribed grazing should include adequate recovery periods following each grazing event and stocking levels which match the available resources. If properly implemented, this will shift the competitive advantage from the exotic cool-season grasses to the native cool-season grasses.
Context dependence. Grazing management should be applied in a manner that enhances/maximizes the competitive advantage of native grass and forb species over the exotic species. This may include the use of prescribed grazing to reduce excessive plant litter accumulations above that needed for rangeland health indicator #14 (see Rangeland Health Reference Worksheet). Increasing livestock densities may facilitate the reduction in plant litter provided length and timing of grazing periods are adjusted to favor native species. Grazing prescriptions designed to address exotic grass invasion and favor native species may involve earlier, short, intense grazing periods with proper deferment to improve native species health and vigor. Fall (e.g., September, October) prescribed burning followed by an intensive, early spring graze period with adequate deferment for native grass recovery may shift the competitive advantage to the native species, facilitating the restoration to State 2: Native/Invaded. Prescribed burning should be applied in a manner that enhances the competitive advantage of native grass and forb species over the exotic species. Prescribed burns should be applied at a frequency which mimics the natural disturbance regime, or more frequently as is ecologically (e.g., available fuel load) and economically feasible. Burn prescriptions may need adjustment to: (1) account for change in fine fuel orientation (e.g., “flopped” Kentucky bluegrass); (2) fire intensity and duration by adjusting ignition pattern (e.g., backing fires vs head fires); (3) account for plant phenological stages to maximize stress on exotic species while favoring native species (both cool- and warm-season grasses).
Restoration pathway R4A
State 4 to 2
This Restoration Pathway from State 4: Go-Back State to the State 2: Native/Invaded State may be accomplished with a successful range planting. Following establishment, prescribed grazing, prescribed burning, haying, or use of herbicides will generally be necessary to achieve the desired result and control any noxious weeds. It may be possible using selected plant materials and agronomic practices to approach something very near the functioning of State 2: Native/Invaded State. Application of chemical herbicides and the use of mechanical planting methods using adapted varieties of the dominant native grasses are possible and can be successful. After establishment of the native plant species, prescribed grazing should include adequate recovery periods following each grazing event and stocking levels which match the available resources; management objectives must include the maintenance of those species, the associated reference state functions, and continued treatment of exotic grasses.
Context dependence. A successful range planting will include proper seedbed preparation, weed control (both prior to and after the planting), selection of adapted native species representing functional/structural groups inherent to the State 1, and proper planting technique. Management (e.g., prescribed grazing, prescribed burning) during and after establishment must be applied in a manner that maintains the competitive advantage for the seeded native species. Adding non-native species can impact the above and below ground biota. Elevated soil nitrogen levels have been shown to benefit smooth brome and Kentucky bluegrass more than some native grasses. As a result, fertilization, exotic legumes in the seed mix, and other techniques that increase soil nitrogen may promote smooth brome and Kentucky bluegrass invasion. The method or methods of herbaceous weed treatment will be site specific to each situation; generally, the goal would be to apply the pesticide, mechanical control, or biological control (either singularly or in combination) in a manner that shifts the competitive advantage from the targeted species to the native grasses and forbs. The control method(s) should be as specific to the targeted species as possible to minimize impacts to non-target species.
Restoration pathway R4B
State 4 to 3
This restoration pathway from State 4: Go-Back State to State 3: Invaded State may result from a failed range planting.
Context dependence. Failed range plantings can result from many causes (both singularly and in combination) including drought, poor seedbed preparation, improper planting methods, seeded species not adapted to the site, insufficient weed control, herbicide carryover, poor seed quality (purity & germination), and/or improper management.
Transition T4A
State 4 to 5
This is the transition from the State 2: Native/Invaded State to State 5: Salinization State. It results from the cessation of annual cropping with E.C. >8 dS/m with no range planting or failed range planting.
Constraints to recovery. Increased salinity at the soil surface will make it difficult to restore to a less salinized state.
Restoration pathway T5A
State 6 to 4
This transition from any plant community to State 4: Go-Back State. It is most commonly associated with the cessation of cropping without the benefit of range planting, resulting in a “go-back” situation. Soil conditions can be quite variable on the site, in part due to variations in the management/cropping history (e.g., development of a tillage induced compacted layer (plow pan), erosion, fertility, and/or herbicide/pesticide carryover). Thus, soil conditions should be assessed when considering restoration techniques.
Additional community tables
Table 6. Community 1.1 plant community composition
Group | Common name | Symbol | Scientific name | Annual production (lb/acre) | Foliar cover (%) | |
---|---|---|---|---|---|---|
Grass/Grasslike
|
||||||
1 | Mid Warm-season Grasses | 1435–1845 | ||||
little bluestem | SCSC | Schizachyrium scoparium | 615–1845 | – | ||
sideoats grama | BOCU | Bouteloua curtipendula | 0–205 | – | ||
prairie dropseed | SPHE | Sporobolus heterolepis | 0–205 | – | ||
2 | Tall Warm-season Grasses | 615–1025 | ||||
big bluestem | ANGE | Andropogon gerardii | 205–615 | – | ||
switchgrass | PAVI2 | Panicum virgatum | 82–410 | – | ||
Indiangrass | SONU2 | Sorghastrum nutans | 0–205 | – | ||
3 | Needlegrass | 0–410 | ||||
porcupinegrass | HESP11 | Hesperostipa spartea | 205–410 | – | ||
green needlegrass | NAVI4 | Nassella viridula | 0–82 | – | ||
4 | Other Native Grasses | 41–410 | ||||
western wheatgrass | PASM | Pascopyrum smithii | 41–205 | – | ||
Grass, perennial | 2GP | Grass, perennial | 0–205 | – | ||
northern reedgrass | CASTI3 | Calamagrostis stricta ssp. inexpansa | 41–205 | – | ||
slender wheatgrass | ELTR7 | Elymus trachycaulus | 41–205 | – | ||
saltgrass | DISTI | Distichlis | 0–82 | – | ||
5 | Grass-likes | 41–205 | ||||
sedge | CAREX | Carex | 41–205 | – | ||
Grass-like (not a true grass) | 2GL | Grass-like (not a true grass) | 0–123 | – | ||
rush | JUNCU | Juncus | 0–123 | – | ||
Forb
|
||||||
6 | Forbs | 205–410 | ||||
Forb, native | 2FN | Forb, native | 41–205 | – | ||
Maximilian sunflower | HEMA2 | Helianthus maximiliani | 41–205 | – | ||
goldenrod | SOLID | Solidago | 41–164 | – | ||
white heath aster | SYER | Symphyotrichum ericoides | 41–123 | – | ||
common yarrow | ACMI2 | Achillea millefolium | 41–82 | – | ||
Cuman ragweed | AMPS | Ambrosia psilostachya | 41–82 | – | ||
white sagebrush | ARLU | Artemisia ludoviciana | 41–82 | – | ||
aster | ASTER | Aster | 41–82 | – | ||
Flodman's thistle | CIFL | Cirsium flodmanii | 41–82 | – | ||
horsetail | EQUIS | Equisetum | 41–82 | – | ||
American licorice | GLLE3 | Glycyrrhiza lepidota | 41–82 | – | ||
stiff sunflower | HEPAP2 | Helianthus pauciflorus ssp. pauciflorus | 41–82 | – | ||
blue lettuce | LATA | Lactuca tatarica | 41–82 | – | ||
tall blazing star | LIAS | Liatris aspera | 41–82 | – | ||
silverleaf Indian breadroot | PEAR6 | Pediomelum argophyllum | 41–82 | – | ||
ragwort | SENEC | Senecio | 41–82 | – | ||
Canadian anemone | ANCA8 | Anemone canadensis | 41–82 | – | ||
cinquefoil | POTEN | Potentilla | 0–41 | – | ||
Nuttall's violet | VINU2 | Viola nuttallii | 0–41 | – | ||
Shrub/Vine
|
||||||
7 | Shrubs | 0–205 | ||||
willow | SALIX | Salix | 0–123 | – | ||
Shrub (>.5m) | 2SHRUB | Shrub (>.5m) | 0–123 | – | ||
prairie rose | ROAR3 | Rosa arkansana | 41–123 | – | ||
western snowberry | SYOC | Symphoricarpos occidentalis | 41–82 | – | ||
redosier dogwood | COSES | Cornus sericea ssp. sericea | 0–41 | – | ||
chokecherry | PRVI | Prunus virginiana | 0–41 | – |
Interpretations
Animal community
Animal Community – Wildlife Interpretations
Landscape:
The MLRA 55A landscape is characterized by mostly nearly level to gently rolling till plains with some steep slopes adjacent to streams. The MLRA includes areas of kettle holes, kames, and ground moraines. MLRA 55A is considered to have a continental climate with cold winters and hot summers, low humidity, light rainfall, and much sunshine. Extremes in temperature are common and characteristic of the MLRA. This area supports mid- to tall-grass prairie vegetation with quaking aspen, bur oak, green ash, and willow species growing on the higher elevations in Turtle Mountain, on moraines in proximity of Devils Lake, Pembina River Escarpment and Gorge, and various drainageways throughout the MLRA. Numerous depressional wetlands are ringed with quaking aspen. Complex intermingled ecological sites create diverse grass/shrub land habitats interspersed with varying densities of linear, slope, depressional, and in-stream wetlands associated with headwater streams and tributaries of the Souris and Pembina Rivers. MLRA 55A is located entirely within North Dakota and within the boundaries of the Prairie Pothole Region. The primary land use is cropland. Glacial Lake Souris and the Devils Lake Basin are known for exceptional fertility with major crops including corn, canola, soybeans, and small grains. Together, these two areas make up 73% of the MLRA (Glacial Lake Souris 5500 mi2, 43%; and the Devils Lake Basin 3810 mi2, 30%).
Turtle Mountain (1000 mi2 of which 405 mi2 are found in North Dakota), in the north-central part of the MLRA on the Canadian border, is approximately 1,950 to 2,541 feet (595 to 775 meters) in elevation, rising approximately 600 to 800 feet (150 meters) above the adjacent till plain. Home to an extensive forest of quaking aspen, bur oak, green ash, and willows, it has an understory of beaked hazel with associates of chokecherry, Saskatchewan serviceberry, downy arrowwood, and rose. Turtle Mountain comprises the largest area of quaking aspen forest in North Dakota.
The Pembina Escarpment extends from the Canadian border southeast to Walhalla where the Pembina River enters the floor of the Red River Valley in MLRA 56A. Mainly found on steep slopes along the Pembina River, the Pembina Gorge is in a rugged and sheltered setting with bur oak, green ash, cottonwood, and American elm. Encompassing approximately 12,500 acres, the Pembina Gorge is one of the largest uninterrupted blocks of woodlands in North Dakota. This segment of the Pembina River is the longest segment of unaltered river valley in the North Dakota.
Two major Hydrologic Unit Areas make up this MLRA. 56% of the MLRA drains into the Souris River while 44% drains into the Red River (via the Pembina River) or into Devils Lake (out-letting to Sheyenne River via a pump, pipeline, canal system). The North Dakota portion of the Souris River watershed is in this MLRA. The Souris River basin drains nearly 23,600 square miles and has a long history of flooding.
By the mid-19th century, over 75% of the MLRA had been converted from mid- to tall-grass prairie or woodland to annual crop production. To alleviate crop production loss from wetlands and overland flow, a system of shallow surface ditches, judicial ditches, and road ditches removes surface water in spring and during high rainfall events. Tile drainage systems have been or are being installed extensively throughout MLRA 55A for sub-surface field drainage to enhance annual crop production.
Historic Communities/Conditions within MLRA 55A:
The northern tall- and mixed-grass prairie along with the quaking aspen forest were disturbance- driven ecosystems with fire, herbivory, and climate functions as the primary ecological drivers (either singly or often in combination). American bison roamed MLRA 55A wintering along the Souris River and migrating through MLRA 55A into MLRAs 56A and 55B. Many species of grassland birds, small mammals, insects, reptiles, amphibians, elk, moose, pronghorn, and large herds of American bison were historically among the inhabitants adapted to this region. Roaming herbivores, as well as several small mammal and insect species, were the primary consumers linking the grassland resources to large predators (such as the wolf, American black bear, grizzly bear) and smaller carnivores (such as the coyote, bobcat, red fox, and raptors). Extirpated species include free-ranging American bison and gray wolf (breeding). Extinct is the Rocky Mountain locust.
Present Communities/Conditions within MLRA 55A:
This area supports natural prairie vegetation characterized by western wheatgrass, green needlegrass, needle and thread, and blue grama. Little bluestem is an important species on the more sloping and shallower soils. Prairie cordgrass, northern reedgrass, big bluestem, and wheat sedge are important species on soils with higher water tables. Western snowberry, leadplant, and prairie rose are commonly interspersed throughout the area. Native forests occur in Turtle Mountain, Pembina Gorge, moraines near Devils Lake, woody draws, scattered tracts along the Souris River, and in the sand dunes in west central region of the MLRA.
Over 75% of MLRA 55A has been converted to annual crop production. European influence has impacted remaining grassland, forestland, and shrubland by domestic livestock grazing, elimination of fire, tree harvest, removal of surface and subsurface hydrology via artificial drainage, and other anthropogenic factors influencing plant community composition and abundance.
Hydrological manipulation is extensive throughout the MLRA. Extensive wetland and subsurface tile drainage have taken place. Ephemeral and intermittent streams and the Souris River have been straightened - removing sinuosity, creating isolated oxbows, and converting riparian zones to annual crop production. These anthropogenic impacts have reduced flood water detention and retention on the landscape. The results have been increasing storm water runoff sediment and nutrient loading impacting the Souris and Des Lacs Rivers and their tributaries along with Devils Lake and other lakes within the MLRA. The installation of instream structures has reduced aquatic species movement within the MLRA. Two large dams in Saskatchewan, Canada (Rafferty on the Souris River and Alameda on Moose Mountain Creek, a major tributary to the Souris River) were built, in part, to reduce flood peaks on the Souris River. In addition, three USFWS National Wildlife Refuges were created by building two low-head dams on the Souris River and one on the Des Lacs River in North Dakota. Numerous low-head dams are located on the Souris and Des Lacs Rivers in North Dakota. The Eaton Irrigation Project low-head dam, located in the vicinity of Towner, North Dakota, provides flood irrigation to approximately 6,700 acres of hayland and pastureland.
The loss of the American bison and fire, as primary ecological drivers, greatly influenced the character of the remaining native plant communities and the associated wildlife moving towards a less diverse and more homogeneous landscape. Annual cropping is the main factor contributing to habitat fragmentation, reducing habitat quality for area-sensitive species. These influences fragmented the landscape, reduced or eliminated ecological drivers (fire), and introduced exotic species including smooth brome, Kentucky bluegrass, and leafy spurge which further impacted plant and animal communities.
Included in this MLRA are over 121,000 acres of National Wildlife Refuges and over 77,000 acres of waterfowl production areas owned and managed by the United States Fish and Wildlife Service. White Horse Hill National Game Preserve is a 1,674-acre national wildlife refuge sitting on the south shores of Devils Lake, about 10 miles south of the city of Devils Lake. Numerous state-owned parks, state wildlife management areas, North Dakota Forest Service and Department of Trust Lands are found in the MLRA. Wakopa Wildlife Management Area is the largest WMA covering approximately 6,739 acres.
Some characteristic wildlife species in this area are:
Birds: Common loon, common goldeye, bufflehead, ruffed grouse, broad-winged hawk, alder flycatcher, mourning warbler, mallard, blue-winged teal, red-tailed hawk, American kestrel, killdeer, eastern and western kingbird, American crow, common yellowthroat, clay-colored sparrow, vesper sparrow, red-necked grebe, Savannah sparrow, downy and hairy woodpeckers, black-capped chickadee, white-breasted nuthatch, and brown-headed cowbird.
Mammals: Northern short-tailed shrew, water shrew, beaver, muskrat, mink, long-tailed weasel, American martin, fisher, white-tailed jackrabbit, snowshoe hare, Franklin’s ground squirrel, thirteen- lined ground squirrel, northern pocket gopher, plains pocket gopher, western harvest mouse deer mouse, meadow vole, meadow jumping mouse, western jumping mouse, coyote, red fox, racoon, American badger, striped skunk, white-tailed deer, elk, moose, and woodchuck, red squirrel, porcupine, and northern flying squirrel.
Reptiles/Amphibians: American toad, Great Plains toad, northern leopard frog, chorus frog, tiger salamander, plains garter snake, smooth green snake, wood frog, and common garter snake.
Presence of wildlife species is often determined by ecological site characteristics including grass and forb species, tree and shrub species, hydrology, aspect, and other associated ecological sites. The home ranges of a majority species are usually larger than one ecological site or are dependent on more than one ecological site for annual life requisites. Ecological sites offer different habitat elements as the annual life requisites change. Habitat improvement and creation must be conducted within the mobility limits of a known population for the species.
Insects play an important role providing ecological services for plant community development. Insects that are scavengers or aid in decomposition provide the food chain baseline sustaining the carnivorous insects feeding upon them. Many insects provide the ecological services necessary for pollination, keeping plant communities healthy and productive. Insects provide a protein food source for numerous species including grassland-nesting birds, woodpeckers, and woodland edge and interior species, and their young. Extensive use of insecticides for specialty crops (such as soybeans, corn, and other crops) has greatly reduced insects within this MLRA.
Species of Concern within MLRA 55A:
The following is a list of species considered “species of conservation priority” in the North Dakota State Wildlife Action Plan (2015) and “species listed as threatened, endangered, or petitioned” under the Endangered Species Act within MLRA 55A at the time this section was developed:
Invertebrates: Dakota skipper, monarch butterfly, and regal fritillary. Within the MLRA, the United States Fish and Wildlife Service lists 5 areas (in Rolette and McHenry Counties) as critical habitat for the Dakota skipper.
Birds: American avocet, American bittern, American kestrel, American white pelican, Baird’s sparrow, bald eagle, black tern, black-billed cuckoo, bobolink, canvasback, chestnut-collared longspur, ferruginous hawk, Franklin’s gull, grasshopper sparrow, horned grebe, LeConte’s sparrow, lesser scaup, loggerhead shrike, marbled godwit, Nelson’s sparrow, northern harrier, northern pintail, piping plover, sharp-tailed grouse, short-eared owl, Sprague’s pipit, Swainson’s hawk, upland sandpiper, western meadowlark, whooping crane, willet, Wilson’s phalarope, and yellow rail.
Mammals: American martin, Arctic shrew, big brown bat, gray fox, little brown bat, northern long- eared bat, plains pocket mouse, pygmy shrew, Richardson’s ground squirrel, river otter, and Townsend’s big-eared bat.
Amphibians/Reptiles: Canadian toad, common snapping turtle, plains hog-nosed snake, and smooth green snake.
Fish: Finescale dace, hornyhead chub, largescale stoneroller, logperch, northern pearl dace, and trout-perch.
Mussels: Black sandshell, creek heelsplitter, creeper, mapleleaf, and pink heelsplitter.
Grassland and Woodland Management for Wildlife in MLRA 55A:
Management activities within the community phase pathways impact wildlife but are essential for maintenance of healthy grassland ecosystems. Community phase, transitional, and restoration pathways are keys to long-term management within each State and between States. Timing, intensity, and frequency of these inputs can have dramatic positive or negative effects on local wildlife species. Ranchers and other land managers must always consider the long-term beneficial management effects of grassland and woodland resources in comparison to typically short-term negative effects to the habitats of individual species.
Ecological sites occur as intermingled complexes on the landscape with gradual or sometimes abrupt transitions. Rarely do ecological sites exist in large enough acreage to manage independently for wildlife. Conversion to annual cropping and fragmentation due to transportation and electrical transmission corridors and to rural housing are main causes of fragmentation. This MLRA supports ecological sites that are dominated by woody vegetation and can be located adjacent to ecological sites that support tall- to mid-statured grasses (Thin Loamy/Shallow Loamy) or are adjacent to ecological sites that support wetland vegetation (Shallow Marsh and Wet Meadow).
Management of these ecological site complexes challenges managers to properly manage the entire landscape. A management strategy for one ecological site may negatively impact an adjacent site. For example, grazing Upland Hardwood Forest or Loamy Savannah ecological sites along with herbaceous dominated Loamy Overflow ecological sites may degrade one site by under-use, favoring woody vegetation or increasing exotic cool-season grasses.
Life requisites and habitat deficiencies are determined for targeted species. Deficiencies need to be addressed along community phase, transitional, and restoration pathways as presented in specific state-and-transition models. Ecological sites should be managed and restored within the site’s capabilities to provide sustainable habitat for targeted species or species guilds. Managers also need to consider vegetative associations provided by adjacent/intermingled ecological sites for species with home ranges or life requisites that may not be provided by one ecological site. Understanding specific grassland species’ sensitivity to woody encroachment and preferred vegetative structure enables managers to determine which grassland-nesting bird species will avoid grassland habitats adjacent to Upland Hardwood Forest or Loamy Savannah ecological sites or woody dominated, Plant Community Phase 5, Loamy ecological site.
Many passerine species utilize MLRA 55A as a major migratory travel corridor. Grassland species sensitive to woody associations during nesting and brooding may utilize the woodier fragmented sites, such as the Wooded State 5.0 in the Loamy ecological site, during migration.
Grassland-nesting birds use various grass heights for breeding, nesting, foraging, or winter habitat. While most species use varying heights, many have a preferred vegetative stature height or sensitivity to woody vegetation. Understanding the sensitivity of grassland species to woody vegetation and preferred vegetative structure enables managers to determine which grassland-nesting bird species avoid grassland habitats adjacent to Upland Hardwood Forest or Loamy Savannah ecological sites.
The following chart provides sensitivity to woody vegetation and preferred vegetative stature heights. To see the chart follow the hyperlink:
https://efotg.sc.egov.usda.gov/references/public/ND/55A_Limy_Subirrigated_Narrative_FINAL_Ref_FSG.pdf
Limy Subirrigated Wildlife Habitat Interpretation:
Limy Subirrigated ecological sites are somewhat poorly drained. They are usually found on flats, slight rises, and slightly convex slopes adjacent to shallow depressions on till plains, lake plains, outwash plains, and sand plains; they also occur on some low terraces of drainageways. This site has a persistent water table strongly influencing vegetation production. These soils typically are calcareous in the surface layer and have a highly calcareous upper subsoil; they are dominated by tall and mid warm-season grasses and forbs. Little bluestem and big bluestem are the dominant mid and tall warm-season grasses. Associated ecological sites include Saline Lowland, Wet Meadow, Loamy, Shallow Marsh, Subirrigated, Sodic Subirrigated, and Subirrigated Sands.
Limy Subirrigated habitat features and components commonly support many edge-sensitive grassland bird species preferring medium- to tall-statured vegetation. Insects rely on associated forbs and grasses for survival. High insect populations provide food sources for birds and their young. Limy Subirrigated ecological sites provide quality forage for small and large herbivores. Dakota skippers use Limy Subirrigated ecological sites in MLRA 55A.
Limy Subirrigated ecological sites may be found in four plant community states (1.0 Reference State, 2.0 Native/Invaded State, 3.0 Invaded State, 4.0 Go-Back State, and 5.0 Salinized State). Multiple plant community phases exist within State 1.0, 2.0 and 3.0. These states occur primarily in response to grazing, drought, and non-use. Secondary influences include fire and anthropogenic disturbances.
Because there is no known restoration pathway from State 2.0 to State 1.0, it is important to intensively manage using tools in State 1.0 and State 2.0 community phase pathways to prevent further plant community degradation along Transitional Pathway T1A to Invaded Grass State 2.0.
As plant communities degrade within State 2.0, warm-season grasses (particularly short- statured and cool-season exotic grasses) increase while native forbs are reduced. This transition results in reduced structure, increased plant community homogeneity, and reduced insect populations resulting in a reduction of breeding, nesting, foraging, or winter habitat for grassland birds. When adjacent/intermingled ecological sites undergo the same transition, the result can be an expansive, homogenous landscape. Success along restoration pathway R3A and R4A to State 2.0 is very difficult and is dependent upon presence of remnant native grass populations or a successful native range seeding.
Management along community phase, transition, or restoration pathways should focus upon attainable changes. Short- and long-term monetary costs must be evaluated against short- and long-term ecological services in creating and maintaining habitat of enough quality to support a sustainable population.
1.0 Reference State:
Community Phase 1.1 Little Bluestem-Big Bluestem-Needlegrasses: This plant community offers quality vegetative cover for wildlife; every effort should be made to maintain this ecological site within this community phase. This phase retains high functionality through continued maintenance including prescribed grazing with adequate recovery period, as well as prescribed fire. Prescribed fire frequency maintains a grass-dominated plant community providing habitat for bird species sensitive to woody vegetation. Predominance of grass species in these communities favors grazers and mixed feeders (animals selecting grasses as well as forbs and shrubs). The structural diversity provides habitat for a wide array of migratory and resident birds. Plant structure within Plant Community Phase 2.1 is very similar to 1.1, except for the invasion of minor amounts of cool-season exotic grasses (mainly Kentucky bluegrass).
Invertebrates: Insects play a role in maintaining the forb community and provide a forage base for grassland birds, reptiles, and rodents. Ecological services, historically provided by bison, are simulated by domestic livestock. These services include putting plant material and dung in contact with mineral soil to be used by lower trophic level consumers (such as invertebrate decomposers, scavengers, shredders, predators, herbivores, dung beetles, and fungal feeders).
Dakota skippers prefer this site due to host plants, such as little and big bluestem and harebell. Regal fritillary can make use of violet species and other nectar producing forbs on these sites. Monarch butterfly may use flowering forbs; however, few milkweed species are found on these sites to support caterpillar food. Bumblebees and other native bees utilize forbs as a nectar source; bare ground and nesting sites are available due to the dominance of bunch grasses. Prescribed grazing with adequate recovery periods, as well as prescribed fire, to maintain the 1.1 phase, will have long-term positive effects on ground dwelling insects.
Birds: This plant community provides quality nesting, foraging, and escape habitats favored by mid to tallgrass nesting birds. Prescribed fire maintains a grass-dominated plant community providing habitat for bird species sensitive to woody vegetation and limits litter accumulations. This plant community does not provide suitable areas for sharp-tailed grouse lek sites, but do provide quality nesting, brood-rearing, and escape habitat. This site provides good hunting opportunities for grassland raptors.
Mammals: The diversity of grasses and forbs provide high nutrition levels for small and large herbivores including voles, mice, jackrabbits, and white-tailed deer. Tall- to mid-statured vegetation provides suitable food, thermal, protective, and escape cover for small and large herbivores.
Amphibians and Reptiles: This ecological site can provide habitat for the northern leopard frog and Canadian toad since this site is frequently found adjacent to Wet Meadow and Shallow March ecological sites. It also provides habitat for the northern prairie skink and plains hog-nosed snake.
Fish and Mussels: This ecological site can be located adjacent to streams, rivers, or water bodies. This site receives run-on hydrology from adjacent ecological sites and provides hydrology to Wet Meadow or Shallow Marsh ecological sites. Management on Limy Subirrigated sites, in conjunction with neighboring run-on sites, will have a direct effect on aquatic species in streams and/or tributaries receiving water from Limy Subirrigated and adjacent sites. Optimum hydrological function and nutrient cycling limit potential for sediment yield and nutrient loading to the adjacent aquatic ecosystems from Community Phase 1.1.
Community Phase 1.2 Needlegrasses/Forbs/Little Bluestem: This plant community phase occurs during periods of multiyear drought with or without heavy, long-term grazing. Warm season grasses decrease with a corresponding increase in cool-season bunch grasses.
Invertebrates: Heavy grazing and drought reduce nectar and pollen availability for many pollinators. A decrease in warm-season grasses (big and little bluestem host plants) may reduce use by Dakota skipper.
Birds: A decrease in tall warm-season grasses, combined with heavy grazing and drought, provides nesting habitat to species that prefer short to medium vegetative structure.
Mammals: Shorter statured vegetation reduces thermal, protective, and escape cover for large ungulates.
Amphibians and Reptiles: Provides similar life requisites as Community Phase 1.1.
Fish and Mussels: Provides similar life requisites as Community Phase 1.1.
2.0 Native/Invaded State:
Community Phase 2.1 Little Bluestem-Big Bluestem-Needlegrasses: This plant community develops through Transition Pathway T1 due to changes in management and the presence of exotic, cool-season grasses. Chronic, season-long or late fall grazing can facilitate this transition. Complete rest from grazing and no fire events can also lead to this transition.
The threshold between States 1.0 and 2.0 is crossed when Kentucky bluegrass, smooth brome, or other exotic species become established. This plant community phase has a very similar appearance and function to the Reference State of Community 1.1, except it has a minor amount of cool-season exotic grasses and forbs. This phase functions at a high level for native wildlife; therefore, managers should consider the 2.0 community phase pathways to avoid transitioning to the Invaded State 3.0. There is no known Community Phase Pathway back to State 1.0 from State 2.0.
Invertebrates: Provides similar life requisites as Community Phase 1.1.
Birds: Provides similar life requisites as Community Phase 1.1.
Mammals: Provides similar life requisites as Community Phase 1.1.
Amphibians and Reptiles: Provides similar life requisites as Community Phase 1.1.
Community Phase 2.2 Needlegrasses/Forbs/Little Bluestem/Exotic Cool-Season Grasses: Long-term heavy grazing without adequate recovery periods or non-use (along Community Phase Pathway 2.1A) reduces tall, warm-season grasses while shorter, more grazing- tolerant species increase. The reduction of vigor of warm-season grasses allows for the increase in exotic cool-season grasses (such as Kentucky bluegrass, smooth brome, or quackgrass). This community phase is often found in a mosaic in the pasture in an over- grazed/under-grazed pattern typical of properly stocked pastures grazed season-long. Some areas will be impacted by heavy use while other areas will have a build-up of litter and a high amount of plant decadence. This mosaic of grazed and ungrazed areas provides a short to tall vegetative stature. Dependent upon the patch size of over-grazed vs. under- grazed, grassland nesting birds preferring short/mid-vegetative stature may prefer this plant community phase. Implementation of a prescribed grazing and prescribed burning system, via Community Phase Pathway 2.2A, will help shift the plant community back to 2.I.
Invertebrates: Provides similar life requisites as Community Phase 1.1 dependent upon degree of exotic grass invasion. Invertebrates will respond to the amount of over-utilized vs. under-utilized area and the resultant vegetative stature. Reduced litter amounts on the over- utilized area will have an increase in bare ground will favor ground nesting insects. While under-utilized areas will have a decrease in bare ground for ground-nesting insects but may have more pollen and nectar producing forbs.
Birds: Dependent upon the amount of over-utilized vs. under-utilized area, vegetative stature could favor short- to tall-grass bird species.
Mammals: Provides similar life requisites as Community Phase 1.1.
Amphibians and Reptiles: Provides similar life requisites as Community Phase 1.1.
Fish and Mussels: Provides similar life requisites as Community Phase 1.1.
Community Phase 2.3 Shrubs/Exotic Cool-Season Grasses/Forbs: Extended periods of long-term non-use or very light grazing, and no fire, allow for shrubs (such as western snowberry prairie rose, chokecherry, redosier dogwood and willows) to dominate this site. Shade-tolerant Kentucky bluegrass dominates the understory. Warm-season, native grasses may still be present but with reduced vigor and numbers not allowing for recovery without prescribe grazing and burning via Community Phase Pathway 2.3A.
Invertebrates: The invasion of woody vegetation reduces habitat for all species of concern within MLRA 55A. Season-long pollen and nectar availability becomes limited on this site. Western snowberry and other shrubs will provide some early- to mid-season bloom period. Forbs (such as goldenrods, silverweed cinquefoil, and Flodman’s thistle) will provide limited pollen and nectar opportunities. Overall, pollinator plant diversity is low, limiting season-long nectar and pollen production.
Birds: As low-statured western snowberry and other taller shrubs become dominant on this site, grassland-nesting birds sensitive to woody vegetation encroachment will be negatively impacted and discontinue use of this community phase. Bird species favoring shrub dominated communities will increase; but birds preferring woodland edge will have limited use since only low-statured woody vegetation is available.
Mammals: Shrubs will provide increased year-round, low statured cover and browse for white-tailed deer and high litter amounts providing food and thermal, protective, and escape cover for small herbivores and larger ungulates (such as white-tailed deer).
Amphibians and Reptiles: This site no longer provides life requisites for the northern prairie skink and plains hog-nosed snake due to the dominance of shrubs.
Fish and Mussels: Provides similar life requisites as Community Phase 1.1.
3.0 Invaded State:
Community Phase 3.1 Exotic Cool-Season Grasses/Forbs: Community Phase Pathway T2A is characterized by complete non-use and no grazing, light grazing, or heavy season-long grazing when exotic cool-season grasses are present as in Community Phase 2.0. Increase in plant litter under no use and/or no fire increase shade-tolerant Kentucky bluegrass.
Heavy grazing also favors grazing tolerant Kentucky bluegrass. This plant community phase is characterized by a dominance (>30%) of exotic cool-season grasses, such as smooth brome; native grasses represent less than 40% of the plant community. Restoration Pathway R3A, through prescribed burning and high levels of grazing management, requires remnant amounts of native warm- and cool-season and forbs to be successful. The remnant native community needs frequent prescribed burns and high levels of grazing management targeting the exotic cool-season grasses to improve competitiveness and increase vigor and density. Without intensive management, the remnant native plants will not increase adequately to transition back to State 2.0. Managers need to evaluate impacts to wildlife while implementing these management practices. Intensified management along the R3A Pathway will have significant short-term negative impacts on wildlife habitat; however, this is necessary to restore long-term native habitat functions.
Invertebrates: Exotic grasses limit use by beneficial insects found in States 1.0 and 2.0. However, when western snowberry is a major component, it provides early- to mid- season pollen and nectar sources. Although forbs are a minor component in this community, they still offer mid- to late-season pollen and nectar opportunities. Increased litter and lack of grazing leads to limited contact between plant material and mineral soil resulting in a cooler microclimate, which is unfavorable to most insects. Lack of bare soil limits ground-nesting sites for native bees and other ground-nesting insects.
Birds: The homogeneous community phase, dominated by exotic plant species, provides limited habitat and life requisites for most obligate grassland-nesting birds. Lack of plant diversity and stature, along with increased litter and the tendency of Kentucky bluegrass and smooth brome to lay down, limits use by many grassland-nesting birds. Sharp-tailed grouse may use this plant community for lek sites and nesting cover; western snowberry may provide winter cover, dependent upon density.
Mammals: Litter accumulation and exotic grass cover favors thermal, protective, and escape cover for small rodents.
Amphibians and Reptiles: Provides similar life requisites as Community Phase 2.3.
Fish and Mussels: Provides similar life requisites as Community Phase 1.1.
Community Phase 3.2 Shrubs/Exotic Cool-Season Grasses: The long-term elimination of fire and grazing (via Community Phase Pathway 3.1A) allows for shrubs, such as western snowberry, to become a major component on this site. Shade-tolerant Kentucky bluegrass dominates the understory and warm-season; native grasses may still be present but with reduced vigor and numbers not allowing for recovery without prescribed grazing and burning (via Restoration Pathway R3A).
Invertebrates: The invasion of woody vegetation reduces habitat for all species of concern within MLRA 55A. Season-long pollen and nectar availability becomes limited on this site. Western snowberry will provide some early- to mid-season bloom period. Forbs (such as white sagebrush, silverleaf Indian breadroot, and common yarrow) will provide limited season-long pollen and nectar opportunities. Overall, pollinator plant diversity is low, limiting season-long nectar and pollen production.
Birds: Low-statured western snowberry can become dominant on this site. Dependent upon the density of western snowberry, grassland-nesting birds sensitive to woody vegetation encroachment may be negatively impacted and discontinue use of this community phase.
Bird species preferring woodland edge will have limited use since only low-statured woody vegetation is available.
Mammals: Western snowberry will provide year-round, low statured cover including parturition cover and browse for white-tailed deer and high litter amounts providing food, thermal, protective, and escape cover for small herbivores.
Amphibians and Reptiles: Depending upon the density of the woody component, amphibians and reptiles may not use this plant community as shrubs density increases.
Fish and Mussels: Provides similar life requisites as Community Phase 1.1.
4.0 Go-Back State:
Community Phase 4.1 Annual/Pioneer Perennial/Exotics: These plant communities are the result of severe soil disturbance (such as cropping, recreational activity, or concentrated livestock activity for a prolonged period). Following cessation of disturbances, the resulting plant community is dominated by early pioneer annual and perennial plant species. Plant species composition and production are highly variable. Weedy plants can provide pollinator habitat along with spring and summer cover for many mammals and birds, and their young. Dense weed cover can keep soils moist, increasing the presence of insects. Milkweed can be an early pioneering pollinator species and host plant for monarch butterflies. Tall stature provided by some annual weeds offers thermal cover and seeds throughout winter for deer, small mammals, and over-wintering birds. The response by wildlife species will be dependent upon plant community composition, vegetative stature, patch size, and management activities (such as prescribed grazing, burning, inter-seeding, haying, or noxious weed control).
Successful restoration of native species along Transition Pathway R4A can result in a native grass and forb community in Native/Invaded State 2.0. Over time (with no management), the exotic cool-season perennial grasses (Kentucky bluegrass, smooth brome, and/or quackgrass) generally become established and dominate the community. Failed native grass seeding, via
Transition Pathway R4B, can result in an invaded plant community Invaded State 3.0. The Go- back State may also transition to State 5.0 Salinized State if salinity levels do not allow native grasses to establish or no native grasses are planted. Vegetation will be dominated by foxtail barley, saltgrass, and areas of bare ground.
5.0 Salinized State:
Community Phase 5.1 Foxtail Barley/Saltgrass/Bare Ground: Multiyear drought, with heavy grazing, with lack of recovery periods gives foxtail barley and other salt-tolerant grasses a competitive edge. This plant community is adapted to increased salinity and is relatively stable. No known restoration pathway or technology currently exists to restore this site.
Invertebrates: Drought, coupled with heavy continuous grazing, limits forb production, as well as nectar and pollen availability. Salinity and wetness limits ground nesting invertebrate habitat.
Birds: Structural diversity and density reduce habitat for a wide array of migratory and resident birds. Heavy continuous grazing with lack of recovery periods gives foxtail barley, inland saltgrass, and other salt tolerant grasses a competitive edge, reducing density and stature of grasses. Grassland nesting birds, favoring short-statured structure, may use this plant community. Dependent upon water depth and duration, this plant community may be attractive to various shorebirds.
Mammals: This site is no longer favored by large herbivores and provides limited life requests for small herbivores.
Amphibians and Reptiles: Due to potential high salinity levels and wetness, this plant community does not provide suitable habitat for many amphibians and reptiles except during periods of above normal precipitation, reducing the effects of high salinity levels. Ponded water during above average precipitation events will provide foraging habitat for the northern leopard frog and Canadian toad, depending upon salinity levels. Ponded water will not be deep enough to provide breeding habitat.
Fish and Mussels: Provides similar life requisites as Community Phase 1.1; however, increased bare ground will yield additional sediment to nearby water bodies.
Animal Community – Grazing Interpretations:
This site is well adapted to managed grazing by domestic livestock. The predominance of herbaceous plants across all plant community phases best lends these sites to grazing by cattle, but other domestic grazers with differing diet preferences may also be a consideration depending upon management objectives. Often, the current plant community does not match any particular plant community (as described in the ecological site description). Because of this, a resource inventory is necessary to document plant composition and production. Proper interpretation of this inventory data will permit the establishment of a safe, initial stocking rate for the type and class of animals and level of grazing management. More accurate stocking rate estimates should eventually be calculated using actual stocking rate information and monitoring data.
NRCS defines prescribed grazing as “managing the harvest of vegetation with grazing and/or browsing animals with the intent to achieve specific ecological, economic, and management objectives”. As used in this site description, the term ‘prescribed grazing’ is intended to include multiple grazing management systems (e.g., rotational grazing, twice-over grazing, conservation grazing, targeted grazing, etc.) provided that, whatever management system is implemented, it meets the intent of prescribed grazing definition.
The basic grazing prescription addresses balancing forage demand (quality and quantity) with available forage, varying grazing and deferment periods from year-to-year, matching recovery/deferment periods to growing conditions when pastures are grazed more than once in a growing season, implementation of a contingency (e.g., drought) plan, and a monitoring plan. When the management goal is to facilitate change from one plant community phase or state to another, then the prescription needs to be designed to shift the competitive advantage to favor the native grass and forb species.
Grazing levels are noted within the plant community narratives and pathways in reference to grazing/prescribed grazing management. “Degree of utilization” is defined as the proportion of the current years forage production that is consumed and/or destroyed by grazing animals (may refer to a single plant species or a portion or all the vegetation). “Grazing utilization” is classified as slight, moderate, full, close, and severe (see the following table for description of each grazing use category). The following utilization levels are also described in the Ranchers Guide to Grassland Management IV. Utilization levels are determined by using the landscape appearance method as outlined in the Interagency Technical Reference “Utilization Studies and Residual Measurements” 1734-3.
Utilization Level % Use Description
Slight (Light) 0-20 Appears practically undisturbed when viewed obliquely. Only choice areas and forage utilized.
Moderate 20-40 Almost all of accessible range shows grazing. Little or no use of poor forage. Little evidence of trailing to grazing.
Full 40-60 All fully accessible areas are grazed. The major sites have key forage species properly utilized (about half taken, half left). Points of concentration with overuse limited to 5 to 10 percent of accessible area.
Close (Heavy) 60-80 All accessible range plainly shows use and major sections closely cropped. Livestock forced to use less desirable forage, considering seasonal preference.
Severe > 80 Key forage species completely used. Low-value forages are dominant.
Hydrological functions
Water is the principal factor limiting herbage production on this site. The site is dominated by soils in hydrologic groups B and C. Infiltration varies from moderately slow to moderately rapid; runoff potential varies from negligible to low for this site depending on hydrologic group, surface texture, slope percent, slope shape, and ground cover. In many cases, areas with greater than 75% ground cover have the greatest potential for high infiltration and lower runoff. An exception would be where shortgrasses form a dense sod and dominate the site. Areas where ground cover is less than 50% have the greatest potential to have reduced infiltration and higher runoff (refer to Section 4, NRCS National Engineering Handbook for runoff quantities and hydrologic curves).
Hydrological manipulation (surface or tile drainage, pumping, surface water diversion, etc.) modifies this ecological site. Under natural conditions, this Ecological Site includes a wide range of soil textures; after hydrologic manipulation, soil texture often becomes a more significant factor in vegetative response. If the degree of manipulation allows soil texture to influence the plant community or if altered soil properties (i.e., salinization or the addition of fill material) results in vegetation change, a transition to a completely different ecological site may have occurred. The transition to an altogether different ecological site will depend upon severity of altered hydrology, soil properties, and corresponding vegetation. Due to the many variables (e.g. hydrology, success and type of drainage, etc.), impacts to the Ecological Site will be site-specific. As a result, each situation will require field investigation to determine what, if any changes in Ecological Site designation is necessary and proceed accordingly.
Without restoring hydrologic function (which may include range seeding), managers need to reference state and transition models within those sites. Hydrology will need to be fully restored in Wet Meadow and Shallow Marsh ecological sites in order for these sites to properly function. It is recommended that managers review the appropriate State and Transition Models prior to wetland restoration.
Recreational uses
Hunting and Bird Watching: Over 113,000 acres of National Wildlife Refuges and over 77,000 acres of Waterfowl Production Areas owned and managed by the United States Fish and Wildlife Service are available for public hunting and bird watching. In addition, over 22,000 acres of North Dakota Wildlife Management Areas (WMAs), approximately 8,000 acres of North Dakota Forest Service, and thousands of acres of Department of Trust Lands are scattered throughout the central and western portions of the MLRA; these areas are available for hunting and bird watching. MLRA 55A provides a unique ruffed grouse hunting opportunity in North Dakota on wildlife management areas managed by the North Dakota Game and Fish Department and forest service lands managed by North Dakota Forest Service within the Turtle Mountain.
Camping: Three state parks are located within the MLRA including Lake Metigoshe State Park (Turtle Mt.), Grahams Island State Park (Devils Lake), and the newly designated Pembina Gorge State Park (formerly Pembina Gorge Recreation Area). These Parks provide hiking, biking, birding, canoeing, and wildlife viewing opportunities. Many local parks and private parks provide modern and primitive camping opportunities. The approximately 8,000 acres of North Dakota Forest Service provides primitive camping (no electric or water hookups) as well as fishing and canoeing access at various lakes. These forests and lakes provide access to swimming beaches, picnicking, and an extensive trail system open to hiking, mountain biking, horseback riding, snowmobiling, and cross-country skiing (not groomed). Limited primitive camping is also available on North Dakota Game and Fish Department Wildlife Management Areas.
Hiking/Biking/Horseback Riding: Hiking is permitted on most state and federally owned lands. Developed hiking and biking trails can be found on North Dakota Forest Service lands (18.6 miles), Upper Souris NWR (4.25 miles), Des Lacs NWR (8.5 miles), J. Clark NWR (3.3 miles), White Horse Hill National Game Preserve (3.6 miles), Lake Metigoshe State Park (16 miles), and Grahams Island State Park (2.1 miles; 3 miles cross country skiing). In addition, extensive biking and walking trails are found in local county and city parks. The Turtle Mountain State Recreation Area (ND Forest Service) is located six miles northwest of Bottineau. This recreation area has over 12 miles of trails open to hiking, biking, snowshoeing, horseback riding, and OHV’s.
The Pembina Gorge State Park encompasses over 2,800 acres of public land in the Pembina River Gorge. Steep valley cliffs towering over small, isolated prairies and pocketed wetlands surrounded by the largest continuous, undisturbed forest in North Dakota provide opportunities for canoeing, kayaking, hiking, biking, horseback riding, hunting, wildlife observing, birding, and downhill and cross- country skiing. Thirty miles of trails provide snowmobiling, mountain biking, and off-highway vehicles (OHV) opportunities.
Canoeing/Kayaking: Designated canoe and kayaking trails are available within the MLRA. J. Clark Sayler NWR has 12.75 miles of designated trails on the Souris River and Pembina Gorge State Park has 14.25 miles on the Pembina River. The Pembina Gorge State Park offers kayak rentals along with kayak transportation. Lake Metigoshe State Park offers canoe and kayak rentals along with standup paddleboards, pontoons, cross country skis, snowshoes, etc.
Downhill Skiing: Downhill skiing is available at Bottineau Winter Park within Turtle Mountain and Frost Fire Park at the Pembina Gorge. Full-service rental shops are available along with alpine trails ranging from beginner to expert. Conveyor lifts on the beginner hills to chairlifts are available for skiers.
International Peace Garden: The only peace garden located on the United States/Canada border, the International Peace Garden is a 2,339-acre botanical garden commemorating peace between the United States and Canada along the world’s longest unfortified border. It blooms with more than 155,000 flowers and showcases the Peace Chapel, Peace Towers, and Floral Clock. The North American Game Wardens Museum if also located within the boundaries of the International Peace Garden.
Wood products
No appreciable wood products are present on the site.
Other products
Seed harvest of native plant species can provide additional income on this site.
Other information
• Further investigation is needed on the wide range of soil textures and associated properties and their relationship to hydrology/plant dynamics.
• Further investigation in need on areas of this site associated with drainageways. Divide soils occur on some low terraces of drainageways. Moritz soils occur along the outer edges of some channeled drainageways. The impact of occasional flooding on these areas needs evaluation.
• Further evaluation and refinement of the State-and-Transition model may be needed to identify disturbance driven dynamics. Additional states and/or phases may be required to address grazing response.
• Further documentation may be needed for plant communities in all states. Plant data has been collected in previous range-site investigations, including clipping data; however, this data needs review. If geo-referenced sites meeting Tier 3 standards for either vegetative or soil data are not available, representative sites will be selected for further investigation.
• Site concepts will be refined as the above noted investigations are completed.
• The long-term goal is to complete an approved, correlated Ecological Site Description as defined by the National Ecological Site Handbook.
• NASIS revisions needed:
o During the recently completed Ecological Site Description update, saline phases of Aeric Calciaquolls were reassigned from Saline Lowland to the Salinized State of Limy Subirrigated. Numerous components of Bearden, Fram, Glyndon, Hamerly, and Wyndmere need to be relinked, as well as one component of Moritz.
o Components of the Mauvais soil series need to be re-linked to the Limy Subirrigated ES; they are currently linked to the Subirrigated ES.
o Fourteen components of Hamerly and one each of Divide and Wyrene are currently linked to 53A Limy Subirrigated (Legacy); these need to be revised to 55A Limy Subirrigated.
This ESD is the best available knowledge. The site concept and species composition table have been used in the field and tested for more than five years. It is expected that as additional information becomes available revisions may be required.
Supporting information
Inventory data references
Information presented here has been derived from NRCS and other federal/state agency clipping and inventory data. Also, field knowledge of range-trained personnel was used. All descriptions were peer reviewed and/or field tested by various private, state and federal agency specialists.
Those involved in developing this site description include: Stan Boltz, NRCS Range Management Specialist; Dave Dewald, NRCS State Biologist; Jody Forman, NRCS Range Management Specialist; Jeff Printz, NRCS State Range Management Specialist; Kevin Sedivec, Extension Rangeland Management Specialist; Shawn Dekeyser, North Dakota State University; Rob Self, The Nature Conservancy and Lee Voigt, NRCS Range Management Specialist.
Other references
Bakker, K.K. 2003. The effect of woody vegetation on grassland nesting birds: an annotated bibliography. The Proceedings of the South Dakota Academy of Science 82:119-141.
Barker, W.T. and W. C. Whitman. 1988. Vegetation of the Northern Great Plains. Rangelands 10(6): 266-272.
Bluemle, J.P. 1985. Geology of Bottineau County, North Dakota. North Dakota Geological Survey Bulletin 78-Part I. 57 pages.
Bluemle. J.P. 2016. North Dakota’s geologic legacy. North Dakota State University Press. 382 pages.
Briske, D.D. (editor). 2017. Rangeland systems – processes, management, and challenges. Springer Series on Environmental Management. 661 pages.
DeKeyser, E.S., G. Clambey, K. Krabbenhoft, and J. Ostendorf. 2009. Are changes in species composition on central North Dakota rangelands due to non-use management? Rangelands 31:16-19
Dix, R.L. and F.E. Smeins. 1967. The prairie, meadow, and marsh vegetation of Nelson County, North Dakota. Canadian Journal of Botany 45:21-57.
Dornbusch, M.J., R.F. Limb, and C.K. Gasch. 2018. Facilitation of an exotic grass through nitrogen enrichment by an exotic legume. Rangeland Ecology & Management 71:691-694.
Dyke, S.R., S.K. Johnson, and P.T. Isakson. 2015. North Dakota state wildlife action plan. North Dakota Game and Fish Department, Bismarck, ND. 468 pages.
Ehrenfeld, Joan G. 2002. Effects of exotic plant invasions on soil nutrient cycling processes. Ecosystems 6:503-523.
Ereth, C., J. Hendrickson, D. Kirby, E. DeKeyser, K. Sedevic, and M. West. Controlling Kentucky bluegrass with herbicide and burning is influenced by invasion level. Invasive Plant Science and Management 10: 80-89.
Gilgert, W. and S. Zack. 2010. Integrating multiple ecosystem services into ecological site descriptions. Rangelands: 32:49-54.
Grant, T.A. and R.K. Murphy. 2005. Changes on woodland cover on prairie refuges in North Dakota, USA. Natural Areas Journal 25:359-368.
Guinan, D.M, and C.S. Rewcastle. 1982. Trends of plant succession in Turtle Mountain Provincial Park. Manitoba Department Natural Resources MS Report No. 82-6. 40 pages.
Heitschmidt, R. K., K. D. Klement, and M. R. Haferkamp. 2005. Interactive effects of drought and grazing on Northern Great Plains rangelands. Rangeland Ecology and Management 58:11-19.
Hendrickson, J.R., P. S. Johnson, M. A. Liebig, K. K. Sedivec, and G. A. Halvorson. 2016. Use of ecological sites in managing wildlife and livestock: an example with prairie dogs. Rangelands
Hendrickson, J.R., S.L. Kronberg, and E.J. Scholljegerdes. 2020. Can targeted grazing reduce abundance of invasive perennial grass (Kentucky Bluegrass) on native mixed-grass prairie? Rangeland Ecology and Management, 73:547-551.
Higgins, K.F. 1984. Lightning fires in grasslands in North Dakota and in pine-savanna lands in nearby South Dakota and Montana. J. Range Manage. 37:100-103.
Higgins, K.F. 1986. Interpretation and compendium of historical fire accounts in the Northern Great Plains. United States Department of Interior, Fish and Wildlife Service. Resource Publication 161. 39 pages.
Higgins, K.F., A.D. Kruse, and J.L. Piehl. 1989. Effects of fire in the Northern Great Plains. U.S. Fish and Wildlife Service and Cooperative Extension Service South, Dakota State University. Extension Circular 761. 48 pages.
High Plains Regional Climate Center, University of Nebraska, 830728 Chase Hall, Lincoln, NE 68583- 0728. (http://hprcc.unl.edu)
Hoffman, G.R. and R.R. Alexander. 1987. Forest vegetation of the Black Hills National Forest of South Dakota and Wyoming: a habitat type classification. USDA Forest Service Research Paper RM- 276, 48 pages.
Johnson, Sandra. 2015. Reptiles and amphibians of North Dakota. North Dakota Game and Fish Department. 64 pages.
Jordan, N. R., D.L. Larson, and S.C. Huerd. 2008. Soil modification by invasive plants: effects on native and invasive species of mixed-grass prairies. Biological Invasions 10:177-190.
Knudson, W. and R. L. Post. 1963. Butterflies of Bottineau County. North Dakota State University Department of Agricultural Entomology. 29 pp.
Kurmis, V., and E. Sucoff. 1999. Population density and height distribution of Corylus cornuta in undisturbed forests of Minnesota: 1965-1984. Can. J. Bot. 67:2409-2413.
Lemke, Richard W., Geology of the Souris River area North Dakota Geological Survey, Professional Paper, 325 pp. Prepared as a part of a program of the Department of the Interior for development of the Missouri River Basin United States Government Printing Office, Washington, DC:1960.
Mader, E., M. Shepherd, M. Vaughan, and S.H. Black. 2011. Attracting native pollinators: protecting North America's bees and butterflies. Accessed at https://xerces.org, May 1, 2017.
McCartney. D.H. 1993. History of grazing research in the aspen parkland. Canadian Journal of Botany 73:749-763.
Minnesota Department of Natural Resources, Managing your woodland for ruffed grouse, Accessed on February 25, 2019; Available at https://files.dnr.state.mn.us/recreation/hunting/grouse/managing_woodland_ruffed_grouse_flat.pdf
North Dakota Division of Tourism, Accessed on February 25, 2019. Available at https://www.ndtourism.com/sports-recreation
North Dakota Parks and Recreation Department, Accessed on February 25, 2019. Available at http://www.parkrec.nd.gov/recreationareas/recreationareas.html
Palit, R., G. and E.S. DeKeyser. 2022. Impacts and drivers of smooth brome (Bromus inermis Leyes.) invasion in native ecosystems. Plants: 10,3390. http://https://www.mdpi.com/2223-7747/11/10/1340
Palit, R., G. Gramig, and E.S. DeKeyser. 2021. Kentucky bluegrass invasion in the Northern Great Plains and prospective management approaches to mitigate its spread. Plants: 10,817. https://doi.org/10.3390/plants10040817
Potter, L.D. and D. R. Moir. 1961. Phytosociological study of burned deciduous woods, Turtle Mountains North Dakota. Ecology Vol 2, No. 3: 468-480.
Printz, J.L. and J.R. Hendrickson. 2015. Impacts of Kentucky bluegrass invasion (Poa pratensis) on Ecological Processes in the Northern Great Plains. Rangelands 37(6):226-232.
Redmann, Robert E. 1975. Production ecology of grassland plant communities in western North Dakota. Ecological Monographs 45:83-106.
Reeves, J.L., J.D. Derner, M.A. Sanderson, J.R. Hendrickson, S.L. Kronberg, M.K. Petersen, and L.T. Vermeire. 2014. Seasonal weather influences on yearling beef steer production in C3-dominated Northern Great Plains rangeland. Agriculture, Ecosystems and Environment 183:110-117.
Renton, J. C. 2010. The impact of cattle grazing on aspen regeneration on crown lands in western Manitoba. M.S. thesis, University of Manitoba, Winnipeg. 130 pages.
Riffle, J.W. and G.W. Peterson. 1986. Diseases of Trees in the Great Plains. U.S.D.A. Forest Service General Technical Report RM-129. 149 pages.
Royer, R. A., 2003. Butterflies of North Dakota: An Atlas and Guide. Minot State University, Minot, ND.
Schulz, J.W. 1984. Manipulation of habitat for ruffed grouse on the Wakopa Wildlife Management Area, North Dakota. Pages 109-121 In Robinson, W.L. editor. Ruffed Grouse Management, state of the art in the early 1980’s. Proceedings of a Symposium, 45th Midwest Fish and Wildlife Conference, St. Louis, MO. 181 pages. Available at https://wildlife.org/wp-content/uploads/2015/12/Robinson1984_RuffedGrouseManagement_300dpi.pdf
Seabloom, R. 2020. Mammals of North Dakota. North Dakota Institute for Regional Studies, Fargo, ND. 470 pages.
Sedivec, K.D., J.L. Printz. 2014. Ranchers guide to grassland management IV. NDSU Extension Service publication R1707.
Severson, K. E. and C. Hull Sieg. 2006. The nature of eastern North Dakota: Pre-1880 historical ecology. North Dakota Institute for Regional Studies.
South Dakota Dept. of Game, Fish and Parks. 2014. South Dakota wildlife action plan. Wildlife Division Report 2014-03.
Spaeth, K.E., Hayek, M.A., Toledo, D., and Hendrickson, J. 2019. Cool season grass impacts on native mixedgrass prairie species in the Northern Great Plains. America’s Grassland Conference: Working Across Boundaries. The Fifth Biennial Conference on the Conservation of America’s Grasslands. Bismarck, ND. 20-22 August.
Thorpe, J.P. 1978. Effects of cattle grazing on understory shrubs in Saskatchewan aspen forests. M.S. thesis, University of Saskatchewan, Saskatoon. 135 pages.
Tidwell, D., D.T. Fogarty, and J.R. Weir. 2021. Woody encroachment in grasslands, a guide for understanding risk and vulnerability. Oklahoma State University, Oklahoma Cooperative Extension Service publication E-1054. 32 pages.
Toledo, D., M. Sanderson, K. Spaeth, J. Hendrickson, and J. Printz. 2014. Extent of Kentucky bluegrass and its effect on native plant species diversity and ecosystem services in the Northern Great Plains of the United State. Invasive Plant Science and Management 7(4): 543-552.
USDA, NRCS. 2021. National range and pasture handbook, (https://www.nrcs.usda.gov/wps/portal/nrcs/detailfull/national/landuse/rangepasture/?cid=stelprdb104 3084)
USDA, NRCS. 2006. Land resource regions and major land resource areas of the United States, the Caribbean, and the Pacific Basin. U.S. Department of Agriculture Handbook 296.
USDA, NRCS. National soil information system, 100 Centennial Mall North, Room 152, Lincoln, NE 68508-3866.
(https://www.nrcs.usda.gov/wps/portal/nrcs/detail/soils/survey/tools/?cid=nrcs142p2_053552)
USDA, NRCS. National Water & Climate Center, 1201 NE Lloyd Blvd, Suite 802, Portland, OR 97232-1274. (https://www.wcc.nrcs.usda.gov/)
USDA, NRCS. 2001. The PLANTS database, Version 3.1 (http://plants.usda.gov). National Plant Data Center, Baton Rouge, LA 70874-4490 USA.
USDA, NRCS, Various Published Soil Surveys.
USDI BLM.1999. Utilization studies and residual measurements. Interagency Technical Reference 1734-3.
U.S. Fish and Wildlife Service. 2015. Endangered and threatened wildlife and plants; designation of critical habitat for the Dakota skipper and Poweshiek skipperling; Vol. 79 No. Final Rule October 1, 2015, 50 CFR Part 17.
Vinton, M.A. and E.M. Goergen. 2006. Plant-soil feedbacks contribute to the persistence of Bromus inermis in tallgrass prairie. Ecosystems 9: 967-976.
Waddington, J., D.H. McCartney, and L.P. Lefkovitch. 1999. Effects of management on species dynamics of Canadian aspen parkland pastures. Journal of Range Management 52:60-67.
Weatherill, R.G., and L.B. Keith. 1969. The effect of livestock grazing on an aspen forest community. Utah State University. Department of Lands and Forests Fish and Wildlife Division Technical Bulletin No. 1. 31 pages.
Whitman, W.H., H. Hanson, and R. Peterson. 1943. Relation of drought and grazing to North Dakota range lands. North Dakota Agricultural Experimentation Bulletin 340.
Contributors
ND NRCS: David Dewald, Jonathan Fettig, Alan Gulsvig, Mark Hayek, Chuck Lura, Jeff Printz, Steve Sieler, and Hal Weiser
Approval
Suzanne Mayne-Kinney, 5/08/2025
Acknowledgments
We gratefully acknowledge Tom Pabian, Upper Souris River National Wildlife Refuge manager for making the refuge available for field work in developing the ESD.
Rangeland health reference sheet
Interpreting Indicators of Rangeland Health is a qualitative assessment protocol used to determine ecosystem condition based on benchmark characteristics described in the Reference Sheet. A suite of 17 (or more) indicators are typically considered in an assessment. The ecological site(s) representative of an assessment location must be known prior to applying the protocol and must be verified based on soils and climate. Current plant community cannot be used to identify the ecological site.
Author(s)/participant(s) | USDA-NRCS North Dakota |
---|---|
Contact for lead author | NRCS ND State Rangeland Management Specialist |
Date | 12/01/2021 |
Approved by | Suzanne Mayne-Kinney |
Approval date | |
Composition (Indicators 10 and 12) based on | Annual Production |
Indicators
-
Number and extent of rills:
Rills are not expected on this site. -
Presence of water flow patterns:
Water flow patterns are not visible. -
Number and height of erosional pedestals or terracettes:
Neither pedestals nor terracettes are expected. -
Bare ground from Ecological Site Description or other studies (rock, litter, lichen, moss, plant canopy are not bare ground):
Bare ground is 5% or less occurring in small patches (less than 2 inches in diameter) and disconnected. Animal activity (burrows and ant mounds) ay occasionally result in isolated bare patches of up to 24 inches in diameter. -
Number of gullies and erosion associated with gullies:
Active gullies are not expected on this site. -
Extent of wind scoured, blowouts and/or depositional areas:
No wind-scoured or depositional areas expected on this site. -
Amount of litter movement (describe size and distance expected to travel):
Plant litter movement not expected on this site. -
Soil surface (top few mm) resistance to erosion (stability values are averages - most sites will show a range of values):
Stability class averages 6. -
Soil surface structure and SOM content (include type of structure and A-horizon color and thickness):
Use soil series description for depth, color, and structure of A-horizon. -
Effect of community phase composition (relative proportion of different functional groups) and spatial distribution on infiltration and runoff:
Mid- and short-statured bunch grasses and tall rhizomatous grasses are dominant and well distributed across the site. Forbs are subdominant. -
Presence and thickness of compaction layer (usually none; describe soil profile features which may be mistaken for compaction on this site):
No compaction layers occur naturally on this site. -
Functional/Structural Groups (list in order of descending dominance by above-ground annual-production or live foliar cover using symbols: >>, >, = to indicate much greater than, greater than, and equal to):
Dominant:
Phase 1.1:
Mid & short C4 bunch grasses (1); Tall C4 rhizomatous grasses (2)Sub-dominant:
Phase 1.1:
Mid & short C3 bunch grasses (1); Mid and short C3 rhizomatous grasses (2); Forbs (16)Other:
Minor - Phase 1.1:
Mid & short C4 rhizomatous grasses; Grass-likes; ShrubAdditional:
Due to differences in phenology, root morphology, soil biology relationships, and nutrient cycling Kentucky bluegrass, smooth brome, and crested wheatgrass are included in a new Functional/structural group, mid- and short-statured early cool-season grasses (MSeC3), not expected for this site.
To see a full version 5 rangeland health worksheet with functional/structural group tables. Please use the following hyperlink:
https://efotg.sc.egov.usda.gov/references/public/ND/55A_Limy_Subirrigated_Narrative_FINAL_Ref_FSG.pdf -
Amount of plant mortality and decadence (include which functional groups are expected to show mortality or decadence):
Rare to not occurring on this site. -
Average percent litter cover (%) and depth ( in):
Plant litter cover is 80 to 90% with a depth of 0.5 inch or less. Litter is in contact with the soil surface. -
Expected annual annual-production (this is TOTAL above-ground annual-production, not just forage annual-production):
Annual air-dry production is 4100 lbs./ac (reference value) with normal precipitation and temperatures. Low and high production years should yield 3100 lbs./ac to 5600 lbs./ac, respectively. -
Potential invasive (including noxious) species (native and non-native). List species which BOTH characterize degraded states and have the potential to become a dominant or co-dominant species on the ecological site if their future establishment and growth is not actively controlled by management interventions. Species that become dominant for only one to several years (e.g., short-term response to drought or wildfire) are not invasive plants. Note that unlike other indicators, we are describing what is NOT expected in the reference state for the ecological site:
State and local noxious species, Kentucky bluegrass, smooth bromegrass, crested wheatgrass, quackgrass, Siberian elm, Eastern red cedar/juniper, and Russian olive. -
Perennial plant reproductive capability:
Noninvasive species in all functional/structural groups are vigorous and capable of reproducing annually under normal weather conditions.
Print Options
Sections
Font
Other
The Ecosystem Dynamics Interpretive Tool is an information system framework developed by the USDA-ARS Jornada Experimental Range, USDA Natural Resources Conservation Service, and New Mexico State University.
Click on box and path labels to scroll to the respective text.
Ecosystem states
States 2 and 5 (additional transitions)
T1A | - | Introduction of exotic cool-season grasses |
---|---|---|
T2A | - | Extended periods of non-use or very light grazing, heavy season-long grazing, no fire |
T2B | - | Long-term heavy grazing or annual haying |
R3A | - | Long term prescribed grazing with prescribed burning |
R4A | - | Successful range planting |
R4B | - | Failed range planting |
T4A | - | Cessation of annual cropping with EC>8, no range planting or failed range planting |
T5A | - | Cessation of cropping. |
State 1 submodel, plant communities
1.1A | - | Multiyear drought with/without heavy, long-term grazing |
---|---|---|
1.2A | - | Return to average precipitation |
State 2 submodel, plant communities
2.1A | - | Heavy season-long grazing or no-use |
---|---|---|
2.1B | - | Long-term non-use or very light grazing, and no fire. |
2.2A | - | Prescribed grazing with prescribed burning |
2.2B | - | Heavy season-long grazing |
2.3A | - | Long-term prescribed grazing with prescribed burning |
State 3 submodel, plant communities
3.1A | - | Long-term non-use or very light grazing, and no fire |
---|---|---|
3.2A | - | Long-term prescribed burning and/or chemical/mechanical brush management |