
Natural Resources
Conservation Service
Ecological site R053CY040SD
Loamy Floodplain
Last updated: 1/22/2024
Accessed: 10/18/2025
General information
Provisional. A provisional ecological site description has undergone quality control and quality assurance review. It contains a working state and transition model and enough information to identify the ecological site.
MLRA notes
Major Land Resource Area (MLRA): 053C–Southern Dark Brown Glaciated Plains
The Southern Dark Brown Glaciated Plains (53C) is located within the Northern Great Plains Region. It is entirely in South Dakota encompassing about 3,990 square miles (Figure 1). The elevation ranges from 1,300 to 2,300 feet. The MLRA is level to gently rolling till plains including many areas of potholes. A terminal moraine occurs in the southern end of the MLRA. Moderately steep and steep slopes are adjacent to the major valleys. The headwaters of many creeks in central South Dakota occur in the high-lying MLRA. (USDA-NRCS 2006).
The dominant soil orders in this MLRA are Mollisols and Inceptisols. The soils in the area dominantly have a mesic soil temperature regime, an ustic soil moisture regime, and mixed or smectitic mineralogy. They generally are very deep, well drained or moderately well drained, and are loamy or clayey. This area supports natural prairie vegetation characterized by western wheatgrass (Pascopyrum smithii), big bluestem (Andropogon gerardii), needleandthread (Hesperostipa comata), and green needlegrass (Nassella viridula). Little bluestem (Schizachyrium scoparium), sideoats grama (Bouteloua curtipendula), and prairie sandreed (Calamovilfa longifolia) are important species on steeper sites. Western snowberry (Symphoricarpos occidentalis) and prairie rose (Rosa arkansana) are commonly dispersed throughout the area. (USDA-NRCS 2006).
Classification relationships
Major Land Resource Area (MLRA): Southern Dark Brown Glaciated Plains (53C) (USDA-NRCS 2006)
USFS Subregions: Northeastern Glaciated Plains Section (331E); Missouri Coteau Subsection (331Ea); Western Great Plains Section (331F); Missouri Breaks Subsection (331Fe); Western Glaciated Plains Section (332B); Southern Missouri Coteau Slope Subsection (332Bd, 332Be); North Central Great Plains Section (332D); Southern Missouri Coteau Slope Subsection (332Dd); Southern Missouri Coteau Subsection (332De) - (Cleland et al. 2007).
US EPA Level IV Ecoregion: Missouri Coteau (42a); Southern Missouri Coteau (42e); Southern Missouri Coteau Slope (42f) - (USEPA 2013)
Ecological site concept
The Loamy Floodplain ecological site occurs in high floodplain areas. Soils are moderately well drained which have water flow into and over and through the site and have occasional to frequent flooding. Vegetation in the Reference State is includes big bluestem, switchgrass, and sideoats grama. Trees may be common on this site, including green ash and Plains cottonwood. The site may become invaded by non-native grasses including Kentucky bluegrass, smooth bromegrass, and quackgrass or non-native woodies including Russian olive and eastern redcedar.
Associated sites
R053CY002SD |
Linear Meadow These sites typically occur in drainageways. Soils are poorly and very poorly drained which have a water table within 0 to 2 feet of the soil surface that persists longer than the wettest part of the growing season, typically until the month of August. The central concept soil series are Clamo and Lawet, but others are included. |
---|---|
R053CY007SD |
Saline Lowland These sites typically occur in drainageways. Soils are poorly and very poorly drained which have a water table within 0 to 2 feet of the soil surface that persists longer than the wettest part of the growing season, typically until the month of August. The soils will have visible salts within 16 inches of the soil surface. The central concept soil series are Durrstein and Egas, but other series are included. |
R053CY041SD |
Clayey Floodplain These sites occur in high floodplain areas which have water flow into and over or through the site, and have rare to frequent flooding. Soils are moderately well drained and have greater than 40 percent clay in the surface or subsoil separately or the combination of both together. |
Similar sites
R053CY020SD |
Loamy Overflow The Loamy Overflow site occurs in upland swales. Soils are moderately well drained which have water flow into and over or through the site. |
---|
Table 1. Dominant plant species
Tree |
Not specified |
---|---|
Shrub |
Not specified |
Herbaceous |
(1) Andropogon gerardii |
Physiographic features

Figure 1. Distribution map
Table 2. Representative physiographic features
Landforms |
(1)
Plains
> Flood plain
|
---|---|
Flooding duration | Brief (2 to 7 days) |
Flooding frequency | Frequent |
Elevation | 1 – 2 ft |
Slope | 2% |
Water table depth | 30 – 80 in |
Climatic features
MLRA 53C is considered to have a continental climate – cold winters and hot summers, low humidity, light rainfall, and much sunshine. Extremes in temperature may also abound. The climate is the result of this MLRA’s location near the geographic center of North America. There are few natural barriers on the Northern Great Plains and air masses move freely across the plains and account for rapid changes in temperature.
Annual precipitation typically ranges from 15 to 25 inches per year. The average annual temperature is about 45°F. January is the coldest month with average temperatures ranging from about 15°F (Stephan, South Dakota (SD)), to about 16°F (Onida 4 NW, SD). July is the warmest month with temperatures averaging from about 72°F (Stephan, SD), to about 74°F (Onida 4 NW, SD). The range of normal average monthly temperatures between the coldest and warmest months is about 58°F. This large annual range attests to the continental nature of this area's climate. Hourly winds are estimated to average about 12 miles per hour (mph) annually, ranging from about 13 mph during the spring to about 11 mph during the summer. Daytime winds are generally stronger than nighttime and occasional strong storms may bring brief periods of high winds with gusts to more than 50 mph.
Growth of cool-season plants begins in early to mid-March, slowing or ceasing in late June. Warm-season plants begin growth about mid-May and continue to early or mid-September. Greenup of cool-season plants may occur in September and October when adequate soil moisture is present.
Table 3. Representative climatic features
Frost-free period (characteristic range) | 107-127 days |
---|---|
Freeze-free period (characteristic range) | 128-150 days |
Precipitation total (characteristic range) | 20-21 in |
Frost-free period (actual range) | 104-129 days |
Freeze-free period (actual range) | 127-159 days |
Precipitation total (actual range) | 19-24 in |
Frost-free period (average) | 117 days |
Freeze-free period (average) | 139 days |
Precipitation total (average) | 21 in |
Figure 2. Monthly precipitation range
Figure 3. Monthly minimum temperature range
Figure 4. Monthly maximum temperature range
Figure 5. Monthly average minimum and maximum temperature
Figure 6. Annual precipitation pattern
Figure 7. Annual average temperature pattern
Climate stations used
-
(1) GETTYSBURG 13W [USC00393302], Gettysburg, SD
-
(2) GETTYSBURG [USC00393294], Gettysburg, SD
-
(3) HIGHMORE 23 N [USC00393838], Highmore, SD
-
(4) ONIDA 4 NW [USC00396292], Onida, SD
-
(5) PIERRE RGNL AP [USW00024025], Pierre, SD
-
(6) HARROLD 12 SSW [USC00393608], Pierre, SD
-
(7) STEPHAN 2 NW [USC00397992], Highmore, SD
-
(8) WESSINGTON SPRINGS [USC00399070], Wessington Springs, SD
Influencing water features
This site receives additional water as overflow from rivers or streams and can be rarely to frequently flooded.
Soil features
The common soil features of soils in this site are the loam to clay loam subsoil and slopes 0 to 2 percent. The soils in this site are moderately drained and formed in alluvium. The loam surface layer is 5 to 9 inches thick. The soils have a moderate to moderately slow infiltration rate. The central concept soil series is Nimbro, but others are included. The soils show no evidence of rills, wind scoured areas, or pedestalled plants. The soil surface is stable and intact. Subsurface soil layers are nonrestrictive to water movement and root penetration. These soils are not susceptible to water erosion. Flooding frequency strongly influences the soil-water-plant relationship.
Table 4. Representative soil features
Surface texture |
(1) Loam (2) Silty clay loam |
---|---|
Drainage class | Moderately well drained |
Permeability class | Moderate to moderately slow |
Soil depth | 80 in |
Surface fragment cover <=3" | Not specified |
Surface fragment cover >3" | Not specified |
Available water capacity (0-40in) |
0.14 – 0.2 in |
Calcium carbonate equivalent (0-40in) |
25% |
Electrical conductivity (0-40in) |
2 mmhos/cm |
Sodium adsorption ratio (0-40in) |
Not specified |
Soil reaction (1:1 water) (0-40in) |
7.4 – 8.4 |
Subsurface fragment volume <=3" (Depth not specified) |
Not specified |
Subsurface fragment volume >3" (Depth not specified) |
Not specified |
Ecological dynamics
State and Community Phases
The information in this Ecological Site Description, including the state-and-transition model (STM), was developed based on historical data, current field data, professional experience, and a review of the scientific literature. As a result, all possible scenarios or plant species may not be included. Key indicator plant species, disturbances, and ecological processes are described to inform land management decisions.
The site which is located in the Southern Dark Brown Glaciated Plains developed under Northern Great Plains climatic conditions and included natural influence of large herding herbivores and occasional fire. Changes will occur in the plant communities due to weather fluctuations or management actions separately or the combination of both together. Under adverse impacts, a relatively rapid decline in vegetative vigor and composition can occur. Under favorable conditions the site has the potential to resemble the Reference State. Interpretations for this site are based primarily on the 1.1 Bluestem-Switchgrass-Sideoats Grama Plant Community Phase. This community phase and the Reference State have been determined by study of rangeland relic areas, areas protected from excessive disturbance, and areas under long-term rotational grazing regimes. Trends in plant community dynamics ranging from heavily grazed to lightly grazed areas, seasonal use pastures, and historical accounts also have been considered.
This ecological site (ES) has been grazed by domestic livestock since they have been introduced into the area. The removal of fire, the introduction of invasive species, the introduction of domestic livestock, and the use of fencing and reliable water sources have changed the ecological dynamics of this site. Continuous grazing without adequate recovery periods following each grazing occurrence over several years, and lack of fire frequency cause this site to depart from the interpretive plant community. Trees and shrubs are a minor but consistent component in the reference state occurring as scattered individuals or patches. Plains Cottonwood (Populus deltoides) establishment results from severe flooding events where scouring or sediment deposition separately or the combination of both together allow for seed germination and establishment. Not a frequently occurring plant community but rather unique and dependent upon the combination of flooding, bare soils, seed dispersal, and germination. Other shrub and tree species often establish as a result of high litter levels or bare ground opportunities and the lack of fire, all of which favor woody plant establishment. Species such as green ash (Fraxinus pennsylvanica), and Plains Cottonwood will initially increase. Big bluestem and sideoats grama will decrease in frequency and production. Increased woody and tree species and heavy continuous grazing causes shade tolerant species like Kentucky bluegrass (Poa pratensis) to increase and eventually develop into a sod condition. The significant increase in invasive cool season grasses, specifically Kentucky bluegrass and smooth bromegrass (Bromus inermis), on this site is the result of several factors including typically cold wet springs coupled with spring grazing deferment, high tolerance of grazing, shade tolerance, severe defoliation of native grasses in the growing season, and the elimination of fire from the system. Due to the spread of these species, the interpretive plant community no longer exists. Extended periods of nonuse and no fire will result in a plant community of mature green ash or plains cottonwood with a shaded understory of Kentucky bluegrass creating a park like appearance.
Mechanical removal, catastrophic fire, or inundation of woody species due to flooding with very long duration (greater than 30 days) beyond normal ponding and drying patterns will create a community dominated by big bluestem, switchgrass, and sideoats grama, which will be invaded with lesser amounts of non-native species such as Kentucky bluegrass and smooth bromegrass.
Following the state and transition diagram are narratives for each of the described states and community phases. These may not represent every possibility, but they are the most prevalent and repeatable states and community phases. The plant composition tables shown below have been developed from the best available knowledge at the time of this revision. As more data are collected, some of these community phases or states separately or the combination of both together may be revised or removed, and new ones may be added. The main purpose for including the descriptions here is to capture the current knowledge and experience at the time of this revision.
The following is a diagram that illustrates the common plant community phases that can occur on the site and the transition and community pathways between them. The ecological processes will be discussed in more detail in the plant community descriptions following the diagram.
State and transition model

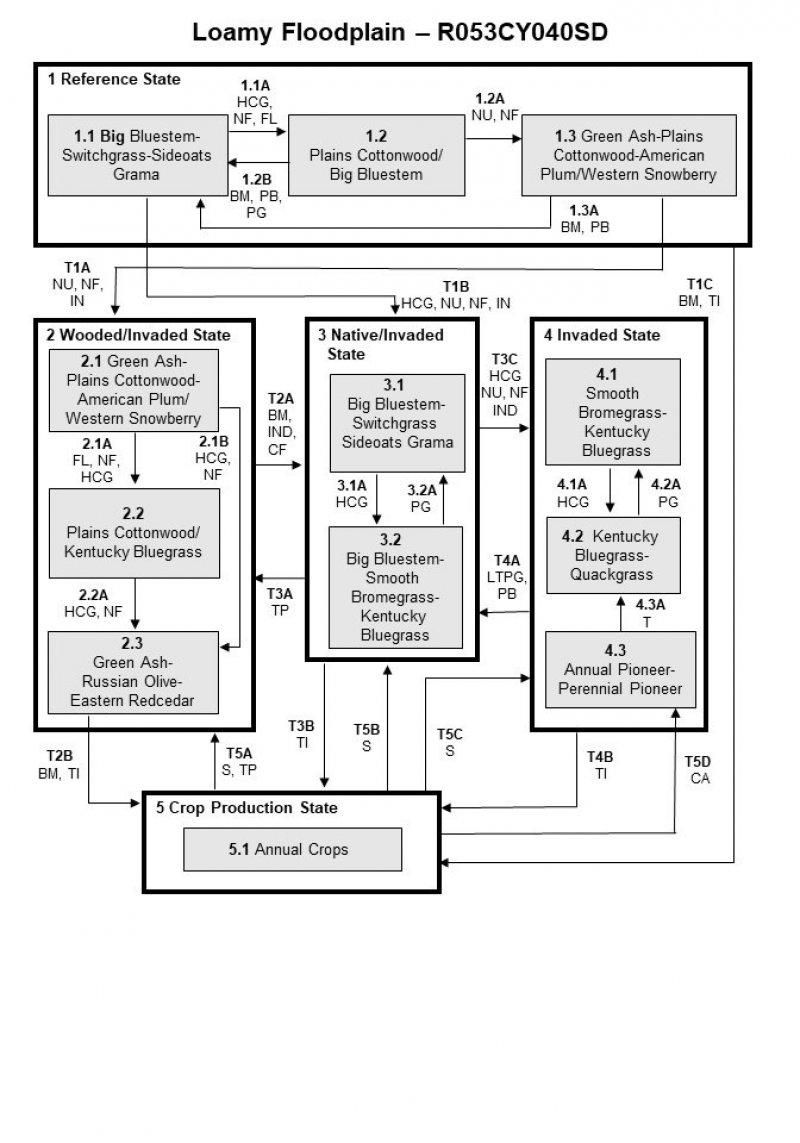
Figure 8. State-And-Transition model

Figure 9. Legend

Figure 10. Matrix
More interactive model formats are also available.
View Interactive Models
More interactive model formats are also available.
View Interactive Models
Click on state and transition labels to scroll to the respective text
Ecosystem states
States 1, 5 and 2 (additional transitions)
State 3 submodel, plant communities
State 4 submodel, plant communities
State 1
Reference State
The Reference State describes the range of vegetative community phases that occur on the Loamy Floodplain site where the natural processes are mostly intact. This state would include community phases 1.1, 1.2 and small areas of 1.3. The extent of each would be dependent upon recent growing conditions. Drought and increased fire frequency would favor the herbaceous community while periods of above normal precipitation and reduced fire frequency would have favored the shrub and woody community phase. Due to change in microclimate within the wooded patches, fire intensity would have been lessened, thereby permitting this community to escape normal fire events. Extreme fire events may have resulted in these areas being burned over and reverting to more of an herbaceous and shrub dominated plant community. Invasion of conifers such as eastern redcedar (Juniperus virginian) or Rocky Mountain juniper (Juniperus scopulorum) separately or the combination of both together is possible over time on areas with reduced fire frequency. These areas occur typically in the upper reaches of the watershed.
Community 1.1
Big Bluestem-Switchgrass-Sideoats grama
Interpretations are based primarily on the 1.1 Big Bluestem-Switchgrass-Sideoats Grama Plant Community Phase. The community was dominated by warm-season grasses. Due to spring flooding events, warm-season species have competitive advantage. The major grasses included big bluestem, switchgrass, and sideoats grama. Other grass or grass-like species included western wheatgrass, slender wheatgrass (Elymus trachycaulus), Canada wildrye (Elymus canadensis), porcupine grass (Hesperostia spartea), and sedge (Carex). This plant community was resilient and well adapted to the Northern Great Plains climatic conditions. This was a sustainable plant community in regards to site and soil stability, watershed function, and biologic integrity. Shrub communities were scattered throughout the site and consisted of western snowberry, American plum (Prunus Americana), and chokecherry (Prunus virginiana L.). Trees were also found scattered across the site and consisted of plains cottonwood , American elm, and green ash. The diversity in plant species allowed for great tolerance of variable environmental conditions. This plant community phase is diverse, stable, and productive, and is well adapted to the Northern Great Plains. The water table supplies much of the moisture for native plants with deep root systems. Community dynamics, nutrient cycle, water cycle, and energy flow are functioning properly. Plant litter is properly distributed with very little movement off-site and natural plant mortality is very low. The variability of both the fluctuations of water table and reoccurring ponding allows for the diversity in plant species. This is a sustainable plant community in terms of soil stability, watershed function, and biologic integrity.
Community 1.2
Plains Cottonwood/Big Bluestem
This plant community will slowly develop from the adverse effects of heavy continuous grazing, without adequate recovery periods between each grazing event during the growing season or no surface fire separately or the combination of both together. This phase would occupy those areas which escaped several fire events. Flooding that causes erosion and or sediment deposit and bare soil moves the plant community toward a plant community that includes species that responded favorably to those soil disturbances and that could spread quickly through seed dispersal or rhizomes. The plains cottonwood component is restricted to those areas where and when the soil disturbances allow for air dispersed cottonwood seeds to settle in on bare soils and germinate within the same growing season. This may be an environment only large enough to support a single tree or a larger location (more catastrophic event) where numerous seedlings establish a colony of same aged trees. When compared to the 1.1 Big Bluestem-Switchgrass-Sideoats Grama Plant Community Phase, native warm season tall grasses have decreased. The woody species, such as plains cottonwood have increased and tend to dominate this plant community.
Community 1.3
Green Ash-Plains Cottonwood-American Plum/Western Snowberry
This plant community will slowly develop from the side effects of non-use and no surface fire. Presence of woody species in the 1.2 Plains Cottonwood/Big Bluestem Community phase will continue to take over the site when lack of fire and non-use are used in the management practices. Patches of this plant community phase would be found scattered across the site, most likely in slight depressions or other small areas where fire behavior is minimized due to microclimate or terrain. The green ash and plains cottonwood will grow large and begin to shade out other low growing species and close up the canopy.
Pathway 1.1A
Community 1.1 to 1.2
Heavy continuous grazing or no fire, separately or the combination of both together which includes herbivory at moderate to heavy levels at the same time of year each year without adequate recovery periods, or during periods of below normal precipitation when grazing frequency and intensity increases on these sites due to limited forage availability on adjacent upland sites and no surface fire for extended periods of time (typically for 10 years or more) causing litter levels to become high enough to reduce native grass vigor, diversity, and density or flooding with inundation 30 days or less by itself or combined with other management will shift this community to the 1.2 Plains Cottonwood/Big Bluestem Plant Community Phase.
Pathway 1.2B
Community 1.2 to 1.1
Prescribed grazing (alternating season of use and providing adequate recovery periods) or periodic light to moderate grazing possibly including periodic rest or prescribed burning occurring at relatively frequent intervals (3 to 5 years) and a return to normal disturbance regime levels and frequencies separately or the combination of both together or brush management such as removing woody vegetation by itself or combined with other management will shift this plant community to the 1.1 Big Bluestem-Switchgrass-Sideoats Grama Plant Community Phase.
Pathway 1.2A
Community 1.2 to 1.3
Non-use or no surface fire for extended periods of time (typically for 10 or more years) separately or a combination of both together causing litter levels to become high enough to reduce native grass vigor, diversity, and density, will likely lead this state over a threshold leading to the 1.3 Green Ash-Plains Cottonwood-American Plum/Western Snowberry Plant Community Phase.
Pathway 1.3A
Community 1.3 to 1.1
Brush management which would include the mechanical removal of the woody and shrub vegetation, coupled with prescribed burning occurring at relatively frequent intervals (3 to 5 years) and a return to normal disturbance regime levels and frequencies will shift this plant community to the 1.1 Big Bluestem-Switchgrass-Sideoats Grama Plant Community Phase.
State 2
Wooded/Invaded State
This state is characterized by the increase in bare ground due to trampling caused by excessive use or by inundation for extended periods separately or the combination of both together which causes a temporary shift in the plant composition and cover. Severe flooding events where scouring or sediment deposition separately or the combination of both together allow for seed germination and establishment. This allows for the invasion of woody species, which, with continued heavy grazing and no surface fire, can increase to eventual dominance. Loss or reduction of native cool-season and warm-season species can negatively impacted energy flow and nutrient cycling. Small amount of shade tolerant non-native species such as smooth bromegrass and Kentucky bluegrass would be present. Infiltration will be reduced, and native plant mortality will increase. As the disturbance level increases, native plant density decreases even more, giving way to annual species and invasive perennial species, as well as, a further increase woody species and bare ground. Invasion of conifers such as eastern redcedar or Rocky Mountain juniper separately or the combination of both together is possible over time on areas with reduced fire frequency. These areas occur typically in the upper reaches of the watershed.
Community 2.1
Green Ash-Plains Cottonwood-American Plum/Western Snowberry
This plant community developed with non-use or no surface fire for extended periods of time (typically for 10 or more years) separately or the combination of both together. Green Ash, Plains Cottonwood, American Plum, and Western Snowberry dominate the community. This plant community phase is similar to the 1.3 Green Ash-Plains Cottonwood-American Plum/Western Snowberry Plant Community Phase but it also contains minor amounts of non-native invasive grass species such as Kentucky bluegrass and smooth bromegrass (up to about 15 percent by air-dry weight). Native warm-season tallgrasses like big bluestem and switchgrass will be virtually eliminated from the plant community and replaced with woody vegetation and sedges. Areas of bare ground can be present throughout the site. Loss or reduction of native grasses, grass-likes, and forbs has negatively impacted energy flow and nutrient cycling. It will take a long time to restore this plant community with improved management or return of more normal precipitation patterns and return of regular fire regime.
Community 2.2
Plains Cottonwood/Kentucky Bluegrass
This plant community developed with heavy continuous grazing without adequate recovery periods between grazing events, no surface fire, or with a flooding event by itself or combined with other management that caused erosion of the topsoil and left bare soil for the plains cottonwood to establish. The dominant vegetation includes Plains Cottonwoods, Kentucky Bluegrass, and other native and non-native shade tolerant grasses, and shrubs. Grasses may include, Kentucky bluegrass, smooth bromegrass, and sedges. This is due to the loss of diversity (including the loss of the seed bank) within the existing plant community and the plant communities on adjacent sites, and increased shade from mature cottonwood trees shading out native species. Significant economic inputs, management, and time would be required to move this plant community toward a higher successional stage. Secondary succession is highly variable, depending upon availability and diversity of a viable reproductive source of higher successional species.
Community 2.3
Green Ash-Russian Olive-Eastern Redcedar
This plant community phase is characterized by a dense understory of grasses with an overstory of green ash, Russian olive, and eastern redcedar. As mature trees die, they are replaced by Russian olive or eastern redcedar separately or the combination of both together. The herbaceous understory consists of Kentucky bluegrass and possibly Smooth Bromegrass and some native grass species. Significant economic inputs, management, and time would be required to move this plant community toward a higher successional stage. Secondary succession is highly variable, depending upon availability and diversity of a viable reproductive source of higher successional species.
Pathway 2.1A
Community 2.1 to 2.2
Heavy continuous grazing which includes herbivory at moderate to heavy levels at the same time of year each year without adequate recovery periods, or during periods of below normal precipitation when grazing frequency and intensity increases on these sites due to limited forage availability on adjacent upland sites or no surface fire for extended periods of time (typically for 10 years or more) causing litter levels to become high enough to reduce native grass vigor, diversity, and density and severe flooding events where scouring or sediment deposition separately or the combination of both together allow for seed germination and establishment will shift this community to the 2.2 Plains Cottonwood/Kentucky Bluegrass Plant Community Phase.
Pathway 2.1B
Community 2.1 to 2.3
Heavy continuous grazing or no fire separately or the combination of both together will encourage establishment of green ash or Russian olive (Elaeagnus angustifolia) separately or a combination of both together, with an understory of Kentucky bluegrass or smooth bromegrass separately or a combination of both together. These invasive species alter regeneration rates of native species by out-competing them for resources. Heavy continuous grazing which includes herbivory at moderate to heavy levels at the same time of year each year without adequate recovery periods, or during periods of below normal precipitation when grazing frequency and intensity increases on these sites due to limited forage availability on adjacent upland sites or no surface fire for extended periods of time (typically for 10 years or more) separately or the combination of both together causing litter levels to become high enough to reduce native grass vigor, diversity, and density will shift this community to the 2.3 Green Ash-Russian Olive Plant Community Phase.
Pathway 2.2A
Community 2.2 to 2.3
Heavy continuous grazing or no surface fire separately or a combination of both together will encourage establishment of green ash, Russian Olive, or eastern redcedar separately or a combination together, with an understory of Kentucky bluegrass or smooth bromegrass separately or a combination of both together. These invasive species alter regeneration rates of native species by out-competing them for resources. Heavy continuous grazing which includes herbivory at moderate to heavy levels at the same time of year each year without adequate recovery periods, or during periods of below normal precipitation when grazing frequency and intensity increases on these sites due to limited forage availability on adjacent upland sites or no surface fire for extended periods of time (typically for 10 years or more) separately or a combination of both together causing litter levels to become high enough to reduce native grass vigor, diversity, and density will shift this community to the 2.3 Green Ash-Russian Olive-Eastern Redcedar Plant Community Phase.
State 3
Native/Invaded State
This state represents the more common range of variability that exists with higher levels of grazing management but in the absence of periodic fire due to fire suppression. This state is dominated by warm-season grasses, with cool-season grasses being subdominant. It can be found on areas that are properly managed with grazing or prescribed burning separately or the combination of both together, and sometimes on areas receiving occasional short periods of rest. Taller warm-season species can decline and a corresponding increase in short statured grass will occur. Invasion of conifers such as eastern redcedar or Rocky Mountain juniper separately or the combination of both together is possible over time on areas with reduced fire frequency. These areas occur typically in the upper reaches of the watershed.
Community 3.1
Big Bluestem-Switchgrass-Sideoats Grama
This plant community phase is similar to the 1.1 Big Bluestem-Switchgrass-Sideoats Grama Plant Community Phase, but it also contains minor amounts of non-native invasive grass species such as Kentucky bluegrass and smooth bromegrass (up to about 10 percent by air-dry weight). The potential vegetation is about 80 percent grasses or grass-like plants, 10 percent forbs, and 10 percent shrubs. This community is dominated by warm-season grasses. The major grasses include big bluestem, switchgrass, and sideoats grama. Other grass or grass-like species include porcupine grass, green needlegrass, and slender wheatgrass. This plant community is resilient and well adapted to the Northern Great Plains climatic conditions. The diversity in plant species allows for high drought tolerance. This is a sustainable plant community in regards to site and soil stability, watershed function, and biologic integrity.
Community 3.2
Big Bluestem-Smooth Bromegrass-Kentucky Bluegrass
This plant community is a result of heavy continuous grazing or from over utilization during extended drought periods. The potential plant community is made up of approximately 75 percent grasses and grass-like species, 15 percent forbs, and 10 percent shrubs. Dominant grasses include big bluestem, smooth bromegrass, and Kentucky bluegrass. Grasses of secondary importance include Indiangrass, green needlegrass, tall dropseed (Sporobolus compositus), slender wheatgrass, and sedge. Forbs commonly found in this plant community include cudweed sagewort (Artemisia ludoviciana), heath aster (Symphyotrichum ericoides), Canada goldenrod (Solidago Canadensis), stiff goldenrod (Solidago rigida), scurfpea (Psoralidium), Indian hemp (Apocynum cannabinum), and western yarrow (Achillea millefolium). When compared to the 1.1 Bluestem-Switchgrass-Sideoats Grama Plant Community Phase, bluestem has increased, smooth bromegrass and Kentucky bluegrass have invaded and become a codominant. Production of tall warm-season grasses is reduced. This plant community is moderately resistant to change. The herbaceous species present are well adapted to grazing; however, species composition can be altered through long-term overgrazing. If the herbaceous component is intact, it tends to be resilient if the disturbance is not long-term. Most of the components of the ecological processes are functioning at optimum levels. However, the vigor and reproductive capability of the warm-season grasses are reduced due to grazing pressure or a combination of stressors. A reduction of this dominant functional group allows for an increase in shorter-statured (and shallower rooted) species. The introduction of nonnative invasive species such as Kentucky bluegrass and smooth bromegrass results in alterations to the soil profile. Organic matter levels tend to decrease and begin to be concentrated more in the surface layers and the structure will begin to be modified. These changes favor the shallow-rooted species and hasten their eventual dominance if steps are not taken to reduce these species.
Pathway 3.1A
Community 3.1 to 3.2
Heavy continuous grazing which includes herbivory at moderate to heavy levels at the same time of year each year without adequate recovery periods, or during periods of below normal precipitation when grazing frequency and intensity increases on these sites due to limited forage availability on adjacent upland sites will shift this community to the 3.2 Big Bluestem-Smooth Bromegrass-Kentucky Bluegrass Plant Community Phase.
Pathway 3.2A
Community 3.2 to 3.1
Prescribed grazing (alternating season of use and providing adequate recovery periods) or periodic light to moderate grazing possibly including periodic rest will convert this plant community to the 3.1 Bluestem-Switchgrass-Sideoats grama Plant Community Phase.
State 4
Invaded State
This state is a result of encroachment mainly by invasive introduced cool-season grasses. The ecological processes are not functioning, especially the biotic processes and the hydrologic functions. The introduced cool-season grasses cause reduced infiltration and increased runoff. Preliminary studies would tend to indicate this threshold may exist when Kentucky bluegrass exceeds 30 percent of the plant community and native grasses represent less than 40 percent of the plant community composition. The opportunity for high intensity spring burns is severely reduced by early greenup and increased moisture and humidity at the soil surface and grazing pressure cannot cause a reduction in sodgrass dominance. Production is limited to the sod forming species. Infiltration continues to decrease, and runoff increases and energy capture into the system is restricted to early season low producing species. Nutrient cycling is limited by root depth of the dominant species. Invasion of conifers such as eastern redcedar or Rocky Mountain juniper separately or the combination of both together is possible over time on areas with reduced fire frequency. These areas occur typically in the upper reaches of the watershed.
Community 4.1
Smooth Bromegrass-Kentucky Bluegrass
This plant community phase is a result of extended periods of nonuse and no fire or occasionally light levels of grazing over several years. It is characterized by dominance of smooth bromegrass and to a lesser extent Kentucky bluegrass. The dominance is at times so complete that other species are difficult to find on the site. A thick duff layer also accumulates at or above the soil surface and eventually a thatch-mat layer may develop at the surface. Nutrient cycling is greatly reduced, and native plants have great difficulty becoming established. When dominated by smooth bromegrass, infiltration is moderately reduced, and runoff is moderate. Production can be equal to or higher than the interpretive plant community. However, when dominated by Kentucky bluegrass, infiltration is greatly reduced, and runoff is high. Production in this case will likely be significantly less. In either case, the period that palatability is high is relatively short as these cool-season species mature rapidly. Energy capture is also reduced. The dominance of these introduced species has been shown to alter the biotic component of the soil, as well as, organic matter levels and eventually the soil structure. These alterations perpetuate the dominance of Kentucky bluegrass and smooth bromegrass and tend to make establishment of native species extremely difficult.
Community 4.2
Kentucky Bluegrass-Quackgrass
This plant community phase is a result of heavy, continuous seasonal grazing or heavy, continuous season-long grazing. It is characterized by a dominance of Kentucky bluegrass and quackgrass (Elymus repens). The dominance is at times so complete that other species are difficult to find on the site. A relatively thick duff layer can sometimes accumulate at or above the soil surface and a thatch-mat layer often develops at the surface. Nutrient cycling is greatly reduced, and native plants have great difficulty becoming established. Infiltration is greatly reduced, and runoff is high. Production will be significantly reduced when compared to the interpretive plant community. The period that palatability is high is relatively short as Kentucky bluegrass matures rapidly. Energy capture is also reduced. Biological activity in the soil is likely reduced significantly in this phase.
Community 4.3
Annual Pioneer-Perennial Pioneer
This plant community developed under continuous heavy grazing or other excessive disturbances. The potential plant community is made up of approximately 40 to 80 percent grasses and grass-like species, 20 to 60 percent forbs, and 0 to 5 percent shrubs. The species present in this phase are highly variable but often include non-native invasive or early seral species separately or the combination of both together. Plant diversity is low (plant richness may be high, but areas are often dominated by a few species). The ecological processes are difficult to restore because of the loss of plant diversity and overall soil disturbance. Soil erosion is potentially very high because of the bare ground and shallow rooted herbaceous plant community. Water runoff will increase, and infiltration will decrease due to animal related soil compaction and loss of root mass due to low plant diversity and vigor. This plant community will require significant economic inputs and time to move towards another plant community. This movement is highly variable in its succession. This is due to the loss of diversity (including the loss of the seed bank), within the existing plant community, and the plant communities on adjacent sites. This community can be renovated to improve the production capability; however, if management changes are not made the vegetation could revert back to early seral species.
Pathway 4.1A
Community 4.1 to 4.2
Heavy continuous grazing which includes herbivory at moderate to heavy levels at the same time of year each year without adequate recovery periods, or during periods of below normal precipitation when grazing frequency and intensity increases on these sites due to limited forage availability on adjacent upland sites will shift this community to the 4.2 Kentucky Bluegrass-Quackgrass Plant Community Phase.
Pathway 4.2A
Community 4.2 to 4.1
Prescribed grazing (alternating season of use and providing adequate recovery periods) or periodic light to moderate grazing possibly including periodic rest will convert this plant community to the 4.1 Smooth Bromegrass-Kentucky Bluegrass Plant Community Phase.
Pathway 4.3A
Community 4.3 to 4.2
This community pathway occurs with the passage of time as successional processes take place and perennial plants gradually begin to establish on the site again. This pathway will lead to the 4.2 Kentucky Bluegrass-Quackgrass Plant Community Phase.
State 5
Crop Production State
This state is characterized by the production of annual crops using a variety of tillage and cropping systems along with management practices. Cropping on this site is enabled during years with drier than normal precipitation or with artificial drainage (surface or subsurface).
Transition T1A
State 1 to 2
Non-use or no surface fire for extended periods of time (typically for 10 or more years) separately or the combination of both together causing litter levels to become high enough to reduce native grass vigor, diversity, and density or invasion of non-native plant species will likely lead this 1.3 Green Ash-Plains Cottonwood-American Plum/Western Snowberry Plant Community Phase within the Reference State (State 1) over a threshold leading the Wooded/Invaded State (State 2).
Transition T1B
State 1 to 3
Non-use or no surface fire for extended periods of time (typically for 10 or more years) separately or the combination of both together causing litter levels to become high enough to reduce native grass vigor, diversity, and density, or heavy continuous grazing by itself or combined with other management or invasion of non-native plant species will likely lead this 1.1 Bluestem-Switchgrass-Sideoats Grama Plant Community Phase within the Reference State (State 1) state over a threshold resulting in the Native/Invaded State (State 3).
Transition T1C
State 1 to 5
Brush management such as removing woody vegetation and tillage will cause a shift over a threshold leading to the 5.1 Annual Crops Plant Community Phase within the Crop Production State (State 5).
Restoration pathway T3A
State 3 to 2
Tree Planting will likely lead this state over a threshold leading to the Wooded/Invaded State (State 2). This will take significant resources and years of monitoring and management.
Transition T3C
State 3 to 4
Non-use or no surface fire for extended periods of time (typically for 10 or more years) separately or a combination of both together causing litter levels to become high enough to reduce native grass vigor, diversity, and density, heavy continuous grazing (stocking levels well above carrying capacity for extended portions of the growing season and often at the same time of year each year), or inundation due to flooding with very long duration (greater than 30 days) beyond normal ponding and drying patterns by itself or combined with other management will likely lead this state over a threshold leading to the Invaded State (State 4).
Transition T3B
State 3 to 5
Tillage will cause a shift over a threshold leading to the 5.1 Annual Crops Plant Community Phase within the Crop Production State (State 5).
Restoration pathway T4A
State 4 to 3
Long-term prescribed grazing (moderate stocking levels coupled with adequate recovery periods, or other grazing systems such as high-density, low-frequency intended to treat specific species dominance, or periodic light to moderate stocking levels possibly including periodic rest) coupled with prescribed burning occurring at relatively frequent intervals (3 to 5 years) and a return to normal disturbance regime levels and frequencies may lead this plant community phase over a threshold to the Native/Invaded State (State 3).
Transition T4B
State 4 to 5
Tillage will cause a shift over a threshold leading to the 5.1 Annual Crops Plant Community Phase within the Crop Production State (State 5).
Restoration pathway T5A
State 5 to 2
Seeding combined with tree planting may lead this Crop Production State (State 5) over a threshold leading to the Wooded/Invaded State (State 2). This will take significant resources and years of monitoring and management.
Restoration pathway T5B
State 5 to 3
Seeding may lead this Crop Production State (State 5) over a threshold leading to the Native/Invaded State (State 3).
Restoration pathway T5c, T5D
State 5 to 4
Seeding may lead this Crop Production State (State 5) over a threshold to the Invaded State (State 4). Cropping followed by abandonment may lead this plant community phase over a threshold to the Invaded State (State 4) and more specifically to the 4.3 Annual Pioneer-Perennial Pioneer Plant Community Phase.
Additional community tables
Interpretations
Other information
Ecological Site Correlation Issues and Questions:
• SD09 Hyde County, SD did not use the (Au) Nimbro and Wendte soils, channeled (national symbol cvlm) as used in the adjoining SD065 Hughes County, SD.
• Reference and alternative states within the state and transition model are may not be fully documented and may require additional field sampling for refinement.
Supporting information
Inventory data references
There is no NRCS clipping data and other inventory currently available for this site. Information presented here has been derived using field observations from range-trained personnel. Those involved in developing this site include: Jenita Qualm, Area Rangeland Management Specialist, USDA-NRCS, Pierre, SD.
Data Source Sample Period State County
NONE
Other references
Cleland, D.T., J.A. Freeouf, J.E. Keys, G.J. Nowacki, C. Carpenter, and W.H. McNab. 2007. Ecological Subregions: Sections and Subsections of the Coterminous United States. USDA Forest Service, General Technical Report WO-76. Washington, DC. 92 pps.
Gilbert, M. C., Whited, P. M., Clairain Jr, E. J., & Smith, R. D. (2006). A Regional Guidebook for Applying the Hydrogeomorphic Approach to Assessing Wetland Functions of Prairie Potholes. Washington DC.
High Plains Regional Climate Center, University of Nebraska, 830728 Chase Hall, Lincoln, NE 68583-0728. (http://www.hprcc.unl.edu/)
Meehan et all (2011) Riparian Ecosystems of the Middle Sheyenne River in Eastern North Dakota. Fargo, North Dakota. NDSU Dept of Ag and Applied Science Graduate Program.
Samson, F. B., & Knopf, F. L. (1996). Prairie Conservation Preserving North America's Most Endagered Ecosystem. Washington D.C.: Island Press.
Soil Survey Staff, Natural Resources Conservation Service, United States Department of Agriculture. Official Soil Series Descriptions. Available online. Accessed March 2018.
United States Department of Agriculture – Natural Resource Conservation Service (USDA-NRCS). 2003. National Range and Pasture Handbook, Revision 1. Grazing Lands Technology Institute. 214 pps.
United States Department of Agriculture – Natural Resource Conservation Service (USDA-NRCS). 2006. Land Resource Regions and Major Land Resource Areas of the United States, the Caribbean, and the Pacific Basin. U.S. Department of Agriculture Handbook 296. 672pps.
USDA, NRCS. National Soil Information System, Information Technology Center, 2150 Centre Avenue, Building A, Fort Collins, CO 80526. (http://soils.usda.gov/technical/nasis/)
USDA, NRCS. National Water and Climate Center, 101 SW Main, Suite 1600, Portland, OR 97204-3224. (http://www.wcc.nrcs.usda.gov)
USDA, NRCS. 2018. The PLANTS Database (http://plants.usda.gov, 27 March 2018). National Plant Data Team, Greensboro, NC 27401-4901 USA.
USDA, NRCS. National Range and Pasture Handbook, September 1997
U.S. Environmental Protection Agency [EPA]. 2013. Level III and Level IV Ecoregions of the Continental United States. Corvallis, OR, U.S. EPA, National Health and Environmental Effects Research Laboratory, map scale 1:3,000,000. Available at http://www.epa.gov/eco-research/level-iii-and-iv-ecoregions- continental-united-states. (Accessed 1 March 2018).
Contributors
Lance Howe (Lance.Howe@usda.gov), Soil Survey Office Leader, USDA-NRCS, Redfield, SD
Steve Winter (Steven.Winter@usda.gov), Soil Scientist, USDA-NRCS, Redfield, SD
Jenita Qualm (Jenita.Qualm@usda.gov), Area Rangeland Management Specialist, USDA-NRCS, Pierre, SD
Approval
Suzanne Mayne-Kinney, 1/22/2024
Acknowledgments
This Provisional Ecological Site concept has passed both Quality Control and Quality Assurance processes. Quality Assurance was approved by David Kraft, NRCS Regional Ecologist as of 11/12/2020.
Non-discrimination Statement
In accordance with Federal civil rights law and U.S. Department of Agriculture (USDA) civil rights regulations and policies, the USDA, its Agencies, offices, and employees, and institutions participating in or administering USDA programs are prohibited from discriminating based on race, color, national origin, religion, sex, gender identity (including gender expression), sexual orientation, disability, age, marital status, family/parental status, income derived from a public assistance program, political beliefs, or reprisal or retaliation for prior civil rights activity, in any program or activity conducted or funded by USDA (not all bases apply to all programs). Remedies and complaint filing deadlines vary by program or incident.
Persons with disabilities who require alternative means of communication for program information (e.g., Braille, large print, audiotape, American Sign Language, etc.) should contact the responsible Agency or USDA's TARGET Center at (202) 720-2600 (voice and TTY) or contact USDA through the Federal Relay Service at (800) 877-8339. Additionally, program information may be made available in languages other than English.
To file a program discrimination complaint, complete the USDA Program Discrimination Complaint Form, AD-3027, available online and at any USDA office, or write a letter addressed to USDA and provide in the letter all of the information requested in the form. To request a copy of the complaint form, call (866) 632- 9992. Submit your completed form or letter to USDA by: (1) mail: U.S. Department of Agriculture, Office of the Assistant Secretary for Civil Rights, 1400 Independence Avenue, SW, Washington, D.C. 20250-9410; (2) fax: (202) 690-7442; or (3) email: program.intake@usda.gov.
Rangeland health reference sheet
Interpreting Indicators of Rangeland Health is a qualitative assessment protocol used to determine ecosystem condition based on benchmark characteristics described in the Reference Sheet. A suite of 17 (or more) indicators are typically considered in an assessment. The ecological site(s) representative of an assessment location must be known prior to applying the protocol and must be verified based on soils and climate. Current plant community cannot be used to identify the ecological site.
Author(s)/participant(s) | |
---|---|
Contact for lead author | |
Date | 01/22/2024 |
Approved by | Suzanne Mayne-Kinney |
Approval date | |
Composition (Indicators 10 and 12) based on | Annual Production |
Indicators
-
Number and extent of rills:
-
Presence of water flow patterns:
-
Number and height of erosional pedestals or terracettes:
-
Bare ground from Ecological Site Description or other studies (rock, litter, lichen, moss, plant canopy are not bare ground):
-
Number of gullies and erosion associated with gullies:
-
Extent of wind scoured, blowouts and/or depositional areas:
-
Amount of litter movement (describe size and distance expected to travel):
-
Soil surface (top few mm) resistance to erosion (stability values are averages - most sites will show a range of values):
-
Soil surface structure and SOM content (include type of structure and A-horizon color and thickness):
-
Effect of community phase composition (relative proportion of different functional groups) and spatial distribution on infiltration and runoff:
-
Presence and thickness of compaction layer (usually none; describe soil profile features which may be mistaken for compaction on this site):
-
Functional/Structural Groups (list in order of descending dominance by above-ground annual-production or live foliar cover using symbols: >>, >, = to indicate much greater than, greater than, and equal to):
Dominant:
Sub-dominant:
Other:
Additional:
-
Amount of plant mortality and decadence (include which functional groups are expected to show mortality or decadence):
-
Average percent litter cover (%) and depth ( in):
-
Expected annual annual-production (this is TOTAL above-ground annual-production, not just forage annual-production):
-
Potential invasive (including noxious) species (native and non-native). List species which BOTH characterize degraded states and have the potential to become a dominant or co-dominant species on the ecological site if their future establishment and growth is not actively controlled by management interventions. Species that become dominant for only one to several years (e.g., short-term response to drought or wildfire) are not invasive plants. Note that unlike other indicators, we are describing what is NOT expected in the reference state for the ecological site:
-
Perennial plant reproductive capability:
Print Options
Sections
Font
Other
The Ecosystem Dynamics Interpretive Tool is an information system framework developed by the USDA-ARS Jornada Experimental Range, USDA Natural Resources Conservation Service, and New Mexico State University.
Click on box and path labels to scroll to the respective text.