
Natural Resources
Conservation Service
Ecological site R053CY020SD
Loamy Overflow
Last updated: 1/22/2024
Accessed: 10/18/2025
General information
Provisional. A provisional ecological site description has undergone quality control and quality assurance review. It contains a working state and transition model and enough information to identify the ecological site.

Figure 1. Mapped extent
Areas shown in blue indicate the maximum mapped extent of this ecological site. Other ecological sites likely occur within the highlighted areas. It is also possible for this ecological site to occur outside of highlighted areas if detailed soil survey has not been completed or recently updated.
MLRA notes
Major Land Resource Area (MLRA): 053C–Southern Dark Brown Glaciated Plains
The Southern Dark Brown Glaciated Plains (53C) is located within the Northern Great Plains Region. It is entirely in South Dakota encompassing about 3,990 square miles (Figure 1). The elevation ranges from 1,300 to 2,300 feet. The MLRA is level to gently rolling till plains including many areas of potholes. A terminal moraine occurs in the southern end of the MLRA. Moderately steep and steep slopes are adjacent to the major valleys. The headwaters of many creeks in central South Dakota occur in the high-lying MLRA. (USDA-NRCS 2006).
The dominant soil orders in this MLRA are Mollisols and Inceptisols. The soils in the area dominantly have a mesic soil temperature regime, an ustic soil moisture regime, and mixed or smectitic mineralogy. They generally are very deep, well drained or moderately well drained, and are loamy or clayey. This area supports natural prairie vegetation characterized by western wheatgrass (Pascopyrum smithii), big bluestem (Andropogon gerardii), needleandthread (Hesperostipa comata), and green needlegrass (Nassella viridula). Little bluestem (Schizachyrium scoparium), sideoats grama (Bouteloua curtipendula), and prairie sandreed (Calamovilfa longifolia) are important species on steeper sites. Western snowberry (Symphoricarpos occidentalis) and prairie rose (Rosa arkansana) are commonly dispersed throughout the area. (USDA-NRCS 2006).
Classification relationships
Major Land Resource Area (MLRA): Southern Dark Brown Glaciated Plains (53C) (USDA-NRCS 2006)
USFS Subregions: Northeastern Glaciated Plains Section (331E); Missouri Coteau Subsection (331Ea); Western Great Plains Section (331F); Missouri Breaks Subsection (331Fe); Western Glaciated Plains Section (332B); Southern Missouri Coteau Slope Subsection (332Bd, 332Be); North Central Great Plains Section (332D); Southern Missouri Coteau Slope Subsection (332Dd); Southern Missouri Coteau Subsection (332De) - (Cleland et al. 2007).
US EPA Level IV Ecoregion: Missouri Coteau (42a); Southern Missouri Coteau (42e); Southern Missouri Coteau Slope (42f) - (USEPA 2013)
Ecological site concept
The Loamy Overflow ecological site occurs in upland swales which receive additional run off moisture from adjoining slopes. Soils are moderately well drained which have water flow into and over and through the site and have less than 40 percent clay in the surface and subsoil. Vegetation in the Reference State includes big bluestem, green needlegrass and western wheatgrass. Forbs include goldenrods, cudweed sagewort, prairie coneflower, western yarrow. Non-native grasses such as Kentucky bluegrass, smooth bromegrass, and Eastern red cedar may invade the site due to changes in disturbance regime.
Associated sites
R053CY010SD |
Loamy These sites occur on upland areas. The soils are well drained and have less than 40 percent clay in the surface and subsoil. The central concept soil series are Agar, Glenham, and Highmore, but other series are included. |
---|---|
R053CY011SD |
Clayey These sites occur on upland areas. The soils are well drained and have greater than 40 percent clay in the surface and subsoil. The central concept soil series are Demky, Oko, and Raber, but other series are included. |
R053CY012SD |
Thin Upland These sites occur on uplands. Soils are well drained and will effervesce with acid at or near the surface. The central concept soil series are Betts, Ethan, and Java, but other series are included. |
Similar sites
R053CY011SD |
Clayey The Clayey site occurs in a backslope landscape position. Soils are well drained and do not have water flow into and over or through the site. (more green needlegrass; less big bluestem; lower production) |
---|---|
R053CY010SD |
Loamy The Loamy site occurs in a backslope landscape position. Soils are well drained and do not have water flow into and over or through the site. (less big bluestem; lower production) |
Table 1. Dominant plant species
Tree |
Not specified |
---|---|
Shrub |
Not specified |
Herbaceous |
(1) Andropogon gerardii |
Physiographic features
This site occurs on nearly level lowlands and drainageways.

Figure 2. Distribution map
Table 2. Representative physiographic features
Landforms |
(1)
Swale
(2) Drainageway (3) Flood plain |
---|---|
Flooding duration | Very brief (4 to 48 hours) to brief (2 to 7 days) |
Flooding frequency | Rare to frequent |
Ponding frequency | None |
Elevation | 1,300 – 2,300 ft |
Slope | 1 – 2% |
Water table depth | 48 – 72 in |
Aspect | Aspect is not a significant factor |
Climatic features
MLRA 53C is considered to have a continental climate – cold winters and hot summers, low humidity, light rainfall, and much sunshine. Extremes in temperature may also abound. The climate is the result of this MLRA’s location near the geographic center of North America. There are few natural barriers on the Northern Great Plains and air masses move freely across the plains and account for rapid changes in temperature.
Annual precipitation typically ranges from 15 to 25 inches per year. The average annual temperature is about 45°F. January is the coldest month with average temperatures ranging from about 15°F (Stephan, South Dakota (SD)), to about 16°F (Onida 4 NW, SD). July is the warmest month with temperatures averaging from about 72°F (Stephan, SD), to about 74°F (Onida 4 NW, SD). The range of normal average monthly temperatures between the coldest and warmest months is about 58°F. This large annual range attests to the continental nature of this area's climate. Hourly winds are estimated to average about 12 miles per hour (mph) annually, ranging from about 13 mph during the spring to about 11 mph during the summer. Daytime winds are generally stronger than nighttime and occasional strong storms may bring brief periods of high winds with gusts to more than 50 mph.
Growth of cool-season plants begins in early to mid-March, slowing or ceasing in late June. Warm-season plants begin growth about mid-May and continue to early or mid-September. Greenup of cool-season plants may occur in September and October when adequate soil moisture is present.
Table 3. Representative climatic features
Frost-free period (characteristic range) | 107-127 days |
---|---|
Freeze-free period (characteristic range) | 128-150 days |
Precipitation total (characteristic range) | 20-21 in |
Frost-free period (actual range) | 104-129 days |
Freeze-free period (actual range) | 127-159 days |
Precipitation total (actual range) | 19-24 in |
Frost-free period (average) | 117 days |
Freeze-free period (average) | 139 days |
Precipitation total (average) | 21 in |
Figure 3. Monthly precipitation range
Figure 4. Monthly minimum temperature range
Figure 5. Monthly maximum temperature range
Figure 6. Monthly average minimum and maximum temperature
Figure 7. Annual precipitation pattern
Figure 8. Annual average temperature pattern
Climate stations used
-
(1) GETTYSBURG 13W [USC00393302], Gettysburg, SD
-
(2) GETTYSBURG [USC00393294], Gettysburg, SD
-
(3) HIGHMORE 23 N [USC00393838], Highmore, SD
-
(4) ONIDA 4 NW [USC00396292], Onida, SD
-
(5) PIERRE RGNL AP [USW00024025], Pierre, SD
-
(6) HARROLD 12 SSW [USC00393608], Pierre, SD
-
(7) STEPHAN 2 NW [USC00397992], Highmore, SD
-
(8) WESSINGTON SPRINGS [USC00399070], Wessington Springs, SD
Influencing water features
Stream Type: B6, C6 (Rosgen System)
Soil features
The soils in this site are moderately well-drained and formed in alluvium or till. Slopes are one to two percent. The loam to silty clay surface layer is 12 to 40 inches thick. Dark colors are very deep in these soils. The soils have a slow to moderately slow infiltration rate. This site should show no evidence of rills, wind scoured areas, or pedestalled plants. If present, water flow paths are broken, irregular in appearance, or discontinuous with numerous debris dams or vegetative barriers. The soil surface is stable and intact.
These soils are mainly susceptible to water erosion. The hazard of water erosion increases where vegetative cover is not adequate. A drastic loss of the soil surface layer on this site can result in a shift in species composition and production. The central concept soil series are Mobridge, Onita, and Prosper, but other series are included.
Access Web Soil Survey (http://websoilsurvey.nrcs.usda.gov/app/) for specific local soils information.
Table 4. Representative soil features
Surface texture |
(1) Loam (2) Silt (3) Silty clay |
---|---|
Family particle size |
(1) Loamy |
Drainage class | Moderately well drained |
Permeability class | Moderately slow to slow |
Soil depth | 80 in |
Surface fragment cover <=3" | Not specified |
Surface fragment cover >3" | Not specified |
Available water capacity (0-40in) |
6 – 8 in |
Calcium carbonate equivalent (0-40in) |
15% |
Electrical conductivity (0-40in) |
4 mmhos/cm |
Sodium adsorption ratio (0-40in) |
2 |
Soil reaction (1:1 water) (0-40in) |
5.6 – 8.4 |
Subsurface fragment volume <=3" (Depth not specified) |
5% |
Subsurface fragment volume >3" (Depth not specified) |
2% |
Ecological dynamics
State and Community Phases
The information in this Ecological Site Description, including the state-and-transition model (STM), was developed based on historical data, current field data, professional experience, and a review of the scientific literature. As a result, all possible scenarios or plant species may not be included. Key indicator plant species, disturbances, and ecological processes are described to inform land management decisions.
The site which is located in the Southern Dark Brown Glaciated Plains Region developed under Northern Great Plains climatic conditions and included natural influence of large herding herbivores and occasional fire. Changes will occur in the plant communities due to weather fluctuations or management actions separately or the combination of both together. Under adverse impacts, a relatively rapid decline in vegetative vigor and composition can occur. Under favorable conditions the site has the potential to resemble the Reference State. Interpretations for this site are based primarily on the 1.1 Big Bluestem-Green Needlegrass-Western Wheatgrass Plant Community Phase. This community phase and the Reference State have been determined by study of rangeland relic areas, areas protected from excessive disturbance, and areas under long-term rotational grazing regimes. Trends in plant community dynamics ranging from heavily grazed to lightly grazed areas, seasonal use pastures, and historical accounts also have been considered.
This ecological site (ES) has been grazed by domestic livestock since they have been introduced into the area. The introduction of domestic livestock and the use of fencing and reliable water sources have changed the ecological dynamics of this site. Continuous grazing without adequate recovery periods following each grazing occurrence over several years causes this site to depart from the interpretive plant community. Species such as western wheatgrass will initially increase. Big bluestem, little bluestem, and green needlegrass will decrease in frequency and production. Heavy continuous grazing causes Kentucky bluegrass (Poa pratensis) to increase and eventually develop into a sod condition. Extended periods of nonuse and no surface fire will result in a plant community having high litter levels which favors an increase in Kentucky bluegrass and smooth bromegrass (Bromus enermis). In time, shrubs such as western snowberry and chokecherry (Prunus virginiana) will also increase. Extended periods of no surface fire could result in the invasion of conifers in which eastern redcedar (Juniperus virginiana) and Rocky Mountain juniper (Juniperus scopulorum) will increase and could eventually dominate the site.
Following the state and transition diagram are narratives for each of the described states and community phases. These may not represent every possibility, but they are the most prevalent and repeatable states and community phases. The plant composition tables shown below have been developed from the best available knowledge at the time of this revision. As more data are collected, some of these community phases or states separately or the combination of both together may be revised or removed, and new ones may be added. The main purpose for including the descriptions here is to capture the current knowledge and experience at the time of this revision.
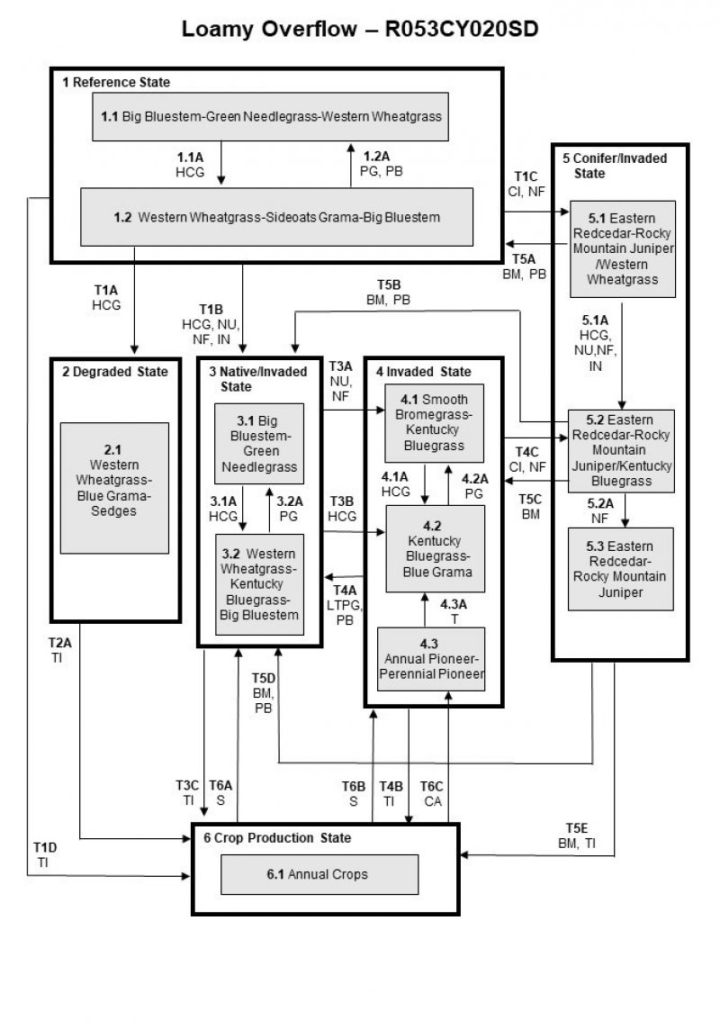
The following is a diagram that illustrates the common plant community phases that can occur on the site and the transition and community pathways between them. The ecological processes will be discussed in more detail in the plant community descriptions following the diagram.
State and transition model

Figure 9. State-And-Transition model

Figure 10. Legend

Figure 11. Matrix
More interactive model formats are also available.
View Interactive Models
More interactive model formats are also available.
View Interactive Models
Click on state and transition labels to scroll to the respective text
Ecosystem states
States 1, 5 and 6 (additional transitions)
States 2 and 6 (additional transitions)
State 1 submodel, plant communities
State 2 submodel, plant communities
State 3 submodel, plant communities
State 4 submodel, plant communities
State 6 submodel, plant communities
State 1
Reference State
This state represents the potential natural range of variability that dominates the dynamics of this ecological site (ES). This state is dominated by warm-season grasses, primarily big bluestem, with occasional shifts to a near co-dominance of cool and warm-season grasses. In pre-European times, the primary disturbance mechanisms for this site in the reference condition included periods of below or above average precipitation, periodic fire, and herbivory by insects and large ungulates. Timing of fires and herbivory coupled with weather events dictate the dynamics that occurred within the natural range of variability. In some locations, this site likely received relatively heavy grazing pressure. Tall warm-season grasses would have declined and shorter warm-season grasses would have increased. Today, a similar state, the Native/Invaded State (State 3) can be found on areas that are properly managed with grazing or prescribed burning separately or the combination of both together and sometimes on areas receiving occasional short periods of rest. On most Loamy Overflow ESs within the MLRA, these species have invaded and are now present. It is likely that attaining the reference state as described here (without the presence of exotic herbaceous species) is not possible.
Community 1.1
Big Bluestem-Green Needlegrass-Western Wheatgrass
Interpretations are based primarily on the 1.1 Big Bluestem-Green Needlegrass-Western Wheatgrass Plant Community Phase. The potential vegetation is about 80-90 percent grasses or grass-like plants, 10 percent forbs, and 5 percent shrubs. The community is dominated by warm-season grasses. The major grasses include big bluestem, green needlegrass, western wheatgrass, switchgrass (Panicum virgatum), and little bluestem. Other grass or grass-like species included Indiangrass (Sorghastum nutans), porcupine grass (Hesperostia spartea), sideoats grama, sedge (Carex), slender wheatgrass (Elymus trachycaulus), and Canada wildrye (Elymus canadensis). In some cases, big bluestem dominates the site. This plant community is resilient and well adapted to the Northern Great Plains climatic conditions. The diversity in plant species allows for high drought tolerance. This is a sustainable plant community in regards to site and soil stability, watershed function, and biologic integrity.
Figure 12. Annual production by plant type (representative values) or group (midpoint values)
Table 5. Annual production by plant type
Plant type | Low (lb/acre) |
Representative value (lb/acre) |
High (lb/acre) |
---|---|---|---|
Grass/Grasslike | 2580 | 2993 | 3405 |
Shrub/Vine | 65 | 210 | 410 |
Forb | 155 | 263 | 410 |
Tree | 0 | 34 | 75 |
Total | 2800 | 3500 | 4300 |
Figure 13. Plant community growth curve (percent production by month). SD5305, Southern Dark Brown Glaciated Plains, warm-season dominant.. Warm-season dominant..
Jan | Feb | Mar | Apr | May | Jun | Jul | Aug | Sep | Oct | Nov | Dec |
---|---|---|---|---|---|---|---|---|---|---|---|
J | F | M | A | M | J | J | A | S | O | N | D |
0 | 0 | 2 | 5 | 15 | 25 | 30 | 15 | 7 | 1 | 0 | 0 |
Community 1.2
Western Wheatgrass-Sideoats Grama-Big Bluestem
This plant community evolves under heavy continuous grazing or from over utilization during extended drought periods. The potential plant community is made up of approximately 80 percent grasses and grass-like species, 10 percent forbs, and 10 percent shrubs. Dominant grasses include western wheatgrass, sideoats grama, little bluestem, big bluestem, and green needlegrass. Grasses and grass-like species of secondary importance included sedge, switchgrass, Indiangrass, porcupine grass, slender wheatgrass, and Canada wildrye. Forbs commonly found in this plant community included white sagebrush (Artemisia ludoviciana), prairie coneflower (Ratibida), and western yarrow (Achillea millefolium). This plant community has similar plant composition to the 3.2 Western Wheatgrass-Kentucky Bluegrass-Big Bluestem Plant Community Phase. The main difference is that this plant community phase does not have the presence of nonnative invasive species such as Kentucky bluegrass and smooth bromegrass. When compared to the 1.1 Big Bluestem-Green Needlegrass-Western Wheatgrass Plant Community Phase, western wheatgrass, sideoats grama and sedges (Cyperaceae) have increased. Green needlegrass and big bluestem decrease, and production of tall warm-season grasses is reduced. This plant community is moderately resistant to change. The herbaceous species present are well adapted to grazing; however, species composition could be altered through long-term overgrazing. If the herbaceous component was intact, it tends to be resilient if the disturbance is not long-term. Most of the components of the ecological processes function at optimum levels. However, the vigor and reproductive capability of the tall warm-season grasses is reduced due to grazing pressure or a combination of stressors. A reduction of this dominant functional group allows for an increase in shorter-statured (and shallower rooted) species.
Figure 14. Plant community growth curve (percent production by month). SD5303, Southern Dark Brown Glaciated Plains, cool-season/warm-season codominant.. Cool-season, warm-season codominant..
Jan | Feb | Mar | Apr | May | Jun | Jul | Aug | Sep | Oct | Nov | Dec |
---|---|---|---|---|---|---|---|---|---|---|---|
J | F | M | A | M | J | J | A | S | O | N | D |
0 | 0 | 3 | 10 | 20 | 28 | 21 | 10 | 5 | 3 | 0 | 0 |
Pathway 1.1A
Community 1.1 to 1.2
Heavy continuous grazing which includes herbivory at moderate to heavy levels at the same time of year each year without adequate recovery periods, or during periods of below normal precipitation when grazing frequency and intensity increases on these sites due to limited forage availability on adjacent upland sites will shift this community to the 1.2 Western Wheatgrass-Sideoats Grama-Big Bluestem Plant Community Phase.
Pathway 1.2A
Community 1.2 to 1.1
Prescribed grazing or prescribed burning separately or the combination of both together occurring at relatively frequent intervals (3 to 5 years) and a return to normal disturbance regime levels and frequencies, or periodic light to moderate grazing possibly including periodic rest will convert this plant community to the 1.1 Big Bluestem-Green Needlegrass-Western Wheatgrass Plant Community Phase.
State 2
Degraded State
This state is the result of heavy continuous grazing, and in the absence of periodic fire, due to fire suppression. This state is dominated by western wheatgrass, blue grama (Bouteloua gracilis), and sedges (Cyperaceae). Taller cool-season species will decline and a corresponding increase in short statured grass will occur. Once the threshold is crossed, a change in grazing management alone cannot restore the degraded state.
Community 2.1
Western Wheatgrass-Blue Grama-Sedges
This plant community evolved under heavy continuous season grazing or from over utilization during extended drought periods. The potential plant community is made up of approximately 85 percent grasses and grass-like species, 10 percent forbs, and 5 percent shrubs. Dominant grass and grass-like species include western wheatgrass, blue grama, and sedges. Grasses of secondary importance include sideoats grama, green needlegrass, and big bluestem. Forbs commonly found in this plant community include white sagebrush, green sagewort (Artemisia campestris), Missouri goldenrod (Solidago missouriensis), and western yarrow. When compared to the 1.1 Big Bluestem-Green Needlegrass-Western Wheatgrass Plant Community Phase, tall- and mid-grasses have decreased significantly. This vegetation state is very resistant to change, especially if the disturbance continues and the short-statured species such as sedge increase. The herbaceous species present are well adapted to grazing. This plant community is less productive than other phases. The thick sod prevents other species from getting established.
Figure 15. Annual production by plant type (representative values) or group (midpoint values)
Table 6. Annual production by plant type
Plant type | Low (lb/acre) |
Representative value (lb/acre) |
High (lb/acre) |
---|---|---|---|
Grass/Grasslike | 1270 | 1710 | 2105 |
Shrub/Vine | 35 | 120 | 225 |
Forb | 95 | 150 | 225 |
Tree | 0 | 20 | 45 |
Total | 1400 | 2000 | 2600 |
Figure 16. Plant community growth curve (percent production by month). SD5303, Southern Dark Brown Glaciated Plains, cool-season/warm-season codominant.. Cool-season, warm-season codominant..
Jan | Feb | Mar | Apr | May | Jun | Jul | Aug | Sep | Oct | Nov | Dec |
---|---|---|---|---|---|---|---|---|---|---|---|
J | F | M | A | M | J | J | A | S | O | N | D |
0 | 0 | 3 | 10 | 20 | 28 | 21 | 10 | 5 | 3 | 0 | 0 |
State 3
Native/Invaded State
This state represents the more common range of variability that exists with higher levels of grazing management but in the absence of periodic fire due to fire suppression. This state is dominated by cool and warm-season grasses. It can be found on areas that are properly managed with grazing or prescribed burning separately or the combination of both together, and sometimes on areas receiving occasional short periods of rest. Taller warm-season species can decline and a corresponding increase in short statured grass will occur.
Community 3.1
Big Bluestem-Green Needlegrass
This plant community phase is similar to the 1.1 Big Bluestem-Green Needlegrass-Western Wheatgrass Plant Community Phase but it also contains minor amounts of non-native invasive grass species such as Kentucky bluegrass and smooth bromegrass (up to about 20 percent by air-dry weight). The potential vegetation is about 82 percent grasses or grass-like plants, 10 percent forbs, and 8 percent shrubs. This community is dominated by warm-season grasses. The major grasses include big bluestem, green needlegrass, western wheatgrass, switchgrass, and little bluestem. Other grass or grass-like species include Indiangrass, porcupine grass, sideoats grama, sedge, slender wheatgrass, Canada wildrye, Kentucky bluegrass, and smooth bromegrass. This plant community is resilient and well adapted to the Northern Great Plains climatic conditions. The diversity in plant species allows for high drought tolerance. This is a sustainable plant community in regards to site and soil stability, watershed function, and biologic integrity.
Figure 17. Plant community growth curve (percent production by month). SD5304, Southern Dark Brown Glaciated Plains, warm-season dominant, cool-season subdominant.. Warm-season dominant, cool-season subdominant..
Jan | Feb | Mar | Apr | May | Jun | Jul | Aug | Sep | Oct | Nov | Dec |
---|---|---|---|---|---|---|---|---|---|---|---|
J | F | M | A | M | J | J | A | S | O | N | D |
0 | 0 | 3 | 7 | 17 | 25 | 25 | 15 | 7 | 1 | 0 | 0 |
Community 3.2
Western Wheatgrass-Kentucky Bluegrass-Big Bluestem
This plant community is a result of heavy continuous grazing or from over utilization during extended drought periods. The potential plant community is made up of approximately 80 percent grasses and grass-like species, 10 percent forbs, and 10 percent shrubs. Dominant grasses include western wheatgrass, Kentucky bluegrass, and big bluestem. Grasses of secondary importance include sideoats grama, green needlegrass, porcupine grass, smooth bromegrass, and sedge. Forbs commonly found in this plant community include white sagebrush, prairie coneflower, and western yarrow. When compared to the 1.1 Big Bluestem-Green Needlegrass-Western Wheatgrass Plant Community Phase, western wheatgrass has increased and big bluestem has decreased. Green needlegrass has decreased and production of mid- and tall warm-season grasses has also been reduced. This plant community is moderately resistant to change. The herbaceous species present are well adapted to grazing; however, species composition can be altered through long-term overgrazing. If the herbaceous component is intact, it tends to be resilient if the disturbance is not long-term. Most of the components of the ecological processes are functioning at optimum levels. However, the vigor and reproductive capability of the tall warm-season grasses are reduced due to grazing pressure or a combination of stressors. A reduction of this dominant functional group allows for an increase in shorter-statured (and shallower rooted) species. The introduction of nonnative invasive species such as Kentucky bluegrass and smooth bromegrass results in alterations to the soil profile. Organic matter levels tend to decrease and begin to be concentrated more in the surface layers and the structure will begin to be modified. These changes favor the shallow-rooted species and hasten their eventual dominance if steps are not taken to reduce these species.
Figure 18. Annual production by plant type (representative values) or group (midpoint values)
Table 7. Annual production by plant type
Plant type | Low (lb/acre) |
Representative value (lb/acre) |
High (lb/acre) |
---|---|---|---|
Grass/Grasslike | 1815 | 2407 | 2885 |
Shrub/Vine | 55 | 247 | 520 |
Forb | 130 | 218 | 335 |
Tree | 0 | 28 | 60 |
Total | 2000 | 2900 | 3800 |
Figure 19. Plant community growth curve (percent production by month). SD5303, Southern Dark Brown Glaciated Plains, cool-season/warm-season codominant.. Cool-season, warm-season codominant..
Jan | Feb | Mar | Apr | May | Jun | Jul | Aug | Sep | Oct | Nov | Dec |
---|---|---|---|---|---|---|---|---|---|---|---|
J | F | M | A | M | J | J | A | S | O | N | D |
0 | 0 | 3 | 10 | 20 | 28 | 21 | 10 | 5 | 3 | 0 | 0 |
Pathway 3.1A
Community 3.1 to 3.2
Heavy continuous grazing which includes herbivory at moderate to heavy levels at the same time of year each year without adequate recovery periods, or during periods of below normal precipitation when grazing frequency and intensity increases on these sites due to limited forage availability on adjacent upland sites, will shift this community to the 3.2 Western Wheatgrass-Kentucky Bluegrass-Big Bluestem Plant Community Phase.
Pathway 3.2A
Community 3.2 to 3.1
Prescribed grazing (alternating season of use and providing adequate recovery periods) or periodic light to moderate grazing possibly including periodic rest will convert this plant community to the 3.1 Big Bluestem-Green Needlegrass Plant Community Phase.
Conservation practices
Prescribed Grazing |
---|
State 4
Invaded State
This state is a result of encroachment mainly by invasive introduced cool-season grasses. This state is characterized by the dominance of Kentucky bluegrass and smooth bromegrass, and an increasing thatch layer that effectively blocks introduction of other plants into the system. Plant litter accumulation tends to favor the more shade tolerant introduced grass species. The nutrient cycle is also impaired and the result is typically a higher level of nitrogen which also favors the introduced species. Increasing plant litter decreases the amount of sunlight reaching plant crowns thereby shifting competitive advantage to shade tolerant introduced grass species. Studies indicate that soil biological activity is altered and this shift apparently exploits the soil microclimate and encourages growth of the introduced grass species. Once the threshold is crossed, a change in grazing management alone cannot cause a reduction in the invasive grass dominance. Preliminary studies would tend to indicate this threshold may exist when Kentucky bluegrass exceeds 30 percent of the plant community and native grasses represent less than 40 percent of the plant community composition. Once the state is well established, even drastic events such as high intensity fires driven by high fuel loads of litter and thatch will not result in more than a very short-term reduction of Kentucky bluegrass. These events may reduce the dominance of Kentucky bluegrass, but due to the large amount of rhizomes in the soil, there is no opportunity for the native species to establish and dominate before Kentucky bluegrass rebounds and again dominates the system.
Community 4.1
Smooth Bromegrass-Kentucky Bluegrass
This plant community phase is a result of extended periods of nonuse and no fire or occasionally light levels of grazing over several years. It is characterized by dominance of smooth bromegrass and to a lesser extent Kentucky bluegrass. The dominance is at times so complete that other species are difficult to find on the site. A thick duff layer also accumulates at or above the soil surface and eventually a thatch-mat layer may develop at the surface. Nutrient cycling is greatly reduced and native plants have great difficulty becoming established. When dominated by smooth bromegrass, infiltration is moderately reduced and runoff is moderate. Production can be equal to or higher than the interpretive plant community. However, when dominated by Kentucky bluegrass, infiltration is greatly reduced and runoff is high. Production in this case will likely be significantly less. In either case, the period that palatability is high is relatively short as these cool-season species mature rapidly. Energy capture is also reduced. The dominance of these introduced species has been shown to alter the biotic component of the soil, as well as, organic matter levels and eventually the soil structure. These alterations perpetuate the dominance of Kentucky bluegrass and smooth bromegrass and tend to make establishment of native species extremely difficult.
Figure 20. Plant community growth curve (percent production by month). SD5301, Southern Dark Brown Glaciated Plains, cool-season dominant.. Cool-season dominant..
Jan | Feb | Mar | Apr | May | Jun | Jul | Aug | Sep | Oct | Nov | Dec |
---|---|---|---|---|---|---|---|---|---|---|---|
J | F | M | A | M | J | J | A | S | O | N | D |
0 | 0 | 4 | 12 | 25 | 36 | 10 | 5 | 4 | 4 | 0 | 0 |
Community 4.2
Kentucky Bluegrass-Blue Grama
This plant community phase is a result of heavy, continuous seasonal grazing or heavy, continuous season-long grazing. It is characterized by a dominance of Kentucky bluegrass and blue grama. The dominance is at times so complete that other species are difficult to find on the site. A relatively thick duff layer can sometimes accumulate at or above the soil surface and a thatch-mat layer often develops at the surface. Nutrient cycling is greatly reduced and native plants have great difficulty becoming established. Infiltration is greatly reduced and runoff is high. Production will be significantly reduced when compared to the interpretive plant community. The period that palatability is high is relatively short as Kentucky bluegrass matures rapidly. Energy capture is also reduced. Biological activity in the soil is likely reduced significantly in this phase.
Figure 21. Annual production by plant type (representative values) or group (midpoint values)
Table 8. Annual production by plant type
Plant type | Low (lb/acre) |
Representative value (lb/acre) |
High (lb/acre) |
---|---|---|---|
Grass/Grasslike | 1025 | 1449 | 1820 |
Forb | 160 | 270 | 420 |
Shrub/Vine | 15 | 63 | 120 |
Tree | 0 | 18 | 40 |
Total | 1200 | 1800 | 2400 |
Figure 22. Plant community growth curve (percent production by month). SD5302, Southern Dark Brown Glaciated Plains, cool-season dominant, warm-season subdominant.. Cool-season dominant, warm-season subdominant..
Jan | Feb | Mar | Apr | May | Jun | Jul | Aug | Sep | Oct | Nov | Dec |
---|---|---|---|---|---|---|---|---|---|---|---|
J | F | M | A | M | J | J | A | S | O | N | D |
0 | 0 | 3 | 10 | 23 | 34 | 15 | 6 | 5 | 4 | 0 | 0 |
Community 4.3
Annual Pioneer-Perennial Pioneer
This plant community developed under continuous heavy grazing or other excessive disturbances. The potential plant community is made up of approximately 40 to 80 percent grasses and grass-like species, 20 to 60 percent forbs, and 0 to 5 percent shrubs. The species present in this phase are highly variable but often include non-native invasive or early seral species separately or the combination of both together. Plant diversity is low (plant richness may be high, but areas are often dominated by a few species). The ecological processes are difficult to restore because of the loss of plant diversity and overall soil disturbance. Soil erosion is potentially very high because of the bare ground and shallow rooted herbaceous plant community. Water runoff will increase and infiltration will decrease due to animal related soil compaction and loss of root mass due to low plant diversity and vigor. This plant community will require significant economic inputs and time to move towards another plant community. This movement is highly variable in its succession. This is due to the loss of diversity (including the loss of the seed bank), within the existing plant community, and the plant communities on adjacent sites. This community can be renovated to improve the production capability; however, if management changes are not made the vegetation could revert back to early seral species.
Pathway 4.1A
Community 4.1 to 4.2
Heavy continuous grazing which includes herbivory at moderate to heavy levels at the same time of year each year without adequate recovery periods, or during periods of below normal precipitation when grazing frequency and intensity increases on these sites due to limited forage availability on adjacent upland sites will shift this community to the 4.2 Kentucky Bluegrass-Blue Grama Plant Community Phase.
Pathway 4.2A
Community 4.2 to 4.1
Prescribed grazing (alternating season of use and providing adequate recovery periods) or periodic light to moderate grazing possibly including periodic rest will convert this plant community to the 4.1 Smooth Bromegrass-Kentucky Bluegrass Plant Community Phase.
Conservation practices
Prescribed Grazing |
---|
Pathway 4.3A
Community 4.3 to 4.2
This community pathway occurs with the passage of time as successional processes take place and perennial plants gradually begin to establish on the site again. This pathway will lead to the 4.2 Kentucky Bluegrass-Blue Grama Plant Community Phase.
Conservation practices
Prescribed Grazing | |
---|---|
Integrated Pest Management (IPM) |
State 5
Conifer/Invaded State
This state is dominated (canopy exceeds 20 percent of total surface area) by areas where trees have become established or have encroached onto the site due to the absence of periodic fire. This state is dominated by eastern redcedar or Rocky Mountain juniper separately or the combination of both together with cool-season grasses being subdominant. The plant community can develop into a closed canopy that impedes the reproductive capability of the major native perennial grass species. A single eastern redcedar tree with a 7 foot crown diameter eliminates the equivalent of 3 pounds of forage. Further, the forage potential of a pasture with 250 mature eastern redcedar trees per acre (or one tree every thirteen feet) is reduce by 50 percent. It is suggested that reducing stocking rates by 10 percent for every 50 trees per acre. The increase in tree canopy which is a result of a disruption of the natural, and human related fire regimes that occurred prior to European settlement, which kept trees from encroaching much of the grasslands.
Community 5.1
Eastern Redcedar-Rocky Mountain Juniper/Western Wheatgrass
This plant community evolved due to the invasion of conifers, such as eastern redcedar and Rocky Mountain juniper. This phase was a result of the absence of periodic fire. These events may cause a reduction in warm-season grasses and an increase in cool-season grasses and allow for the encroachment of conifers. The potential plant community is made up of approximately 50 percent grasses and grass-like species, 10 percent forbs, 10 percent shrubs, and 30 percent trees. Dominant grasses and grass-likes include big bluestem, green needlegrass, western wheatgrass, sideoats grama and little bluestem. As the canopy increases, warm-season grasses tend to decrease as the cool-season grasses increase. Forbs will be diverse. Trees species will include eastern redcedar and Rocky Mountain juniper. When compared to the 1.1 Big Bluestem-Green Needlegrass-Western Wheatgrass Plant Community, coniferous trees have increased significantly and the herbaceous component has decreased. This plant community is susceptible to the encroachment of eastern redcedar and Rocky Mountain juniper.
Community 5.2
Eastern Redcedar-Rocky Mountain Juniper/Kentucky Bluegrass
This plant community phase is a result of heavy, continuous seasonal grazing or heavy, continuous season-long grazing or non-use or no surface fire for extended periods of time (typically for 10 or more years) separately or the combination of both together. When compared to the 5.1 Eastern Redcedar-Rocky Mountain Juniper/Western Wheatgrass Plant Community, the amount of nonnative invasive cool-season grasses such as Kentucky bluegrass and smooth bromegrass have increased significantly. It is characterized by a dominance of Kentucky bluegrass, smooth bromegrass, and blue grama. The dominance of Kentucky bluegrass is at times so complete that other species are difficult to find on the site. A relatively thick duff layer can sometimes accumulate at or above the soil surface and a thatch-mat layer often develops at the surface. Production is limited to the sod forming species. The period that palatability is high is relatively short, as Kentucky bluegrass matures rapidly. Infiltration continues to decrease and runoff increases, energy capture into the system is restricted to early season low producing species. Nutrient cycling is limited by root depth of the dominate species. Biological activity in the soil is likely reduced significantly in this phase.
Community 5.3
Eastern Redcedar-Rocky Mountain Juniper
This plant community phase is a result of no surface fire for extended periods of time (typically for 10 or more years). Coniferous trees have increased significantly, and the herbaceous component has decreased. With the dominance of the coniferous trees such as eastern redcedar and Rocky Mountain juniper, the canopy covers the area and grass species are unable to survive. Grass production for livestock is severely limited. Prescribed burning before the juniper species reach maturity and are still susceptible to fire (< 5 foot in height), or mechanical brush management can be used to maintain or recover 5.3 Eastern Redcedar-Rocky Mountain Juniper Plant Community Phase.
Pathway 5.1A
Community 5.1 to 5.2
Non-use or no surface fire for extended periods of time (typically for 10 or more years) separately or the combination of both together causing litter levels to become high enough to reduce native grass vigor, diversity, and density, or heavy continuous grazing or invasion of non-native plant species by itself or combined with other management will shift this plant community to the 5.2 Eastern Redcedar-Rocky Mountain Juniper/Kentucky Bluegrass Plant Community Phase.
Pathway 5.2A
Community 5.2 to 5.3
No surface fire for extended periods of time (typically for 10 or more years) causing litter levels to become high enough to reduce native grass vigor, diversity, and density, will shift this plant community to the 5.3 Eastern Redcedar-Rocky Mountain Juniper Plant Community Phase.
State 6
Crop Production State
This state is characterized by the production of annual crops using a variety of tillage and cropping systems along with management practices. Cropping on this site is enabled during years with drier than normal precipitation or with artificial drainage (surface or subsurface).
Community 6.1
Annual Crops
This plant community developed with the use of a variety of tillage systems and cropping systems for the production of annual crops including corn, soybeans, wheat, and a variety of other crops.
Transition T1A
State 1 to 2
Heavy continuous grazing (stocking levels well above carrying capacity for extended portions of the growing season, and often at the same time of year each year, typically beginning early in the season) will convert this plant community to the 2.1 Western Wheatgrass-Blue Grama-Sedges Plant Community Phase within the Degraded State (State 2).
Transition T1B
State 1 to 3
Non-use or no surface fire separately or the combination of both together for extended periods of time (typically for 10 or more years) causing litter levels to become high enough to reduce native grass vigor, diversity, and density, or heavy continuous grazing or invasion of non-native plant species separately or combined with other management will likely lead this state over a threshold resulting in the Native/Invaded State (State 3).
Transition T1C
State 1 to 5
No surface fire for extended periods of time (typically for 10 or more years) causing litter levels to become high enough to reduce native grass vigor, diversity, and density, and invasion of conifer will likely lead this state over a threshold leading to the 5.1 Eastern Redcedar-Rocky Mountain Juniper/Western Wheatgrass Plant Community Phase within the Conifer/Invaded State (State 5).
Transition T1D
State 1 to 6
Tillage will cause a shift over a threshold leading to the 6.1 Annual Crops Plant Community Phase within the Crop Production State (State 6).
Transition T2A
State 2 to 6
Tillage will cause a shift over a threshold leading to the 6.1 Annual Crops Plant Community Phase within the Crop Production State (State 6).
Transition T3A, T3B
State 3 to 4
Non-use or no surface fire separately or the combination of both together for extended periods of time (typically for 10 or more years) causing litter levels to become high enough to reduce native grass vigor, diversity, and density, will likely lead this state over a threshold leading to the 4.1 Smooth Bromegrass-Kentucky Bluegrass Community Phase within the Invaded State (State 4). Heavy continuous grazing (stocking levels well above carrying capacity for extended portions of the growing season and often at the same time of year each year), will likely lead this state over a threshold leading to the 4.2 Kentucky Bluegrass-Blue Grama Community Phase within the Invaded State (State 4). Grazing repeatedly in the early growing season can expedite this shift by causing mechanical disturbance due to trampling.
Transition T3C
State 3 to 6
Tillage will cause a shift over a threshold leading to the 6.1 Annual Crops Plant Community Phase within the Crop Production State (State 6).
Restoration pathway T4A
State 4 to 3
Long-term prescribed grazing (moderate stocking levels coupled with adequate recovery periods, or other grazing systems such as high-density, low-frequency intended to treat specific species dominance, or periodic light to moderate stocking levels possibly including periodic rest) coupled with prescribed burning occurring at relatively frequent intervals (3 to 5 years) and a return to normal disturbance regime levels may lead this plant community phase over a threshold to the Native/Invaded State (State 3).
Conservation practices
Prescribed Grazing | |
---|---|
Integrated Pest Management (IPM) |
Transition T4C
State 4 to 5
No surface fire for extended periods of time (typically for 10 or more years) causing litter levels to become high enough to reduce native grass vigor, diversity, and density, and invasion of conifer will likely lead this state over a threshold leading to the 5.2 Eastern Redcedar-Rocky Mountain Juniper/Kentucky Bluegrass Plant Community Phase within the Conifer/Invaded State (State 5).
Transition T4B
State 4 to 6
Tillage will cause a shift over a threshold leading to the 6.1 Annual Crops Community Phase within the Crop Production State (State 6).
Restoration pathway T5A
State 5 to 1
Brush management which would include the mechanical removal of the conifers coupled with prescribed burning occurring at relatively frequent intervals (3 to 5 years), and a return to normal disturbance regime levels may lead the 5.1 Eastern Redcedar-Rocky Mountain Juniper/Western Wheatgrass Plant Community Phase within the Conifer/Invaded State (State 5) over a threshold to the Reference State (State 1).
Restoration pathway T5B, T5D
State 5 to 3
Brush management, which would include the mechanical removal of the conifers, coupled with prescribed burning occurring at relatively frequent intervals (3 to 5 years) and a return to normal disturbance regime levels may lead this 5.2 Eastern Redcedar-Rocky Mountain Juniper/Kentucky Bluegrass Plant Community Phase within the Conifer/Invaded State (State 5) over a threshold to the Native/Invaded State (State 3). Brush management which would include the mechanical removal of the conifers, coupled with prescribed burning occurring at relatively frequent intervals (3 to 5 years) and a return to normal disturbance regime levels may lead this 5.3 Eastern Redcedar-Rocky Mountain Juniper Plant Community Phase within the Conifer/Invaded State (State 5) over a threshold to the Native/Invaded State (State 3).
Restoration pathway T5C
State 5 to 4
Brush management which would include the mechanical removal of the conifers may lead this 5.2 Eastern Redcedar-Rocky Mountain Juniper/Kentucky Bluegrass Plant Community Phase within the Conifer/Invaded State (State 5) over a threshold to the Invaded State (State 4).
Transition T5E
State 5 to 6
Brush management which would include the mechanical removal of the conifers, coupled with tillage will cause a shift over a threshold leading to the 6.1 Annual Crops Plant Community Phase within the Crop Production State (State 6).
Restoration pathway T6A
State 6 to 3
Seeding may lead this Crop Production State (State 6) over a threshold to the Native/Invaded State (State 3).
Restoration pathway T6B, T6C
State 6 to 4
Seeding may lead this Crop Production State (State 6) over a threshold to the Invaded State (State 4). Cropping followed by abandonment may lead this plant community phase over a threshold to the Invaded State (State 4) and more specifically to the 4.3 Annual Pioneer-Perennial Pioneer Plant Community Phase.
Additional community tables
Table 9. Community 1.1 plant community composition
Group | Common name | Symbol | Scientific name | Annual production (lb/acre) | Foliar cover (%) | |
---|---|---|---|---|---|---|
Grass/Grasslike
|
||||||
1 | Tall Warm-Season Grasses | 875–1750 | ||||
big bluestem | ANGE | Andropogon gerardii | 700–1575 | – | ||
switchgrass | PAVI2 | Panicum virgatum | 105–525 | – | ||
Indiangrass | SONU2 | Sorghastrum nutans | 70–350 | – | ||
spiked muhly | MUGL3 | Muhlenbergia glomerata | 0–175 | – | ||
2 | Cool-Season Bunchgrasses | 350–875 | ||||
green needlegrass | NAVI4 | Nassella viridula | 175–875 | – | ||
porcupinegrass | HESP11 | Hesperostipa spartea | 70–350 | – | ||
Canada wildrye | ELCA4 | Elymus canadensis | 0–105 | – | ||
3 | Wheatgrass | 175–525 | ||||
western wheatgrass | PASM | Pascopyrum smithii | 175–525 | – | ||
slender wheatgrass | ELTR7 | Elymus trachycaulus | 0–175 | – | ||
4 | Other Warm-Season Grasses | 175–350 | ||||
little bluestem | SCSC | Schizachyrium scoparium | 35–350 | – | ||
sideoats grama | BOCU | Bouteloua curtipendula | 0–245 | – | ||
Graminoid (grass or grass-like) | 2GRAM | Graminoid (grass or grass-like) | 0–175 | – | ||
blue grama | BOGR2 | Bouteloua gracilis | 0–70 | – | ||
5 | Other Cool-Season Grasses | 35–140 | ||||
Graminoid (grass or grass-like) | 2GRAM | Graminoid (grass or grass-like) | 35–140 | – | ||
Scribner's rosette grass | DIOLS | Dichanthelium oligosanthes var. scribnerianum | 0–70 | – | ||
prairie Junegrass | KOMA | Koeleria macrantha | 0–70 | – | ||
6 | Grass-likes | 35–140 | ||||
sedge | CAREX | Carex | 35–140 | – | ||
Grass-like (not a true grass) | 2GL | Grass-like (not a true grass) | 0–105 | – | ||
Forb
|
||||||
7 | Forbs | 175–350 | ||||
Forb, native | 2FN | Forb, native | 35–140 | – | ||
white sagebrush | ARLU | Artemisia ludoviciana | 35–105 | – | ||
Maximilian sunflower | HEMA2 | Helianthus maximiliani | 35–105 | – | ||
goldenrod | SOLID | Solidago | 35–105 | – | ||
white heath aster | SYER | Symphyotrichum ericoides | 0–70 | – | ||
dotted blazing star | LIPU | Liatris punctata | 35–70 | – | ||
scarlet beeblossom | GACO5 | Gaura coccinea | 35–70 | – | ||
American licorice | GLLE3 | Glycyrrhiza lepidota | 0–70 | – | ||
false boneset | BREU | Brickellia eupatorioides | 0–70 | – | ||
wavyleaf thistle | CIUN | Cirsium undulatum | 0–70 | – | ||
western yarrow | ACMIO | Achillea millefolium var. occidentalis | 35–70 | – | ||
Illinois bundleflower | DEIL | Desmanthus illinoensis | 0–70 | – | ||
scurfpea | PSORA2 | Psoralidium | 0–70 | – | ||
northern bedstraw | GABO2 | Galium boreale | 0–35 | – | ||
Cuman ragweed | AMPS | Ambrosia psilostachya | 0–35 | – | ||
purple prairie clover | DAPU5 | Dalea purpurea | 0–35 | – | ||
American stickseed | HADEA | Hackelia deflexa var. americana | 0–35 | – | ||
starry false lily of the valley | MAST4 | Maianthemum stellatum | 0–35 | – | ||
swamp verbena | VEHA2 | Verbena hastata | 0–35 | – | ||
meadow zizia | ZIAP | Zizia aptera | 0–35 | – | ||
Shrub/Vine
|
||||||
8 | Shrubs | 70–350 | ||||
western snowberry | SYOC | Symphoricarpos occidentalis | 35–140 | – | ||
Shrub (>.5m) | 2SHRUB | Shrub (>.5m) | 0–105 | – | ||
leadplant | AMCA6 | Amorpha canescens | 35–105 | – | ||
golden currant | RIAU | Ribes aureum | 0–105 | – | ||
rose | ROSA5 | Rosa | 35–105 | – | ||
American plum | PRAM | Prunus americana | 0–70 | – | ||
chokecherry | PRVI | Prunus virginiana | 0–70 | – | ||
western poison ivy | TORY | Toxicodendron rydbergii | 0–35 | – | ||
Tree
|
||||||
9 | Trees | 0–70 | ||||
Tree | 2TREE | Tree | 0–70 | – | ||
boxelder | ACNE2 | Acer negundo | 0–70 | – | ||
green ash | FRPE | Fraxinus pennsylvanica | 0–70 | – | ||
bur oak | QUMA2 | Quercus macrocarpa | 0–70 | – | ||
American elm | ULAM | Ulmus americana | 0–70 | – |
Table 10. Community 2.1 plant community composition
Group | Common name | Symbol | Scientific name | Annual production (lb/acre) | Foliar cover (%) | |
---|---|---|---|---|---|---|
Grass/Grasslike
|
||||||
1 | Tall Warm-Season Grasses | 20–200 | ||||
big bluestem | ANGE | Andropogon gerardii | 20–100 | – | ||
switchgrass | PAVI2 | Panicum virgatum | 0–100 | – | ||
Indiangrass | SONU2 | Sorghastrum nutans | 0–60 | – | ||
spiked muhly | MUGL3 | Muhlenbergia glomerata | 0–40 | – | ||
2 | Cool-Season Bunchgrasses | 20–120 | ||||
green needlegrass | NAVI4 | Nassella viridula | 20–80 | – | ||
porcupinegrass | HESP11 | Hesperostipa spartea | 0–60 | – | ||
3 | Wheatgrass | 300–600 | ||||
western wheatgrass | PASM | Pascopyrum smithii | 300–600 | – | ||
4 | Other Warm-Season Grasses | 300–600 | ||||
blue grama | BOGR2 | Bouteloua gracilis | 200–500 | – | ||
Graminoid (grass or grass-like) | 2GRAM | Graminoid (grass or grass-like) | 0–100 | – | ||
sideoats grama | BOCU | Bouteloua curtipendula | 0–80 | – | ||
little bluestem | SCSC | Schizachyrium scoparium | 0–60 | – | ||
5 | Other Cool-Season Grasses | 40–100 | ||||
Graminoid (grass or grass-like) | 2GRAM | Graminoid (grass or grass-like) | 20–80 | – | ||
Scribner's rosette grass | DIOLS | Dichanthelium oligosanthes var. scribnerianum | 0–40 | – | ||
prairie Junegrass | KOMA | Koeleria macrantha | 20–40 | – | ||
6 | Grass-likes | 100–300 | ||||
sedge | CAREX | Carex | 100–300 | – | ||
Grass-like (not a true grass) | 2GL | Grass-like (not a true grass) | 0–60 | – | ||
7 | Non-Native Grasses | 20–140 | ||||
bluegrass | POA | Poa | 0–100 | – | ||
brome | BROMU | Bromus | 20–80 | – | ||
smooth brome | BRIN2 | Bromus inermis | 0–20 | – | ||
Forb
|
||||||
8 | Forbs | 100–200 | ||||
goldenrod | SOLID | Solidago | 20–100 | – | ||
Forb, introduced | 2FI | Forb, introduced | 0–100 | – | ||
white sagebrush | ARLU | Artemisia ludoviciana | 20–100 | – | ||
Cuman ragweed | AMPS | Ambrosia psilostachya | 0–80 | – | ||
western yarrow | ACMIO | Achillea millefolium var. occidentalis | 20–60 | – | ||
white heath aster | SYER | Symphyotrichum ericoides | 0–60 | – | ||
swamp verbena | VEHA2 | Verbena hastata | 0–60 | – | ||
Forb, native | 2FN | Forb, native | 20–40 | – | ||
scurfpea | PSORA2 | Psoralidium | 0–40 | – | ||
wavyleaf thistle | CIUN | Cirsium undulatum | 0–20 | – | ||
scarlet beeblossom | GACO5 | Gaura coccinea | 0–20 | – | ||
American licorice | GLLE3 | Glycyrrhiza lepidota | 0–20 | – | ||
Maximilian sunflower | HEMA2 | Helianthus maximiliani | 0–20 | – | ||
dotted blazing star | LIPU | Liatris punctata | 0–20 | – | ||
Shrub/Vine
|
||||||
9 | Shrubs | 40–200 | ||||
western snowberry | SYOC | Symphoricarpos occidentalis | 20–140 | – | ||
western poison ivy | TORY | Toxicodendron rydbergii | 0–60 | – | ||
Shrub (>.5m) | 2SHRUB | Shrub (>.5m) | 0–60 | – | ||
American plum | PRAM | Prunus americana | 0–60 | – | ||
rose | ROSA5 | Rosa | 20–40 | – | ||
chokecherry | PRVI | Prunus virginiana | 0–20 | – | ||
golden currant | RIAU | Ribes aureum | 0–20 | – | ||
leadplant | AMCA6 | Amorpha canescens | 0–20 | – | ||
Tree
|
||||||
10 | Trees | 0–40 | ||||
Tree | 2TREE | Tree | 0–40 | – | ||
boxelder | ACNE2 | Acer negundo | 0–40 | – | ||
green ash | FRPE | Fraxinus pennsylvanica | 0–40 | – | ||
bur oak | QUMA2 | Quercus macrocarpa | 0–40 | – | ||
American elm | ULAM | Ulmus americana | 0–40 | – |
Table 11. Community 3.2 plant community composition
Group | Common name | Symbol | Scientific name | Annual production (lb/acre) | Foliar cover (%) | |
---|---|---|---|---|---|---|
Grass/Grasslike
|
||||||
1 | Tall Warm-Season Grasses | 435–725 | ||||
big bluestem | ANGE | Andropogon gerardii | 290–725 | – | ||
switchgrass | PAVI2 | Panicum virgatum | 0–87 | – | ||
Indiangrass | SONU2 | Sorghastrum nutans | 0–58 | – | ||
spiked muhly | MUGL3 | Muhlenbergia glomerata | 0–29 | – | ||
2 | Cool-Season Bunchgrasses | 58–290 | ||||
green needlegrass | NAVI4 | Nassella viridula | 58–290 | – | ||
porcupinegrass | HESP11 | Hesperostipa spartea | 0–145 | – | ||
Canada wildrye | ELCA4 | Elymus canadensis | 0–58 | – | ||
3 | Wheatgrass | 435–725 | ||||
western wheatgrass | PASM | Pascopyrum smithii | 435–725 | – | ||
slender wheatgrass | ELTR7 | Elymus trachycaulus | 0–116 | – | ||
4 | Other Warm-Season Grasses | 29–232 | ||||
sideoats grama | BOCU | Bouteloua curtipendula | 0–116 | – | ||
blue grama | BOGR2 | Bouteloua gracilis | 0–116 | – | ||
Graminoid (grass or grass-like) | 2GRAM | Graminoid (grass or grass-like) | 0–87 | – | ||
little bluestem | SCSC | Schizachyrium scoparium | 0–58 | – | ||
5 | Other Cool-Season Grasses | 0–145 | ||||
Graminoid (grass or grass-like) | 2GRAM | Graminoid (grass or grass-like) | 0–145 | – | ||
Scribner's rosette grass | DIOLS | Dichanthelium oligosanthes var. scribnerianum | 0–29 | – | ||
prairie Junegrass | KOMA | Koeleria macrantha | 0–29 | – | ||
6 | Grass-likes | 29–145 | ||||
sedge | CAREX | Carex | 29–145 | – | ||
Grass-like (not a true grass) | 2GL | Grass-like (not a true grass) | 0–58 | – | ||
7 | Non-Native Grasses | 290–725 | ||||
bluegrass | POA | Poa | 145–435 | – | ||
smooth brome | BRIN2 | Bromus inermis | 58–290 | – | ||
brome | BROMU | Bromus | 0–145 | – | ||
Forb
|
||||||
8 | Forbs | 145–290 | ||||
goldenrod | SOLID | Solidago | 29–145 | – | ||
Forb, introduced | 2FI | Forb, introduced | 0–145 | – | ||
white sagebrush | ARLU | Artemisia ludoviciana | 29–145 | – | ||
Cuman ragweed | AMPS | Ambrosia psilostachya | 29–116 | – | ||
scurfpea | PSORA2 | Psoralidium | 0–87 | – | ||
white heath aster | SYER | Symphyotrichum ericoides | 0–87 | – | ||
Forb, native | 2FN | Forb, native | 0–87 | – | ||
western yarrow | ACMIO | Achillea millefolium var. occidentalis | 29–58 | – | ||
wavyleaf thistle | CIUN | Cirsium undulatum | 0–58 | – | ||
American licorice | GLLE3 | Glycyrrhiza lepidota | 0–58 | – | ||
Maximilian sunflower | HEMA2 | Helianthus maximiliani | 0–58 | – | ||
swamp verbena | VEHA2 | Verbena hastata | 0–58 | – | ||
dotted blazing star | LIPU | Liatris punctata | 0–29 | – | ||
purple prairie clover | DAPU5 | Dalea purpurea | 0–29 | – | ||
Illinois bundleflower | DEIL | Desmanthus illinoensis | 0–29 | – | ||
false boneset | BREU | Brickellia eupatorioides | 0–29 | – | ||
Shrub/Vine
|
||||||
9 | Shrubs | 58–435 | ||||
western snowberry | SYOC | Symphoricarpos occidentalis | 29–348 | – | ||
western poison ivy | TORY | Toxicodendron rydbergii | 0–87 | – | ||
Shrub (>.5m) | 2SHRUB | Shrub (>.5m) | 0–87 | – | ||
rose | ROSA5 | Rosa | 29–87 | – | ||
American plum | PRAM | Prunus americana | 0–87 | – | ||
chokecherry | PRVI | Prunus virginiana | 0–87 | – | ||
golden currant | RIAU | Ribes aureum | 0–58 | – | ||
leadplant | AMCA6 | Amorpha canescens | 0–58 | – | ||
Tree
|
||||||
10 | Trees | 0–58 | ||||
Tree | 2TREE | Tree | 0–58 | – | ||
boxelder | ACNE2 | Acer negundo | 0–58 | – | ||
green ash | FRPE | Fraxinus pennsylvanica | 0–58 | – | ||
bur oak | QUMA2 | Quercus macrocarpa | 0–58 | – | ||
American elm | ULAM | Ulmus americana | 0–58 | – |
Table 12. Community 4.2 plant community composition
Group | Common name | Symbol | Scientific name | Annual production (lb/acre) | Foliar cover (%) | |
---|---|---|---|---|---|---|
Grass/Grasslike
|
||||||
1 | Tall Warm-Season Grasses | 0–54 | ||||
big bluestem | ANGE | Andropogon gerardii | 0–54 | – | ||
switchgrass | PAVI2 | Panicum virgatum | 0–18 | – | ||
2 | Cool-Season Bunchgrasses | 0–36 | ||||
green needlegrass | NAVI4 | Nassella viridula | 0–36 | – | ||
3 | Wheatgrass | 18–72 | ||||
western wheatgrass | PASM | Pascopyrum smithii | 18–72 | – | ||
4 | Other Warm-Season Grasses | 90–450 | ||||
blue grama | BOGR2 | Bouteloua gracilis | 90–450 | – | ||
Graminoid (grass or grass-like) | 2GRAM | Graminoid (grass or grass-like) | 0–54 | – | ||
sideoats grama | BOCU | Bouteloua curtipendula | 0–36 | – | ||
little bluestem | SCSC | Schizachyrium scoparium | 0–18 | – | ||
5 | Other Cool-Season Grasses | 0–54 | ||||
Graminoid (grass or grass-like) | 2GRAM | Graminoid (grass or grass-like) | 0–54 | – | ||
Scribner's rosette grass | DIOLS | Dichanthelium oligosanthes var. scribnerianum | 0–18 | – | ||
prairie Junegrass | KOMA | Koeleria macrantha | 0–18 | – | ||
6 | Grass-likes | 18–90 | ||||
sedge | CAREX | Carex | 18–90 | – | ||
Grass-like (not a true grass) | 2GL | Grass-like (not a true grass) | 0–54 | – | ||
7 | Non-Native Grasses | 720–1080 | ||||
bluegrass | POA | Poa | 540–1080 | – | ||
smooth brome | BRIN2 | Bromus inermis | 36–180 | – | ||
brome | BROMU | Bromus | 0–90 | – | ||
Forb
|
||||||
8 | Forbs | 180–360 | ||||
Forb, introduced | 2FI | Forb, introduced | 54–270 | – | ||
white sagebrush | ARLU | Artemisia ludoviciana | 18–108 | – | ||
goldenrod | SOLID | Solidago | 18–90 | – | ||
Cuman ragweed | AMPS | Ambrosia psilostachya | 18–90 | – | ||
western yarrow | ACMIO | Achillea millefolium var. occidentalis | 18–72 | – | ||
white heath aster | SYER | Symphyotrichum ericoides | 0–72 | – | ||
Forb, native | 2FN | Forb, native | 0–54 | – | ||
swamp verbena | VEHA2 | Verbena hastata | 0–36 | – | ||
scurfpea | PSORA2 | Psoralidium | 0–36 | – | ||
Shrub/Vine
|
||||||
9 | Shrubs | 18–108 | ||||
western snowberry | SYOC | Symphoricarpos occidentalis | 18–90 | – | ||
Shrub (>.5m) | 2SHRUB | Shrub (>.5m) | 0–36 | – | ||
American plum | PRAM | Prunus americana | 0–18 | – | ||
rose | ROSA5 | Rosa | 0–18 | – | ||
western poison ivy | TORY | Toxicodendron rydbergii | 0–18 | – | ||
Tree
|
||||||
10 | Trees | 0–36 | ||||
Tree | 2TREE | Tree | 0–36 | – | ||
boxelder | ACNE2 | Acer negundo | 0–36 | – | ||
green ash | FRPE | Fraxinus pennsylvanica | 0–36 | – | ||
bur oak | QUMA2 | Quercus macrocarpa | 0–36 | – | ||
American elm | ULAM | Ulmus americana | 0–36 | – |
Interpretations
Animal community
Animal Community – Grazing Interpretations
The following table lists annual, suggested initial stocking rates with average growing conditions. These are conservative estimates that should be used only as guidelines in the initial stages of conservation planning. Often, the current plant composition does not entirely match any particular plant community (as described in this ES description). Because of this, a resource inventory is necessary to document plant composition and production. More accurate carrying capacity estimates should eventually be calculated using the following stocking rate information along with animal preference data and actual stocking records, particularly when grazers other than cattle are involved. With consultation of the land manager, more intensive grazing management may result in improved harvest efficiencies and increased carrying capacity.
Big Bluestem/Green Needlegrass (1.1)
Average Annual Production (lbs./acre, air-dry): 3,500
Stocking Rate* (AUM/acre): 0.96
Blue Grama/Sedge/Western Wheatgrass (2.1)
Average Annual Production (lbs./acre, air-dry): 2,000
Stocking Rate* (AUM/acre): 0.55
Western Wheatgrass/Kentucky Bluegrass/Big Bluestem (3.2)
Average Annual Production (lbs./acre, air-dry): 2,900
Stocking Rate* (AUM/acre): 0.79
Kentucky Bluegrass/Blue Grama (4.2)
Average Annual Production (lbs./acre, air-dry): 1,800
Stocking Rate* (AUM/acre): 0.49
Annual/Pioneer, Non-native Perennial (4.3)
Average Annual Production (lbs./acre, air-dry): 1,200
Stocking Rate* (AUM/acre): 0.33
*Based on 912 lbs./acre (air-dry weight) per Animal Unit Month (AUM), and on 25 percent harvest efficiency (refer to United States Department of Agriculture (USDA) Natural Resources Conservation Service (NRCS) National Range and Pasture Handbook).
Grazing by domestic livestock is one of the major income-producing industries in the area. Rangeland in this area may provide yearlong forage. During the dormant period, the forage for livestock will likely be lacking protein to meet livestock requirements and added protein will allow ruminants to better utilize the energy stored in grazed plant materials. A forage quality test (either directly or through fecal sampling) should be used to determine the level of supplementation needed.
Hydrological functions
Water is the principal factor limiting forage production on this site. This site is dominated by soils in Hydrologic Group B, with localized areas in Hydrologic Group C. Infiltration and runoff potential for this site varies from moderate to high depending on soil hydrologic group, slope, and ground cover. In many cases, areas with greater than 75 percent ground cover have the greatest potential for high infiltration and lower runoff. An example of an exception would be where shortgrasses form a strong sod and dominate the site. Dominance by blue grama, buffalograss, bluegrass, and/or smooth bromegrass will result in reduced infiltration and increased runoff. Areas where ground cover is less than 50 percent have the greatest potential to have reduced infiltration and higher runoff (refer to Section 4, NRCS National Engineering Handbook for runoff quantities and hydrologic curves).
Recreational uses
This site provides hunting, hiking, photography, bird watching and other opportunities. The wide varieties of plants that bloom from spring until fall have an esthetic value that appeals to visitors.
Wood products
No appreciable wood products are typically present on this site.
Other products
Seed harvest of native plant species can provide additional income on this site.
Other information
Ecological Site Correlation Issues and Questions:
• SD119 Sully County, SD did not use the (JgB) Glenham-Java-Prosper loams, 1 to 6 percent slopes (national symbol 2wkp1) as used in the adjoining SD107 Potter County.
• SD119 Sully County, SD did not use the (AmA) Agar-Mobridge silt loams, 0 to 3 percent slopes (national symbol cxqn) as used in the adjoining SD107 Potter County.
• SD107 Potter County, SD did not use the (OrA) Onita-DeGrey silt loams, 0 to 2 percent slopes (national symbol cvfk) as used in the adjoining SD119 Sully County.
• SD119 Sully County, SD did not use the (GmB) Glenham-Java-Prosper loams, 1 to 6 percent slopes (national symbol 2wkp1) as used in the adjoining SD069 Hyde County.
• SD069 Hyde County, SD did not use the (WnB) Williams-Bowbells loams, 1 to 6 percent slopes (national symbol cxm4) (R53BY011ND ESD) as used in the adjoining SD049 Faulk County. SD049 Faulk County, SD (WnB) Williams-Bowbells loams, 1 to 6 percent slopes (national symbol cxm4) (R53BY011ND ESD) will need to be split correlated to match SD069 Hyde County, SD ESD.
• SD069 Hyde County, SD did not use the (WoB) Williams-Bowbells-Nishon complex, 1 to 6 percent slopes (national symbol cxm6) (R53BY011ND ESD) as used in the adjoining SD049 Faulk County. SD049 Faulk County, SD (WoB) Williams-Bowbells-Nishon complex, 1 to 6 percent slopes (national symbol cxm6) (R53BY011ND ESD) will need to be split correlated to match SD069 Hyde County, SD ESD.
• SD059 Hand County, SD did not use the (GmB) Glenham-Java-Prosper loams, 1 to 6 percent slopes (national symbol 2wkp1) as used in the adjoining SD069 Hyde County.
• SD059 Hand County, SD did not use the (GsA) Glenham-Prosper-Hoven complex, 0 to 4 percent slopes (national symbol cw4y) as used in the adjoining SD069 Hyde County.
• SD059 Hand County, SD did not use the (JhC) Glenham-Java-Prosper complex, 1 to 9 percent slopes (national symbol cw5f) as used in the adjoining SD069 Hyde County.
• SD059 Hand County, SD did not use the (GkB) Glenham-Java-Prosper loams, 1 to 6 percent slopes (national symbol 2wkp1) as used in the adjoining SD017 Buffalo County, SD (SD603 Brule and Buffalo Counties Soil survey).
• SD017 Buffalo County, SD (SD603 Brule and Buffalo Counties Soil survey) did not use the (HwB) Houdek-Ethan-Prosper loams, 1 to 6 percent slopes (national symbol 2tlb9) (R55CY020SD ESD) as used in the adjoining SD073 Jerauld County. SD073 Jerauld County, SD (HwB) Houdek-Ethan-Prosper loams, 1 to 6 percent slopes (national symbol 2tlb9) (R55CY020SD ESD) will need to be split correlated to match SD017 Buffalo County, SD ESD
• SD073 Jerauld County, SD did not use the (HgB) Highmore-Java complex, 1 to 5 percent slopes (national symbol cxxx) (R55CY020SD ESD) as used in the adjoining SD017 Buffalo County, SD (SD603 Brule and Buffalo Counties Soil survey). Buffalo County, SD (HgB) Highmore-Java complex, 1 to 5 percent slopes (national symbol cxxx) (R55CY020SD ESD) will need to be split correlated to match SD073 Jerauld County, SD ESD.
• SD073 Jerauld County, SD did not use the (HmA) Highmore-Mobridge silt loams, 0 to 4 percent slopes (national symbol cxxz) (R55CY020SD ESD) as used in the adjoining SD017 Buffalo County, SD (SD603 Brule and Buffalo Counties Soil survey). Buffalo County, SD (HmA) Highmore-Mobridge silt loams, 0 to 4 percent slopes (national symbol cxxz) (R55CY020SD ESD) will need to be split correlated to match SD073 Jerauld County, SD ESD.
• SD003 Aurora County, SD did not use the (EaB) Eakin-Ethan-Onita complex, 2 to 6 percent slopes (national symbol cywn) as used in the adjoining SD073 Jerauld County.
• SD059 Hand County, SD did not use the (EaB) Eakin-Ethan-Onita complex, 2 to 6 percent slopes (national symbol cywn) as used in the adjoining SD073 Jerauld County.
• SD059 Hand County, SD did not use the (HlA) Homme-Onita-Beadle complex, 0 to 2 percent slopes (national symbol cyx3) as used in the adjoining SD073 Jerauld County.
• SD003 Aurora County, SD did not use the (HmA) Highmore-Mobridge silt loams, 0 to 4 percent slopes (national symbol cxxz) (R55CY020SD ESD) as used in the adjoining SD015 Brule County, SD (SD603 Brule and Buffalo Counties Soil survey). Brule County, SD (HmA) Highmore-Mobridge silt loams, 0 to 4 percent slopes (national symbol cxxz) (R55CY020SD ESD) will need to be split correlated to match SD003 Aurora County, SD ESD.
• SD059 Hand County, SD did not use the (WnB) Williams-Bowbells loams, 1 to 6 percent slopes (national symbol cxm4) (R53BY011ND ESD) as used in the adjoining SD049 Faulk County. SD049 Faulk County, SD (WnB) Williams-Bowbells loams, 1 to 6 percent slopes (national symbol cxm4) (R53BY011ND ESD) will need to be split correlated to match SD059 Hand County, SD ESD.
• Reference and alternative states within the state and transition model are may not be fully documented and may require additional field sampling for refinement.
Supporting information
Inventory data references
Information presented here has been derived from NRCS clipping data and other inventory data. Field observations from range-trained personnel were also used. Those involved in developing this site include: Stan Boltz, Range Management Specialist (RMS), NRCS; Shane Deranleau, RMS, NRCS; Bruce Kunze, Soil Scientist, NRCS; and Mitch Faulkner, RMS, NRCS.
Other references
Cleland, D.T., J.A. Freeouf, J.E. Keys, G.J. Nowacki, C. Carpenter, and W.H. McNab. 2007. Ecological Subregions: Sections and Subsections of the Coterminous United States. USDA Forest Service, General Technical Report WO-76. Washington, DC. 92 pps.
Gilbert, M. C., Whited, P. M., Clairain Jr, E. J., & Smith, R. D. (2006). A Regional Guidebook for Applying the Hydrogeomorphic Approach to Assessing Wetland Functions of Prairie Potholes. Washington DC.
Samson, F. B., & Knopf, F. L. (1996). Prairie Conservation Preserving North America's Most Endagered Ecosystem. Washington D.C.: Island Press.
Soil Survey Staff, Natural Resources Conservation Service, United States Department of Agriculture. Official Soil Series Descriptions. Available online. Accessed March 2018.
United States Department of Agriculture – Natural Resource Conservation Service (USDA-NRCS). 2003. National Range and Pasture Handbook, Revision 1. Grazing Lands Technology Institute. 214 pps.
United States Department of Agriculture – Natural Resource Conservation Service (USDA-NRCS). 2006. Land Resource Regions and Major Land Resource Areas of the United States, the Caribbean, and the Pacific Basin. U.S. Department of Agriculture Handbook 296. 672pps.
USDA, NRCS. National Soil Information System, Information Technology Center, 2150 Centre Avenue, Building A, Fort Collins, CO 80526. (http://soils.usda.gov/technical/nasis/)
USDA, NRCS. 2018. The PLANTS Database (http://plants.usda.gov, 27 March 2018). National Plant Data Team, Greensboro, NC 27401-4901 USA.
U.S. Environmental Protection Agency [EPA]. 2013. Level III and Level IV Ecoregions of the Continental United States. Corvallis, OR, U.S. EPA, National Health and Environmental Effects Research Laboratory, map scale 1:3,000,000. Available at http://www.epa.gov/eco-research/level-iii-and-iv-ecoregions- continental-united-states. (Accessed 1 March 2018).
Contributors
Stan Boltz
Approval
Suzanne Mayne-Kinney, 1/22/2024
Acknowledgments
Contact for Lead Authors: Natural Resources Conservation Service (USDA-NRCS), Redfield Soil Survey Office Redfield, SD; Lance Howe (Lance.Howe@usda.gov), Soil Survey Office Leader, USDA-NRCS, Redfield, SD; and Steve Winter (Steven.Winter@usda.gov), Soil Scientist, USDA-NRCS, Redfield, SD
Additional Information Acknowledgment: Jason Hermann (Jason.Hermann@usda.gov), Area Rangeland Management Specialist, USDA-NRCS, Redfield, SD.
This Provisional Ecological Site concept has passed both Quality Control and Quality Assurance processes. Quality Assurance was approved by David Kraft, NRCS Regional Ecologist as of 11/12/2020.
Non-discrimination Statement
In accordance with Federal civil rights law and U.S. Department of Agriculture (USDA) civil rights regulations and policies, the USDA, its Agencies, offices, and employees, and institutions participating in or administering USDA programs are prohibited from discriminating based on race, color, national origin, religion, sex, gender identity (including gender expression), sexual orientation, disability, age, marital status, family/parental status, income derived from a public assistance program, political beliefs, or reprisal or retaliation for prior civil rights activity, in any program or activity conducted or funded by USDA (not all bases apply to all programs). Remedies and complaint filing deadlines vary by program or incident.
Persons with disabilities who require alternative means of communication for program information (e.g., Braille, large print, audiotape, American Sign Language, etc.) should contact the responsible Agency or USDA's TARGET Center at (202) 720-2600 (voice and TTY) or contact USDA through the Federal Relay Service at (800) 877-8339. Additionally, program information may be made available in languages other than English.
To file a program discrimination complaint, complete the USDA Program Discrimination Complaint Form, AD-3027, available online and at any USDA office, or write a letter addressed to USDA and provide in the letter all of the information requested in the form. To request a copy of the complaint form, call (866) 632- 9992. Submit your completed form or letter to USDA by: (1) mail: U.S. Department of Agriculture, Office of the Assistant Secretary for Civil Rights, 1400 Independence Avenue, SW, Washington, D.C. 20250-9410; (2) fax: (202) 690-7442; or (3) email: program.intake@usda.gov.
Rangeland health reference sheet
Interpreting Indicators of Rangeland Health is a qualitative assessment protocol used to determine ecosystem condition based on benchmark characteristics described in the Reference Sheet. A suite of 17 (or more) indicators are typically considered in an assessment. The ecological site(s) representative of an assessment location must be known prior to applying the protocol and must be verified based on soils and climate. Current plant community cannot be used to identify the ecological site.
Author(s)/participant(s) | Stan Boltz, Mitch Faulkner, Shane Deranleau |
---|---|
Contact for lead author | Stan Boltz, stanley.boltz@sd.usda.gov, 605-352-1236 |
Date | 03/15/2011 |
Approved by | Suzanne Mayne-Kinney |
Approval date | |
Composition (Indicators 10 and 12) based on | Annual Production |
Indicators
-
Number and extent of rills:
Rills should not be present. -
Presence of water flow patterns:
Barely observable or not present. -
Number and height of erosional pedestals or terracettes:
Essentially non-existent. -
Bare ground from Ecological Site Description or other studies (rock, litter, lichen, moss, plant canopy are not bare ground):
Bare ground less than 5 percent and pathces less than two inches in diameter. -
Number of gullies and erosion associated with gullies:
Active gullies should not be present. -
Extent of wind scoured, blowouts and/or depositional areas:
None present. -
Amount of litter movement (describe size and distance expected to travel):
Little to no plant litter movement. Plant litter remains in place and is not moved by erosional forces. -
Soil surface (top few mm) resistance to erosion (stability values are averages - most sites will show a range of values):
Soil aggregate stability normally a 6 rating. Typically high root content and organic matter in the soil surface. Soil surface is very resistant to erosion. -
Soil surface structure and SOM content (include type of structure and A-horizon color and thickness):
Soil surface structure is typically granular or parting to granular, and mollic (higher organic matter) colors of A-horizon down to about 8 to 12 inches or deeper. If conditions are other than this, refer to map unit component descriptions for component on which the site occurs. -
Effect of community phase composition (relative proportion of different functional groups) and spatial distribution on infiltration and runoff:
Healthy, deep-rooted native grass and grass-like species enhance infiltration and reduce runoff. -
Presence and thickness of compaction layer (usually none; describe soil profile features which may be mistaken for compaction on this site):
No compaction layer should be present. -
Functional/Structural Groups (list in order of descending dominance by above-ground annual-production or live foliar cover using symbols: >>, >, = to indicate much greater than, greater than, and equal to):
Dominant:
Tall, warm-season grasses >>Sub-dominant:
Tall and mid, cool-season bunchgrasses > wheatgrasses (mid cool-season rhizomatous) >Other:
Mid, warm-season grasses = forbs = shrubs > grass-likes species > treesAdditional:
Other native grasses occur in other functional groups in minor amounts. -
Amount of plant mortality and decadence (include which functional groups are expected to show mortality or decadence):
Very little to no evidence of decadence or mortality. -
Average percent litter cover (%) and depth ( in):
80-90 percent plant litter cover, roughly 0.5 to 1 inch in depth. Litter cover is in contact with the soil surface. -
Expected annual annual-production (this is TOTAL above-ground annual-production, not just forage annual-production):
3,500 pounds/acre (air-dry basis) -
Potential invasive (including noxious) species (native and non-native). List species which BOTH characterize degraded states and have the potential to become a dominant or co-dominant species on the ecological site if their future establishment and growth is not actively controlled by management interventions. Species that become dominant for only one to several years (e.g., short-term response to drought or wildfire) are not invasive plants. Note that unlike other indicators, we are describing what is NOT expected in the reference state for the ecological site:
Refer to State and local Noxious Weed List; also Kentucky bluegrass and smooth bromegrass. -
Perennial plant reproductive capability:
Perennial grasses have vigorous rhizomes and/or tillers.
Print Options
Sections
Font
Other
The Ecosystem Dynamics Interpretive Tool is an information system framework developed by the USDA-ARS Jornada Experimental Range, USDA Natural Resources Conservation Service, and New Mexico State University.
Click on box and path labels to scroll to the respective text.