
Natural Resources
Conservation Service
Ecological site R053CY001SD
Shallow Marsh
Last updated: 11/15/2024
Accessed: 10/18/2025
General information
Provisional. A provisional ecological site description has undergone quality control and quality assurance review. It contains a working state and transition model and enough information to identify the ecological site.
MLRA notes
Major Land Resource Area (MLRA): 053C–Southern Dark Brown Glaciated Plains
The Southern Dark Brown Glaciated Plains (53C) is located within the Northern Great Plains Region. It is entirely in South Dakota encompassing about 3,990 square miles (Figure 1). The elevation ranges from 1,300 to 2,300 feet. The MLRA is level to gently rolling till plains including many areas of potholes. A terminal moraine occurs in the southern end of the MLRA. Moderately steep and steep slopes are adjacent to the major valleys. The headwaters of many creeks in central South Dakota occur in the high-lying MLRA. (USDA-NRCS 2006).
The dominant soil orders in this MLRA is Mollisols and Inceptisols. The soils in the area dominantly have a mesic soil temperature regime, an ustic soil moisture regime, and mixed or smectitic mineralogy. They generally are very deep, well drained or moderately well drained, and are loamy or clayey. This area supports natural prairie vegetation characterized by western wheatgrass (Pascopyrum smithii), big bluestem (Andropogon gerardii), needleandthread (Hesperostipa comata), and green needlegrass (Nassella viridula). Little bluestem (Schizachyrium scoparium), sideoats grama (Bouteloua curtipendula), and prairie sandreed (Calamovilfa longifolia) are important species on steeper sites. Western snowberry (Symphoricarpos occidentalis) and prairie rose (Rosa arkansana) are commonly dispersed throughout the area. (USDA-NRCS 2006).
Classification relationships
Major Land Resource Area (MLRA): Southern Dark Brown Glaciated Plains (53C) (USDA-NRCS 2006)
USFS Subregions: Northeastern Glaciated Plains Section (331E); Missouri Coteau Subsection (331Ea); Western Great Plains Section (331F); Missouri Breaks Subsection (331Fe); Western Glaciated Plains Section (332B); Southern Missouri Coteau Slope Subsection (332Bd, 332Be); North Central Great Plains Section (332D); Southern Missouri Coteau Slope Subsection (332Dd); Southern Missouri Coteau Subsection (332De) - (Cleland et al. 2007).
US EPA Level IV Ecoregion: Missouri Coteau (42a); Southern Missouri Coteau (42e); Southern Missouri Coteau Slope (42f) - (USEPA 2013)
Ecological site concept
The Shallow Marsh ecological site typically occurs in a basin or closed depression, and receives water directly from precipitation, surface overland flow, and groundwater discharge. Soils are formed in local alluvium and are very poorly drained, which have a water table within 1 foot of the soil surface. Permeability is very slow due to the clayey subsoil and the site will pond water until early summer in most years. Ponded water conditions and very slow permeability strongly influences the soil-water-plant relationship.
Vegetation in the Reference State is typically dominated by cool-season grass and grass-like species including Whitetop, slough sedge, woolly sedge, American mannagrass, prairie cordgrass, and spikerush. Forb species may include smartweeds, western dock, and white panicle aster. Nonnative species such as quackgrass, creeping meadow foxtail, and barnyardgrass may invade the site due to change in disturbance regime.
Associated sites
R053CY003SD |
Subirrigated These sites occur in drainageways. Soils are somewhat poorly drained which have a water table within 2 to 5 feet of the soil surface that persists longer than the wettest part of the growing season typically until the month of August. The central concept soil series is Crossplain, but other series are included. |
---|---|
R053CY004SD |
Wet Meadow These sites occur in a basin or closed depression. Soils are poorly drained and the site ponds water for 4 to 8 weeks in the spring of the year or after a heavy rain. The central concept soil series is Tetonka, but other series are included. |
R053CY020SD |
Loamy Overflow These sites occur in upland swales. Soils are moderately well drained which have water flow into and over/through the site. The central concept soil series is Onita and Prosper, but other series are included. |
R053CY037SD |
Deep Marsh These sites occur in a basin or closed depression. Soils are very poorly drained, and the site will pond water year-round in most years. The central concept soil series is Macken. |
Similar sites
R053CY004SD |
Wet Meadow Wet Meadow is similar in landscape position, but the site ponds water only for 4 to 8 weeks in the spring of the year or after a heavy rain. (more prairie cordgrass; lower production) |
---|---|
R053CY037SD |
Deep Marsh The Deep Marsh site occurs in a similar landscape position, but the site ponds water for a longer period of time (year-round) than the Shallow Marsh site (through early summer). The Deep Marsh site will typically showcase more obligate-hydrophytic species, such as Typha latifolia and Schoenplectus acutus, than the Shallow Marsh site. |
Table 1. Dominant plant species
Tree |
Not specified |
---|---|
Shrub |
Not specified |
Herbaceous |
(1) Scolochloa festucacea |
Physiographic features
This site occurs on swales and depressions.

Figure 1.
Table 2. Representative physiographic features
Landforms |
(1)
Pothole
|
---|---|
Flooding frequency | None |
Ponding duration | Very long (more than 30 days) |
Ponding frequency | Frequent |
Elevation | 1,300 – 2,300 ft |
Slope | 1% |
Ponding depth | 24 in |
Water table depth | 18 in |
Climatic features
MLRA 53C is considered to have a continental climate – cold winters and hot summers, low humidity, light rainfall, and much sunshine. Extremes in temperature may also abound. The climate is the result of this MLRA’s location near the geographic center of North America. There are few natural barriers on the Northern Great Plains and air masses move freely across the plains and account for rapid changes in temperature.
Annual precipitation typically ranges from 15 to 25 inches per year. The average annual temperature is about 45°F. January is the coldest month with average temperatures ranging from about 15°F (Stephan, South Dakota (SD)), to about 16°F (Onida 4 NW, SD). July is the warmest month with temperatures averaging from about 72°F (Stephan, SD), to about 74°F (Onida 4 NW, SD). The range of normal average monthly temperatures between the coldest and warmest months is about 58°F. This large annual range attests to the continental nature of this area's climate. Hourly winds are estimated to average about 12 miles per hour (mph) annually, ranging from about 13 mph during the spring to about 11 mph during the summer. Daytime winds are generally stronger than nighttime and occasional strong storms may bring brief periods of high winds with gusts to more than 50 mph.
Growth of cool-season plants begins in early to mid-March, slowing or ceasing in late June. Warm-season plants begin growth about mid-May and continue to early or mid-September. Greenup of cool-season plants may occur in September and October when adequate soil moisture is present.
Table 3. Representative climatic features
Frost-free period (characteristic range) | 107-127 days |
---|---|
Freeze-free period (characteristic range) | 128-150 days |
Precipitation total (characteristic range) | 20-21 in |
Frost-free period (actual range) | 104-129 days |
Freeze-free period (actual range) | 127-159 days |
Precipitation total (actual range) | 19-24 in |
Frost-free period (average) | 117 days |
Freeze-free period (average) | 139 days |
Precipitation total (average) | 21 in |
Figure 2. Monthly precipitation range
Figure 3. Monthly minimum temperature range
Figure 4. Monthly maximum temperature range
Figure 5. Monthly average minimum and maximum temperature
Figure 6. Annual precipitation pattern
Figure 7. Annual average temperature pattern
Climate stations used
-
(1) GETTYSBURG [USC00393294], Gettysburg, SD
-
(2) GETTYSBURG 13W [USC00393302], Gettysburg, SD
-
(3) WESSINGTON SPRINGS [USC00399070], Wessington Springs, SD
-
(4) STEPHAN 2 NW [USC00397992], Highmore, SD
-
(5) HARROLD 12 SSW [USC00393608], Pierre, SD
-
(6) PIERRE RGNL AP [USW00024025], Pierre, SD
-
(7) ONIDA 4 NW [USC00396292], Onida, SD
-
(8) HIGHMORE 23 N [USC00393838], Highmore, SD
Influencing water features
The Shallow Marsh ecological site has a combination of physical and hydrological features that: 1) provide season-long ground water within at least one foot of the surface, 2) allows relatively free movement of water and air in the upper part of the soil, and 3) are occasionally or frequently flooded.
Wetland description
Cowardin, et. al., 1979
System: Palustrine
Subsystem: N/A
Class: Persistent Emergent Wetland
Subclass: Semi-permanently or Seasonally Flooded
Soil features
The common features of soils in this site are the clay loam to clay-textured subsoil and slopes of zero to one percent. The soils in this site are poorly to very poorly drained and formed in alluvium. The silt loam to silty clay loam surface layer is 6 to 13 inches thick. The soils have a very slow infiltration rate. This site should show no evidence of rills, wind scoured areas, or pedestalled plants. The soil surface is stable and intact. Subsurface soil layers are nonrestrictive to water movement and root penetration. The central concept soil series for this site is Worthing, but other series may be included as well.
These soils are not susceptible to water erosion. Ponded water conditions and very slow permeability strongly influences the soil-water-plant relationship.
Access Web Soil Survey (http://websoilsurvey.nrcs.usda.gov/app/) for specific local soils information.
Table 4. Representative soil features
Surface texture |
(1) Silty clay (2) Silty clay loam (3) Clay |
---|---|
Family particle size |
(1) Loamy |
Drainage class | Very poorly drained |
Permeability class | Very slow |
Soil depth | 80 in |
Surface fragment cover <=3" | Not specified |
Surface fragment cover >3" | Not specified |
Available water capacity (0-40in) |
7 in |
Calcium carbonate equivalent (0-40in) |
5% |
Electrical conductivity (0-40in) |
2 mmhos/cm |
Sodium adsorption ratio (0-40in) |
1 |
Soil reaction (1:1 water) (0-40in) |
5.6 – 7.8 |
Subsurface fragment volume <=3" (Depth not specified) |
2% |
Subsurface fragment volume >3" (Depth not specified) |
Not specified |
Ecological dynamics
State and Community Phases
The information in this Ecological Site Description, including the state-and-transition model (STM), was developed based on historical data, current field data, professional experience, and a review of the scientific literature. As a result, all possible scenarios or plant species may not be included. Key indicator plant species, disturbances, and ecological processes are described to inform land management decisions.
The site, located in the Southern Dark Brown Glaciated Plains Region of the MLRA, developed under Northern Great Plains climatic conditions and included historic natural influence of large herding herbivores and occasional fire. Changes will occur in the plant communities due to weather fluctuations and/or management actions. Under adverse impacts, a relatively rapid decline in vegetative vigor and composition can occur. Under favorable conditions the site has the potential to resemble the Reference State.
Interpretations for this site are based primarily on the 1.1 Whitetop-Slough Sedge Plant Community Phase. This community phase and the Reference State have been determined by study of rangeland relic areas, areas protected from excessive disturbance, and areas under long-term rotational grazing regimes. Trends in plant community dynamics ranging from heavily grazed to lightly grazed areas, seasonal use pastures, and historical accounts also have been considered.
This ecological site (ES) has been grazed by domestic livestock since they have been introduced into the area. The introduction of domestic livestock and the use of fencing and reliable water sources have changed the ecological dynamics of this site. Heavy continuous grazing without adequate recovery periods following each grazing occurrence causes this site to depart from the Reference State due to the compaction and overgrazing. Species such as fowl bluegrass (Poa palustris), spikerush (Eleocharis), and Baltic rush (Juncus balticus) will initially increase. Whitetop (also called Common rivergrass) and slough sedge will decrease in frequency and production. Continued heavy grazing eventually causes a dominance by spikerush, rushes (Juncus), and unpalatable forbs such as curly dock (Rumex crispus).
Following the state and transition diagram are narratives for each of the described states and community phases. These may not represent every possibility, but they are the most prevalent and repeatable states/community phases. The plant composition tables shown below have been developed from the best available knowledge at the time of this revision. As more data are collected, some of these community phases and/or states may be revised or removed, and new ones may be added. The main purpose for including the descriptions here is to capture the current knowledge and experience at the time of this revision.
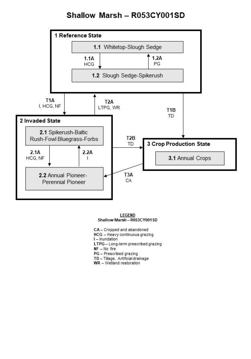
The following is a diagram that illustrates the common plant community phases that can occur on the site and the transition and community pathways between them. The ecological processes will be discussed in more detail in the plant community descriptions following the diagram.
State and transition model
More interactive model formats are also available.
View Interactive Models
Click on state and transition labels to scroll to the respective text
Ecosystem states
T1A | - | Inundation, Heavy continuous grazing, No fire |
---|---|---|
T1B | - | Tillage, Artificial drainage |
T2A | - | Long term prescribed grazing, Wetland restoration |
T2B | - | Tillage, Artificial drainage |
T3A | - | Cropped and abandoned |
State 1 submodel, plant communities
1.1A | - | Heavy continuous grazing |
---|---|---|
1.2A | - | Prescribed grazing |
State 2 submodel, plant communities
2.1A | - | Heavy continuous grazing, No fire |
---|---|---|
2.2A | - | Inundation |
State 3 submodel, plant communities
State 1
Reference State
The Shallow Marsh site typically occurs in a basin or closed depression, and receives water directly from precipitation, surface overland flow, and groundwater discharge. Soils are very poorly drained and formed in local alluvium. Permeability is very slow and the site will pond water until early summer in most years. The central concept soil series is Worthing, but other series are included. Ponded water conditions and very slow permeability strongly influences the soil-water-plant relationship. This state represents the natural range of variability that dominates the dynamics of this ES. This state is typically dominated by cool-season grass and grass-like species. Before European settlement, the primary disturbance mechanisms for this site in the reference condition included periodic fire, grazing by large herding ungulates, and fluctuations in the water table and ponding frequency and duration. Frequent surface fires (3 to 5 years) and grazing coupled with weather events dictated the dynamics that occurred within the natural range of variability. Today, the primary disturbance is from a lack of fire, concentrated livestock grazing, and weather fluctuations. Species that are desirable for livestock and wildlife can decline and a corresponding increase in less desirable species will occur.
Community 1.1
Whitetop/Slough Sedge
Interpretations are based primarily on the 1.1 Whitetop-Slough Sedge Plant Community Phase (this is also considered to be climax). This plant community evolved with grazing by large herbivores, frequent surface fires, and periodic flooding events and is suited for grazing by domestic livestock. This plant community can be found on areas that are grazed and where the grazed plants receive adequate periods of rest during the growing season in order to recover. The potential vegetation is about 50 percent grasses, 40 percent grass-likes, and 10 percent forbs. The major grasses and grass-likes include whitetop (also called Common rivergrass), slough sedge, woolly sedge (Carex pellita), American mannagrass (Glyceria grandis), prairie cordgrass (Spartina pectinata), Sartwell’s sedge (Carex sartwellii), Nebraska sedge (Carex nebrascensis), and spikerush. Key forbs include smartweeds (Polygonum), western dock (Rumex aquaticus), and white panicle aster (Symphyotrichum lanceolatum). This plant community phase is diverse, stable, and productive, and is well adapted to the Northern Great Plains. The high water table supplies much of the moisture for plant growth. Community dynamics, nutrient cycle, water cycle, and energy flow are functioning properly. Plant litter is properly distributed with very little movement off-site and natural plant mortality is very low. The variability of both the fluctuations of water table and reoccurring ponding allows for the diversity in plant species. This is a sustainable plant community in terms of soil stability, watershed function, and biologic integrity.
Figure 8. Annual production by plant type (representative values) or group (midpoint values)
Table 5. Annual production by plant type
Plant type | Low (lb/acre) |
Representative value (lb/acre) |
High (lb/acre) |
---|---|---|---|
Grass/Grasslike | 4740 | 5580 | 6090 |
Forb | 260 | 620 | 1010 |
Total | 5000 | 6200 | 7100 |
Figure 9. Plant community growth curve (percent production by month). SD5306, Southern Dark Brown Glaciated Plains, lowland cool-season dominant.. Cool-season dominant, lowland..
Jan | Feb | Mar | Apr | May | Jun | Jul | Aug | Sep | Oct | Nov | Dec |
---|---|---|---|---|---|---|---|---|---|---|---|
J | F | M | A | M | J | J | A | S | O | N | D |
0 | 0 | 6 | 15 | 20 | 26 | 17 | 9 | 4 | 3 | 0 | 0 |
Community 1.2
Slough Sedge-Spike Rush
This plant community will slowly develop from the adverse effects of continuous grazing, without adequate recovery periods between each grazing event during the growing season. When compared to the 1.1 Whitetop-Slough Sedge Plant Community Phase, whitetop, prairie cordgrass, American mannagrass, and reedgrasses (Calamagrostis) have decreased. The grass-like species, such as slough sedge, spikerush, woolly sedge, Sartwell’s sedge, Nebraska sedge, and rushes have increased and tend to dominate this plant community.
Figure 10. Annual production by plant type (representative values) or group (midpoint values)
Table 6. Annual production by plant type
Plant type | Low (lb/acre) |
Representative value (lb/acre) |
High (lb/acre) |
---|---|---|---|
Grass/Grasslike | 4265 | 4813 | 5540 |
Forb | 235 | 687 | 960 |
Total | 4500 | 5500 | 6500 |
Figure 11. Plant community growth curve (percent production by month). SD5306, Southern Dark Brown Glaciated Plains, lowland cool-season dominant.. Cool-season dominant, lowland..
Jan | Feb | Mar | Apr | May | Jun | Jul | Aug | Sep | Oct | Nov | Dec |
---|---|---|---|---|---|---|---|---|---|---|---|
J | F | M | A | M | J | J | A | S | O | N | D |
0 | 0 | 6 | 15 | 20 | 26 | 17 | 9 | 4 | 3 | 0 | 0 |
Pathway 1.1A
Community 1.1 to 1.2
Heavy continuous grazing which includes herbivory at moderate to heavy levels at the same time of year each year without adequate recovery periods, or during periods of below normal precipitation when grazing frequency and intensity increases on these sites due to limited forage availability on adjacent upland sites will shift this community to the 1.2 Slough Sedge-Spikerush Plant Community Phase.
Conservation practices
Prescribed Grazing |
---|
Pathway 1.2A
Community 1.2 to 1.1
Prescribed grazing (alternating season of use and providing adequate recovery periods) or periodic light to moderate grazing possibly including periodic rest will convert this plant community to the 1.1 Whitetop-Slough Sedge Plant Community Phase. This pathway could also occur with a return to more normal precipitation levels and frequencies.
State 2
Invaded State
This state is characterized by the increase in bare ground due to trampling caused by excessive use and/or by inundation for extended periods which causes a temporary shift in the plant composition and cover. This allows for the invasion of nonnative species, which, with continued heavy grazing, can increase to eventual dominance. Loss or reduction of native cool- and warm-season species can negatively impacted energy flow and nutrient cycling. Infiltration will be reduced and native plant mortality will increase. As the disturbance level increases, native plant density decreases even more, giving way to annual species and invasive perennial species, as well as, a further increase in bare ground.
Community 2.1
Spike Rush-Baltic Rush-Fowl Bluegrass-Forbs
This plant community developed with heavy continuous grazing without adequate recovery periods between grazing events and/or inundation during periods of extended above-average precipitation. Spikerush, Baltic rush, bulrush (Schoenoplectus), and other less desirable grass-likes, along with grasses such as fowl bluegrass, and American sloughgrass (Beckmannia syzigachne), dominate the community. Quackgrass (Elymus repens), creeping meadow foxtail (Alopecurus arundinaceus), Kentucky bluegrass (Poa pratensis), and other nonnative species can invade on drier portions of the community. Whitetop, slough sedge, other sedges, prairie cordgrass, and reedgrass will be virtually eliminated from the plant community. Smartweed (Polygonum), dock (Rumex), and cinquefoil (Potentilla) have increased. Areas of bare ground can be present throughout the site. A significant amount of production and diversity has been lost when compared to the 1.1 Whitetop-Slough Sedge Plant Community Phase. Loss or reduction of native grasses, grass-likes, and forbs has negatively impacted energy flow and nutrient cycling. It will take a long time to restore this plant community with improved management or return of more normal precipitation patterns.
Figure 12. Annual production by plant type (representative values) or group (midpoint values)
Table 7. Annual production by plant type
Plant type | Low (lb/acre) |
Representative value (lb/acre) |
High (lb/acre) |
---|---|---|---|
Grass/Grasslike | 1930 | 2560 | 3190 |
Forb | 270 | 640 | 1010 |
Total | 2200 | 3200 | 4200 |
Figure 13. Plant community growth curve (percent production by month). SD5306, Southern Dark Brown Glaciated Plains, lowland cool-season dominant.. Cool-season dominant, lowland..
Jan | Feb | Mar | Apr | May | Jun | Jul | Aug | Sep | Oct | Nov | Dec |
---|---|---|---|---|---|---|---|---|---|---|---|
J | F | M | A | M | J | J | A | S | O | N | D |
0 | 0 | 6 | 15 | 20 | 26 | 17 | 9 | 4 | 3 | 0 | 0 |
Community 2.2
Annual Pioneer-Perennial Pioneer
This plant community developed with heavy continuous grazing without adequate recovery periods between grazing events and no surface fire or abandonment after cropping. The dominant vegetation includes pioneer annual and/or perennial native and non-native grasses, grass-likes, forbs, and shrubs. Grasses may include foxtail barley (Hordeum jubatum), barnyard grass (Echinochloa crus-galli), quackgrass, fowl bluegrass, Kentucky bluegrass, Baltic rush, and sedges. The dominant forbs include knotweed (Polygonum), Canada thistle (Cirsium arvense), and other early successional species. This is due to the loss of diversity (including the loss of the seed bank), within the existing plant community, and the plant communities on adjacent sites. Significant economic inputs, management, and time would be required to move this plant community toward a higher successional stage. Secondary succession is highly variable, depending upon availability and diversity of a viable reproductive source of higher successional species.
Pathway 2.1A
Community 2.1 to 2.2
Heavy continuous grazing which includes herbivory at moderate to heavy levels at the same time of year each year without adequate recovery periods, or during periods of below normal precipitation when grazing frequency and intensity increases on these sites due to limited forage availability on adjacent upland sites and no surface fire for extended periods of time (typically for 10 years or more) causing litter levels to become high enough to reduce native grass vigor, diversity, and density will shift this community to the 2.2 Annual Pioneer-Perennial Pioneer Plant Community Phase.
Pathway 2.2A
Community 2.2 to 2.1
Inundation for extended periods beyond normal ponding and drying patterns will convert this plant community to the 2.1 Spikerush-Baltic Rush-Fowl Bluegrass-Forbs Plant Community Phase within the Invaded State (State 2).
State 3
Crop Production State
This state is characterized by the production of annual crops using a variety of tillage and cropping systems along with management practices. Cropping on this site is enabled during years with drier than normal precipitation or with artificial drainage (surface or subsurface).
Community 3.1
Annual Crops
This plant community developed with the use of a variety of tillage systems and cropping systems for the production of annual crops including corn, soybeans, wheat, and a variety of other crops.
Transition T1A
State 1 to 2
Heavy continuous grazing (stocking levels well above carrying capacity for extended portions of the growing season and often at the same time of year each year), no surface fire for extended periods of time (typically for 10 years or more) causing litter levels to become high enough to reduce native grass vigor, diversity, and density, and/or inundation for extended periods beyond normal ponding and drying patterns will eventually cause a shift over a threshold leading to the 2.1 Spikerush-Baltic Rush-Fowl Bluegrass-Forbs Plant Community Phase within the Invaded State (State 2). Grazing repeatedly in the early growing season can expedite this shift by causing mechanical disturbance due to trampling.
Transition T1B
State 1 to 3
Tillage, artificial drainage (surface and subsurface) will cause a shift over a threshold leading to the 3.1 Annual Crops Plant Community Phase within the Crop Production State (State 3).
Restoration pathway T2A
State 2 to 1
Long-term prescribed grazing (moderate stocking levels coupled with adequate recovery periods, or other grazing systems such as high-density, low-frequency intended to treat specific species dominance, or periodic light to moderate stocking levels possibly including periodic rest) may lead this plant community phase over a threshold to the Reference State (State 1). Wetland restoration techniques may be necessary to restore biotic integrity and plant diversity and productivity.
Conservation practices
Prescribed Grazing | |
---|---|
Wetland Restoration |
Transition T2B
State 2 to 3
Tillage, artificial drainage (surface and subsurface) will cause a shift over a threshold leading to the 3.1 Annual Crops Plant Community Phase within the Crop Production State (State 3).
Restoration pathway T3A
State 3 to 2
Cropping followed by abandonment may lead this plant community phase over a threshold to the Invaded State (State 2) and more specifically to the 2.2 Annual Pioneer-Perennial Pioneer Plant Community Phase.
Additional community tables
Table 8. Community 1.1 plant community composition
Group | Common name | Symbol | Scientific name | Annual production (lb/acre) | Foliar cover (%) | |
---|---|---|---|---|---|---|
Grass/Grasslike
|
||||||
1 | Tall Cool-Season Grasses | 1240–2480 | ||||
common rivergrass | SCFE | Scolochloa festucacea | 930–2170 | – | ||
American mannagrass | GLGR | Glyceria grandis | 310–620 | – | ||
2 | Grass-likes | 1240–2480 | ||||
wheat sedge | CAAT2 | Carex atherodes | 620–1860 | – | ||
Nebraska sedge | CANE2 | Carex nebrascensis | 62–620 | – | ||
woolly sedge | CAPE42 | Carex pellita | 124–620 | – | ||
Sartwell's sedge | CASA8 | Carex sartwellii | 124–620 | – | ||
Grass-like (not a true grass) | 2GL | Grass-like (not a true grass) | 0–620 | – | ||
spikerush | ELEOC | Eleocharis | 124–620 | – | ||
mountain rush | JUARL | Juncus arcticus ssp. littoralis | 62–496 | – | ||
green bulrush | SCAT2 | Scirpus atrovirens | 62–496 | – | ||
rush | JUNCU | Juncus | 0–310 | – | ||
flatsedge | CYPER | Cyperus | 0–310 | – | ||
3 | Tall Warm-Season Grasses | 124–620 | ||||
prairie cordgrass | SPPE | Spartina pectinata | 124–620 | – | ||
spiked muhly | MUGL3 | Muhlenbergia glomerata | 0–310 | – | ||
4 | Reedgrasses | 0–310 | ||||
bluejoint | CACA4 | Calamagrostis canadensis | 0–310 | – | ||
northern reedgrass | CASTI3 | Calamagrostis stricta ssp. inexpansa | 0–310 | – | ||
slimstem reedgrass | CASTS5 | Calamagrostis stricta ssp. stricta | 0–310 | – | ||
5 | Other Native Grasses | 310–620 | ||||
Graminoid (grass or grass-like) | 2GRAM | Graminoid (grass or grass-like) | 124–496 | – | ||
American sloughgrass | BESY | Beckmannia syzigachne | 124–496 | – | ||
Forb
|
||||||
6 | Forbs | 310–930 | ||||
Forb, native | 2FN | Forb, native | 62–248 | – | ||
bur-reed | SPARG | Sparganium | 62–248 | – | ||
pale dock | RUAL4 | Rumex altissimus | 0–124 | – | ||
western dock | RUAQ | Rumex aquaticus | 62–124 | – | ||
northern water plantain | ALTR7 | Alisma triviale | 62–124 | – | ||
Canadian anemone | ANCA8 | Anemone canadensis | 62–124 | – | ||
Indianhemp | APCA | Apocynum cannabinum | 0–124 | – | ||
Flodman's thistle | CIFL | Cirsium flodmanii | 62–124 | – | ||
Rydberg's sunflower | HENUR | Helianthus nuttallii ssp. rydbergii | 0–124 | – | ||
knotweed | POLYG4 | Polygonum | 62–124 | – | ||
Pennsylvania smartweed | POPE2 | Polygonum pensylvanicum | 62–124 | – | ||
broadleaf cattail | TYLA | Typha latifolia | 0–124 | – | ||
cinquefoil | POTEN | Potentilla | 0–62 | – | ||
Macoun's buttercup | RAMA2 | Ranunculus macounii | 0–62 | – | ||
smooth horsetail | EQLA | Equisetum laevigatum | 0–62 | – | ||
hemlock waterparsnip | SISU2 | Sium suave | 0–62 | – | ||
blue-eyed grass | SISYR | Sisyrinchium | 0–62 | – | ||
giant goldenrod | SOGI | Solidago gigantea | 0–62 | – | ||
white panicle aster | SYLA6 | Symphyotrichum lanceolatum | 0–62 | – | ||
New England aster | SYNO2 | Symphyotrichum novae-angliae | 0–62 | – | ||
marsh arrowgrass | TRPA28 | Triglochin palustris | 0–62 | – |
Table 9. Community 1.2 plant community composition
Group | Common name | Symbol | Scientific name | Annual production (lb/acre) | Foliar cover (%) | |
---|---|---|---|---|---|---|
Grass/Grasslike
|
||||||
1 | Tall Cool-Season Grasses | 0–440 | ||||
common rivergrass | SCFE | Scolochloa festucacea | 0–275 | – | ||
American mannagrass | GLGR | Glyceria grandis | 0–165 | – | ||
2 | Grass-likes | 2200–4125 | ||||
wheat sedge | CAAT2 | Carex atherodes | 825–2200 | – | ||
spikerush | ELEOC | Eleocharis | 550–1650 | – | ||
mountain rush | JUARL | Juncus arcticus ssp. littoralis | 275–825 | – | ||
woolly sedge | CAPE42 | Carex pellita | 275–825 | – | ||
Sartwell's sedge | CASA8 | Carex sartwellii | 0–550 | – | ||
flatsedge | CYPER | Cyperus | 0–550 | – | ||
Nebraska sedge | CANE2 | Carex nebrascensis | 0–550 | – | ||
rush | JUNCU | Juncus | 0–550 | – | ||
green bulrush | SCAT2 | Scirpus atrovirens | 0–550 | – | ||
Grass-like (not a true grass) | 2GL | Grass-like (not a true grass) | 0–440 | – | ||
3 | Tall Warm-Season Grasses | 0–275 | ||||
prairie cordgrass | SPPE | Spartina pectinata | 0–275 | – | ||
4 | Reedgrasses | 0–110 | ||||
slimstem reedgrass | CASTS5 | Calamagrostis stricta ssp. stricta | 0–110 | – | ||
northern reedgrass | CASTI3 | Calamagrostis stricta ssp. inexpansa | 0–110 | – | ||
5 | Other Native Grasses | 0–275 | ||||
Graminoid (grass or grass-like) | 2GRAM | Graminoid (grass or grass-like) | 0–275 | – | ||
American sloughgrass | BESY | Beckmannia syzigachne | 0–275 | – | ||
6 | Non-Native Grasses | 55–275 | ||||
barnyardgrass | ECCR | Echinochloa crus-galli | 55–275 | – | ||
Graminoid (grass or grass-like) | 2GRAM | Graminoid (grass or grass-like) | 0–165 | – | ||
Forb
|
||||||
7 | Forbs | 275–1100 | ||||
broadleaf cattail | TYLA | Typha latifolia | 55–220 | – | ||
Forb, introduced | 2FI | Forb, introduced | 0–220 | – | ||
Forb, native | 2FN | Forb, native | 55–220 | – | ||
Pennsylvania smartweed | POPE2 | Polygonum pensylvanicum | 55–220 | – | ||
giant goldenrod | SOGI | Solidago gigantea | 55–165 | – | ||
bur-reed | SPARG | Sparganium | 0–165 | – | ||
curly dock | RUCR | Rumex crispus | 55–165 | – | ||
knotweed | POLYG4 | Polygonum | 55–165 | – | ||
narrowleaf cattail | TYAN | Typha angustifolia | 55–165 | – | ||
hemlock waterparsnip | SISU2 | Sium suave | 0–110 | – | ||
white panicle aster | SYLA6 | Symphyotrichum lanceolatum | 0–110 | – | ||
New England aster | SYNO2 | Symphyotrichum novae-angliae | 0–110 | – | ||
pale dock | RUAL4 | Rumex altissimus | 0–110 | – | ||
Indianhemp | APCA | Apocynum cannabinum | 0–110 | – | ||
Flodman's thistle | CIFL | Cirsium flodmanii | 0–110 | – | ||
splitlip hempnettle | GABI3 | Galeopsis bifida | 0–110 | – | ||
Rydberg's sunflower | HENUR | Helianthus nuttallii ssp. rydbergii | 0–55 | – | ||
smooth horsetail | EQLA | Equisetum laevigatum | 0–55 | – | ||
northern water plantain | ALTR7 | Alisma triviale | 0–55 | – | ||
Canadian anemone | ANCA8 | Anemone canadensis | 0–55 | – | ||
western dock | RUAQ | Rumex aquaticus | 0–55 | – | ||
cinquefoil | POTEN | Potentilla | 0–55 | – | ||
marsh arrowgrass | TRPA28 | Triglochin palustris | 0–55 | – |
Table 10. Community 2.1 plant community composition
Group | Common name | Symbol | Scientific name | Annual production (lb/acre) | Foliar cover (%) | |
---|---|---|---|---|---|---|
Grass/Grasslike
|
||||||
1 | Grass-likes | 800–1760 | ||||
spikerush | ELEOC | Eleocharis | 320–960 | – | ||
mountain rush | JUARL | Juncus arcticus ssp. littoralis | 160–640 | – | ||
wheat sedge | CAAT2 | Carex atherodes | 160–480 | – | ||
rush | JUNCU | Juncus | 0–320 | – | ||
woolly sedge | CAPE42 | Carex pellita | 0–256 | – | ||
flatsedge | CYPER | Cyperus | 0–256 | – | ||
Grass-like (not a true grass) | 2GL | Grass-like (not a true grass) | 0–160 | – | ||
Sartwell's sedge | CASA8 | Carex sartwellii | 0–160 | – | ||
Nebraska sedge | CANE2 | Carex nebrascensis | 0–160 | – | ||
green bulrush | SCAT2 | Scirpus atrovirens | 0–96 | – | ||
2 | Other Native Grasses | 0–320 | ||||
Graminoid (grass or grass-like) | 2GRAM | Graminoid (grass or grass-like) | 0–320 | – | ||
American sloughgrass | BESY | Beckmannia syzigachne | 0–320 | – | ||
3 | Non-Native Grasses | 64–480 | ||||
creeping meadow foxtail | ALAR | Alopecurus arundinaceus | 0–320 | – | ||
barnyardgrass | ECCR | Echinochloa crus-galli | 32–256 | – | ||
Graminoid (grass or grass-like) | 2GRAM | Graminoid (grass or grass-like) | 0–256 | – | ||
quackgrass | ELRE4 | Elymus repens | 0–192 | – | ||
Forb
|
||||||
4 | Forbs | 320–960 | ||||
Forb, introduced | 2FI | Forb, introduced | 32–320 | – | ||
curly dock | RUCR | Rumex crispus | 64–320 | – | ||
Pennsylvania smartweed | POPE2 | Polygonum pensylvanicum | 32–256 | – | ||
narrowleaf cattail | TYAN | Typha angustifolia | 32–256 | – | ||
broadleaf cattail | TYLA | Typha latifolia | 32–256 | – | ||
giant goldenrod | SOGI | Solidago gigantea | 32–224 | – | ||
knotweed | POLYG4 | Polygonum | 32–192 | – | ||
Forb, native | 2FN | Forb, native | 32–192 | – | ||
splitlip hempnettle | GABI3 | Galeopsis bifida | 0–128 | – | ||
white panicle aster | SYLA6 | Symphyotrichum lanceolatum | 0–128 | – | ||
New England aster | SYNO2 | Symphyotrichum novae-angliae | 0–128 | – | ||
hemlock waterparsnip | SISU2 | Sium suave | 0–96 | – | ||
Indianhemp | APCA | Apocynum cannabinum | 0–96 | – | ||
smooth horsetail | EQLA | Equisetum laevigatum | 0–64 | – | ||
cinquefoil | POTEN | Potentilla | 0–64 | – | ||
bur-reed | SPARG | Sparganium | 0–64 | – | ||
marsh arrowgrass | TRPA28 | Triglochin palustris | 0–32 | – | ||
pale dock | RUAL4 | Rumex altissimus | 0–32 | – | ||
Flodman's thistle | CIFL | Cirsium flodmanii | 0–32 | – |
Interpretations
Animal community
Animal Community – Grazing Interpretations
The following table lists annual, suggested initial stocking rates with average growing conditions. These are conservative estimates that should be used only as guidelines in the initial stages of conservation planning. Often, the current plant composition does not entirely match any particular plant community (as described in this ES description). Because of this, a resource inventory is necessary to document plant composition and production. More accurate carrying capacity estimates should eventually be calculated using the following stocking rate information along with animal preference data and actual stocking records, particularly when grazers other than cattle are involved. With consultation of the land manager, more intensive grazing management may result in improved harvest efficiencies and increased carrying capacity.
Whitetop/Slough Sedge (1.1)
Average Annual Production (lbs./acre, air-dry): 6,200
Stocking Rate* (AUM/acre): 1.70
Slough Sedge/Spike rush (1.2)
Average Annual Production (lbs./acre, air-dry): 5,500
Stocking Rate* (AUM/acre): 1.51
Spikerush/Balticrush/Fowl Bluegrass/Forbs (2.1)
Average Annual Production (lbs./acre, air-dry): 3,200
Stocking Rate* (AUM/acre): 0.88
Annual/Pioneer, Non-Native Perennial (2.2)
Average Annual Production (lbs./acre, air-dry): 1,800
Stocking Rate* (AUM/acre): 0.50
*Based on 912 lbs./acre (air-dry weight) per Animal Unit Month (AUM), and on 25 percent harvest efficiency (refer to the United States Department of Agriculture (USDA) Natural Resources Conservation Service (NRCS) National Range and Pasture Handbook).
Grazing by domestic livestock is one of the major income-producing industries in the area. Rangeland in this area may provide yearlong forage. During the dormant period, the forage for livestock will likely be lacking protein to meet livestock requirements and added protein will allow ruminants to better utilize the energy stored in grazed plant materials. A forage quality test (either directly or through fecal sampling) should be used to determine the level of supplementation needed.
Hydrological functions
Water is the principal factor limiting forage production on this site. This site is dominated by soils in Hydrologic Group D. Infiltration is very slow and runoff potential for this site is negligible. In many cases, areas with greater than 75 percent ground cover have the greatest potential for higher infiltration. Areas where ground cover is less than 50 percent have the greatest potential to have reduced infiltration. Runoff is negligible on this site (refer to Section 4, NRCS National Engineering Handbook for runoff quantities and hydrologic curves).
Recreational uses
This site provides hunting, hiking, photography, bird watching, and other opportunities. The wide varieties of plants that bloom from spring until fall have an esthetic value that appeals to visitors.
Wood products
No appreciable wood products are typically present on this site.
Other products
Seed harvest of native plant species can provide additional income on this site.
Other information
Ecological Site Correlation Issues and Questions:
• Reference and alternative states within the state and transition model are may not be fully documented and may require additional field sampling for refinement.
Supporting information
Inventory data references
Information presented here has been derived from NRCS clipping data and other inventory data. Field observations from range-trained personnel were also used. Those involved in developing this site include: Stan Boltz, Range Management Specialist, NRCS; and Bruce Kunze, Soil Scientist, NRCS.
Data Source Sample Period State County
None
Other references
Cleland, D.T., J.A. Freeouf, J.E. Keys, G.J. Nowacki, C. Carpenter, and W.H. McNab. 2007. Ecological Subregions: Sections and Subsections of the Coterminous United States. USDA Forest Service, General Technical Report WO-76. Washington, DC. 92 pps.
Gilbert, M. C., Whited, P. M., Clairain Jr, E. J., & Smith, R. D. (2006). A Regional Guidebook for Applying the Hydrogeomorphic Approach to Assessing Wetland Functions of Prairie Potholes. Washington DC.
Samson, F. B., & Knopf, F. L. (1996). Prairie Conservation Preserving North America's Most Endagered Ecosystem. Washington D.C.: Island Press.
Soil Survey Staff, Natural Resources Conservation Service, United States Department of Agriculture. Official Soil Series Descriptions. Available online. Accessed March 2019.
United States Department of Agriculture – Natural Resource Conservation Service (USDA-NRCS). 2003.
National Range and Pasture Handbook, Revision 1. Grazing Lands Technology Institute. 214 pps.
United States Department of Agriculture – Natural Resource Conservation Service (USDA-NRCS). 2006. Land Resource Regions and Major Land Resource Areas of the United States, the Caribbean, and the Pacific Basin. U.S. Department of Agriculture Handbook 296. 672pps.
USDA, NRCS. National Soil Information System, Information Technology Center, 2150 Centre Avenue, Building A, Fort Collins, CO 80526. (http://soils.usda.gov/technical/nasis/)
USDA, NRCS. 2019. The PLANTS Database (http://plants.usda.gov, 13 March 2019). National Plant Data Team, Greensboro, NC 27401-4901 USA.
U.S. Environmental Protection Agency [EPA]. 2013. Level III and Level IV Ecoregions of the Continental United States. Corvallis, OR, U.S. EPA, National Health and Environmental Effects Research Laboratory, map scale 1:3,000,000. Available at http://www.epa.gov/eco-research/level-iii-and-iv-ecoregions- continental-united-states. (Accessed 13 March 2019).
Contributors
Stan Boltz
Approval
Suzanne Mayne-Kinney, 11/15/2024
Acknowledgments
Contact for Lead Authors: Natural Resources Conservation Service (USDA-NRCS), Redfield Soil Survey Office Redfield, SD; Lance Howe (Lance.Howe@usda.gov), Soil Survey Office Leader, USDA-NRCS, Redfield, SD; and Steve Winter (Steven.Winter@usda.gov), Soil Scientist, USDA-NRCS, Redfield, SD.
Additional Information Acknowledgment: Jason Hermann (Jason.Hermann@usda.gov), Area Rangeland Management Specialist, USDA-NRCS, Redfield, SD.
This Provisional Ecological Site concept has passed both Quality Control and Quality Assurance processes. Quality Assurance was approved by David Kraft, NRCS Regional Ecologist as of 11/12/2020.
Non-discrimination Statement
In accordance with Federal civil rights law and U.S. Department of Agriculture (USDA) civil rights regulations and policies, the USDA, its Agencies, offices, and employees, and institutions participating in or administering USDA programs are prohibited from discriminating based on race, color, national origin, religion, sex, gender identity (including gender expression), sexual orientation, disability, age, marital status, family/parental status, income derived from a public assistance program, political beliefs, or reprisal or retaliation for prior civil rights activity, in any program or activity conducted or funded by USDA (not all bases apply to all programs). Remedies and complaint filing deadlines vary by program or incident.
Persons with disabilities who require alternative means of communication for program information (e.g., Braille, large print, audiotape, American Sign Language, etc.) should contact the responsible Agency or USDA's TARGET Center at (202) 720-2600 (voice and TTY) or contact USDA through the Federal Relay Service at (800) 877-8339. Additionally, program information may be made available in languages other than English.
To file a program discrimination complaint, complete the USDA Program Discrimination Complaint Form, AD-3027, available online and at any USDA office, or write a letter addressed to USDA and provide in the letter all of the information requested in the form. To request a copy of the complaint form, call (866) 632- 9992. Submit your completed form or letter to USDA by: (1) mail: U.S. Department of Agriculture, Office of the Assistant Secretary for Civil Rights, 1400 Independence Avenue, SW, Washington, D.C. 20250-9410; (2) fax: (202) 690-7442; or (3) email: program.intake@usda.gov.
Rangeland health reference sheet
Interpreting Indicators of Rangeland Health is a qualitative assessment protocol used to determine ecosystem condition based on benchmark characteristics described in the Reference Sheet. A suite of 17 (or more) indicators are typically considered in an assessment. The ecological site(s) representative of an assessment location must be known prior to applying the protocol and must be verified based on soils and climate. Current plant community cannot be used to identify the ecological site.
Author(s)/participant(s) | Stan Boltz, Mitch Faulkner, Shane Deranleau |
---|---|
Contact for lead author | Stan Boltz, stanley.boltz@sd.usda.gov, 605-352-1236 |
Date | 03/15/2011 |
Approved by | Suzanne Mayne-Kinney |
Approval date | |
Composition (Indicators 10 and 12) based on | Annual Production |
Indicators
-
Number and extent of rills:
Rills should not be present. -
Presence of water flow patterns:
Barely observable or not present. -
Number and height of erosional pedestals or terracettes:
Essentially non-existent. -
Bare ground from Ecological Site Description or other studies (rock, litter, lichen, moss, plant canopy are not bare ground):
Bare ground less than 5 percent and pathces less than two inches in diameter. -
Number of gullies and erosion associated with gullies:
Active gullies should not be present. -
Extent of wind scoured, blowouts and/or depositional areas:
None present. -
Amount of litter movement (describe size and distance expected to travel):
Little to no plant litter movement. Plant litter remains in place and is not moved by erosional forces. -
Soil surface (top few mm) resistance to erosion (stability values are averages - most sites will show a range of values):
Soil aggregate stability normally a 6 rating. Typically high root content and organic matter in the soil surface. Soil surface is very resistant to erosion. -
Soil surface structure and SOM content (include type of structure and A-horizon color and thickness):
Structure is granular to friable fine, subangular blocky, and mollic (higher organic matter) colors of A-horizon down to about 10-15 inches. -
Effect of community phase composition (relative proportion of different functional groups) and spatial distribution on infiltration and runoff:
Healthy, deep-rooted native grass and grass-like species enhance infiltration and reduce runoff. -
Presence and thickness of compaction layer (usually none; describe soil profile features which may be mistaken for compaction on this site):
No compaction layer should be present. Clay Bt horizon with prismatic structure should not be confused with a compaction layer, and will typically occur at 10 inches or deeper. -
Functional/Structural Groups (list in order of descending dominance by above-ground annual-production or live foliar cover using symbols: >>, >, = to indicate much greater than, greater than, and equal to):
Dominant:
Grass-like species = tall, cool-season grasses >>Sub-dominant:
Forbs > tall, warm-season grasses >Other:
ReedgrassesAdditional:
Other native grasses occur in other functional groups. -
Amount of plant mortality and decadence (include which functional groups are expected to show mortality or decadence):
-
Average percent litter cover (%) and depth ( in):
Very little to no evidence of decadence or mortality. -
Expected annual annual-production (this is TOTAL above-ground annual-production, not just forage annual-production):
6,200 pounds/acre (air-dry basis) -
Potential invasive (including noxious) species (native and non-native). List species which BOTH characterize degraded states and have the potential to become a dominant or co-dominant species on the ecological site if their future establishment and growth is not actively controlled by management interventions. Species that become dominant for only one to several years (e.g., short-term response to drought or wildfire) are not invasive plants. Note that unlike other indicators, we are describing what is NOT expected in the reference state for the ecological site:
Refer to State and local Noxious Weed List; also reed canarygrass. -
Perennial plant reproductive capability:
Perennial grass and grass-like species have vigorous rhizomes and/or tillers.
Print Options
Sections
Font
Other
The Ecosystem Dynamics Interpretive Tool is an information system framework developed by the USDA-ARS Jornada Experimental Range, USDA Natural Resources Conservation Service, and New Mexico State University.
Click on box and path labels to scroll to the respective text.
Ecosystem states
T1A | - | Inundation, Heavy continuous grazing, No fire |
---|---|---|
T1B | - | Tillage, Artificial drainage |
T2A | - | Long term prescribed grazing, Wetland restoration |
T2B | - | Tillage, Artificial drainage |
T3A | - | Cropped and abandoned |
State 1 submodel, plant communities
1.1A | - | Heavy continuous grazing |
---|---|---|
1.2A | - | Prescribed grazing |
State 2 submodel, plant communities
2.1A | - | Heavy continuous grazing, No fire |
---|---|---|
2.2A | - | Inundation |