
Natural Resources
Conservation Service
Ecological site R013XY035ID
South Slope Loamy 12-16 PZ ARTRW8/PSSPS
Last updated: 2/13/2025
Accessed: 10/22/2025
General information
Provisional. A provisional ecological site description has undergone quality control and quality assurance review. It contains a working state and transition model and enough information to identify the ecological site.
MLRA notes
Major Land Resource Area (MLRA): 013X–Eastern Idaho Plateaus
013X-Eastern Idaho Plateaus
Precipitation or Climate Zone: 12-16” P.Z.
https://soils.usda.gov/survey/geography/mlra/index.html
Classification relationships
Artemisia wyomingensis/ Agropyron spicatum HT in “Hironaka, M., M.A. Fosberg, A. H. Winward. 1983. Sagebrush-Grass Habitat Types of Southern Idaho. University of Idaho, Moscow, Idaho. Bulletin Number “35”.
Land Resource Unit: B (Northwestern Wheat and Range)
MLRA: 13 (Eastern Idaho Plateaus)
EPA EcoRegion: Level III (Middle Rockies)
Ecological site concept
Site does not receive any additional water.
Soils are:
not saline or saline-sodic.
moderately deep, deep, with >35% gravels and cobbles and < 15% stone (10-25”) and boulder (>25”) cover. skeletal within 20” of soil surface.
not strongly or violently effervescent in surface mineral 10”.
textures usually range from very fine sandy loam to clay loam in surface mineral 4”.
Slope is < 30%.
Clay content is = <32% in surface mineral 4”.
Site does not have an argillic horizon with > 35% clay.
Associated sites
R013XY018ID |
Loamy 11-13 PZ ARTRW8/PSSPS |
---|---|
R013XY036ID |
Loamy 12-16 PZ ARTRW8/PSSPS |
Similar sites
R013XY035ID |
South Slope Loamy 12-16 PZ ARTRW8/PSSPS |
---|
Table 1. Dominant plant species
Tree |
Not specified |
---|---|
Shrub |
(1) Artemisia tridentata ssp. wyomingensis |
Herbaceous |
(1) Pseudoroegneria spicata |
Physiographic features
This site occurs on generally south to west facing foothills, mountain slopes, and ridges. Slopes generally exceed 12 percent but can range from 4 to 60 percent. Elevations range from 4500 to 7200 feet (1350 to 2200 meters).
Table 2. Representative physiographic features
Landforms |
(1)
Mountain
(2) Ridge (3) Hill |
---|---|
Flooding frequency | None |
Elevation | 4,500 – 7,200 ft |
Slope | 4 – 50% |
Water table depth | 60 in |
Aspect | S, W |
Climatic features
MLRA 13, the Eastern Idaho Plateaus, is part of the Northwestern Wheat and Range Region. Its elevation ranges from 4209 to 9331 feet above sea level, with an average elevation of 5787 feet. The average annual precipitation is 16.41 inches, with a range of 13.56 to 18.75 inches, based on ten long term climate stations located throughout the MLRA. A spike in precipitation amount often occurs in late spring, usually in May.
Temperatures vary widely in the MLRA throughout the year. A maximum temperature of 103° Fahrenheit occurred at the McCammon climate station (# 105716; elevation 4770 feet), while a minimum of -41° was recorded at the Kilgore station (#104908). At all stations temperatures throughout the year are usually below the national average. Kilgore also recorded the greatest annual snowfall amount of 217 inches. The average temperature is 41.4 degrees F. with an average high of 55.3 degrees and an average low of 27.5 degrees.
The frost-free period ranges from 64 to 90 days, while the freeze-free period can be 98 to 123 days.
Table 3. Representative climatic features
Frost-free period (average) | 90 days |
---|---|
Freeze-free period (average) | 123 days |
Precipitation total (average) | 19 in |
Figure 1. Monthly precipitation range
Figure 2. Monthly average minimum and maximum temperature
Influencing water features
This site is not influenced by adjacent wetlands, streams, or run on.
Soil features
The soils on this site are moderately deep to very deep well drained. The soils have silt loam, very gravelly silt loam and very gravelly loam surface textures. They are formed in loess or silty alluvium derived from loess and residuum derived from limestone and sandstone. Permeability is slow to moderate and the available water holding capacity (AWC) is very low to moderate. Surface runoff from bare soil is rapid or very rapid and the hazard of water erosion is very high with increased slope. These soils are characterized by a xeric soil moisture regime and either a frigid or cryic soil temperature regime.
Soil Series Correlated to this Ecological Site
Sprollow
Watercanyon
Woodcanyon
Table 4. Representative soil features
Surface texture |
(1) Very gravelly silt loam (2) Loam |
---|---|
Drainage class | Well drained |
Permeability class | Slow to moderate |
Soil depth | 20 – 60 in |
Surface fragment cover <=3" | 35% |
Surface fragment cover >3" | 10% |
Available water capacity (0-40in) |
1.9 – 8.2 in |
Calcium carbonate equivalent (0-40in) |
15% |
Electrical conductivity (0-40in) |
2 mmhos/cm |
Sodium adsorption ratio (0-40in) |
5 |
Soil reaction (1:1 water) (0-40in) |
6.6 – 9 |
Subsurface fragment volume <=3" (Depth not specified) |
50% |
Subsurface fragment volume >3" (Depth not specified) |
10% |
Ecological dynamics
The dominant visual aspect of the site is Wyoming big sagebrush and bluebunch wheatgrass. Arrowleaf balsamroot is often a showy spring-blooming forb on this site. Composition by weight is approximately 50-70 percent grasses, 10-20 percent forbs, and 20-30 percent shrubs.
During the last few thousand years, this site has evolved in a semi-arid climate characterized by dry summers and cold, wet winters. Herbivory has historically occurred on this site at low levels of utilization. Herbivores include mule deer, Rocky Mountain elk, lagomorphs, and small rodents.
Fire has historically occurred on the site at intervals of 60-80 years.
The Historic Climax Plant Community (HCPC), the Reference State (State 1), moves through many phases depending on the natural and man-made forces that impact the community over time. State 1, described later, indicates some of these phases. The Reference Plant Community Phase is Phase A. This plant community is dominated by bluebunch wheatgrass in the understory and Wyoming big sagebrush in the overstory. Subdominant species include Sandberg bluegrass, Thurber’s needlegrass, arrowleaf balsamroot, lupine, and tapertip hawksbeard. There is a large variety of other forbs and some other shrubs that can occur in minor amounts. The plant species composition of Phase A is listed later under “Reference Plant Community Phase Plant Species Composition”.
Total annual production is 500 pounds per acre (560 kilograms per hectare) in a normal year. Production in a favorable year is 800 pounds per acre (896 kilograms per hectare). Production in an unfavorable year is 300 pounds per acre (336 kilograms per hectare). Structurally, cool season deep rooted perennial bunchgrasses are very dominant, followed by tall shrubs being more dominant than perennial forbs while shallow rooted perennial bunchgrasses are subdominant.
FUNCTION:
This site is suited for grazing by domestic livestock in the spring and late fall. Natural water supplies may be insufficient or lacking and water may have to be hauled, piped, or otherwise made available. This site provides fair to good habitat for various species of upland wildlife. The southerly exposure is often snow-free much of the winter providing good winter habitat for mule deer, Rocky Mountain elk, sage grouse, badgers, coyotes, and other animals. This site offers minimal recreation value. Use by big game animals during winter and spring and summer-blooming forbs offer some aesthetic values.
Due to the elevation and steep topography on this site, it is susceptible to degradation from erosion. Infiltration is good where the community is in mid to late seral status. The site has high runoff potential. Runoff, when it does occur can be erosive on steeper slopes particularly during high intensity convection storms.
Impacts on the Plant Community.
Influence of fire:
In the absence of normal fire frequency, Wyoming big sagebrush and antelope bitterbrush can gradually increase on the site. Utah juniper can invade the site if a seed source is in the vicinity. Grasses and forbs decrease as shrubs increase. With the continued absence of fire, Wyoming big sagebrush or juniper can displace most of the primary understory species. See “Influence of Utah juniper invasion” below.
When fires become more frequent than historic levels (60-80 years), Wyoming big sagebrush and antelope bitterbrush are reduced significantly. Rabbitbrush and horsebrush can increase slightly. With continued short fire frequency, Wyoming big sagebrush and bitterbrush can be completely eliminated along with many of the desirable understory species such as bluebunch wheatgrass, Indian ricegrass, and Thurber’s needlegrass. These species may be replaced by Sandberg bluegrass along with a variety of annual and perennial forbs including noxious and invasive plants. Cheatgrass will invade the site. These fine fuels will increase the fire frequency.
Influence of improper grazing management:
Season-long grazing and/or excessive utilization can be very detrimental to this site. This type of management leads to reduced vigor of the bunchgrasses and antelope bitterbrush. Antelope bitterbrush usually is heavily hedged. With reduced vigor, recruitment of these species declines. As these species decline, the plant community becomes susceptible to juniper invasion, an increase in Wyoming big sagebrush, and noxious and invasive plants.
Continued improper grazing management influences fire frequency by increasing fine fuels. As cheatgrass increases and becomes co-dominant with Sandberg bluegrass and other annuals, fires become more frequent.
Proper grazing management that addresses frequency, duration, and intensity of grazing can also keep fine fuels from developing, thereby reducing fire frequency. This can lead to gradual increases in Wyoming big sagebrush and/or Utah juniper. A planned grazing system can be developed to intentionally accumulate fine fuels in preparation for a prescribed burn. Due to the shrub species on the site, any brush management efforts need to be very carefully evaluated. Antelope bitterbrush is very important as a browse species for wildlife and needs to be protected with any brush control practices applied. A reduction of shrubs in areas without a suitable understory of perennial grasses can lead to an increase in fine fuels which will lead to a more frequent fire regime. Loss of shrub species on this site can have very negative impacts on wildlife.
Weather influences:
Above normal precipitation in April, May, and June can dramatically increase total annual production of the plant community. These weather patterns can also increase viable seed production of desirable species to provide for recruitment. Likewise, below normal precipitation during these spring months can significantly reduce total annual production and be detrimental to viable seed production. Overall plant composition is normally not affected when perennials have good vigor.
Below normal temperatures in the spring can have an adverse impact on total production regardless of the precipitation. An early, hard freeze can occasionally kill some plants.
Prolonged drought adversely affects this plant community in several ways. Vigor, recruitment, and production are usually reduced. Mortality can occur. Prolonged drought can lead to a reduction in fire frequency.
Influence of insects and disease:
Outbreaks can affect vegetation health, particularly bitterbrush from western tent caterpillars (Malacosoma fragilis). Two consecutive years of defoliation by the tent caterpillar can cause mortality in bitterbrush. The sagebrush defoliator moth (Aroga websterii) causes mortality in relatively small patches. It seldom kills the entire stand. Mormon cricket and grasshopper outbreaks occur periodically. Outbreaks seldom cause plant mortality since defoliation of the plant occurs only once during the year of the outbreak.
Influence of noxious and invasive plants:
Many of these species add to the fine-fuel component and lead to increased fire frequency.
Annual and perennial invasive species compete with desirable plants for moisture and nutrients. The result is reduced production and change in composition of the understory.
Influence of wildlife:
Big game animals use this site in the spring, fall, and winter. Their numbers are seldom high enough to adversely affect the plant community.
Watershed:
Decreased infiltration and increased runoff occur with an increase in Wyoming big sagebrush. Desired understory species can be reduced. This composition change can affect nutrient and water cycles. Increased runoff also causes sheet and rill erosion. Abnormally short fire frequency also gives the same results, but to a lesser degree. The long -term effect is a transition to a different state.
Influence of juniper invasion:
The following discussion deals with both western juniper and Utah juniper.
In plant communities that are invaded by juniper, the species has a competitive advantage for the following reasons:
• Juniper is very drought tolerant.
• It has the ability to extract soil moisture from a wide range of soil depths.
• Juniper has high evapo-transpiration rates.
• The species intercepts rain and snow before it reaches the soil surface.
• It has the ability to grow as long as there is soil moisture and the temperature is above freezing.
• Juniper has a relatively rapid growth rate and is long-lived. It can readily over-top shade intolerant
species which leads to mortality.
• Nutrient cycling is reduced.
• As the canopy closes, juniper gains control of energy capture.
As juniper extracts water, other plants are unable to acquire sufficient water and nutrients to sustain growth and reproduction, thus reducing cover and biomass in the interspaces. After the canopy closes, there is sufficient soil moisture available for shallow-rooted shade tolerant species to persist directly under the tree.
The following hydrologic impacts occur on sites invaded by juniper:
• Infiltration in the interspaces is reduced. Run-off increases resulting in increased sheet and rill
erosion with elevated sediment loads.
• Soil temperatures increase in the interspaces which results in accelerated drying of the soil surface.
• Increased bare ground in the interspaces.
• Soil moisture storage is reduced.
As bare ground and interconnectiveness of bare ground increases, flow rates are accelerated (reduction of flow sinuosity) and run-off out of the area increases.
Degradation of these systems can result in the formation of a feedback cycle in which greater juniper cover and density results in greater plant and soil disturbance between the canopies.
In summary, a closed juniper community takes control of the following ecological processes: (1) hydrology, (2) energy capture, and (3) nutrient cycling. The changes are primarily driven by the hydrologic processes. The development of a closed juniper canopy always results in a transition across the threshold to a different state. Generally, when juniper canopy cover nears 20%, the plant community is approaching the threshold.
Plant Community and Sequence:
Transition pathways between common vegetation states and phases:
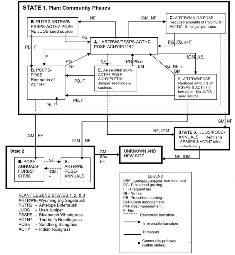
State 1.
Phase A to B. Develops in the absence of fire. No juniper seed source in the proximity.
Phase A to C. Usually results from improper grazing management and absence of fire. A juniper seed source is present.
Phase A to D. Results from one or more fires.
Phase A to E. Develops in the absence of fire. A juniper seed source is present.
Phase A to F. Results from improper grazing management and absence of fire. No juniper
seed source is present.
Phase B to A. Results from prescribed grazing management.
Phase C to A. Develops with prescribed grazing management and prescribed burning or fire.
Phase D to A. Usually results from prescribed grazing management and no fire.
Phase E to A. Develops from prescribed grazing management and prescribed burning or
brush management.
Phase F to A. Results from prescribed grazing management, no fire or brush management.
Phase B to D. This develops from prescribed burning or fire.
Phase C to D. This develops from prescribed burning or fire.
Phase E to D. Results from prescribed burning or fire.
Phase F to D. Results from prescribed burning or fire.
State 1 Phase D to State 2, Phase B. Develops through improper grazing management and lack of fire. This site has crossed the threshold. It is usually uneconomical to return this community to State 1 through accelerated practices.
State 1 Phase F to State 2 Phase A. Develops through improper grazing management with no fire. This site has crossed the threshold. It is usually uneconomical to return this community to State 1 through accelerated practices.
State 1 Phase C or E to State 3. Results from improper grazing management and lack of fire. This site has crossed the threshold. It is usually uneconomical to return this community to State 1 through accelerated practices.
State 2 Phase A to State 2 Phase B. Results from improper grazing management and fire. Both phases of State 2 have crossed the threshold. It is usually uneconomical to return this community to State 1 through accelerated practices.
State 2 Phase B to State 2 Phase A. Results from no fire. Both phases of State 2 have crossed the threshold. It is usually uneconomical to return this community to State 1 through accelerated practices.
State 2 to unknown site. Excessive soil loss and changes in the hydrologic cycle caused by improper
grazing management and/or frequent fire cause this state to cross the threshold and retrogress to a new site with reduced potential. It is usually uneconomical to return this community to State 1 through accelerated practices.
State 3 to unknown site. Continued lack of fire and improper grazing management cause this state to cross the threshold and retrogress to a new site with reduced potential due to significant soil loss and changes in hydrology. It is usually uneconomical to return this community to State 1 through accelerated practices.
Practice Limitations.
Severe limitations occur for seeding by mechanical methods due to steep slopes. Steepness of slopes limits movement of livestock. Severe limitations exist for brush management by surface methods due to slope. Careful planning is necessary for any application of brush management due to the slopes and the presence of bitterbrush. Removal of Wyoming big sagebrush and/or Utah juniper can result in a significant invasion of cheatgrass and accelerated soil erosion.
State and transition model

More interactive model formats are also available.
View Interactive Models
More interactive model formats are also available.
View Interactive Models
Click on state and transition labels to scroll to the respective text
Ecosystem states
State 1 submodel, plant communities
Communities 1, 5 and 6 (additional pathways)
State 2 submodel, plant communities
State 1
State 1
Community 1.1
State 1 Phase A
Reference Plant Community Phase. This plant community has Wyoming big sagebrush in the overstory with bluebunch wheatgrass in the understory. Antelope bitterbrush can occur in the plant community. Thurber’s needlegrass is the sub-dominant grass. Other significant species include Sandberg bluegrass, Indian ricegrass, bottlebrush squirreltail, tapertip hawksbeard, and arrowleaf balsamroot. There can be a variety of other grasses, forbs and shrubs in minor amounts. Natural fire frequency is 60-80 years.
Table 5. Ground cover
Tree foliar cover | 0% |
---|---|
Shrub/vine/liana foliar cover | 0% |
Grass/grasslike foliar cover | 0% |
Forb foliar cover | 0% |
Non-vascular plants | 0% |
Biological crusts | 0% |
Litter | 30-40% |
Surface fragments >0.25" and <=3" | 0% |
Surface fragments >3" | 0% |
Bedrock | 0% |
Water | 0% |
Bare ground | 0% |
Figure 3. Plant community growth curve (percent production by month). ID0805, B13 ARTRV . State 1.
Jan | Feb | Mar | Apr | May | Jun | Jul | Aug | Sep | Oct | Nov | Dec |
---|---|---|---|---|---|---|---|---|---|---|---|
J | F | M | A | M | J | J | A | S | O | N | D |
0 | 0 | 0 | 25 | 35 | 30 | 5 | 0 | 0 | 5 | 0 | 0 |
Community 1.2
State 1, Phase B
This plant community is dominated in the overstory by bitterbrush and Wyoming big sagebrush. Bluebunch wheatgrass is the dominant species in the understory. Other perennial grasses and forbs include Thurber’s needlegrass, Sandberg bluegrass, bottlebrush squirreltail, arrowleaf balsamroot, and lupine. No juniper seed source is present. This state has developed due to fire frequency being much longer than normal.
Community 1.3
State 1, Phase C
This plant community is dominated by Wyoming big sagebrush in the overstory with small juniper trees or saplings. Sandberg bluegrass is the dominant grass in the understory. Bluebunch wheatgrass and Thurber’s needlegrass are present but in reduced amounts and typically in low vigor. Antelope bitterbrush is decadent and hedged. This state has developed due to improper grazing management and lack of fire. A juniper seed source is in the proximity.
Community 1.4
State 1, Phase D
This plant community is dominated by bluebunch wheatgrass. Sandberg bluegrass and other perennial grasses and forbs are subdominant. Remnants of Thurber’s needlegrass may be present. No shrubs are present due to fire.
Community 1.5
State 1, Phase E
This plant community is similar to the Reference Plant Community, Phase A, except that juniper seedlings and saplings are invading the site due to a lack of fire. A juniper seed source is in the proximity. This state has developed due to the absence of fire.
Community 1.6
State 1, Phase F
This plant community is dominated by Wyoming big sagebrush in the overstory. Sandberg bluegrass is the dominant grass in the understory. Bluebunch wheatgrass and Thurber’s needlegrass are present but in reduced amounts and typically in low vigor. This state has developed due to improper grazing management and a lack of fire. No juniper seed source is in the proximity.
Pathway 1.1A
Community 1.1 to 1.2
Develops in the absence of fire. No juniper seed source in the proximity.
Pathway 1.1B
Community 1.1 to 1.3
Usually results from improper grazing management and absence of fire. A juniper seed source is present.
Pathway 1.1C
Community 1.1 to 1.4
Results from one or more fires.
Pathway 1.1D
Community 1.1 to 1.5
Develops in the absence of fire. A juniper seed source is present.
Pathway 1.1E
Community 1.1 to 1.6
Results from improper grazing management and absence of fire. No juniper seed source is present.
Pathway 1.2A
Community 1.2 to 1.1
Results from prescribed grazing management.
Pathway 1.2B
Community 1.2 to 1.4
This develops from prescribed burning or fire.
Pathway 1.3A
Community 1.3 to 1.1
Develops with prescribed grazing management and prescribed burning or fire.
Pathway 1.3B
Community 1.3 to 1.4
This develops from prescribed burning or fire.
Pathway 1.4A
Community 1.4 to 1.1
Usually results from prescribed grazing management and no fire.
Pathway 1.5A
Community 1.5 to 1.1
Develops from prescribed grazing management and prescribed burning or brush management.
Pathway 1.5B
Community 1.5 to 1.4
Results from prescribed burning or fire.
Pathway 1.6A
Community 1.6 to 1.1
Results from prescribed grazing management, no fire or brush management.
Pathway 1.6B
Community 1.6 to 1.4
Results from prescribed burning or fire.
State 2
State 2
Community 2.1
State 2, Phase A
This plant community is dominated by Wyoming big sagebrush with Sandberg bluegrass and annuals in the interspaces. This state has developed due to improper grazing management and the absence of fire from phase F, State 1 or with no fire from phase B, State 2. This site has crossed the threshold. It is usually uneconomical to return this community to State1 through accelerated practices.
Community 2.2
State 2 Phase B
This plant community is dominated by Sandberg bluegrass and other annuals and forbs. Root sprouting shrubs such as rabbitbrush, horsebrush, and snowberry are present. This state has developed due to improper grazing management and frequent fire from phase D, State 1 or with improper grazing management and fire from phase A, State 2. This site has crossed the threshold. It is usually uneconomical to return this community to State 1 through accelerated practices.
Table 6. Ground cover
Tree foliar cover | 0% |
---|---|
Shrub/vine/liana foliar cover | 0% |
Grass/grasslike foliar cover | 0% |
Forb foliar cover | 0% |
Non-vascular plants | 0% |
Biological crusts | 0% |
Litter | 30-40% |
Surface fragments >0.25" and <=3" | 0% |
Surface fragments >3" | 0% |
Bedrock | 0% |
Water | 0% |
Bare ground | 0% |
Figure 4. Plant community growth curve (percent production by month). ID0805, B13 ARTRV . State 1.
Jan | Feb | Mar | Apr | May | Jun | Jul | Aug | Sep | Oct | Nov | Dec |
---|---|---|---|---|---|---|---|---|---|---|---|
J | F | M | A | M | J | J | A | S | O | N | D |
0 | 0 | 0 | 25 | 35 | 30 | 5 | 0 | 0 | 5 | 0 | 0 |
Pathway 2.1A
Community 2.1 to 2.2
Results from improper grazing management and fire. Both phases of State 2 have crossed the threshold. It is usually uneconomical to return this community to State 1 through accelerated practices.
Pathway 2.2A
Community 2.2 to 2.1
Results from no fire. Both phases of State 2 have crossed the threshold. It is usually uneconomical to return this community to State 1 through accelerated practices.
State 3
State 3
This plant community is dominated by juniper. Remnants of Bluebunch wheatgrass and Thurber’s needlegrass can be found in the understory, often under trees. Shallow-rooted grasses, such as Sandberg bluegrass, and other annuals can be found in the interspaces. Few shrubs are present. This state has developed with improper grazing management and in the absence of fire. When shrub cover is below 12-13%, bare ground is above 27-28%, juniper cover is greater than 20%, and infiltration less than 6 cm/hr, the site has crossed the threshold. It is usually uneconomical to return this community to State 1 through accelerated practices.
State 4
State 4
This plant community has gone over the threshold to a new site. Site potential has been reduced. Significant soil loss has occurred. Infiltration has been reduced and run-off has become more rapid. This state has developed due to continued improper grazing management and/or frequent fires from State 2 or the continued absence of fire and improper grazing management from the juniper dominated phase of State 3. This site will not return to State 1 or 2 because of significant soil loss.
Transition T1A
State 1 to 2
State 1 Phase D to State 2, Phase B. Develops through improper grazing management and lack of fire. This site has crossed the threshold. It is usually uneconomical to return this community to State 1 through accelerated practices. State 1 Phase F to State 2 Phase A. Develops through improper grazing management with no fire. This site has crossed the threshold. It is usually uneconomical to return this community to State 1 through accelerated practices.
Transition T1B
State 1 to 3
State 1 Phase C or E to State 3. Results from improper grazing management and lack of fire. This site has crossed the threshold. It is usually uneconomical to return this community to State 1 through accelerated practices.
Transition T2A
State 2 to 4
Excessive soil loss and changes in the hydrologic cycle caused by improper grazing management and/or frequent fire cause this state to cross the threshold and retrogress to a new site with reduced potential. It is usually uneconomical to return this community to State 1 through accelerated practices.
Transition T3A
State 3 to 4
Continued lack of fire and improper grazing management cause this state to cross the threshold and retrogress to a new site with reduced potential due to significant soil loss and changes in hydrology. It is usually uneconomical to return this community to State 1 through accelerated practices.
Additional community tables
Interpretations
Animal community
Wildlife Interpretations.
This site provides fair to good habitat for various upland wildlife. The southerly exposures are often snow-free much of the winter providing good winter habitat for mule deer, Rocky Mountain elk, sage grouse, badgers, coyotes, and other animals.
Grazing Interpretations.
This site is suited for grazing by domestic livestock in the spring and late fall. Natural water supplies may be insufficient or lacking and water may have to be hauled, piped, or otherwise made available.
Estimated initial stocking rate will be determined with the landowner or decision-maker. They will be based on the inventory which includes species, composition, similarity index, production, past use history, season of use, and seasonal preference. Calculations used to determine estimated initial stocking rate will be based on forage preference ratings.
Hydrological functions
Soils on this site are in hydrologic group B. They have moderately slow runoff potential. Runoff, when it does occur can be erosive on steeper slopes particularly during high intensity convection storms.
Due to the elevation and steep topography on this site, it is susceptible to degradation from erosion. Infiltration is good where the community is in mid to late seral status.
Recreational uses
This site offers minimal recreation value. Use by big game during winter and spring and summer-blooming forbs offer some aesthetic value.
Wood products
none.
Other products
none.
Other information
Field Offices
American Falls, ID
Blackfoot, ID
Driggs, ID
Fort Hall, ID
Idaho Falls, ID
Malad, ID
Pocatello, ID
Rexburg, ID
Soda Springs, ID
St. Anthony, ID
Revision Notes: “Previously Approved” Provisional
This Provisional ecological site concept has passed Quality
Control (QC) and Quality Assurance (QA) to ensure that the site
meets the 2014 NESH standards for a Provisional ecological site
description. This is an updated “Previously Approved” ESD that
represents a first-generation tier of documentation that, prior to the
release of the 2014 National Ecological Site Handbook (NESH),
met all requirements as an “Approved” ESD as laid out in the 1997
(rev.1, 2003) National Range and Pasture Handbook (NRPH). The
document fully described the Reference State and Community
Phase in the State-and-Transition model. All other alternative
states are at least described in narrative form. The “Previously
Approved” ESD has been field-tested for a minimum of five years
and is a proven functional document for conservation planning.
The “Previously Approved” ESD does not contain all tabular and
narrative entries as required in the current “Approved” level of
documentation, but it is expected that the “Previously Approved”
ESD will continue refinement toward an “Approved” status.
Site Development and Testing Plan:
Future work, as described in a Project Plan, is necessary to
validate the information in this Provisional Ecological Site
Description. This will include field activities to collect low-,
medium-, and high-intensity sampling, soil correlations, and
analysis of that data. Annual field reviews should be done by soil
scientists and vegetation specialists. The final field review, peer
review, quality control, and quality assurance reviews of the ESD
will be required to produce the final document.
Supporting information
Inventory data references
Information presented here has been derived from NRCS clipping and other inventory data. Also, field knowledge of range-trained personnel was used. Those involved in developing this site description include:
Dave Franzen, co-owner, Intermountain Rangeland Consultants, LLC
Jacy Gibbs, co-owner, Intermountain Rangeland Consultants, LLC
Jim Cornwell, Range Management Specialist, IASCD
Brendan Brazee, State Rangeland Management Specialist, NRCS, Idaho
Lee Brooks, Range Management Specialist, IASCD
Kristen May, Resource Soil Scientist, NRCS, Idaho
Type locality
Location 1: Bannock County, ID | |
---|---|
Township/Range/Section | T11S R38E S28 |
Location 2: Bannock County, ID | |
Township/Range/Section | T11S R38E S29 |
Other references
Hironaka, M., M.A. Fosberg, A. H. Winward. 1983. Sagebrush-Grass Habitat Types of Southern Idaho. University of Idaho, Moscow, Idaho. Bulletin Number “35”.
USDA Forest Service, Rocky Mountain Research Station. 2004. Restoring Western Ranges and Wildlands. General Technical Report RMRS-GTR-136-vols. 1-3.
USDA, NRCS.2001. The PLANTS Database, Version 3.1 (http://plants.usda.gov.). National Plant Data Center, Baton Rouge, LA 70874-4490 USA
USDA, Forest Service, Fire Effects Information Database. 2004. www.fs.fed.us/database.
USDI Bureau of Land Management, US Geological Survey; USDA Natural Resources Conservation Service, Agricultural Research Service; Interpreting Indicators of Rangeland Health. Technical Reference 1734-6; Version 4-2005.
Approval
Kirt Walstad, 2/13/2025
Rangeland health reference sheet
Interpreting Indicators of Rangeland Health is a qualitative assessment protocol used to determine ecosystem condition based on benchmark characteristics described in the Reference Sheet. A suite of 17 (or more) indicators are typically considered in an assessment. The ecological site(s) representative of an assessment location must be known prior to applying the protocol and must be verified based on soils and climate. Current plant community cannot be used to identify the ecological site.
Author(s)/participant(s) | Dave Franzen and Jacy Gibbs Intermountain Range Consultants 17700 Fargo Rd. Wilder, ID 83676 |
---|---|
Contact for lead author | Brendan Brazee, State Rangeland Management Specialist USDA-NRCS 9173 W. Barnes Drive, Suite C, Boise, ID 83709 |
Date | 05/15/2008 |
Approved by | Kirt Walstad |
Approval date | |
Composition (Indicators 10 and 12) based on | Annual Production |
Indicators
-
Number and extent of rills:
rills can occur on this site. If rills are present they are likely to occur on slopes greater than 30 percent and immediately following wildfire. Rills are most likely to occur on soils with surface textures of silt loam and clay loam. -
Presence of water flow patterns:
water-flow patterns occur on this site. When they occur, they are short and disrupted by cool season grasses and tall shrubs and are not extensive. -
Number and height of erosional pedestals or terracettes:
both occur on this site but are not extensive. In areas where flow patterns and/or rills are present, a few pedestals may be expected. Terracettes also occur on the site uphill from tall shrub bases and large bunchgrasses. -
Bare ground from Ecological Site Description or other studies (rock, litter, lichen, moss, plant canopy are not bare ground):
data is not available. On sites in mid-seral status bare ground may range from 25-45 percent. -
Number of gullies and erosion associated with gullies:
gullies do not occur on this site. -
Extent of wind scoured, blowouts and/or depositional areas:
usually not present. Immediately following wildfire some soil movement may occur on lighter textured soils. -
Amount of litter movement (describe size and distance expected to travel):
fine litter in the interspaces may move up to 3 feet following a significant run-off event. Coarse litter generally does not move. -
Soil surface (top few mm) resistance to erosion (stability values are averages - most sites will show a range of values):
values should range from 4 to 6 but needs to be tested. -
Soil surface structure and SOM content (include type of structure and A-horizon color and thickness):
structure ranges from weak very fine and fine granular to moderate very fine, fine and medium granular. Soil organic matter (SOM) ranges from 1 to 3 percent. Surface color is generally very dark grayish brown to brown. The A or A1 horizon is typically 2 to 5 inches thick.
-
Effect of community phase composition (relative proportion of different functional groups) and spatial distribution on infiltration and runoff:
bunchgrasses, especially deep-rooted perennials, slow run-off and increase infiltration. Tall shrubs catch blowing snow in the interspaces. -
Presence and thickness of compaction layer (usually none; describe soil profile features which may be mistaken for compaction on this site):
not present. -
Functional/Structural Groups (list in order of descending dominance by above-ground annual-production or live foliar cover using symbols: >>, >, = to indicate much greater than, greater than, and equal to):
Dominant:
cool season deep rooted perennial bunchgrassesSub-dominant:
tall shrubsOther:
perennial forbsAdditional:
shallow rooted perennial bunchgrasses -
Amount of plant mortality and decadence (include which functional groups are expected to show mortality or decadence):
Wyoming big sagebrush and antelope bitterbrush will become decadent in the absence of normal fire frequency and ungulate grazing. Grass and forb mortality will occur as tall shrubs increase. -
Average percent litter cover (%) and depth ( in):
additional litter cover data is needed but is expected to be 15-20 percent to a depth of 0.1 inches. Under mature shrubs litter is >0.5 inches deep and is 90-100 percent ground cover.
-
Expected annual annual-production (this is TOTAL above-ground annual-production, not just forage annual-production):
is 500 pounds per acre (560 kilograms per hectare) in a year with normal temperatures and precipitation. Perennial grasses produce 50-70 percent of the total production, forbs 10-20 percent and shrubs 20-30 percent. -
Potential invasive (including noxious) species (native and non-native). List species which BOTH characterize degraded states and have the potential to become a dominant or co-dominant species on the ecological site if their future establishment and growth is not actively controlled by management interventions. Species that become dominant for only one to several years (e.g., short-term response to drought or wildfire) are not invasive plants. Note that unlike other indicators, we are describing what is NOT expected in the reference state for the ecological site:
includes cheatgrass, leafy spurge, Russian thistle, halogeton, and kochia. -
Perennial plant reproductive capability:
all functional groups have the potential to reproduce in most years.
Print Options
Sections
Font
Other
The Ecosystem Dynamics Interpretive Tool is an information system framework developed by the USDA-ARS Jornada Experimental Range, USDA Natural Resources Conservation Service, and New Mexico State University.
Click on box and path labels to scroll to the respective text.