

Natural Resources
Conservation Service
Ecological site R058CY081ND
Thin Claypan
Last updated: 4/21/2025
Accessed: 10/23/2025
General information
Provisional. A provisional ecological site description has undergone quality control and quality assurance review. It contains a working state and transition model and enough information to identify the ecological site.
MLRA notes
Major Land Resource Area (MLRA): 058C–Northern Rolling High Plains, Northeastern Part
MLRA 58C covers 2,320 square miles and encompasses approximately 1.8 million acres. MLRA 58C spans two states, with 96 percent located in North Dakota and the remaining 4 percent is in Montana. The MLRA 58C landscape is characterized by steeply sloping dissected badlands along the Little Missouri River and its tributaries. Primary land uses are of rangeland for grazing and wildlife habitat. Microclimates inherent in badlands landscapes influence both variety and abundance of vegetation in MLRA 58C. South- and west- facing exposures are dry, hot, and sparsely vegetated. More humid and cooler north- and east-facing exposures are favorable for abundant forage and woody vegetation.
MLRA 58C is known as the Little Missouri Badlands, which formed when the Little Missouri River was diverted along a shorter, steeper course by Pleistocene glaciers. Due to the resulting increased gradient after its eastward diversion by the glaciers, the Little Missouri River began rapidly downcutting into the soft, calcareous sedimentary shale, siltstone, and sandstone of the Fort Union and Hell Creek geological formations. This rapid downcutting eroded and carved the badlands of the MLRA. This cycle of erosion and deposition continues today.
Most of the soils in MLRA 58C developed from residuum weathered in place. As a result of constant erosion and deposition, the majority of soils in MLRA 58C are Entisols and Inceptisols. Mollisols formed on the high, stable drainageway divides and plateaus above the steeper, dissected hillslopes and fans that define the Little Missouri Badlands. Elevation ranges from 1,835 feet (560 meters) to 3,400 feet (1,036 meters). The Little Missouri River flows through the entire length of MLRA 58C and empties into Lake Sakakawea that was formed by the Garrison Dam on the Missouri River.
Classification relationships
Level IV Ecoregions of Conterminous United States: 43b-Little Missouri Badlands.
Ecological site concept
The Thin Claypan ecological site occurs on hillslopes, ridges, alluvial fans and flats, and terraces on level to moderately steep landforms associated with badlands. Soils are moderately deep to very deep with soft, sedimentary bedrock parent material deeper than 20 inches. Surface textures range from fine sandy loam to clay. Most soils in the site have a dense, root-restricting subsoil (claypan). The claypan is within a depth of 6 inches and has columnar structure. Visible salts and gypsum crystals are within a depth of 16 inches. However, included in this site are highly sodic soils without a claypan. The slopes range from 0 to 25 percent. This site is well drained or moderately well drained. Thin Claypan and Claypan ecological sites typically occur in complex with one another. Claypan sites are on micro-highs and Thin Claypan sites are in the micro-lows, resulting in the pock-marked appearance of the ground surface that is characteristic of sodium-affected landscapes in MLRA 58C. Clayey ecological sites occur on similar or higher landscape positions. Loamy, Limy Residual, and Shallow Loamy sites occur on higher landscape positions. Some areas of Thin Claypan are nearly barren of vegetation.
To see a full copy of the ecological site description with all tables and the full version 5 rangeland health worksheet, please use the following hyperlink:
https://efotg.sc.egov.usda.gov/references/public/ND/58C_Thin_Claypan_Narrative_FINAL_Ref_FSG.pdf
Associated sites
R058CY080ND |
Loamy This site is on upland hillslope landforms. Soils on Loamy ecological sites are very deep to moderately deep; they do not have layer within a depth of 20 inches that affects root growth. They are non-calcareous to a depth >8 inches. The soil forms a ribbon 1 to 2 inches long. |
---|---|
R058CY070ND |
Badland Fan This site is on alluvial fans at the base of badland escarpments. The soils are medium-textured and well drained; they developed in stratified layers of slope alluvium without high sodium content. |
R058CY072ND |
Clayey This site is on similar or higher landscape positions than Thin Claypan ecological sites and are often adjacent to them. The soils in the Clayey site form a ribbon >2 inches long, but do not have a root-restrictive claypan within a depth of 20 inches. Clayey sites are more productive than Thin Claypan sites. |
R058CY073ND |
Claypan This site occurs on similar landscape positions to Thin Claypan sites and are often in complex with them. Claypan ecological sites are on micro-highs. Depth to the root-restrictive claypan layer is 6 to 20 inches; accumulated salts, where present, are deeper than 16 inches. Claypan sites have more total production than Thin Claypan sites. |
R058CY079ND |
Limy Residual This site occurs on hillslopes and on alluvial fans. Soils on Limy Residual ecological sites do not have layer within a depth of 20 inches that affects rooting and are calcareous within a depth 8 inches (typically at the surface). The soil forms a ribbon 1 to 2 inches long. This site has more production than the Thin Claypan site. |
R058CY086ND |
Shallow Loamy This site is up-slope from the Thin Claypan ecological site on ridges. The soils are well drained. Depth to soft, weathered is 10 to 20 inches. The sedimentary bedrock affects root growth. The soil above the bedrock forms a ribbon >1 inch long. |
R058CY083ND |
Very Shallow This site is on summits in areas with porcelanite (scoria). Soils are medium-textured and excessively drained soils with greater than 90% porcelanite (scoria) fragments within 20 inches of the soil surface. |
Similar sites
R058CY072ND |
Clayey This site is on similar or higher landscape positions than Thin Claypan ecological sites and are often adjacent to them. The soils in the Clayey site form a ribbon >2 inches long, but do not have a root-restrictive claypan. Clayey sites are more productive than Thin Claypan sites. |
---|---|
R058CY073ND |
Claypan This site occurs on similar landscape positions to Thin Claypan sites and are often in complex with them. Claypan ecological sites are on micro-highs. Depth to the root-restrictive claypan layer is 6 to 20 inches; accumulated salts, where present, are deeper than 16 inches. Claypan sites have more total production than Thin Claypan sites. |
Table 1. Dominant plant species
Tree |
Not specified |
---|---|
Shrub |
Not specified |
Herbaceous |
Not specified |
Physiographic features
The Thin Claypan ecological site is located on hillslopes, ridges, alluvial fans and flats, and terraces on level to moderately steep landforms associated with badlands. Slope gradients range from 0 to 25 percent.
Table 2. Representative physiographic features
Landforms |
(1)
Hillslope
(2) Alluvial fan (3) Ridge (4) Alluvial flat (5) Terrace |
---|---|
Runoff class | Low to very high |
Flooding frequency | None |
Ponding frequency | None to frequent |
Elevation | 1,835 – 3,400 ft |
Slope | 25% |
Water table depth | 42 – 80 in |
Aspect | Aspect is not a significant factor |
Climatic features
MLRA 58C is considered to have a continental climate with cold winters and hot summers, low humidity, light rainfall, and much sunshine. Extremes in temperature are common and characteristic of the MLRA. The continental climate is the result of the location of this MLRA in the geographic center of North America. There are few natural barriers on the northern Great Plains, so air masses move unobstructed across the plains and account for rapid changes in temperature.
Annual precipitation ranges from 14 to 17 inches per year. The normal average annual temperature is about 41° F. January is the coldest month with an average temperature of about 17° F. July is the warmest month with an average temperature of about 70° F. The range of normal average monthly temperatures between the coldest and warmest months is 53° F. This large temperature range attests to the continental nature of the MLRA 58C climate. Wind speeds average about 11 miles per hour, ranging from about 13 miles per hour during the spring to about 10 miles per hour during the summer. Daytime wind speeds are generally stronger than nighttime wind speeds, and occasional strong storms may bring brief periods of high winds with gusts to more than 50 miles per hour.
Growth of native cool-season plants begins in late March and continues to early to mid-July. Native warm- season plants begin growth in mid-May and continue to the end of August. Greening up of cool-season plants can occur in September and October when adequate soil moisture is present.
Table 3. Representative climatic features
Frost-free period (characteristic range) | 91-100 days |
---|---|
Freeze-free period (characteristic range) | 119-123 days |
Precipitation total (characteristic range) | 15-16 in |
Frost-free period (actual range) | 84-102 days |
Freeze-free period (actual range) | 116-123 days |
Precipitation total (actual range) | 14-16 in |
Frost-free period (average) | 95 days |
Freeze-free period (average) | 121 days |
Precipitation total (average) | 15 in |
Figure 1. Monthly precipitation range
Figure 2. Monthly minimum temperature range
Figure 3. Monthly maximum temperature range
Figure 4. Monthly average minimum and maximum temperature
Figure 5. Annual precipitation pattern
Figure 6. Annual average temperature pattern
Climate stations used
-
(1) WATFORD CITY 14S [USC00329246], Grassy Butte, ND
-
(2) MEDORA 7 E [USW00094080], Fairfield, ND
-
(3) TROTTERS 3 SSE [USC00328812], Beach, ND
-
(4) CARLYLE 13 NW [USC00241518], Wibaux, MT
-
(5) AMIDON [USC00320209], Amidon, ND
Influencing water features
No significant water features influence this site. A seasonal water table is typically deeper than 4 feet throughout the growing season. In a few soils, the water table may be as shallow as 3.5 feet early in the spring; however, the root-restrictive claypan layer and soil salinity prohibit the plants from benefiting from subirrigation. Surface infiltration ranges from very slow to moderate. Permeability through the claypan subsoil is very slow or slow. Water loss is through evapotranspiration and percolation below the root zone. After a heavy precipitation, water may briefly pond (<3 inches) on the surface of areas with <1 percent slope that are also barren of vegetation.
Soil features
Soils associated with the Thin Claypan ES are in the Mollisol, Entisol, and Alfisol orders. The Mollisols are classified further as Aridic Leptic Natrustolls and Leptic Torrertic Natrustolls. The Alfisols are classified further as Aridic Leptic Natrustalfs and Aridic Natrustalfs. The Entisols are classified further as Aridic Ustorthents and Torrertic Ustorthents. These soils were developed under prairie vegetation. They formed in residuum or alluvium derived from residuum. The soils on this site are moderately deep to very deep and are well drained or moderately well drained.
The common feature of most soils in this site is a dense, sodic, root-restrictive claypan subsoil. The texture of the subsoil ranges from fine sandy loam to clay. The depth to the claypan is <6 inches. Accumulated salts occur within a depth of 16 inches. The surface layer is commonly a light-colored, leached, E horizon. Also included are highly sodic soils without a claypan subsoil; the sodium content significantly affects the plant community. Surface textures (range from fine sandy loam to clay. Some soils have soft sedimentary bedrock (shale, siltstone) as shallow as 20 inches. Soils on terraces may have gravelly layers in the lower substratum. In some soils, the claypan is not evident but a dense layer due to the accumulations of sodium may be present (e.g., Benz and Vanda).
In soils with a claypan, soil reaction typically is slightly acid to slightly alkaline (pH 6.1 to 7.8) in the surface layer. The subsoil and substratum range from slightly alkaline to very strongly alkaline (pH 7.4 to >9.0). In soils without a claypan, soil reaction typically ranges from moderately alkaline to very strongly alkaline (pH 7.9 to 9.6) throughout the profile. Soil salinity typically is moderate or strong (E.C. >8 dS/m) within a depth of 16 inches, but slight salinity (E.C. 4 to 8 dS/m) is allowable. Sodicity is typically high (SAR >13) within a depth of 6 inches. Calcium carbonate content ranges from low to high (0 to 30 percent).
Wet surface compaction can occur with heavy traffic. Cryptobiotic crusts, including nostoc, are present. These soils are mainly susceptible to water erosion. Loss of the soil surface layer can result in a shift in species composition and/or production.
Major soil series correlated to the Thin Claypan site are Benz, Bullock, Gerda, Ladner, Scairt, and Vanda.
Access Web Soil Survey (https://websoilsurvey.sc.egov.usda.gov/App/WebSoilSurvey.aspx) for specific local soils information.
Table 4. Representative soil features
Parent material |
(1)
Residuum
–
shale and siltstone
(2) Alluvium – shale and siltstone |
---|---|
Surface texture |
(1) Loam (2) Silt loam (3) Fine sandy loam (4) Silty clay loam (5) Clay loam (6) Clay (7) Silty clay |
Family particle size |
(1) Clayey (2) Loamy |
Drainage class | Moderately well drained to well drained |
Permeability class | Very slow to slow |
Depth to restrictive layer | 6 in |
Soil depth | 20 – 80 in |
Surface fragment cover <=3" | Not specified |
Surface fragment cover >3" | 3% |
Available water capacity (0-40in) |
1.5 – 4 in |
Calcium carbonate equivalent (0-40in) |
30% |
Electrical conductivity (0-16in) |
4 – 16 mmhos/cm |
Sodium adsorption ratio (0-40in) |
10 – 30 |
Soil reaction (1:1 water) (0-40in) |
6.6 – 9.6 |
Subsurface fragment volume <=3" (0-40in) |
14% |
Subsurface fragment volume >3" (0-40in) |
3% |
Ecological dynamics
This ecological site description is based on nonequilibrium ecology and resilience theory and utilizes a State- and-Transition Model (STM) diagram to organize and communicate information about ecosystem change as a basis for management. The ecological dynamics characterized by the STM diagram reflect how changes in ecological drivers, feedback mechanisms, and controlling variables can maintain or induce changes in plant community composition (phases and/or states). The application of various management actions, combined with weather variables, impact the ecological processes which influence the competitive interactions, thereby maintaining or altering plant community structure.
Prior to European influence, the historical disturbance regime for MLRA 58C included frequent fires, both anthropogenic and natural in origin. Most fires, however, were anthropogenic fires set by Native Americans. Native Americans set fires in all months except perhaps January. These fires occurred in two peak periods, one from March-May with the peak in April and another from July-November with the peak occurring in October. Most of these fires were scattered and of small extent and duration. The grazing history would have involved grazing and browsing by large herbivores (such as American bison, elk, pronghorn, mule deer, and whitetail deer). Herbivory by small mammals, insects, nematodes, and other invertebrates are also important factors influencing the production and composition of the communities. Grazing and fire interaction, particularly when coupled with drought events, influenced the dynamics discussed and displayed in the following state and transition diagram and descriptions.
Following European influence, this ecological site generally has had a history of grazing by domestic livestock, particularly cattle, which along with other related activities (e.g., fencing, water development, fire suppression) has changed the disturbance regime of the site. Changes will occur in the plant communities due to these and other factors.
Weather fluctuations coupled with managerial factors may lead to changes in the plant communities and may, under adverse impacts, result in a slow decline in vegetative vigor and composition. However, under favorable conditions the botanical composition may resemble that prior to European influence.
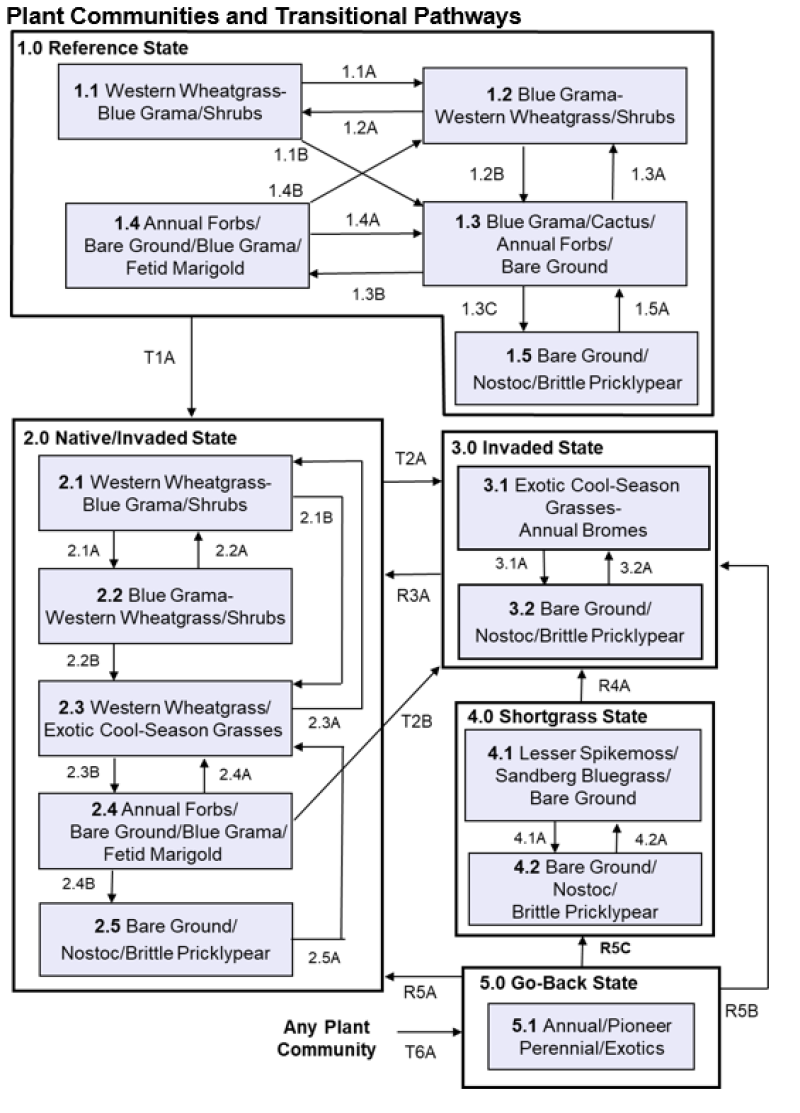
Five vegetative states have been identified for the site (Reference, Native/Invaded, Invaded, Shortgrass, and Go-Back). Within each state one or more community phases have been identified. These community phases are named based on the more dominant and visually conspicuous species; they have been determined by study of historical documents, relict areas, scientific studies, and ecological aspects of plant species and plant communities. Transitional pathways and thresholds have been determined through similar methods.
State 1: Reference State
State 1: Reference State represents the natural range of variability that dominated the dynamics of this ecological site prior to European influence. Dynamics of the state were largely determined by variations in climate and weather (e.g., drought), as well as that of fire (e.g., timing, frequency) and grazing by native herbivores (e.g., frequency, intensity, selectivity). Due to those variations, the Reference State is thought to have shifted temporally and spatially between five plant community phases.
Currently the primary disturbances include widespread introduction of exotic species, concentrated livestock grazing, lack of fire, and perhaps long-term non-use and no fire. Because of these changes (particularly the widespread occurrence of exotic species), as well as other environmental changes, the Reference State is considered to no longer exist. Thus, the presence of exotic species on the site precludes it from being placed in the Reference State. It must then be placed in one of the other states, commonly State 2: Native/Invaded State (T1A).
State 2: Native/Invaded State.
Colonization of the site by exotic species results in a transition from State 1: Reference State to State 2: Native/Invaded State (T1A). This transition was probably inevitable; it often resulted from colonization by exotic, cool-season grasses (such as Kentucky bluegrass, smooth brome, annual bromes, and/or crested wheatgrass) which have been particularly and consistently invasive under extended periods of no use and no fire. Other exotics, such as Canada thistle and leafy spurge, are also known to invade the site.
Five community phases have been identified for this state and are similar to the community phases in the Reference State but have now been invaded by exotic cool-season grasses. These exotic cool-season grasses can be expected to increase. As that increase occurs, plants more desirable to wildlife and livestock may decline. A decline in forb diversity can also be expected. Under non-use or minimal use management, mulch increases and may become a physical barrier to plant growth. This also changes the micro-climate near the soil surface and may alter infiltration, nutrient cycling, and biological activity near the soil surface. As a result, these factors combined with shading cause desirable native plants to have increasing difficulty remaining viable and recruitment declines.
To slow or limit the invasion of these exotic grasses or other exotic plants, it is imperative that managerial techniques (e.g., prescribed grazing, prescribed burning) be carefully constructed, monitored, and evaluated with respect to that objective. If management does not include measures to control or reduce these exotic plants, the transition to State 3: Invaded State should be expected (T2A). Abandonment or removal of prairie dogs from Community Phase 2.4 will lead to State 3 Invaded State, Community Phase 3.2 (via Transition T2B). Managers need to understand when the plant community is at or near these parameters; all data available needs to be evaluated to determine needed management actions.
State 3: Invaded State.
The threshold for this state is reached when both the exotic cool-season grasses (e.g., Kentucky bluegrass, smooth brome, crested wheatgrass, and annual bromes) exceed 30% of the plant community and native grasses represent less than 40% of the community. Managers need to understand when the plant community is at or near these parameters; all data available needs to be evaluated to determine needed management actions. Two community phases have been identified for this state.
The exotic cool-season grasses can be quite invasive and often form monotypic stands. As they increase, both forage quantity and quality of the annual production becomes increasingly restricted to late spring and early summer, even though annual production may increase. Forb diversity often declines. Under non-use or minimal use management, mulch can increase and become a physical barrier to plant growth which alters nutrient cycling, infiltration, and soil biological activity. As such, desirable native plants become increasingly displaced.
Once the state is well established, prescribed burning and prescribed grazing techniques have been largely ineffective in suppressing or eliminating the exotic cool-season grasses, even though some short-term reductions may appear successful. However, assuming there is an adequate component of native grasses to respond to treatments, a restoration pathway to State 2: Native/Invaded State may be accomplished with the implementation of long-term prescribed grazing and prescribed burning with possible range planting (R3A).
State 4: Shortgrass State
Abandonment (no management inputs) of State 5: Go-Back State will result in State 4: Shortgrass State (R5C). The site is typically dominated by shortgrasses (e.g., blue grama, buffalograss, Sandberg bluegrass) and considerable amounts of bare ground. Lesser spikemoss and brittle pricklypear may also be noticeably abundant. Two community phases have been identified for this state. Mechanical treatment (e.g., chiseling) may lead to State 3 Invaded State (R4A).
State 5: Go-Back State
This state often results following cropland abandonment and consists of one plant community phase. This weedy assemblage may include noxious weeds that need control. Over time, the exotic cool-season grasses (Kentucky bluegrass, smooth brome, annual bromes, and/or crested wheatgrass) will likely predominate.
Initially, due to extensive bare ground and a preponderance of shallow-rooted annual plants, the potential for soil erosion is high. Plant species richness may be high, but overall diversity (i.e., equitability) is typically low, with the site dominated by a relatively small assemblage of species. Due to the lack of native perennials and other factors, restoring the site with the associated ecological processes is difficult.
No management inputs will lead to State 4: Shortgrass State via R5C. However, a successful range planting may result in something approaching State 2: Native/Invaded State (R5A). Following seeding, prescribed grazing, prescribed burning, haying, and the use of herbicides will generally be necessary to achieve the desired result and control weeds, some of which may be noxious weeds. A failed range planting and/or secondary succession will lead to State 3: Invaded State (R5B).
The following state and transition model diagram illustrates the common states, community phases, community pathways, and transition and restoration pathways that can occur on the site. These are the most common plant community phases and states based on current knowledge and experience; changes may be made as more data are collected. Pathway narratives describing the site’s ecological dynamics reference various management practices (e.g., prescribed grazing, prescribed fire, brush management, herbaceous weed treatment) which, if properly designed and implemented, will positively influence plant community competitive interactions. The design of these management practices will be site specific and should be developed by knowledgeable individuals; based upon management goals and a resource inventory; and supported by an ongoing monitoring protocol.
When the management goal is to maintain an existing plant community phase or restore to another phase within the same state, modification of existing management to ensure native species have the competitive advantage may be required. To restore a previous state, the application of two or more management practices in an ongoing manner will be required. Whether using prescribed grazing, prescribed burning, or a combination of both with or without additional practices (e.g., brush management), the timing and method of application needs to favor the native species over the exotic species. Adjustments to account for variations in annual growing conditions and implementing an ongoing monitoring protocol to track changes and adjust management inputs to ensure desired outcome will be necessary.
The plant community phase composition table(s) has been developed from the best available knowledge including research, historical records, clipping studies, and inventory records. As more data are collected, plant community species composition and production information may be revised.
State and transition model

Figure 7. Thin Claypan State and Transition Model

More interactive model formats are also available.
View Interactive Models
More interactive model formats are also available.
View Interactive Models
Click on state and transition labels to scroll to the respective text
Ecosystem states
States 2 and 5 (additional transitions)
T1A | - | Introduction of exotic cool-season grasses |
---|---|---|
T2A | - | Extended periods of non-use or very light grazing, no fire |
R3A | - | Long-term prescribed grazing and prescribed burning with possible range planting |
R4A | - | Mechanical treatment (e.g. chiseling) |
R5A | - | Successful range planting with prescribed grazing and prescribed burning |
R5B | - | Failed range planting and/or secondary succession |
R5C | - | No management inputs |
T6A | - | Cessation of annual cropping |
State 1 submodel, plant communities
1.1A | - | Long-term drought with/without heavy, long-term grazing |
---|---|---|
1.1B | - | Introduction of prairie dogs |
1.2A | - | Return to average precipitation and reduced grazing |
1.2B | - | Introduction of prairie dogs |
1.3A | - | Abandonment of prairie dogs |
1.3B | - | Long-term prairie dog occupation |
1.3C | - | Soil erosion |
1.4B | - | Abandonment of prairie dogs, return to average precipitation |
1.4A | - | Abandonment of prairie dogs, return to average precipitation |
1.5A | - | Soil deposition |
State 2 submodel, plant communities
2.1A | - | Heavy, season-long grazing with or without drought |
---|---|---|
2.1B | - | Light grazing, no fire |
2.2A | - | Prescribed grazing and and prescribed burning, return to average precipitation |
2.2B | - | Rest or light utilization, no fire |
2.3A | - | Prescribed grazing and prescribed burning |
2.3B | - | Long-term prairie dog occupation |
2.4A | - | Removal or abandonment of prairie dogs |
2.4B | - | Soil erosion |
2.5A | - | Soil deposition |
State 3 submodel, plant communities
3.1A | - | Soil erosion |
---|---|---|
3.2A | - | Soil deposition |
State 4 submodel, plant communities
4.1A | - | Soil erosion |
---|---|---|
4.2A | - | Soil deposition |
State 5 submodel, plant communities
State 1
Reference State
This state represents the natural range of variability that dominated the dynamics of this ecological site prior to European influence. The state was dominated by cool-season grasses with a strong secondary component of short statured warm-season grasses. The primary disturbance mechanisms for this site in the reference condition included infrequent fire and grazing by large herding ungulates. Fire was less frequent on this site than surrounding sites due to lower herbaceous production which resulted in less fire fuel availability. This permitted shrubs, such as big sagebrush, to become established and persist. These factors likely caused the community to shift both spatially and temporally between five community phases.
Characteristics and indicators. Because of changes in disturbances and other environmental factors (particularly the widespread occurrence of exotic species), the Reference State is considered to no longer exist.
Resilience management. If intact, the reference state should probably be managed with current disturbance regimes which has permitted the site to remain in reference condition, as well as maintaining the quality and integrity of associated ecological sites. Maintenance of the reference condition is contingent upon a monitoring protocol to guide management.
Community 1.1
Western Wheatgrass-Blue Grama/ Shrubs (Pascopyrum smithii- Bouteloua gracilis/ Shrubs)
This community phase was historically the most dominant both temporally and spatially. Cool-season grass and grass-like species dominated this plant community with warm-season grasses being subdominant. Western wheatgrass was the dominant grass. Other graminoids included blue grama, needle and thread, buffalograss, Sandberg bluegrass, saltgrass, and upland sedges. Common forbs included silverleaf Indian breadroot, white sagebrush, and white prairie aster. Silver sagebrush, winterfat, big sagebrush, and prairie sagewort were the more common shrubs. Annual production will vary from about 150-950 pounds per acre with grasses and grass-likes, forbs, and shrubs contributing about 85%, 10% and 5%, respectively. It also likely had a small cryptogamic component (i.e., lesser spikemoss, nostoc). Both warm-season grasses and cool-season grasses are well represented in the community. As a result, production was distributed throughout the growing season. This community represents the plant community phase upon which interpretations are primarily based and is described in the “Plant Community Composition and Group Annual Production” portion of this ecological site description.
Figure 8. Annual production by plant type (representative values) or group (midpoint values)
Table 5. Annual production by plant type
Plant type | Low (lb/acre) |
Representative value (lb/acre) |
High (lb/acre) |
---|---|---|---|
Grass/Grasslike | 115 | 484 | 850 |
Forb | 35 | 47 | 60 |
Shrub/Vine | 0 | 17 | 30 |
Microbiotic Crusts | 0 | 3 | 10 |
Total | 150 | 551 | 950 |
Community 1.2
Blue Grama-Western Wheatgrass/ Shrubs (Bouteloua gracilis- Pascopyrum smithii/ Shrubs)
This plant community resulted from long-term drought with or without heavy, long-term grazing. Dominant grass and grass-like species included blue grama, western wheatgrass, sedges, and buffalograss. Grasses of secondary importance included Sandberg bluegrass, needle and thread, and saltgrass. Common forbs included white sagebrush, goldenrod, white heath aster, scurfpea, and common yarrow. Brittle pricklypear, plains pricklypear, broom snakeweed, and prairie sagewort were the more common shrubs. Annual production would have decreased compared to that of Community Phase 1.1, with graminoids, forbs, and shrubs contributing about 75%, 15% and 10%, respectively.
Community 1.3
Blue Grama/Cactus/ Annual Forbs/ Bare Ground (Bouteloua gracilis/ Opuntia spp./ Annual Forbs/ Bare Ground)
This community phase formed as a result of short-term occupation by prairie dogs. Heavy grazing pressure, repeated drought, or a combination of these factors may also have contributed to the pathway. Disturbance characterized the community as evidenced by the abundance of bare ground, annual forbs, cactus, and blue grama. Annual production would have decreased compared to Community Phases 1.1 and 1.2.
Community 1.4
Annual Forbs/ Bare Ground/ Blue Grama/ Fetid Marigold (Annual Forbs/ Bare Ground/ Bouteloua gracilis/ Dyssodia papposa) (Prairie Dog Town)
This community phase formed during periods of long-term occupation by prairie dogs. It is characterized by the abundance of annual forbs (e.g., fetid marigold, woolly plantain, curveseed butterwort), and bare ground. Some perennial native species remain but are greatly reduced in vigor and may not be readily visible.
Community 1.5
Bare Ground/ Nostoc/ Brittle Pricklypear (Bare Ground/ Nostoc spp./ Opuntia fragilis)

Figure 9. Mosaic of Community Phase 1.5:This mosaic within the Thin Claypan ES can occur with other community phases within Reference State 1.0. Photo credit H.C. Hansen, USDA Billings County Soil Survey published 1944.
This plant community phase may be characterized by bare ground with minimal, if any, vegetative cover. It is the result of the processes described in Community Phase Pathway 1.3C and generally occurred in patches of varying size scattered across the ecological site. The term most frequently applied to these areas within the Thin Claypan ecological site is “slickspots”. Slickspots are defined as areas having a puddled or crusted, very smooth, nearly impervious surface with a dense and massive underlying material. These slickspots may be completely devoid of vegetation or may support a scattered covering of Nostoc (cyanobacteria, aka blue-green algae), brittle pricklypear, Nuttall’s saltbush, and saline/sodic tolerant annual forbs such as goosefoot and prostrate knotweed.
Pathway 1.1A
Community 1.1 to 1.2
Community Phase Pathway 1.1 to 1.2 occurred with long-term drought with or without heavy long-term grazing. This would have led to a marked increase in blue grama with a corresponding decrease in western wheatgrass.
Pathway 1.1B
Community 1.1 to 1.3
Community Phase Pathway 1.1 to 1.3 occurred with the introduction of prairie dogs, leading to a community that would have been characterized by marked increase in blue grama, cactus, annual forbs, and bare ground.
Pathway 1.2A
Community 1.2 to 1.1
Community Phase Pathway 1.2 to 1.1 occurred with the return to average precipitation and reduced grazing pressure. Blue grama declined with corresponding increases in western wheatgrass and other cool-season grasses.
Pathway 1.2B
Community 1.2 to 1.3
Community Phase Pathway 1.2 to 1.3 occurred short-term occupation by prairie dogs. Heavy grazing pressure, repeated drought, or a combination of these factors may also have contributed to the pathway. This resulted in increases in blue grama, annual forbs, cactus, and bare ground.
Pathway 1.3A
Community 1.3 to 1.2
Community Phase Pathway 1.3 to 1.2 occurred following prairie dog abandonment. Reduced grazing pressure and increased annual precipitation may also have been factors in the pathway. Western wheatgrass increased markedly with corresponding decreases in annual forbs, cactus, and bare ground.
Pathway 1.3B
Community 1.3 to 1.4
Community Phase Pathway 1.3 to 1.4 occurred with long-term prairie dog occupation leading to marked increases in annual forbs (e.g., fetid marigold, woolly plantain, curveseed butterwort), and bare ground.
Pathway 1.3C
Community 1.3 to 1.5
Community Phase Pathway 1.3 to 1.5 resulted from soil erosion leading to the formation of slickspots. This resulted in a community characterized by bare ground, brittle pricklypear, and nostoc. The initial stage of landscape development required for the pathway leading to the formation of slickspots was surface erosion which created a micro-topographic surface, allowing lateral and upward water movement. This micro-topographic soil surface could have been very subtle and still allow differential water movement. Once the micro-topographic soil surface was established, subsurface water flow triggered the development of slickspots. Drivers for the development of slickspots included dispersive soil erosion and stratigraphically controlled throughflow and discharge of water from adjacent sodic soils. Lateral water flow or throughflow in sodic materials is a major factor in the development of slickspots. In addition, changes to the existing plant community may initiate surface soil erosion that have several inter-related causes (such as long-term drought, overgrazing/animal concentration, and occupation by prairie dogs).
Pathway 1.4B
Community 1.4 to 1.2
Community Phase Pathway 1.4 to 1.2 occurred with the abandonment of prairie dogs and return to average precipitation. This Community Phase Pathway is similar to Community Phase Pathway 1.4A. The difference is related to variations in how the native grasses can respond following prairie dog abandonment.
Pathway 1.4A
Community 1.4 to 1.3
Community Phase Pathway 1.4 to 1.3 occurred with the abandonment of prairie dogs and return to average precipitation. This Community Phase Pathway is similar to Community Phase Pathway 1.4B. The difference is related to variations in how the native grasses can respond following prairie dog abandonment.
Pathway 1.5A
Community 1.5 to 1.3
Community Phase Pathway 1.5 to 1.3 occurred with soil deposition sufficient to enable colonization by blue grama and other plants, thus increasing plant production and decreasing the extent of bare ground.
State 2
Native/Invaded State
This state is similar to State 1: Reference State but has now been colonized by the exotic cool-season grasses (commonly Kentucky bluegrass, smooth brome, annual bromes, and/or crested wheatgrass) which are now present in small amounts. Although the state is still dominated by native grasses, an increase in these exotic cool-season grasses can be expected. These exotic cool-season grasses can be quite invasive on the site and are particularly well adapted to heavy grazing. They also often form monotypic stands. As these exotic cool-season grasses increase both forage quantity and quality become increasingly restricted to late spring and early summer due to the monotypic nature of the stand, even though annual production may increase. Native forbs generally decrease in production, abundance, diversity, and richness compared to that of State 1: Reference State. These exotic cool-season grasses have been particularly and consistently invasive under extended periods of no use and no fire. To slow or limit the invasion of these exotic grasses, it is imperative that managerial techniques (e.g., prescribed grazing, prescribed burning) be carefully constructed, monitored, and evaluated with respect to that objective. If management does not include measures to control or reduce these exotic cool-season grasses, the transition to State 3: Invaded State should be expected. Annual production of this state can be quite variable, in large part due to the amount of exotic cool-season grasses. However, as the exotic cool-season grasses increase, peak production will shift to earlier in the growing season.
Characteristics and indicators. The presence of trace amounts of exotic cool-season grasses indicates a transition from State 1 to State 2. The presence of exotic biennial or perennial leguminous forbs (i.e., sweet clover, black medic) may not, on their own, indicate a transition from State 1 to State 2 but may facilitate that transition.
Resilience management. To slow or limit the invasion of these exotic grasses, it is imperative that managerial techniques (e.g., prescribed grazing, prescribed burning) be carefully constructed, monitored, and evaluated with respect to that objective. Grazing management should be applied that enhances the competitive advantage of native grass and forb species. This may include: (1) grazing when exotic cool-season grasses are actively growing and native cool- season grasses are dormant; (2) applying proper deferment periods allowing native grasses to recover and maintain or improve vigor; (3) adjusting overall grazing intensity to reduce excessive plant litter (above that needed for rangeland health indicator #14 – see Rangeland Health Reference Worksheet); (4) incorporating early heavy spring utilization which focuses grazing pressure on exotic cool-season grasses and reduces plant litter, provided that livestock are moved when grazing selection shifts from exotic cool-season grasses to native grasses. Prescribed burning should be applied in a manner that maintains or enhances the competitive advantage of native grass and forb species. Prescribed burns should be applied as needed to adequately reduce/remove excessive plant litter and maintain the competitive advantage for native species. Timing of prescribed burns (spring vs. summer vs. fall) should be adjusted to account for differences in annual growing conditions and applied during windows of opportunity to best shift the competitive advantage to the native species.
Community 2.1
Western Wheatgrass-Blue Grama/ Shrubs (Pascopyrum smithii- Bouteloua gracilis/ Shrubs)
This Community Phase is similar to Community Phase 1.1 but has been colonized by exotic cool-season grasses (often Kentucky bluegrass, smooth brome, annual bromes, and/or crested wheatgrass). However, these exotics are present in smaller amounts with the community still dominated by native grasses. Annual production may be comparable to that of Community Phase 1.1 (150-950 pounds per acre). However, as the exotic cool-season grasses increase, peak production will shift to earlier in the growing season.
Community 2.2
Blue Grama-Western Wheatgrass/ Shrubs (Bouteloua gracilis- Pascopyrum smithii/ Shrubs)

Figure 10. Community Phase 2.2: Blue Grama-Western Wheatgrass/Shrubs, buffalograss can also be found in this Community Phase.
This Community Phase is similar to Community Phase 1.2 but has now been colonized by exotic cool-season grasses (often Kentucky bluegrass, smooth brome, annual bromes, and/or crested wheatgrass). These exotics, however, are present in smaller amounts with the community still dominated by native grasses. This community phase is often dispersed throughout a pasture in an overgrazed/undergrazed pattern, typically referred to as patch grazing. Some overgrazed areas will exhibit the impacts of heavy use, while the ungrazed areas will have a build-up of litter and increased plant decadence. This is a typical pattern found in properly stocked pastures grazed season-long. As a result, Kentucky bluegrass tends to increase more in the undergrazed areas while the more grazing tolerant short-statured species, such as blue grama and sedges, increase in the heavily grazed areas. If present, Kentucky bluegrass may increase under heavy grazing. Increasing amounts of exotic cool-season grasses (particularly Kentucky bluegrass) can make this an “at risk” community, even though its presence may not be obvious. If management does not include measures to control or reduce Kentucky bluegrass, the transition to State 3: Invaded State should be expected.
Community 2.3
Western Wheatgrass/ Exotic Cool-Season Grasses (Pascopyrum smithii/ Exotic Cool-Season Grasses)
This Community Phase may be characterized by a marked increase in the exotic cool-season grasses compared to Community Phases 2.1 and 2.2. It is approaching the threshold leading to a transition to State 3: Invaded State. As a result, it is an “at risk” community. If management does not include measures to control or reduce these exotic cool-season grasses, the transition to State 3: Invaded State should be expected.
Community 2.4
Annual Forbs/ Bare Ground/ Blue Grama/ Fetid Marigold (Annual Forbs/ Bare Ground/ Bouteloua gracilis/ Dyssodia papposa) (Prairie Dog Town)
This community phase formed during periods of long-term occupation by prairie dogs. It is characterized by the abundance of annual forbs (e.g., fetid marigold, woolly plantain, curveseed butterwort) and bare ground. Some perennial native species remain but are greatly reduced in vigor and may not be readily visible.
Community 2.5
Bare Ground/ Nostoc/ Brittle Pricklypear (Bare Ground/ Nostoc spp./ Opuntia fragilis)

Figure 11. Example of Community Phase 2.5, Bare Ground/ Nostoc/ Brittle Pricklypear
This plant community phase may be characterized by bare ground with minimal, if any, vegetative cover. It is the result of the processes described in Community Phase Pathway 1.3C and generally occurs in patches of varying size scattered across the ecological site. The term most frequently applied to these areas within the Thin Claypan site is “slickspots”. Slickspots are defined as areas having a puddled or crusted, very smooth, nearly impervious surface with a dense and massive underlying material. These slickspots may be completely devoid of vegetation or may support a scattered covering of Nostoc (cyanobacteria, aka blue-green algae), brittle pricklypear, Nuttall’s saltbush, and saline/sodic tolerant annual forbs (such as goosefoot and prostrate knotweed).
Pathway 2.1A
Community 2.1 to 2.2
Community Phase Pathway 2.1 to 2.2 occurs with heavy season-long grazing with or without drought. This leads to a marked increase in blue grama with a corresponding decrease in western wheatgrass.
Pathway 2.1B
Community 2.1 to 2.3
Community Phase Pathway 2.1 to 2.3 occurs during periods of light grazing and no fire. This results in an increase in exotic cool-season grasses and a corresponding decrease in blue grama.
Pathway 2.2A
Community 2.2 to 2.1
Community Phase Pathway 2.2 to 2.1 occurs with prescribed grazing, prescribed burning, and return to average precipitation. Blue grama declines with corresponding increases in western wheatgrass and other cool-season grasses.
Pathway 2.2B
Community 2.2 to 2.3
Community Phase Pathway 2.2 to 2.3 occurs with rest or light utilization and no fire. This results in an increase in exotic cool-season grasses and a corresponding decrease in blue grama.
Pathway 2.3A
Community 2.3 to 2.1
Community Phase Pathway 2.3 to 2.1 occurs with the implementation of prescribed grazing and prescribed burning. When properly implemented, this will result in a marked decrease in the exotic cool-season grasses with a corresponding increase in the native grasses (e.g., blue grama).
Pathway 2.3B
Community 2.3 to 2.4
Community Phase Pathway 2.3 to 2.4 occurs with long-term occupation of the site by prairie dogs, leading to marked increases in annual forbs (e.g., fetid marigold), bare ground, and blue grama.
Pathway 2.4A
Community 2.4 to 2.3
Community Phase Pathway 2.4 to 2.3 occurs with abandonment or removal of prairie dogs. This leads to decreases in annual forbs and bare ground with corresponding increases in native grasses (e.g., western wheatgrass) and exotic cool-season grasses.
Pathway 2.4B
Community 2.4 to 2.5
Community Phase Pathway 2.4 to 2.5 results from periods of soil erosion. The initial stage of landscape development required for this pathway leading to the formation of slickspots is surface erosion which creates a micro-topographic soil surface, allowing lateral and upward water movement. This micro-topographic soil surface can be very subtle and still allow differential water movement. Once the micro-topographic soil surface is established, subsurface water flow triggers the development of slickspots. Drivers for the development of slickspots include dispersive soil erosion and stratigraphically controlled throughflow and discharge of water from adjacent sodic soils. Lateral water flow or throughflow in sodic materials is a major factor in the development of slickspots. In addition, changes to the existing plant community may initiate surface soil erosion that have several inter-related causes (such as long-term drought, overgrazing/animal concentration, and occupation by prairie dogs
Pathway 2.5A
Community 2.5 to 2.3
Community Phase Pathway 2.5 to 2.3 occurs with soil deposition sufficient to enable marked increases in western wheatgrass, exotic cool-season grasses, and other plants which decreases the extent of bare ground.
State 3
Invaded State
This state is the result of invasion and dominance by the exotic cool-season grasses (commonly Kentucky bluegrass, smooth brome, annual bromes. and/or crested wheatgrass). Other exotic plants, such as leafy spurge and Canada thistle, may also invade the site. These exotic cool-season grasses can be quite invasive on the site and are particularly well adapted to heavy grazing. They also often form monotypic stands. As these exotic cool-season grasses increase, both forage quantity and quality become increasingly restricted to late spring and early summer due to the monotypic nature of the stand, even though annual production may increase. Native forbs generally decrease in production, abundance, diversity, and richness compared to that of State 1: Reference State. Common forbs often include sweetclover, tarragon, white sagebrush, and American vetch. Prairie sagewort is a common shrub. Once the state is well established, prescribed burning and grazing techniques have been largely ineffective in suppressing or eliminating these species, even though some short-term reductions may appear successful. Annual production of this state may vary widely, in part due to variations in the extent of invasion by exotic cool-season grasses.
Characteristics and indicators. This site is characterized by exotic cool-season grasses constituting greater than 30 percent of the annual production and native grasses constituting less than 40 percent of the annual production.
Resilience management. Light or moderately stocked continuous, season-long grazing or a prescribed grazing system which incorporates adequate deferment periods between grazing events and proper stocking rate levels will maintain this State. Application of herbaceous weed treatment, occasional prescribed burning and/or brush management may be needed to manage noxious weeds and increasing shrub (e.g., western snowberry) populations.
Community 3.1
Exotic Cool-Season Grasses-Annual Bromes (Exotic Cool-Season Grasses-Bromus tectorum, Bromus arvensis)
This community phase develops after an extended period of 10 or more years of non-use by herbivores and exclusion of fire. Exotic cool-season grasses - such as Kentucky bluegrass, smooth brome, crested wheatgrass, and/or annual bromes (e.g., field brome, cheatgrass) - tend to invade and may dominate the community. Native grasses (such as western wheatgrass, needle and thread, bearded wheatgrass, and blue grama) have declined markedly. Common forbs include sweetclover, tarragon, white sagebrush, and American vetch. Prairie sagewort is the principal shrub. Due to the limited production of this ecological site, accumulation of litter and thatch is limited. The longer this community phase exists, the more resilient it becomes. Natural or management disturbances that reduce the cover of Kentucky bluegrass or smooth brome are typically short-lived.
Community 3.2
Bare Ground/ Nostoc/ Brittle Pricklypear (Bare Ground/ Nostoc spp./ Opuntia fragilis)
This plant community phase may be characterized by bare ground with minimal, if any, vegetative cover. It is the result of the processes described in Community Phase Pathway 3.1A and generally occurs in patches of varying size scattered across the ecological site. The term most frequently applied to these areas within the Thin Claypan ecological site is “slickspots”. Slickspots are defined as areas having a puddled or crusted, very smooth, nearly impervious soil surface with a dense and massive underlying material. These slickspots may be completely devoid of vegetation but may support a scattered covering of Nostoc (cyanobacteria, aka blue- green algae), brittle pricklypear, Nuttall’s saltbush, and saline/sodic tolerant annual forbs such as goosefoot and prostrate knotweed.
Pathway 3.1A
Community 3.1 to 3.2
Community Phase Pathway 3.1 to 3.2 results from periods of soil erosion. The initial stage of landscape development required for this pathway leading to the formation of slickspots is surface erosion which creates a micro-topographic soil surface, allowing lateral and upward water movement. This micro-topographic soil surface can be very subtle and still allow differential water movement. Once the micro-topographic soil surface is established, subsurface water flow triggers the development of slickspots. Drivers for the development of slickspots include dispersive soil erosion and stratigraphically controlled throughflow and discharge of water from adjacent sodic soils. Lateral water flow or throughflow in sodic materials is a major factor in the development of slickspots. In addition, changes to the existing plant community may initiate surface soil erosion that have several inter-related causes (such as long-term drought, overgrazing/animal concentration, and occupation by prairie dogs).
Pathway 3.2A
Community 3.2 to 3.1
Community Phase Pathway 3.2 to 3.1 occurs with soil deposition sufficient to enable an increase in grasses, particularly the exotic cool-season grasses and annual bromes leading to an increase in plant production and a decrease in bare ground.
State 4
Shortgrass State
This state is characterized by two disturbance tolerant plant community phases resulting from the abandonment of cropland without the benefit of range planting. One plant community phase (4.1) is dominated by disturbance tolerant species and the other plant community phase (4.2) is dominated by bare ground with minimal existing vegetation. Once established, this state is very resilient and resistant to forces of change.
Characteristics and indicators. This site is characterized by disturbance tolerant species and/or bare ground with minimal existing vegetation.
Resilience management. This plant community phase is very resilient and resistant to change. Due to soil and weather conditions, this plant community phase will maintain itself.
Community 4.1
Lesser Spikemoss/ Sandberg Bluegrass/ Bare Ground (Selaginella densa/ Poa sandbergii/ Bare Ground)

Figure 12. Example of Plant Community Phase 4.1, Lesser Spikemoss/Sandberg Bluegrass/Bare Ground
A dense sod of lesser spikemoss dominates this plant community, with cover often greater than 25%. Lesser spikemoss occupies bare soil areas within deteriorated or disturbed higher successional plant communities due to long-term repeated disturbances. It creates a more arid micro-climate, resulting in extreme competition for available moisture. Vigor and production of other species is reduced dramatically. Although widely variable between years, annual bromes may be present. Blue grama, western wheatgrass, and Sandberg bluegrass are the dominant grass species with the balance being a few species of cool-season and warm-season grasses (such as saltgrass, buffalograss, and prairie Junegrass). Sedges typically are not present. Forbs commonly found in this plant community include white heath aster, purple locoweed, scarlet globemallow, scurfpea, curlycup gumweed, and common yarrow. There is usually less than 15% bare ground. This plant community is very resistant to change. The thick sod and competitive advantage of both the lesser spikemoss and the blue grama prevents other species from expanding and establishing. This plant community is far less productive than the Reference Plant Community.
Community 4.2
Bare Ground/ Nostoc/ Brittle Pricklypear (Bare Ground/ Nostoc spp./ Opuntia fragilis)
This plant community phase is characterized by bare ground with minimal, if any, vegetative cover. It is the result of the processes described in Community Phase Pathway 4.1A and generally occurs in patches of varying size scattered across the ecological site. The term most frequently applied to these areas within the Thin Claypan ecological site is “slickspots”. Slickspots are defined as areas having a puddled or crusted, very smooth, nearly impervious surface with a dense and massive underlying material. These slickspots may be completely devoid of vegetation but may have a scattered covering of Nostoc algae (Cyanobacteria), brittle pricklypear, and saline/sodic tolerant annual forbs.
Pathway 4.1A
Community 4.1 to 4.2
Community Phase Pathway 4.1 to 4.2 is due to soil erosion. The initial stage of landscape development required for the pathway leading to the formation of slickspots (aka panspots) is surface erosion which creates a micro-topographic surface, allowing lateral and upward water movement. This micro-topographic surface can be very subtle and still allow differential water movement. Once the micro-topographic soil surface is established, subsurface water flow triggers the development of slickspots. Drivers for the development of slickspots include dispersive soil erosion and stratigraphically controlled throughflow and discharge of water from adjacent sodic soils. Lateral water flow or throughflow in sodic materials is a major factor in the development of slickspots. In addition, changes to the existing plant community may initiate surface soil erosion that have several inter-related causes (such as long-term drought, overgrazing/animal concentration, and occupation by prairie dogs).
Pathway 4.2A
Community 4.2 to 4.1
Community Phase Pathway 4.2 to 4.1 is due to soil deposition and leads to the revegetation of slickspots. Revegetation processes occur concurrently with slickspot expansion though probably at different rates. While discharge processes are dominant in barren slickspot zones, recharge processes are dominant in revegetated slickspot zones. The initiation of a leaching profile in the revegetated zone is the first step in the natural reclamation of the slickspot soil. Revegetated slickspots represent a renewal of the soil forming processes (e.g., Entisol to Natrustoll pedogenesis) and appear to slowly reverse the effects of dispersive erosion in sodium affected landscapes. As the soil forming processes advance, saline/sodic tolerant annual plants establish on the site. A reduction of excessive disturbance by livestock and wildlife (e.g., prairie dogs and bison) may facilitate revegetation and soil formation of this plant community phase.
State 5
Go-Back State
This state is highly variable depending on the level and duration of disturbance related to the T6A transitional pathway. In this MLRA, the most probable origin of this state is plant succession following cropland abandonment. This plant community will initially include a variety of annual forbs and grasses, some of which may be noxious weeds and need control. Over time, the exotic cool-season grasses (Kentucky bluegrass, smooth brome, annual bromes, and/or crested wheatgrass) will likely predominate.
Characteristics and indicators. Tillage has destroyed the native plant community, altered soil structure and biology, reduced soil organic matter, and resulted in the formation of a tillage induced compacted layer which is restrictive to root growth. Removal of perennial grasses and forbs results in decreased infiltration and increased runoff.
Resilience management. Continued tillage will maintain the state. Control of noxious weeds will be required.
Community 5.1
Annual/Pioneer Perennial /Exotics
This community phase is highly variable depending on the level and duration of disturbance related to the T6A transitional pathway. In this MLRA, the most probable origin of this phase is secondary succession following cropland abandonment. This plant community will initially include a variety of annual forbs and grasses, including noxious weeds (e.g., Canada thistle) which may need control. Over time, the exotic cool-season grasses (Kentucky bluegrass, smooth brome, annual bromes, and/or crested wheatgrass) will likely predominate.
State 6
Any Plant Community
Transition T1A
State 1 to 2
This is the transition from the State 1: Reference State to the State 2: Native/Invaded State due to the introduction and establishment of exotic cool-season grasses (typically Kentucky bluegrass, smooth brome, annual bromes, and/or crested wheatgrass). This transition was probably inevitable and corresponded to a decline in native warm-season and cool-season grasses; it may have been exacerbated by chronic season- long or heavy late season grazing. Complete rest from grazing and suppression of fire could also have hastened the transition. The threshold between states was crossed when Kentucky bluegrass, smooth brome, annual bromes, crested wheatgrass, or other exotic species became established on the site.
Constraints to recovery. Current knowledge and technology will not facilitate a successful restoration to Reference State.
Transition T2A
State 2 to 3
This transition from State 2: Native/Invaded State to State 3: Invaded State generally occurs during extended periods of no use or very light grazing, and no fire. Exotic, cool-season grasses (such as Kentucky bluegrass, smooth brome, annual bromes, and/or crested wheatgrass) become the dominant graminoids. Other exotics, such as Canada thistle and leafy spurge, are also known to invade the site. Studies indicate that a threshold may exist in this transition when both Kentucky bluegrass exceeds 30% of the plant community and native grasses represent less than 40% of the plant community composition. Similar thresholds may exist for smooth brome, annual bromes, and crested wheatgrass. This transition may occur under other managerial conditions, for example heavy season-long grazing (primarily Kentucky bluegrass). Additional Transition: T2B This transition from State 2: Native/Invaded State, Community Phase 2.4 to State 3: Invaded State is initiated with the abandonment or removal of prairie dogs from the site. Removing this disturbance shifts the competitive advantage to the exotic cool-season grasses. Constraints to recovery (i.e., variables or processes that preclude recovery of the former state). Reintroduction of the prairie dogs from neighboring towns would make this transition possible from Plant Community Phase 3.2 to 2.4. Proximity of neighboring towns may be limiting factor.
Constraints to recovery. Variations in growing conditions (e.g., cool, wet spring) will influence effects of various management activities on exotic cool-season grass populations.
Restoration pathway R3A
State 3 to 2
This restoration pathway from State 3: Invaded State to State 2: Native/Invaded State may be accomplished with the implementation of long-term prescribed grazing and prescribed burning, assuming there is an adequate component of native grasses to respond to the treatments. If not, a subsequent range planting may be necessary to complete the restoration. Both prescribed grazing and prescribed burning are likely necessary to successfully initiate this restoration pathway, the success of which depends upon the presence of a remnant population of native grasses in Community Phase 3.1 or 3.2. That remnant population, however, may not be readily apparent without close inspection. The application of several prescribed burns may be needed at relatively short intervals in the early phases of this restoration process, in part because some of the shrub species sprout following one burn. Early season prescribed burns have been successful; however, fall burning may also be an effective technique. The prescribed grazing should include adequate recovery periods following each grazing event and stocking levels which match the available resources. If properly implemented, this will shift the competitive advantage from the exotic cool-season grasses to the native cool-season grasses.
Context dependence. Grazing management should be applied in a manner that enhances/maximizes the competitive advantage of native grass and forb species over the exotic species. This may include the use of prescribed grazing to reduce excessive plant litter accumulations above that needed for rangeland health indicator #14 (see Rangeland Health Reference Worksheet). Increasing livestock densities may facilitate the reduction in plant litter provided length and timing of grazing periods are adjusted to favor native species. Grazing prescriptions designed to address exotic grass invasion and favor native species may involve earlier, short, intense grazing periods with proper deferment to improve native species health and vigor. Fall (e.g., September, October) prescribed burning followed by an intensive, early spring graze period with adequate deferment for native grass recovery may shift the competitive advantage to the native species, facilitating the restoration to State 2: Native/Invaded. Prescribed burning should be applied in a manner that enhances the competitive advantage of native grass and forb species over the exotic species. Prescribed burns should be applied at a frequency which mimics the natural disturbance regime, or more frequently as is ecologically (e.g., available fuel load) and economically feasible. Burn prescriptions may need adjustment to: (1) account for change in fine fuel orientation (e.g., “flopped” Kentucky bluegrass); (2) fire intensity and duration by adjusting ignition pattern (e.g., backing fires vs head fires); (3) account for plant phenological stages to maximize stress on exotic species while favoring native species (both cool- and warm-season grasses).
Restoration pathway R4A
State 4 to 3
This restoration pathway from State 4: Shortgrass State to State 3: Invaded State can be initiated by mechanical restoration (e.g., chiseling). The physical soil disturbance will disturb the lesser spikemoss “sod”, allowing existing native and exotic grasses and some forbs to increase.
Context dependence. Restoration will be dependent upon weather conditions, length of time in cropland prior to restoration, and management after mechanical treatment or revegetation. If exotic invasive species (such as crested wheatgrass) are adjacent to this site, the plant community will likely become dominated by invasive cool-season exotic species.
Restoration pathway R5A
State 5 to 2
This Restoration Pathway from State 5: Go-Back State to the State 2: Native/Invaded State can be accomplished with a successful range planting. Following seeding, prescribed grazing, prescribed burning, haying, or use of herbicides will generally be necessary to achieve the desired result and control any noxious weeds. It may be possible using selected plant materials and agronomic practices to approach something very near the functioning of State 2: Native/Invaded State. Application of chemical herbicides and the use of mechanical seeding methods using adapted varieties of the dominant native grasses are possible and can be successful. After establishment of the native plant species, prescribed grazing should include adequate recovery periods following each grazing event and stocking levels which match the available resources; management objectives must include the maintenance of those species, the associated reference state functions, and continued treatment of exotic grasses.
Context dependence. A successful range planting will include proper seedbed preparation, weed control (both prior to and after the planting), selection of adapted native species representing functional/structural groups inherent to the State 1, and proper seeding technique. Management (e.g., prescribed grazing, prescribed burning) during and after establishment must be applied in a manner that maintains the competitive advantage for the seeded native species. Adding non-native species can impact the above and below ground biota. Elevated soil nitrogen levels have been shown to benefit smooth brome and Kentucky bluegrass more than some native grasses. As a result, fertilization, exotic legumes in the seeding mix, and other techniques that increase soil nitrogen may promote smooth brome and Kentucky bluegrass invasion. The method or methods of herbaceous weed treatment will be site specific to each situation; generally, the goal would be to apply the pesticide, mechanical control, or biological control (either singularly or in combination) in a manner that shifts the competitive advantage from the targeted species to the native grasses and forbs. The control method(s) should be as specific to the targeted species as possible to minimize impacts to non-target species.
Restoration pathway R5B
State 5 to 3
A failed range planting and/or secondary succession will lead to State 3: Invaded State.
Context dependence. Failed range plantings can result from many causes (both singularly and in combination) including drought, poor seedbed preparation, improper seeding methods, seeded species not adapted to the site, insufficient weed control, herbicide carryover, poor seed quality (purity & germination), and/or improper management.
Restoration pathway R5C
State 5 to 4
No management inputs will lead to State 4: Shortgrass State.
Context dependence. Failed range plantings can result from many causes (both singularly and in combination) including drought, poor seedbed preparation, improper seeding methods, seeded species not adapted to the site, insufficient weed control, herbicide carryover, poor seed quality (purity & germination), and/or improper management.
Transition T6A
State 6 to 5
This transition from any plant community to State 5: Go-Back State. It is most commonly associated with the cessation of cropping without the benefit of range planting, resulting in a “go-back” situation. Soil conditions can be quite variable on the site, in part due to variations in the management/cropping history (e.g., development of a tillage induced compacted layer (plow pan), erosion, fertility, and/or herbicide/pesticide carryover). Thus, soil conditions should be assessed when considering restoration techniques.
Additional community tables
Table 6. Community 1.1 plant community composition
Group | Common name | Symbol | Scientific name | Annual production (lb/acre) | Foliar cover (%) | |
---|---|---|---|---|---|---|
Grass/Grasslike
|
||||||
1 | Cool-Season Grasses | 165–220 | ||||
western wheatgrass | PASM | Pascopyrum smithii | 110–165 | – | ||
needle and thread | HECOC8 | Hesperostipa comata ssp. comata | 6–28 | – | ||
Sandberg bluegrass | POSE | Poa secunda | 6–28 | – | ||
prairie Junegrass | KOMA | Koeleria macrantha | 6–28 | – | ||
slender wheatgrass | ELTRT | Elymus trachycaulus ssp. trachycaulus | 6–11 | – | ||
slender wheatgrass | ELTRS | Elymus trachycaulus ssp. subsecundus | 6–11 | – | ||
2 | Warm-Season Grasses | 138–193 | ||||
blue grama | BOGR2 | Bouteloua gracilis | 83–138 | – | ||
buffalograss | BODA2 | Bouteloua dactyloides | 6–28 | – | ||
3 | Other Native Grasses | 11–28 | ||||
saltgrass | DISP | Distichlis spicata | 6–28 | – | ||
Grass, perennial | 2GP | Grass, perennial | 6–28 | – | ||
green needlegrass | NAVI4 | Nassella viridula | 0–11 | – | ||
tumblegrass | SCPA | Schedonnardus paniculatus | 0–11 | – | ||
dropseed | SPORO | Sporobolus | 0–11 | – | ||
plains reedgrass | CAMO | Calamagrostis montanensis | 0–11 | – | ||
Grass, annual | 2GA | Grass, annual | 0–6 | – | ||
4 | Grass-Likes | 11–28 | ||||
needleleaf sedge | CADU6 | Carex duriuscula | 6–28 | – | ||
Grass-like (not a true grass) | 2GL | Grass-like (not a true grass) | 0–17 | – | ||
threadleaf sedge | CAFI | Carex filifolia | 6–11 | – | ||
Forb
|
||||||
5 | Forbs | 39–55 | ||||
Forb (herbaceous, not grass nor grass-like) | 2FORB | Forb (herbaceous, not grass nor grass-like) | 0–11 | – | ||
Forb, perennial | 2FP | Forb, perennial | 0–11 | – | ||
common yarrow | ACMI2 | Achillea millefolium | 6–11 | – | ||
purple locoweed | OXLA3 | Oxytropis lambertii | 6–11 | – | ||
silverleaf Indian breadroot | PEAR6 | Pediomelum argophyllum | 6–11 | – | ||
upright prairie coneflower | RACO3 | Ratibida columnifera | 6–11 | – | ||
white heath aster | SYER | Symphyotrichum ericoides | 6–11 | – | ||
onion | ALLIU | Allium | 6 | – | ||
rosy pussytoes | ANRO2 | Antennaria rosea | 6 | – | ||
rush skeletonplant | LYJU | Lygodesmia juncea | 6 | – | ||
leafy wildparsley | MUDI | Musineon divaricatum | 6 | – | ||
woolly plantain | PLPA2 | Plantago patagonica | 6 | – | ||
sticky cinquefoil | POGL9 | Potentilla glandulosa | 6 | – | ||
scarlet globemallow | SPCO | Sphaeralcea coccinea | 6 | – | ||
Nuttall's violet | VINU2 | Viola nuttallii | 6 | – | ||
white sagebrush | ARLU | Artemisia ludoviciana | 0–6 | – | ||
wavyleaf thistle | CIUN | Cirsium undulatum | 0–6 | – | ||
spiny phlox | PHHO | Phlox hoodii | 0–6 | – | ||
Shrub/Vine
|
||||||
6 | Shrubs | 6–28 | ||||
brittle pricklypear | OPFR | Opuntia fragilis | 11–17 | – | ||
prairie sagewort | ARFR4 | Artemisia frigida | 6–11 | – | ||
Nuttall's saltbush | ATNU2 | Atriplex nuttallii | 6–11 | – | ||
plains pricklypear | OPPO | Opuntia polyacantha | 0–11 | – | ||
Shrub (>.5m) | 2SHRUB | Shrub (>.5m) | 0–11 | – | ||
big sagebrush | ARTR2 | Artemisia tridentata | 0–11 | – | ||
broom snakeweed | GUSA2 | Gutierrezia sarothrae | 6 | – | ||
silver sagebrush | ARCA13 | Artemisia cana | 0–6 | – | ||
shadscale saltbush | ATCO | Atriplex confertifolia | 0–6 | – | ||
spinystar | ESVIV | Escobaria vivipara var. vivipara | 0–6 | – | ||
winterfat | KRLA2 | Krascheninnikovia lanata | 0–6 | – | ||
Microbiotic Crusts
|
||||||
7 | Cryptograms | 0–6 | ||||
lesser spikemoss | SEDE2 | Selaginella densa | 0–6 | – |
Interpretations
Animal community
Wildlife Interpretations
Landscape:
The MLRA 58C landscape is characterized by moderately dissected rolling plains with areas of local Badlands, buttes, and isolated hills. MLRA 58C is considered to have a continental climate with cold winters and hot summers, low humidity, light rainfall, and much sunshine. Extremes in temperature are common and characteristic of the MLRA. This area supports natural mixed-grass prairie vegetation with prairie rose, leadplant, and patches of western snowberry interspersed throughout the area. Green ash, chokecherry, and buffaloberry occur in draws and narrow valleys, creating woody riparian corridors. Complex/intermingled ecological sites create diverse grass- and shrubland habitats interspersed with varying densities linear, slope, depressional, and in-stream wetlands associated with headwater streams and tributaries to the Missouri River. These habitats provide critical life-cycle components for many wildlife species.
Historic Communities/Conditions within MLRA 58C:
The northern mixed-grass prairie was a disturbance-driven ecosystem with fire, herbivory, and climate functioning as the primary ecological drivers (either singly or often in combination). Many species of grassland birds, small mammals, insects, reptiles, amphibians, and large herds of Audubon bighorn sheep, roaming bison, elk, and pronghorn were historically among the inhabitants adapted to this semi-arid region. Bighorn sheep have been re-introduced. Roaming herbivores, as well as several small mammal and insect species, were the primary consumers linking the grassland resources to large predators (such as the wolf, mountain lion, and grizzly bear) and smaller carnivores (such as the coyote, bobcat, red fox, and raptors). The black-tailed prairie dog was once abundant and provided ecological services by manipulating the plant and soil community providing habitat for the black-footed ferret, burrowing owl, ferruginous hawk, mountain plover, swift fox, small mammals, and amphibians and reptiles. Extirpated species include free-ranging American bison, Canada lynx, common raven, grizzly bear, gray wolf, black-footed ferret, mountain plover, and peregrine falcon (breeding). Extinct from the region is the Rocky Mountain locust.
Present Communities/Conditions within MLRA 58C:
Following European influence, domestic livestock grazing, elimination of fire, energy development, and other anthropogenic factors influenced plant community composition and abundance. Transportation corridors, energy development, and Rocky Mountain juniper and ponderosa pine encroachment are the main factors contributing to habitat fragmentation, reducing habitat quality for area-sensitive species. These influences fragmented the landscape, reduced or eliminated ecological drivers (fire), and introduced exotic plant species including smooth brome, crested wheatgrass, Kentucky bluegrass, and leafy spurge further impacting plant and animal communities. The loss of the bison, reduction of black-tailed prairie dogs, and fire, as primary ecological drivers, greatly influenced the character of the remaining native plant communities and the associated wildlife moving towards a less diverse and more homogeneous landscape, lacking diverse species composition and stature.
Extensive fragmentation by annual cropping has not occurred within the MLRA. Limited fragmentation from annual cropping or tame hay production has occurred within the Little Missouri River flood plain and the higher, flat plateaus. Fragmentation east and west of MLRA 58C has funneled many species into this area in search of expansive grasslands.
Some wildlife species in this area are: mule deer, white-tailed deer, elk, bighorn sheep, pronghorn, mountain lion, coyote, red fox, bobcat, prairie rattlesnake, American badger, raccoon, North American porcupine, beaver, striped skunk, American mink, white-tailed jackrabbit, black-tailed prairie dog, Eastern and Merriam’s wild turkey, golden eagle, ferruginous hawks, sharp-tailed grouse, greater sage-grouse, black-billed magpie, and numerous species of grassland-nesting birds and pollinating insects. The highest diversity of bats in North Dakota also occurs in this MLRA, where eleven species have been documented.
Presence of wildlife species is often determined by ecological site characteristics including grass and forb species, hydrology, aspect, and other associated ecological sites. Home ranges for most species are larger than one ecological site or are dependent on more than one ecological site for annual life requisites. Ecological sites offer different habitat elements as the annual life requisites change. Habitat improvement and creation must be conducted within the mobility limits of a known population for the species.
Insects play an important role providing ecological services for plant community development. Insects that are scavengers or aid in decomposition provide the food chain baseline sustaining the carnivorous insects feeding upon them. Many insects provide the ecological services necessary for pollination, keeping plant communities healthy and productive. Insects provide a protein food source for numerous species including grassland nesting birds and their young.
Species unique to the MLRA:
Mountain Lions: Mountain lions were relatively common in the Badlands but disappeared from the state by the early 20th Century. Sightings resumed in the 1950’s and have subsequently increased since that time. The species has recently taken up permanent residency within the region. Mountain lions occur in of the Little Missouri Badlands and woody habitat in MLRA 58C. Rugged terrain and forest provide excellent stalking cover to hunt large mammals and other prey. Mountain lions make use of caves for escape and loafing cover.
Bighorn sheep: Bighorn sheep make use of the rugged terrain, rocky outcrops, and high plateaus of MLRA 58C along the Little Missouri River. North Dakota bighorn sheep populations are almost exclusively within MLRA 58C. Bighorn sheep were once extirpated from North Dakota but were successfully reintroduced in the mid-twentieth century. They now occur in several distinct populations within MLRA 58C. Rocky Mountain juniper encroachment degrades the limited habitat for bighorn sheep. Managers should consider bighorn sheep association with domestic sheep, since transfer of pneumonia and other diseases is known to occur.
Golden eagle: The badlands within MLRA 58C are key areas for Golden eagle nesting. Adjacent grasslands, shrublands, and black-tailed prairie dog towns are used for hunting.
Bats: MLRA 58C provides life requisites for several bat species, in part due to presence of riparian forest, wooded draws, caves, and rocky outcrops. Hibernacula of six bat species have been found in MRLA 58C; however, additional work is needed to further understand utilization of hibernacula by bats during the winter months in North Dakota.
Short-horned lizard and sagebrush lizard: This MLRA provides preferred habitat for these two species. The short-horned lizard prefers semi-arid, shortgrass prairie in rough terrain, and is uncommon to locally abundant in MLRA 58C. The rare sagebrush lizard prefers sagebrush and rocky areas provided by this MLRA and adjacent MLRA 58D.
Greater sage-grouse and Brewer’s sparrow: The extreme southwest extension of MLRA 58C have ecological sites capable of producing sufficient big sage canopy cover to provide greater sage-grouse life requisites. MLRA 58C and 58D are the only MLRAs in North Dakota that support Wyoming big sage brush (big sage) production. Research data indicates greater sage-grouse prefer big sagebrush canopy cover for nesting at ≥8% with an average height of around 16 inches. The species prefers winter cover canopy that averages 15% with an average height of around 8 inches. Soil site potential, management, climate, and other factors all play a role in the amount, if any, of big sagebrush on an ecological site. Changes in big sage canopy cover occur slowly (30-50 years) unless the site is impacted by fire or cultivation. Big sage recovery after a burn can take 30 to 100 years. Greater sage- grouse and Brewer’s sparrow habitat and populations are reduced or eliminated when big sagebrush canopy is reduced to less than 8% for greater sage-grouse and 10% cover for Brewer’s sparrow. As conifer encroachment increases, greater sage-grouse lekking activity decreases. Once conifer encroachment exceeds 4% canopy cover, no leks remain.
Species of Concern within the MLRA:
Following is a list of species considered “species of conservation priority” in the North Dakota State Wildlife Action Plan (2015); “species of greatest conservation need” in the Montana State Wildlife Action Plan (2015); and species listed as “threatened, endangered, or petitioned” under the Endangered Species Act within MLRA 58C at the time this section was developed:
Invertebrates: Dakota skipper, monarch butterfly, regal fritillary, yellow-banded bumble bee, and western bumble bee.
Birds: American kestrel, Baird’s sparrow, bald eagle, black-billed cuckoo, bobolink, Brewer’s sparrow, burrowing owl, chestnut-collared longspur, common poorwill, eastern screech-owl ferruginous hawk, golden eagle, grasshopper sparrow, greater sage-grouse, lark bunting, loggerhead shrike, long-billed curlew, marbled godwit, McCown’s longspur, mountain plover, northern harrier, northern pintail, peregrine falcon (migration), prairie falcon, red knot (migration), red-headed woodpecker, sharp-tailed grouse, short-eared owl, Sprague’s pipit, Swainson’s hawk, upland sandpiper, western meadowlark, Wilson’s phalarope, whooping crane (migration), and willet.
Mammals: Big brown bat, black-footed ferret, black-tailed prairie dog, dwarf shrew, gray wolf, hispid pocket mouse, little brown bat, long-eared bat, long-legged bat, meadow jumping mouse, Merriam’s shrew, northern long-eared bat, porcupine, sagebrush vole, swift fox, Townsend’s big- eared bat, and western small-footed bat.
Amphibians and Reptiles: Common snapping turtle, Great Plains toad, greater short-horned lizard, milk snake, northern leopard frog, plains hognose snake, plains spadefoot, sagebrush lizard, smooth softshell, smooth green snake, and spiny softshell.
Fish and Mussels: Blue sucker, burbot, Flathead chub, northern redbelly dace, sickle-fin chub, pearl dace, shortnose gar, sturgeon chub, and sauger.
Grassland Management for Wildlife in the MLRA
Management activities within the community phase pathways impact wildlife. Community phase, transitional, and restoration pathways are keys to long-term management within each State and between States. Significant inputs must occur to cross the threshold between States (e.g., State 3.0 to 2.0) requiring substantial economic inputs and management (mechanical, reseeding, prescribed fire, woody vegetation removal, grazing intensity, etc.). Timing, intensity, and frequency of these inputs can have dramatic positive or negative effects on local wildlife species. Ranchers and other land managers must always consider the long-term beneficial effects of management on the habitat in comparison to potential short-term negative effects to individuals.
Ecological sites occur as intermingled complexes on the landscape with gradual or sometimes abrupt transitions. Rarely do ecological sites exist in large enough acreage to manage independently. Ecological sites, supporting a dominance of herbaceous vegetation (Loamy/Limy Residual), can be located adjacent to ecological sites that support medium to tall shrubs (Loamy Overflow). Conversely, ecological sites that are dominated by short to mid statured grasses (Claypan) can be adjacent to sites with bare soil only supporting minor amounts of short grasses and forbs (Thin Claypan).
Management of these complex ecological sites can provide a heterogeneous or a homogenous landscape. Grassland bird use declines as the plant community transitions to a homogenous state. Managers need to recognize ecological sites and the complexes they occur in to properly manage the landscape. A management regime for one ecological site may negatively impact an adjacent site (e.g., alteration of a grazing regime within a Flat Bottom Wooded Draw ecological site to encourage understory growth may encourage exotic, cool-season grasses to increase or dominate an adjacent ecological site).
Life requisites and habitat deficiencies are determined for targeted species. Deficiencies need to be addressed along community phase, transitional, and restoration pathways as presented in specific state and transition models. Ecological sites should be managed and restored within the capabilities of the site to provide sustainable habitat. Managers also need to consider habitat provided by adjacent/intermingled ecological sites for species with home ranges or life requisites that cannot be provided by one ecological site.
With populations of many grassland-nesting birds in decline, it is important to maintain these ecological sites in a 1.0 Reference State or the 2.0 Native/Invaded. Plant communities, optimal for a guild of grassland species, serve as a population source where the birth rate exceeds mortality. Species may use marginal plant communities; however, these sites may function as a population sink where mortality exceeds the birth rate.
Understanding preferred vegetative stature and sensitivity to woody encroachment is necessary to manage for the specific grassland species. Various grass heights may be used for breeding, nesting, foraging, or winter habitat. While most species use varying heights, many have a preferred vegetative stature height. Please reference the provisional ESD on the North Dakota eFOTG (linked below) for a chart that provides preferred vegetative stature heights and sensitivity to woody vegetation encroachment.
https://efotg.sc.egov.usda.gov/references/public/ND/58C_Thin_Claypan_Narrative_FINAL_Ref_FSG.pdf
Thin Claypan Wildlife Habitat Interpretation:
Thin Claypan ecological sites are identified by the presence of a root-restrictive claypan within a depth of 6 inches and salt accumulations within a depth of 16 inches. These soil conditions severely limit available water capacity, making the site very droughty. In addition, the depth to claypan will cause a mosaic of non-vegetated (slickspots) with vegetated areas within the ecological site, creating a mosaic of short- and mixed grass habitat components that commonly support grassland-nesting birds. This mosaic of slickspots and vegetated areas occurs in all States. In addition, Thin Claypan sites can occur in a complex with Claypan ecological sites. These sites may provide lek sites and brood-rearing habitat for sharp-tailed grouse but limited nesting sites or winter cover. Insects rely on associated forbs and grasses for survival and serve as food sources for birds and their young and as forage for small and large herbivores.
Thin Claypan will support Wyoming big sagebrush but is a minor component (0-2 percent by weight) of the plant community. Big sagebrush productivity and survival is limited by the shallow depth to claypan; it is a fire-intolerant, non-sprouting shrub easily eliminated from the plant community from fire events. Other associated ecological sites include Badland Fan, Clayey, Claypan, Limy Residual, Loamy, Shallow Loamy, and Very Shallow. This complex of ecological sites provides habitat for many edge-sensitive grassland bird species.
Thin Claypan ecological sites may be found in five plant community states (1.0 Reference State, 2.0 Native/Invaded State, 3.0 Invaded State, 4.0 Shortgrass State, and 5.0 Go-Back State) within a local landscape. Within each of these states, slickspots (as described in Community Phase 1.5) occur in patches of varying size scattered across the ecological site. Multiple plant community phases may exist within each state. Today, these states occur primarily in response to grazing and drought. Secondary influences include anthropogenic disturbances, black-tailed prairie dogs, and fire.
Because there is no known restoration pathway from State 2.0 to State 1.0, it is important to intensively manage the land using tools in the community phase pathways in States 1.0 and 2.0 to prevent further plant community degradation (along either the T1A Transitional Pathway to the Native/Invaded State 2.0 or the T2A Transitional Pathway to the Invaded State 3.0 thresholds). Native wildlife generally benefits from grasslands that are heterogeneous in species composition and stature found in States 1.0 and 2.0 that include diverse grass and forb species with varying stature and density. As plant communities degrade within State 2.0, warm-season grasses (particularly short-statured grasses) increase while native forbs are reduced. This transition results in reduced stature and increased plant community homogeneity. When adjacent and/or intermingled, ecological sites undergo the same transition, the result can be an expansive, homogenous landscape.
Success along restoration pathway R3A from State 3.0 to State 2.0 is very difficult and is dependent upon the presence of a remnant native grass population. This concept also applies to wildlife, as the target species must either be present on adjacent State 1.0 or State 2.0 plant communities or on ecological sites within the species’ mobility limits. Species with limited mobility, such as some butterflies, must exist near the plant community in order to utilize restored sites. Mobile species, such as grassland-nesting birds, can easily locate isolated, restored plant communities.
Plant Community Phase 3.1 shows dramatically increased homogeneity of exotic cool-season grasses and further reduction in native forbs. Reduced forb diversity limits insect populations, negatively affecting grassland-nesting bird foraging opportunities. Increased exotic grass litter can limit access to bare ground to nesting insects and can limit mobility by small chicks. A homogenous grassland landscape does not provide quality escape or winter cover. As a result, many species are not able to meet life requisites.
Management along community phase, transition, or restoration pathways should focus upon attainable changes. Short- and long-term monetary costs must be evaluated against short- and long- term ecological services in creating and maintaining habitat of sufficient quality to support a sustainable population density.
1.0 Reference State
Community Phase 1.1 Western Wheatgrass-Blue Grama/Shrubs:
This plant community offers good wildlife habitat; every effort should be made to maintain this ecological site within this community phase. This phase retains high functionality through continued maintenance including prescribed grazing with adequate recovery period as well as prescribed fire. Predominance of grass species in this community favors grazers and mixed-feeders (animals selecting grasses as well as forbs and shrubs). The structural diversity provides habitat for a wide array of migratory and resident birds.
Invertebrates: Insects play a role in maintaining the forb community and provide a forage base for grassland birds, reptiles, and rodents. Ecological services, historically provided by bison, are mirrored by domestic livestock. These services include putting plant material and dung in contact with mineral soil to be used by lower trophic level consumers (such as invertebrate shredders, predators, herbivores, dung beetles, and fungal-feeders).
Dakota skippers do not prefer this site due to limited host plants, such as little bluestem and prairie dropseed. Regal fritillary habitat is limited due to short stature of this plant community and Nuttall's and prairie violets are uncommon. Monarch butterflies may use flowering forbs on this site; however, few milkweed species are found on this site to support caterpillar food. Bumblebees and other native bee utilize forbs as a nectar source and bare ground for nesting amongst bunchgrasses. Prescribed grazing with adequate recovery periods (as well as prescribed fire) to maintain the 1.1 Phase has little effect on nests of ground-dwelling insects.
Birds: This plant community provides quality nesting, foraging, and escape habitats favored by short- to midgrass-nesting birds. Plant stature is conducive for burrowing owl, long-billed curlew, chestnut-collared, and McCown’s longspur. However, areas of slickspots provide bare soils which limit nesting, foraging, and winter cover. This plant community provides areas suitable for sharp-tailed grouse lek sites. Big sagebrush productivity and survival is limited by the shallow depth to claypan; it is a fire-intolerant, non- sprouting shrub easily eliminated from the plant community from fire events. This site should not be managed for Wyoming big sage.
Several species of grassland birds that prefer short- to mid-grass stature will use this site. In years with reduced precipitation or drought, nesting recruitment may be compromised. This plant community provides suitable areas for sharp-tailed and sage grouse lek sites, nesting, and brood-rearing habitat. Limited stature and diverse prey populations provide good hunting opportunities for grassland raptors.
Mammals: The diversity of grasses and forbs provide high nutrition levels for small and large herbivores including voles, mice, rodents, jackrabbits, pronghorn, and deer (white-tailed and mule). Short- to moderate-statured vegetation provides suitable food and thermal, protective, and escape cover for small herbivores such as the hispid pocket mouse.
Amphibians and Reptiles: This ecological site and associated plant communities provides habitat for smooth green snakes. This ecological site can provide habitat for the northern leopard frog and Great Plains toad if freshwater habitats (such as stock water ponds) are located in or adjacent to the site. Silver sagebrush provides habitat to support sagebrush lizard; however, due to the lack of rocky and/or sandy soils, neither the sagebrush lizard nor short-horned lizard may use this ecological site. This ecological site provides limited habitat for the plains hog-nosed snake (prefer sandy soils) and plains spadefoot (prefer gravelly or sandy soils).
Fish and Mussels: This ecological site is not directly associated with streams, rivers, or water bodies. Management on these interconnected sites will have limited, secondary effects on aquatic species.
Community Phase 1.2 Blue Grama-Western Wheatgrass/Shrubs:
Long-term drought with or without heavy grazing will lead to a marked increase in blue grama with a corresponding decrease in western wheatgrass.
Invertebrates: Provides similar life requisites as Community Phase 1.1; however, heavy continuous grazing may negatively impact ground-nesting sites for bumblebees, other native bees, and other ground- nesting insects due to reduction of forbs, timing of forb flowering, or increased soil compaction.
Birds: This plant community provides nesting, foraging, and escape habitats favored by short- to midgrass-nesting birds. A shift to shorter herbaceous plant statures and a short shrub component along Community Phase Pathway 1.1A begins to benefit McCown’s longspur, chestnut-collared longspur, horned lark, and burrowing owl. Species that prefer midgrass statures will be generally successful with normal to above-normal precipitation and a change in management along the 1.2A Community Phase Pathway. In years with reduced precipitation or heavy grazing, nesting recruitment may be compromised even for shortgrass-nesting species. This plant community provides areas suitable for sharp-tailed grouse lek sites. Limited cover and diverse prey populations provide good hunting opportunities for grassland raptors.
Mammals: Provides similar life requisites as Community Phase 1.1; however, stable food, thermal, shelter, and escape cover (reduction in litter) for most mammals is reduced.
Amphibians and Reptiles: Provides similar life requisites as Community Phase 1.1.
Fish and Mussels: Provides similar secondary resources benefits as Community Phase 1.1.
Community Phase 1.3 Blue Grama/Cactus/Annual Forbs/Bare Ground:
Short-statured grasses will dominate with continued heavy grazing, repeated drought, short-term prairie dog occupation, or a combination of these disturbances. Perennial grasses and forbs are reduced in stature and abundance.
Invertebrates: Reduction in forbs (stature and abundance) will reduce nectar availability for foraging insect populations. Continued heavy grazing may negatively impact ground-nesting sites for bumblebees, other native bees, and other ground-nesting insects due to reduction of forbs, timing of forb flowering, or increased soil compaction. However, prairie dog burrows may provide nesting sites for bumblebees.
Birds: This plant community provides nesting, foraging, and escape habitats favored by shortgrass-nesting birds. A shift to shorter plant stature (along Community Phase Pathway 1.2B) benefits McCown’s longspur, chestnut-collared longspur, horned lark, and burrowing owl. However, the shift to increased bare ground, cactus, and bare ground reduce the value of this site for sharp-tailed lek sites. Species that prefer a midgrass stature may be successful with normal to above-normal precipitation and a change in management along the 1.3A Community Phase Pathway. In years with reduced precipitation or heavy grazing, nesting recruitment will be compromised for midgrass-nesting species. Limited cover and diverse prey populations provide good hunting opportunities for grassland raptors.
Mammals: Provides similar life requisites as Community Phase 1.1. Suitable food, thermal, shelter, and escape cover (reduction in litter) for most mammals becomes limited. The loss of diversity of grasses and forbs reduces nutrition levels for small and large herbivores including rodents, white-tailed jackrabbits, and deer. Grazers, such as pronghorn and bison, use prairie dog towns for foraging and loafing.
Amphibians and Reptiles: Provides similar life requisites as Community Phase 1.1.
Fish and Mussels: Provides similar secondary resources benefits as Community Phase 1.1.
Community Phase 1.4 Annual Forbs/Bare Ground/Blue Grama/Fetid Marigold:
Long-term prairie dog occupation shifts this plant community to grazing-tolerant species and annual forbs (e.g., fetid marigold) with a reduction in perennial grasses. Moderate perennial forbs stature and abundance are being replaced by short-statured annual forbs. Bare ground increases and litter amounts and infiltration rates decline while soil surface temperatures increase. This plant community is resilient, retaining sufficient grazing sensitive native plant species to return to the 1.2 or 1.3 community phases via Community Phase Pathway 1.4A and 1.4B, respectively.
Invertebrates: A switch to annual forbs from perennial forbs may reduce season-long nectar producing plants for pollinators. Season-long nectar sources may be found on adjacent plant communities or ecological sites for mobile species. Increased bare ground provides increased nesting sites for bumblebees and other ground-nesting insects.
Birds: This very short-statured phase, driven by short-term prairie dog occupation, is favored by burrowing owls, chestnut-collared, and McCown’s longspur. Prairie dog towns provide abundant prey populations for grassland raptors. The lack of grass and forb stature limits use by many bird species. Managing this phase along Community Phase Pathway 1.4A can be an economical and successful method to restore habitat for many grassland-nesting birds. This plant community phase may not be suitable for sharp-tailed or sage grouse lek sites.
Mammals: Suitable food, thermal, shelter, and escape cover (reduction in litter) for most mammals becomes limited. The loss of diversity of grasses and forbs reduces nutrition levels for small and large herbivores including rodents, white-tailed jackrabbits, and deer. Grazers, such as pronghorn and bison, use prairie dog towns for foraging and loafing. Managing this phase along community phase pathway 1.4A and 1.4B can be an economical and successful method to restore habitat.
Amphibians and Reptiles: Provides similar life requisites as Community Phase 1.1.
Fish and Mussels: Provides similar secondary resources benefits as Community Phase 1.1.
Community Phase 1.5 Bare Ground/Nostoc/Brittle Pricklypear:
This community phase is dominated by bare ground (slickspots) with minimal or no vegetative cover, creating a mosaic with vegetated areas. These slickspot areas will pond water for very brief duration (4 hours to 2 days) after a precipitation event. Community Phase 1.5 provides limited habitat for invertebrates, birds, mammals, amphibians and reptiles, or fish and mussels. This plant community is almost always found in a mosaic with vegetated areas, providing varying degrees of vegetative cover.
2.0 Native/Invaded State
Community Phase 2.1 Western Wheatgrass-Blue Grama/Shrubs: This plant community develops through Transition pathway T1A, due to changes in management (chronic season-long or heavy late season grazing or complete long-term rest) and the presence of exotic, cool-season grasses. The threshold between states 1.0 and 2.0 is crossed when Kentucky bluegrass, crested wheatgrass, annual bromes, smooth brome, or other exotic species become established. This plant community phase has a very similar appearance and function to the Reference State of Community 1.1. However, Community Phase 2.1 has a minor amount of cool-season exotic grasses and forbs. This phase functions at a high level for native wildlife; therefore, managers should consider the 2.0 community phase pathways to avoid transitioning to State 3.0.
Invertebrates: Provides similar life requisites as Community Phase 1.1.
Birds: Provides similar life requisites as Community Phase 1.1.
Mammals: Provides similar life requisites as Community Phase 1.1.
Amphibians and Reptiles: Provides similar life requisites as Community Phase 1.1.
Fish and Mussels: Provides similar secondary resources benefits as Community Phase 1.1.
Community Phase 2.2 Blue Grama-Western Wheatgrass/Shrubs:
Heavy, continuous grazing along Community Phase Pathway 2.1A leads to shorter-statured grasses, such as blue grama. Dominated by shorter-statured grasses and a loss of nitrogen-fixing or leguminous native forbs, the diversity of this plant community is reduced. Prescribed grazing with adequate recovery periods along Community Phase Pathway 2.2A is an efficient, effective method to regain the cool-season grass and forb diversity components in Community Phase 2.1.
Invertebrates: The loss of native forbs and increase in sod-forming grasses limit foraging and nesting sites for all pollinators. Continuous, heavy late season or heavy, season-long grazing may reduce ground- nesting site availability. Homogeneity of forb species may limit season-long nectar availability.
Birds: Heavy, continuous grazing reduces nesting sites, forage (invertebrates), and cover. Plant stature is generally short, serving both mid- and shortgrass-nesting birds. Shortgrass-nesting birds favor this phase. Species that prefer a midgrass stature will be generally successful with normal to above-normal precipitation and a change in management along Community Phase Pathway 2.2A. In years with reduced precipitation or heavy grazing during the nesting season, use by midgrass-nesting species may be compromised. This plant community provides areas suitable for sharp-tailed grouse lek site development. Limited stature and diverse prey populations provide good hunting opportunities for grassland raptors.
Mammals: Suitable food, thermal, protective, and escape cover (reduction in litter) for most mammals become limited. The loss of diversity of grasses and forbs reduces nutrition levels for small and large herbivores including voles, mice, rodents, jack rabbits, pronghorn, and deer.
Amphibians and Reptiles: Provides similar life requisites as Community Phase 1.1.
Fish and Mussels: Provides similar secondary resources benefits as Community Phase 1.1.
Community Phase 2.3 Western Wheatgrass/Exotic Cool-Season Grasses:
Community Phase Pathway 2.2B is characterized by complete rest or light utilization (less than 20%) grazing and elimination of fire when exotic cool-season grasses are present as in Community Phase 2.2. Plant community diversity is reduced with a decline of deeper-rooted native species being replaced by shallow-rooted exotic cool- season grasses with increased plant litter. This plant community is on the cusp of crossing the threshold to the 3.0 Invaded State. The most effective method to regain diverse cool-season grass and forb components in Community Phase 2.3 is prescribed grazing with adequate recovery periods between grazing to shift the competitive edge to native species along Community Phase Pathway 2.3A. Every effort should be used to manage within Community Phase Pathway 2.3A to avoid crossing the threshold into State 3.0. Restoration Pathway R3A requires intensive management and economic inputs to successfully cross back to State 2.0.
Insects: Provides similar life requisites as Community Phase 2.2. The loss of native forbs and increase in sod-forming grasses limit foraging and nesting sites for all pollinators. Homogeneity of forb species may limit season-long nectar availability. Litter buildup, resulting from complete rest or light utilization, may reduce ground-nesting site availability.
Birds: An increase in cool-exotic cool-season grasses move this plant community toward homogeneity. Native grasses still dominate this plant community; however, the increase in cool-season exotic grasses reduces plant stature. With reduced amounts of native grasses and forbs, reduced plant stature, and increased litter, bird species shift from mid- to short-grass species. Sharp-tailed grouse may still use this plant community for leks and brood rearing; however, winter cover must be provided by adjacent ecological sites or plant communities. Management for bird species that prefer mid-statured grasses should follow Community Phase Pathway 2.3A.
Mammals: Provides similar life requisites as Community Phase 2.2.
Amphibians and Reptiles: Provides similar life requisites as Community Phase 1.1.
Fish and Mussels: Provides similar secondary resources benefits as Community Phase 1.1.
Community Phase 2.4 Annual Forbs/Bare Ground/Blue Grama/Fetid Marigold:
This plant community is a result of ecological services provided by long-term black-tailed prairie dog occupation coupled with the introduction of exotic cool-season grasses and annual forbs. Utilizing one or more tools in community phase pathway 2.4A (e.g., removal of black-tailed prairie dogs, control of exotic perennial forbs, implementation of prescribed grazing) can move this community back to phase 2.1; but this may require significant management and economic inputs. Black-tailed prairie dogs provide primary ecological services to transition to and maintain Plant Community Phase 2.4.
Invertebrates: The loss of native forb diversity limits use by all pollinators. However, annual and invasive forbs will provide limited seasonal use depending on bloom period. Bare ground, burrows, and short-plant stature provide nest sites for bumblebees and other ground-nesting insects. Burrowing owls will use prairie dog burrows and place dung around their burrow entrance, attracting dung beetles and other insects as a food source.
Birds: Burrowing owl, as well as chestnut-collared and McCown’s longspurs, rely on the stature and composition that this plant community provides. Presence of black-tailed prairie dogs provided diverse prey populations for grassland raptors including burrowing owls, prairie falcons, and ferruginous hawks. Burrowing owls also nest in abandoned prairie dog burrows.
Mammals: Suitable food, thermal, protective, and escape cover (reduction in litter) for most mammals becomes limited. The loss of grass and forb diversity reduces nutrition levels for small and large herbivores including voles, mice, rodents, white-tailed jackrabbits, cottontail rabbits, and deer. Except for black-tailed prairie dog, this plant community provides little habitat for mid or small herbivores. Nonetheless, black-tailed prairie dog towns provide important habitat for many mammal species, including small rodents. Grazers, such as pronghorn and bison, use prairie dog towns for foraging and loafing.
Amphibians and Reptiles: Prairie dog towns provide habitat for both amphibians and reptiles. Tiger salamanders, prairie rattlesnakes, and other snake species will use the burrow systems of prairie dogs for shelter and denning.
Fish and Mussels: Provides similar secondary resources benefits as Community Phase 1.1.
Community Phase 2.5 Bare Ground/Nostoc/Brittle Pricklypear:
Provides similar secondary resources benefits as Community Phase 1.5.
3.0 Invaded State
Community Phase 3.1 Exotic Cool-Season Grasses-Annual Bromes:
Community phase pathway T2A is characterized by non-use (10 or more years) or low intensity (less than 20 percent utilization) grazing and elimination of fire. This plant community phase can also be the result of prairie dog removal from plant community phase 2.4. This plant community phase is characterized by a dominance (more than 30 percent) of exotic cool-season grasses (such as Kentucky bluegrass, crested wheatgrass, smooth brome, and annual bromes). However, due to the low productivity of this site, native grasses (such as western wheatgrass, needle and thread, and bearded wheatgrass) are still present. Restoration pathway R3A requires remnant amounts of native warm-season grasses, cool-season grasses, and forbs. These remnant populations can only be expressed through frequent prescribed burns and high levels of prescribed grazing management targeting the exotic cool-season grasses. Intensified management along the R3A pathway will have significant short-term negative impacts on wildlife habitat; however, this is necessary to restore long-term habitat functions.
Invertebrates: Provides similar life requisites as Community Phase 2.2. The lack of nectar-producing plants limits forage opportunities for bumblebees, regal fritillary, monarch butterfly, and other pollinating species.
Birds: Provides similar life requisites as Community Phase 2.2.
Mammals: Black-tailed prairie dog expansion is possible in this plant community phase. This community phase provides foraging habitat for pronghorn and deer. Litter accumulation favors thermal, protective, and escape cover for small rodents. However, reduced availability of native grass seed may reduce food availability for species such as the hispid pocket mouse.
Amphibians and Reptiles: Provides similar life requisites as Community Phase 1.1.
Fish and Mussels: Provides similar secondary resources benefits as Community Phase 1.1.
Community Phase 3.2 Bare Ground/Nostoc/Brittle Pricklypear:
Provides similar secondary resources benefits as Community Phase 1.5.
4.0 Shortgrass State
Community Phase 4.1 Lesser Spikemoss/Sandberg Bluegrass/Bare Ground:
Cessation of cropping (relatively short cropping period coupled with the presence of lesser spikemoss) initiates this plant community phase. Lesser spikemoss can cover 25 percent or greater of the area, while sod-forming grasses, such as blue grama, can create dense sod. A limited number of species of perennial forbs (such as white heath aster, purple locoweed, scarlet globemallow, silverleaf Indian breadroot, curlycup gumweed, and common yarrow) provide season-long bloom periods for pollinator species.
Invertebrates: Dense sod of club moss and blue grama/Sandberg bluegrass limits ground-nesting sites for native bees and other ground-nesting insects. The lack of pollinator plant species diversity limits forage opportunities for bumblebees, regal fritillary, monarch butterfly, and other pollinating species.
Birds: Club moss and blue grama and/or Sandberg bluegrass sod provides a short-statured plant community favoring grassland-nesting birds that prefer short-statured vegetation. This plant community provides favorable habitat for chestnut-collared and McCown’s longspurs. A reduced forb component may limit foraging opportunities.
Mammals: Suitable food, thermal, shelter, and escape cover for most mammals becomes limited.
Amphibians and Reptiles: Provides similar life requisites as Community Phase 1.1.
Fish and Mussels: Provides similar secondary resources benefits as Community Phase 1.1.
Community Phase 4.2 Bare Ground/Nostoc/Brittle Pricklypear:
Provides similar secondary resources benefits as Community Phase 1.5.
5.0 Go-Back State
Community Phase 5.1 Annual/Pioneer Perennial/Exotics: These plant communities are the result of severe soil disturbance (such as cropping, recreational activity, or concentrated livestock activity for a prolonged period). Following cessation of disturbances, the resulting plant community is dominated by early pioneer annual and perennial plant species. Plant species composition and production are highly variable. Weedy plants can provide pollinator habitat along with spring and summer cover for many mammals and birds and for their young.
Successful restoration of native species along transition pathway R5B results in a native grass and forb community in State 2.0. Failed restoration to native species through restoration pathway R5A results in Invaded State 3.0. Wildlife species response will be dependent upon plant community composition, vegetative stature, patch size, and management activities (such as prescribed grazing, burning, interseeding, haying, or noxious weed control).
Grazing Interpretations
This site is well adapted to managed grazing by domestic livestock. The predominance of herbaceous plants across all plant community phases best lends these sites to grazing by cattle, but other domestic grazers with differing diet preferences may also be a consideration depending upon management objectives. Often, the current plant community does not match any particular plant community (as described in the ecological site description). Because of this, a resource inventory is necessary to document plant composition and production. Proper interpretation of this inventory data will permit the establishment of a safe, initial stocking rate for the type and class of animals and level of grazing management. More accurate stocking rate estimates should eventually be calculated using actual stocking rate information and monitoring data.
NRCS defines prescribed grazing as “managing the harvest of vegetation with grazing and/or browsing animals with the intent to achieve specific ecological, economic, and management objectives”. As used in this site description, the term ‘prescribed grazing’ is intended to include multiple grazing management systems (e.g., rotational grazing, twice-over grazing, conservation grazing, targeted grazing, etc.) provided that, whatever management system is implemented, it meets the intent of prescribed grazing definition.
The basic grazing prescription addresses balancing forage demand (quality and quantity) with available forage, varying grazing and deferment periods from year-to-year, matching recovery/deferment periods to growing conditions when pastures are grazed more than once in a growing season, implementation of a contingency (e.g., drought) plan, and a monitoring plan. When the management goal is to facilitate change from one plant community phase or state to another, then the prescription needs to be designed to shift the competitive advantage to favor the native grass and forb species.
Grazing levels are noted within the plant community narratives and pathways in reference to grazing management on adjacent sites. “Degree of utilization” is defined as the proportion of the current years forage production that is consumed and/or destroyed by grazing animals (may refer to a single plant species or a portion or all the vegetation). “Grazing utilization” is classified as slight, moderate, full, close, and severe (see the following table for description of each grazing use category). The following utilization levels are also described in the Ranchers Guide to Grassland Management IV. Utilization levels are determined by using the landscape appearance method as outlined in the Interagency Technical Reference “Utilization Studies and Residual Measurements” 1734-3.
Utilization Level:
Slight (Light) 0-20% Appears practically undisturbed when viewed obliquely. Only choice areas and forage utilized.
Moderate 20-40% Almost all of accessible range shows grazing. Little or no use of poor forage. Little evidence of trailing to grazing.
Full 40-60% All fully accessible areas are grazed. The major sites have key forage species properly utilized (about half taken, half left). Points of concentration with overuse limited to 5 to 10 percent of accessible area.
Close (Heavy) 60-80% All accessible range plainly shows use and major sections closely cropped. Livestock forced to use less desirable forage, considering seasonal preference.
Severe > 80% Key forage species completely used. Low-value forages are dominant.
Hydrological functions
Available water is the principal factor limiting forage production on this site. This site is dominated by soils in hydrologic group D; a few soils are in group C. Infiltration ranges from slow to very slow; runoff potential for this site varies from low to very high depending on surface texture, slope shape, slope percent, and ground cover. The dense claypan layer slows water movement through the soil profile. In many cases, areas with greater than 75% ground cover have the greatest potential for higher infiltration and lower runoff. An example of an exception would be where shortgrasses form a strong sod and dominate the site. Dominance by blue grama, Kentucky bluegrass, crested wheatgrass, annual bromes, and/or smooth brome will result in reduced infiltration and increased runoff. Areas where ground cover is less than 50% have the greatest potential to have reduced infiltration and higher runoff (refer to Section 4, NRCS National Engineering Handbook for runoff quantities and hydrologic curves).
Recreational uses
The largest acreage of public land available for recreation in the MLRA is owned and managed by the United States Forest Service (USFS) within the Little Missouri National Grasslands in North Dakota (525,211 acres). These areas are available for hunting, fishing, hiking, camping, horse and bike riding, nature viewing, etc. In addition, the Bureau of Land Management (BLM) manages 30,895 acres in North Dakota and Montana with the same recreational opportunities as the USFS lands. North Dakota and Montana Department of Trust Lands (80,220 acres) provide hunting, bird watching, hiking, and other outdoor recreation opportunities. North Dakota Wildlife Management Areas (3,447 acres) of land managed by the states for wildlife habitat in MLRA 58C.
MLRA 58C is home to the North and South Units of Theodore Roosevelt National Park. The Park encompasses approximately 70,000 acres and welcomes approximately 900,000 visitors annually. 29,920 acres of the park is designated Wilderness Area. The south unit of the park has a 48-mile scenic drive while the north unit has a 28-mile scenic drive. The Badland and associated ecological sites provide the main scenery attraction.
Bird watching: Public and private grasslands within MLRA 58C provide essential habitat for prairie-dependent bird species (such as Sprague's pipits, western meadowlark, and Baird's sparrow) along with some of the larger, showy members of the upland prairie including marbled godwits, upland sandpipers, and willets. The abundance of publicly owned lands (such as Theodore Roosevelt National Park, USFS, North Dakota Department of Trust Lands, BLM, etc.) provide excellent birding opportunities. MLRA 58C is in the Central Flyway.
Hunting/Fishing: MLRA 58C is a fall destination for upland game bird hunters, especially sharp-tailed grouse. This MLRA also provides excellent white-tailed deer, mule deer, pronghorn, elk, coyote, and mountain lion hunting opportunities along with the only bighorn sheep hunting units in the North Dakota. The North Dakota Game and Fish Department manages three man-made fishing lakes within the MLRA. Available species include rainbow and brown trout, bluegill, and largemouth and smallmouth bass.
Camping: Many camping opportunities exist in the MLRA. Modern and primitive camping is available at the Theodore Roosevelt National Park, Sully’s Creek State Park, Little Missouri State Park, Buffalo Gap Campground, BLM land, and the Dakota Prairie National Grasslands. The Sully’s Creek and Little Missouri State Parks are designated horse parks.
Hiking/Biking: Over 150 miles of the May-Daah-Hey Trail provide some of the best single-track trails in the world for biking, hiking, or horseback riding. The International Mountain Biking Association (IMBA) has designated the hiking, biking, and horseback riding trail as EPIC - meaning it’s one of the top mountain biking trails in the United States. The trail has nine fenced campgrounds, each accessible by gravel surfaced roads; they include camping spurs, potable water, hitching rails, picnic tables, fire rings, and accessible toilets. They are spaced about every 20 miles along the trail. The North and South Units of the Theodore Roosevelt National Park provide 38.9 and 49.6 miles, respectively, of hiking trails for walkers, bikers, or horseback riders. The Little Missouri State Park has 45 miles of trails that run through the North Dakota Badlands.
Canoeing: Traversing 274 miles through MLRA 58C, the Little Missouri River provides early spring canoeing and kayaking. The Little Missouri River is the only designated State Scenic River in the MLRA. The river passes through Sully Creek State Park, the Little Missouri National Grassland, and Theodore Roosevelt National Park.
Wood products
No appreciable wood products are present on the site.
Other products
No appreciable products available on this site.
Other information
This ESD is the best available knowledge. The site concept and species composition table have been used in the field and tested for more than five years. It is expected that as additional information becomes available revisions may be required.
Supporting information
Inventory data references
Information presented here has been derived from NRCS and other federal/state agency clipping and inventory data. Also, field knowledge of range-trained personnel was used. All descriptions were peer reviewed and/or field-tested by various private, state, and federal agency specialists.
Other references
Abbott, P.L., 2004, Natural disasters, New York, McGraw-Hill Companies, Inc., 460 p.
Bakker, K.K. 2003. The effect of woody vegetation on grassland nesting birds: an annotated bibliography. The Proceedings of the South Dakota Academy of Science 82:119-141.
Barker, W.T. and W. C. Whitman. 1988. Vegetation of the Northern Great Plains. Rangelands 10: 266-272h
Barnhart, Paul. 2017. Documentation of overwintering bat species presence and hibernacula use in the badlands of North Dakota, Northwestern Naturalist 98(1), 48-56, (1 March 2017). https://doi.org/10.1898/NWN15-34.1.
Bjustad, A. J. 1965. Vegetation measurements in relation to range condition classification on the principal range sites of southwestern North Dakota. Ph.D. Thesis. North Dakota State University.
Bluemle. J.P. 2016. North Dakota’s geologic legacy. North Dakota State University Press. 382 pages.
Brand, M. D. and H. Goetz. 1986. Vegetation of exclosures in southwestern North Dakota. Journal of Range Management 39:434-437.
Briske, D.D. (editor). 2017. Rangeland systems – processes, management, and challenges. Springer Series on Environmental Management. 661 pages.
DeKeyser, S., G. Clambey, K. Krabbenhoft and J. Ostendorf. 2009. Are changes in species composition on central North Dakota rangelands due to non-use management? Rangelands 31:16-19.
Dodd, J.L. 1970. Distribution and community site relations of bluebunch wheatgrass in North Dakota. Ph.D. Thesis. North Dakota State University.
Dyke, S. R., S. K. Johnson, and P.T. Isakson. 2015. North Dakota state wildlife action plan – North Dakota Game and Fish Department.
Ehrenfeld, J.G. 2002. Effects of exotic plant invasions on soil nutrient cycling processes. Ecosystems 6:503- 523.
Endangered and threatened wildlife and plants; designation of critical habitat for the Dakota skipper and Poweshiek skipperling; Vol. 79 No. Final Rule October 1, 2015, 50 CFR Part 17.
Ereth, C., J. Hendrickson, D. Kirby, E. DeKeyser, K. Sedevic, and M. West. Controlling Kentucky bluegrass with herbicide and burning is influenced by invasion level. Invasive Plant Science and Management 10:80-89.
Flesland, J.R. 1964. Composition and structure of the salt-desert shrub type in the badlands of western North Dakota. M.S. Thesis. North Dakota State University.
Gilgert, W.; and S. Zack. 2010. Integrating multiple ecosystem services introduction ecological site descriptions. Rangelands 32:49-54.
Gillam, Erin. Distribution and habitat use of the bats of North Dakota, Final Report, T2-5-R Bat Survey Final Report 2012_0.pdf (nd.gov).
Grant, T.A. and R.K. Murphy. 2005. Changes on woodland cover on prairie refuges in North Dakota, USA. Natural Areas Journal 25:359-368.
Hanson, H.C and W. Whitman. 1938. Characteristics of major grassland types in western North Dakota. Ecological Monographs 8:57-114.
Heitschmidt, R. K., K. D. Klement, and M. R. Haferkamp. 2005. Interactive effects of drought and grazing on Northern Great Plains rangelands. Rangeland Ecology and Management 58:11-19.
Hendrickson, J.R., P. S. Johnson, M. A. Liebig, K. K. Sedivec, and G. A. Halvorson. 2016. Use of ecological sites in managing wildlife and livestock: an example with prairie dogs. Rangelands 38:23-28.
Higgins, K.F. 1984. Lightning fires in North Dakota grasslands and in pine-savanna lands of South Dakota and Montana. Journal of Range Management 37:100-103.
Higgins, K.F. 1986. Interpretation and compendium of historical fire accounts in the northern great plains. United States Department of Interior, Fish and Wildlife Service. Resource Publication 161. 39 pages.
Higgins, K. F., A. D. Kruse, and J. L. Piehl. 1987. Effects of fire in the northern Great Plains. South Dakota State University Extension Circular Paper 429.
High Plains Regional Climate Center, University of Nebraska. http://hprcc.unl.edu, Accessed on May 1, 2017.
Hirsch, K.L. 1985. Habitat type classification of grasslands and shrublands of southwestern North Dakota. Ph.D. Thesis. North Dakota State University.
Johnson, S. 2015. Reptiles and amphibians of North Dakota. North Dakota Game and Fish Department. 64 pages.
Jordan, N. R., D.L. Larson, and S.C. Huerd. 2008. Soil modification by invasive plants: effects on native and invasive species of mixed-grass prairies. Biological Invasions 10:177-190.
Mader, E., M. Shepherd, M. Vaughan, and S.H. Black. 2011. Attracting native pollinators: protecting North America's bees and butterflies. Accessed at https://xerces.org, May 1, 2017.
Montana’s State Wildlife Action Plan. 2015. Montana Fish, Wildlife and Parks. Viewed at https://xerces.org/ on May 1, 2017.
North Dakota Division of Tourism, Accessed on February 25, 2019. Available at https://www.ndtourism.com/sports-recreation
North Dakota Parks and Recreation Department, Accessed on February 25, 2019. Available at http://www.parkrec.nd.gov/recreationareas/recreationareas.html
Palit, R., G. and E.S. DeKeyser. 2022. Impacts and drivers of smooth brome (Bromus inermis Leyes.) invasion in native ecosystems. Plants: 10,3390. http://http://http://http://https://www.mdpi.com/2223-7747/11/10/1340
Palit, R., G. Gramig, and E.S. DeKeyser. 2021. Kentucky bluegrass invasion in the Northern Great Plains and prospective management approaches to mitigate its spread. Plants: 10,817. https://doi.org/10.3390/plants10040817
Printz, J.L. and J.R. Hendrickson. 2015. Impacts of Kentucky bluegrass invasion (Poa pratensis) on ecological processes in the Northern Great Plains. Rangelands 37:226-232.
Redmann, R.E. 1975. Production ecology of grassland plant communities in western North Dakota. Ecological Monographs 45:83-106.
Reeves, J.L., J.D. Derner, M.A. Sanderson, J.R. Hendrickson, S.L. Kronberg, M.K. Petersen, and L.T. Vermeire. 2014. Seasonal weather influences on yearling beef steer production in C3-dominated Northern Great Plains rangeland. Agriculture, Ecosystems and Environment 183:110-117.
Robinson, A.C. 2014. Management plan and conservation strategies for greater sage grouse in North Dakota. North Dakota Game and Fish Department.
Royer, R. A., 2003. Butterflies of North Dakota: an atlas and guide. Minot State University.
Sanford, R.C. 1970. Skunk bush in the North Dakota badlands: ecology, phytosociology, browse production, and utilization. Ph.D. Thesis. North Dakota State University.
Seabloom, R. 2020. Mammals of North Dakota. North Dakota State University Press.
Sedivec, K.K., and J.L. Printz. 2014. Ranchers guide to grassland management IV. North Dakota State University Extension Service publication R1707.
South Dakota Dept. of Game, Fish and Parks. 2014. South Dakota wildlife action plan. Wildlife Division Report 2014-03.
Spaeth, K.E., Hayek, M.A., Toledo, D., and Hendrickson, J. 2019. Cool season grass impacts on native mixed grass prairie species in the Northern Great Plains. America’s Grassland Conference: Working Across Boundaries. The Fifth Biennial Conference on the Conservation of America’s Grasslands. Bismarck, ND. 20- 22 August.
Steffens, Tim, G. Grisson, M. Barnes, F. Provenza, and R. Roath. Adaptive grazing management for recovery. Know why you’re moving from paddock to paddock. Rangelands 35(5):28–34
Tidwell, D., D.T. Fogarty, and J.R. Weir. 2021. Woody encroachment in grasslands, a guide for understanding risk and vulnerability. Oklahoma State University, Oklahoma Cooperative Extension Service Publication E- 1054. 32 pages.
Toledo, D., M. Sanderson, K. Spaeth, J. Hendrickson, and J. Printz. 2014. Extent of Kentucky bluegrass and its effect on native plant species diversity and ecosystem services in the Northern Great Plains of the United State. Invasive Plant Science and Management 7:543-552.
United States Department of Agriculture, Natural Resources Conservation Service. 2006. Land Resource Regions and Major Land Resource Areas of the United States, the Caribbean, and the Pacific Basin. U.S. Department of Agriculture Handbook 296.
USDA, NRCS. National Water and Climate Center. (http://www.wcc.nrcs.usda.gov)
USDA, NRCS. National range and pasture handbook, September 1997.
USDA, NRCS. National Soil Information System, Information Technology Center. Accessed on May 1, 2017 at http://nasis.nrcs.usda.gov.
USDA, NRCS. 2001. The PLANTS Database, Version 3.1. http://plants.usda.gov. Accessed May 2, 2017.
USDA, NRCS. 2021. Species diversification of crested wheatgrass dominated grasslands: a review of methods. Plant Materials Technical Note No. MT-126 November 2021.
USDA, NRCS, Various published soil surveys.
USDI BLM. Utilization studies and residual measurements. Interagency Technical Reference 1734-3. 1999.
Vinton, M.A. and E.M. Goergen. 2006. Plant-soil feedbacks contribute to the persistence of Bromus inermis in tallgrass prairie. Ecosystems 9:967-976.
Whitman, W., H. Hanson, and R. Peterson. 1943. Relation of drought and grazing to North Dakota rangelands. North Dakota Agricultural Experimentation Bulletin 320.
Zaczkowski, N. K. 1972. Vascular flora of Billings, Bowman, Golden Valley, and Slope counties, North Dakota. Ph.D. Thesis, North Dakota State University.
Zimmerman, G. M. 1981. Effects of fire upon selected plant communities in the little Missouri badlands. M.S. Thesis, North Dakota State University.
Contributors
ND NRCS: David Dewald, Alan Gulsvig, Mark Hayek, Jeanne Heilig, John Kempenich, Chuck Lura, Jeff Printz, and Steve Sieler.
Approval
Suzanne Mayne-Kinney, 4/21/2025
Acknowledgments
NRCS would like to acknowledge the United State Forest Service (USFS) and National Park Service (NPS) for access to USFS and NPS properties and technical assistance in ESD development. USFS: Jack Dahl, Nickole Dahl, Chad Prosser, Jack Butler; NPS: Chad Sexton.
Rangeland health reference sheet
Interpreting Indicators of Rangeland Health is a qualitative assessment protocol used to determine ecosystem condition based on benchmark characteristics described in the Reference Sheet. A suite of 17 (or more) indicators are typically considered in an assessment. The ecological site(s) representative of an assessment location must be known prior to applying the protocol and must be verified based on soils and climate. Current plant community cannot be used to identify the ecological site.
Author(s)/participant(s) | USDA-NRCS North Dakota |
---|---|
Contact for lead author | NRCS State Rangeland Management Specialist |
Date | 04/26/2025 |
Approved by | Suzanne Mayne-Kinney |
Approval date | |
Composition (Indicators 10 and 12) based on | Annual Production |
Indicators
-
Number and extent of rills:
Rills are not expected on slopes of less than 9%. On slopes greater than 9%, short (less than 6 inches), scattered rills are expected, primarily associated with the transition zone between the vegetated areas and the adjacent bare ground (“slickspots”). -
Presence of water flow patterns:
Scattered, short (less than 3 feet), disconnected water flow patterns are expected on this site when slopes are less than 9%. When slopes are greater than 9%, longer (less than 10 feet) water flow patterns would be expected with scattered debris dams. -
Number and height of erosional pedestals or terracettes:
Pedestals and terracettes are not expected when slopes are less than 9%. Pedestals and small terracettes may be present when slopes exceed 9%. -
Bare ground from Ecological Site Description or other studies (rock, litter, lichen, moss, plant canopy are not bare ground):
Bare ground ranges from 40 to 60%. “Slickspots” (bare ground) of varying size (several inches to several feet), are expected for this site. -
Number of gullies and erosion associated with gullies:
Active gullies are not expected on this site. If present, gully channel(s) are fully vegetated with no active erosion visible. -
Extent of wind scoured, blowouts and/or depositional areas:
No wind-scoured or depositional areas expected on this site. -
Amount of litter movement (describe size and distance expected to travel):
Plant litter movement is not expected for this site when slopes are less than 6%. When slopes exceed 6%, some movement of small/fine class of plant litter may be observable in “slickspots”. -
Soil surface (top few mm) resistance to erosion (stability values are averages - most sites will show a range of values):
Stability class averages 3 or greater. Lower averages expected on the “slickspots” or plant interspaces while higher averages expected under plant canopy. -
Soil surface structure and SOM content (include type of structure and A-horizon color and thickness):
Primary surface structure for PCP 1.1 is granular (A-horizon) and/or platy (E-horizon). For PCP 1.1, E- and/or A-horizon is 1 to 6 inches to claypan.
Primary surface structure for PCP 1.5 is platy. For PCP 1.5, E-horizon is < 1 inch thick.
For PCP 1.1 and 1.5, E-horizon is dark grayish brown (10YR 4/2 moist) or light brownish gray (10YR 6/2 dry); A- horizon is very dark grayish brown (10YR 3/2 moist) or grayish brown (10YR 5/2 dry). -
Effect of community phase composition (relative proportion of different functional groups) and spatial distribution on infiltration and runoff:
Mid- and short-statured bunchgrasses and mid- and short-statured rhizomatous grasses are dominant and well distributed across the site. Grass-likes and shrubs are subdominant. -
Presence and thickness of compaction layer (usually none; describe soil profile features which may be mistaken for compaction on this site):
No compaction layer would be expected except for the naturally occurring pan within 6 inches of the soil surface. -
Functional/Structural Groups (list in order of descending dominance by above-ground annual-production or live foliar cover using symbols: >>, >, = to indicate much greater than, greater than, and equal to):
Dominant:
Phase 1.1
Mid & short C4 bunch grasses (2); Mid & short C3 rhizomatous grasses
(1); Mid & short C3 bunch grasses (5)Sub-dominant:
Phase 1.1
Forbs (13)Other:
Minor - Phase 1.1
Mid & short C4 rhizomatous grasses; Grass-likes; Shrub
Trace- Phase 1.1
Evergreen forbsAdditional:
Due to differences in phenology, root morphology, soil biology relationships, and nutrient cycling Kentucky bluegrass, smooth brome, and crested wheatgrass are included in a new Functional/structural group, mid- and short-statured early cool-season grasses (MSeC3), not expected for this site.
To see a full version 5 rangeland health worksheet with functional/structural group tables, please use the following hyperlink:
https://efotg.sc.egov.usda.gov/references/public/ND/58C_Thin_Claypan_Narrative_FINAL_Ref_FSG.pdf -
Amount of plant mortality and decadence (include which functional groups are expected to show mortality or decadence):
Dead or dying plants/plant parts would be expected on 5 to 10% of the plants on this site. -
Average percent litter cover (%) and depth ( in):
Plant litter cover is 5 to 10% with a depth of 0.1 to 0.25 inches. Litter is in contact with the soil surface. -
Expected annual annual-production (this is TOTAL above-ground annual-production, not just forage annual-production):
Annual air-dry production is 550 lbs./ac (reference value) with normal precipitation and temperatures. Low and high production years should yield 150 lbs./ac to 950 lbs./ac, respectively. -
Potential invasive (including noxious) species (native and non-native). List species which BOTH characterize degraded states and have the potential to become a dominant or co-dominant species on the ecological site if their future establishment and growth is not actively controlled by management interventions. Species that become dominant for only one to several years (e.g., short-term response to drought or wildfire) are not invasive plants. Note that unlike other indicators, we are describing what is NOT expected in the reference state for the ecological site:
State and local noxious species, Kentucky bluegrass, smooth bromegrass, crested wheatgrass, and Rocky Mountain juniper. -
Perennial plant reproductive capability:
Noninvasive species in all functional/structural groups are vigorous and capable of reproducing annually under normal weather conditions.
Print Options
Sections
Font
Other
The Ecosystem Dynamics Interpretive Tool is an information system framework developed by the USDA-ARS Jornada Experimental Range, USDA Natural Resources Conservation Service, and New Mexico State University.
Click on box and path labels to scroll to the respective text.
Ecosystem states
States 2 and 5 (additional transitions)
T1A | - | Introduction of exotic cool-season grasses |
---|---|---|
T2A | - | Extended periods of non-use or very light grazing, no fire |
R3A | - | Long-term prescribed grazing and prescribed burning with possible range planting |
R4A | - | Mechanical treatment (e.g. chiseling) |
R5A | - | Successful range planting with prescribed grazing and prescribed burning |
R5B | - | Failed range planting and/or secondary succession |
R5C | - | No management inputs |
T6A | - | Cessation of annual cropping |
State 1 submodel, plant communities
1.1A | - | Long-term drought with/without heavy, long-term grazing |
---|---|---|
1.1B | - | Introduction of prairie dogs |
1.2A | - | Return to average precipitation and reduced grazing |
1.2B | - | Introduction of prairie dogs |
1.3A | - | Abandonment of prairie dogs |
1.3B | - | Long-term prairie dog occupation |
1.3C | - | Soil erosion |
1.4B | - | Abandonment of prairie dogs, return to average precipitation |
1.4A | - | Abandonment of prairie dogs, return to average precipitation |
1.5A | - | Soil deposition |
State 2 submodel, plant communities
2.1A | - | Heavy, season-long grazing with or without drought |
---|---|---|
2.1B | - | Light grazing, no fire |
2.2A | - | Prescribed grazing and and prescribed burning, return to average precipitation |
2.2B | - | Rest or light utilization, no fire |
2.3A | - | Prescribed grazing and prescribed burning |
2.3B | - | Long-term prairie dog occupation |
2.4A | - | Removal or abandonment of prairie dogs |
2.4B | - | Soil erosion |
2.5A | - | Soil deposition |
State 3 submodel, plant communities
3.1A | - | Soil erosion |
---|---|---|
3.2A | - | Soil deposition |
State 4 submodel, plant communities
4.1A | - | Soil erosion |
---|---|---|
4.2A | - | Soil deposition |