
Natural Resources
Conservation Service
Ecological site R055CY014SD
Shallow To Gravel
Last updated: 1/31/2024
Accessed: 10/19/2025
General information
Provisional. A provisional ecological site description has undergone quality control and quality assurance review. It contains a working state and transition model and enough information to identify the ecological site.

Figure 1. Mapped extent
Areas shown in blue indicate the maximum mapped extent of this ecological site. Other ecological sites likely occur within the highlighted areas. It is also possible for this ecological site to occur outside of highlighted areas if detailed soil survey has not been completed or recently updated.
MLRA notes
Major Land Resource Area (MLRA): 055C–Southern Black Glaciated Plains
The Southern Black Glaciated Plains (55C) is located within the Northern Great Plains Region. It is entirely within South Dakota encompassing about 10,835 square miles (Figure 1). The elevation ranges from 1,310 to 1,970 square feet. The MLRA is on nearly level to undulating glacial till plains interrupted by steeper slopes adjacent to streams and moraines. The James River is an under-fit stream. Its valley was carved by floodwaters draining glacial Lake Dakota and is filled with glacial outwash and alluvial deposits. (USDA-NRCS, 2006).
The dominant soil order in this MLRA is Mollisols. The soils in the area dominantly have a mesic soil temperature regime, an ustic soil moisture regime, and mixed or smectitic mineralogy. They generally are very deep, well drained to very poorly drained, and clayey or loamy. This area supports natural prairie vegetation characterized by western wheatgrass (Pascopyrum smithii), green needlegrass (Nassella viridula), needle and thread (Hesperostipa comata), and porcupinegrass (Hesperostipa spartea) with Prairie cordgrass (Spartina pectinata), and reed canarygrass (Phalaris arundinacea) as the dominant vegetation on the poorly drained soils. (USDA-NRCS, 2006).
Classification relationships
Major Land Resource Area (MLRA): Southern Black Glaciated Plains (55C) (USDA-NRCS, 2006)
USFS Subregions: North Central Glaciated Plains Section (251B); Yankton Hills and Valleys Subsection (251Bf); Western Glaciated Plains Section (332B); James River Lowland Subsection (332Bb); North Central Great Plains Section (332D); Southern Missouri Coteau Slope Subsection (332Dd); Southern Missouri Coteau Subsection (332De) - (Cleland et al., 2007).
US EPA Level IV Ecoregion: Southern Missouri Coteau (42e); Southern Missouri Coteau Slope (42f); James River Lowland (46n) - (USEPA, 2013)
Ecological site concept
The Shallow to Gravel ecological site typically occurs in the upland areas, but some maybe located on a higher floodplain. Soils are somewhat excessively drained and have sand and gravel within 10 to 20 inches of the soil surface. In some areas the surface layer may consist of stony to extremely stony. The water holding capacity of the sand and gravel is low, leaving less soil moisture for plant growth, production is lower, and species composition will tend towards more drought tolerant. Slopes can range from 0 to 25 percent. Vegetation in the Reference State is dominated by cool and warm-season grasses including needle and thread, little bluestem, and blue grama. Non-native grasses such as Kentucky bluegrass and smooth brome may invade due to shifts in disturbance regime.
Associated sites
R055CY009SD |
Sandy These sites occur on upland areas. The soils are well to moderately well drained and have surface and subsoil textures which are sandy loam, fine sandy loam, and loamy very fine sand. The central concept soil series are Blendon and Henkin, but other series are included. |
---|---|
R055CY010SD |
Loamy These sites occur on upland areas. The soils are well drained and have sand and gravel at a depth of greater than 20 inches below the soil surface. The central concept soil series is Enet, but other series are included. |
R055CY012SD |
Thin Upland These sites occur on upland areas. The soils are well drained and will effervesce with acid at or near the surface. The central concept soil series are Betts and Ethan, but other series are included. |
R055CY016SD |
Very Shallow These sites occur on upland areas. The soils are excessively drained and have sand and gravel within 10 inches of the soil surface. The central concept soil series is Talmo, but other series are included. |
Similar sites
R055CY010SD |
Loamy The Loamy site occurs in a similar landscape position and does not have sand and gravel within 10 to 20 inches of the soil surface. |
---|---|
R055CY009SD |
Sandy The Sandy site occurs in a similar landscape position and does not have sand and gravel within 10 to 20 inches of the soil surface. The Loamy site will have more green needlegrass and western wheatgrass, and less needle and thread than a Shallow to Gravel site. |
Table 1. Dominant plant species
Tree |
Not specified |
---|---|
Shrub |
Not specified |
Herbaceous |
(1) Hesperostipa comata ssp. comata |
Physiographic features
This site occurs on nearly level to moderately sloping uplands.

Figure 2. Site Distribution Map for the Shallow to Gravel Site in MLRA 55C.
Table 2. Representative physiographic features
Landforms |
(1)
Outwash plain
(2) Outwash terrace |
---|---|
Flooding frequency | None |
Ponding frequency | None |
Elevation | 1,300 – 2,000 ft |
Slope | 1 – 15% |
Water table depth | 80 in |
Aspect | Aspect is not a significant factor |
Climatic features
MLRA 55C is considered to have a continental climate: Cold winters and hot summers, low humidity, light rainfall, and much sunshine. Extremes in temperature may also abound. The climate is the result of this MLRA’s location near the geographic center of North America. There are few natural barriers on the Northern Great Plains, and air masses move freely across the plains and account for rapid changes in temperature.
Annual precipitation typically ranges from 19 to 25 inches per year. The average annual temperature is about 47°F. January is the coldest month with average temperatures ranging from about 15°F (Howard, South Dakota [SD]), to about 20°F (Wagner, SD). July is the warmest month with temperatures averaging from about 73°F (Howard, SD), to about 77°F (Wagner, SD). The range of normal average monthly temperatures between the coldest and warmest months is about 58°F. This large annual range attests to the continental nature of this area's climate. Hourly winds are estimated to average about 12 miles per hour (mph) annually, ranging from about 13 mph during the spring to about 11 mph during the summer. Daytime winds are generally stronger than nighttime, and occasional strong storms may bring brief periods of high winds with gusts to more than 50 mph.
Growth of cool-season plants begins in early to mid-March, slowing or ceasing in late June. Warm-season plants begin growth about mid-May and continue to early or mid-September. Green-up of cool-season plants may occur in September and October when adequate soil moisture is present.
Table 3. Representative climatic features
Frost-free period (characteristic range) | 123-130 days |
---|---|
Freeze-free period (characteristic range) | 137-151 days |
Precipitation total (characteristic range) | 22-26 in |
Frost-free period (actual range) | 114-131 days |
Freeze-free period (actual range) | 133-155 days |
Precipitation total (actual range) | 21-27 in |
Frost-free period (average) | 126 days |
Freeze-free period (average) | 144 days |
Precipitation total (average) | 24 in |
Figure 3. Monthly precipitation range
Figure 4. Monthly minimum temperature range
Figure 5. Monthly maximum temperature range
Figure 6. Monthly average minimum and maximum temperature
Figure 7. Annual precipitation pattern
Figure 8. Annual average temperature pattern
Climate stations used
-
(1) BRIDGEWATER [USC00391032], Bridgewater, SD
-
(2) FAULKTON 1 NW [USC00392927], Faulkton, SD
-
(3) REDFIELD [USC00397052], Redfield, SD
-
(4) MILLER [USC00395561], Miller, SD
-
(5) HURON RGNL AP [USW00014936], Huron, SD
-
(6) DE SMET [USC00392302], De Smet, SD
-
(7) HOWARD [USC00394037], Howard, SD
-
(8) FORESTBURG 4 NNE [USC00393029], Artesian, SD
-
(9) CHAMBERLAIN MUNI AP [USW00094943], Chamberlain, SD
-
(10) MITCHELL MUNI AP [USW00094950], Mitchell, SD
-
(11) MITCHELL 2 N [USC00395671], Mitchell, SD
-
(12) MITCHELL [USC00395669], Mitchell, SD
-
(13) ALEXANDRIA [USC00390128], Alexandria, SD
-
(14) SALEM 5NE [USC00395360], Salem, SD
-
(15) MARION [USC00395228], Marion, SD
-
(16) MENNO [USC00395481], Menno, SD
-
(17) TYNDALL [USC00398472], Tyndall, SD
-
(18) WAGNER [USC00398767], Wagner, SD
-
(19) ARMOUR [USC00390296], Armour, SD
-
(20) ACADEMY 2NE [USC00390043], Platte, SD
Influencing water features
No riparian areas or wetland features are directly associated with this site.
Soil features
The soils on this site are shallow to layers high in gravel. This abrupt change in texture and structure often responds like a restrictive layer even though roots can penetrate into the gravel layers. The high amounts of gravels in these layers are also very droughty and limit plant production. These soils are typically somewhat excessively drained and formed in loamy alluvium over gravelly sediments derived from glacial outwash. Surface soils have loam textures and are 5 to 10 inches in depth. Saturated hydraulic conductivity is typically moderate in the upper layers to very rapid in the underlying gravel layers and available water capacity is low to moderate. This site is on nearly level to moderately steep outwash plains and outwash terraces. Slope ranges from 1 to 15 percent.
Soil series is Delmont.
These soils are mainly susceptible to water erosion. The hazard of water erosion increases on slopes greater than about 10 percent. Loss of 50 percent or more of the surface layer of the soils on this site can result in a shift in species composition and/or production.
Access Web Soil Survey (http://websoilsurvey.nrcs.usda.gov/app/HomePage.htm) for specific local soils information.
Table 4. Representative soil features
Surface texture |
(1) Loam |
---|---|
Family particle size |
(1) Sandy |
Drainage class | Somewhat excessively drained |
Permeability class | Moderate to moderately rapid |
Soil depth | 80 in |
Surface fragment cover <=3" | 5 – 6% |
Surface fragment cover >3" | Not specified |
Available water capacity (0-40in) |
4 in |
Calcium carbonate equivalent (0-40in) |
10% |
Electrical conductivity (0-40in) |
2 mmhos/cm |
Sodium adsorption ratio (0-40in) |
Not specified |
Soil reaction (1:1 water) (0-40in) |
6.1 – 8.4 |
Subsurface fragment volume <=3" (Depth not specified) |
10 – 35% |
Subsurface fragment volume >3" (Depth not specified) |
2% |
Ecological dynamics
The site which is located in the Southern Black Glaciated Plains Region developed under Northern Great Plains climatic conditions and included natural influence of large herding herbivores and occasional fire. Changes will occur in the plant communities due to weather fluctuations and management actions. Under adverse impacts, a relatively rapid decline in vegetative vigor and composition can occur. Under favorable conditions, the site has the potential to resemble the Reference State. Interpretations for this site are based primarily on the 1.1 Needle and thread-Little Bluestem-Blue Grama Plant Community Phase. This community phase and the Reference State have been determined by study of rangeland relic areas, areas protected from excessive disturbance, and areas under long-term rotational grazing regimes. Trends in plant community dynamics ranging from heavily grazed to lightly grazed areas, seasonal use pastures, and historical accounts also have been considered.
This ecological site (ES) has been grazed by domestic livestock since they were introduced into the area. The introduction of domestic livestock and the use of fencing and reliable water sources have changed the ecological dynamics of this site. Heavy, continuous grazing (season-long grazing during the typical growing season of April through October or repeated seasonal grazing during the same time of year each year) without adequate recovery periods following grazing events causes departure from the 2.1 Needle and thread-Little Bluestem-Blue Grama Plant Community Phase. Sedge (Carex) and blue grama will increase and eventually develop into a sod. Western wheatgrass will increase initially and then begin to decrease. Needle and thread, porcupinegrass, sideoats grama (Bouteloua curtipenula), big bluestem (Andropogon gerardii), and little bluestem will decrease in frequency and production. Extended periods of non-use and/or lack of fire will result in excessive litter and a plant community dominated by cool-season grasses such as Kentucky bluegrass (Poa pratensis) and smooth bromegrass (Bromus inermis).
Following the state-and-transition diagram are narratives for each of the described states and community phases. These may not represent every possibility, but they are the most prevalent and repeatable states and community phases. The plant composition tables shown below have been developed from the best available knowledge at the time of this revision. As more data are collected, some of these community phases and states may be revised or removed, and new ones may be added. The main purpose for including the descriptions here is to capture the current knowledge and experience at the time of this revision.
The following is a diagram that illustrates the common plant community phases that can occur on the site and the transition and community pathways between them. The ecological processes will be discussed in more detail in the plant community descriptions following the diagram.
State and transition model

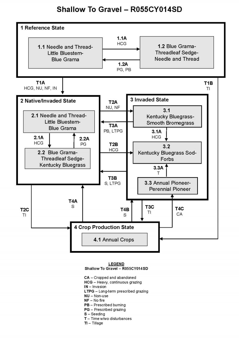
Figure 9. The State-and-Transition Model and legend for the Shallow to Gravel site in MLRA 55C.

Figure 10. Matrix for the Shallow to Gravel site in MLRA 55C.
More interactive model formats are also available.
View Interactive Models
More interactive model formats are also available.
View Interactive Models
Click on state and transition labels to scroll to the respective text
T1A | - | Heavy continuous grazing, non-use, no fire, invasion |
---|---|---|
T1B | - | Tillage |
T2A | - | Non-use, no fire, heavy continuous grazing |
T2C | - | Tillage |
T3A | - | Long term prescribed grazing, prescribed burning, seeding |
T3C | - | Tillage |
T4A | - | Seeding |
T4B | - | Seeding, abandonment of cropping |
State 1 submodel, plant communities
1.1A | - | Heavy continuous grazing |
---|---|---|
1.2A | - | Prescribed grazing with recovery periods, prescribed burning |
State 2 submodel, plant communities
2.1A | - | Heavy continuous grazing |
---|---|---|
2.2A | - | Prescribed grazing with recovery periods |
State 3 submodel, plant communities
3.1A | - | Heavy continuous grazing |
---|---|---|
3.3A | - | Time w/wo disturbances |
State 4 submodel, plant communities
State 1
Reference State
The Reference State represents the natural range of variability that dominated the dynamics of this ecological site (ES). This state was co-dominated by warm- and cool-season grasses. The primary disturbance mechanisms for this site in the Reference condition included frequent fire and grazing by large herding ungulates. Timing of fires and grazing coupled with weather events dictated the dynamics that occurred within the natural range of variability. Mid- and tall-stature grass species can decline and a corresponding increase in short-stature warm-season grasses and cool-season grass-like species will occur.
Community 1.1
Needle and Thread-Little Bluestem-Blue Grama
Interpretations are based primarily on the 1.1 Needle and Thread-Little Bluestem-Blue Grama Plant Community Phase (this is also considered to be the Reference Community). This community phase was the most dominant both temporally and spatially. The prevailing climate and weather patterns favored the development of this community phase dominated by mid- and tall cool- and warm-season grasses such as needle and thread, little bluestem, blue grama, and sideoats grama. Other grass and grass-likes species occurring include big bluestem, threadleaf sedge (Carex filifolia), porcupinegrass (Hesperostipa spartea), plains muhly (Muhlenbergia cuspidata), western wheatgrass, prairie dropseed (Sporobolus heterolepis), prairie Junegrass (Koeleria macrantha), and sand dropseed (Sporobolus cryptandrus). The vegetation consisted of about 80 percent grass and grass-like species, 10 percent forbs, and 10 percent shrubs. A variety of leguminous and non-leguminous perennial forbs are present in minor amounts. This is a naturally nitrogen deficient plant community. This plant community was resilient and well adapted to the Northern Great Plains climatic conditions. The diversity in plant species allowed for high tolerance to drought. This was a sustainable plant community in regards to site and soil stability, watershed function, and biologic integrity.
Figure 11. Annual production by plant type (representative values) or group (midpoint values)
Table 5. Annual production by plant type
Plant type | Low (lb/acre) |
Representative value (lb/acre) |
High (lb/acre) |
---|---|---|---|
Grass/Grasslike | 1210 | 1700 | 2150 |
Shrub/Vine | 95 | 150 | 225 |
Forb | 95 | 150 | 225 |
Total | 1400 | 2000 | 2600 |
Figure 12. Plant community growth curve (percent production by month). SD5503, Southern Black Glaciated Plains, cool-season/warm-season codominant.. Cool-season, warm-season codominant..
Jan | Feb | Mar | Apr | May | Jun | Jul | Aug | Sep | Oct | Nov | Dec |
---|---|---|---|---|---|---|---|---|---|---|---|
J | F | M | A | M | J | J | A | S | O | N | D |
0 | 0 | 3 | 10 | 20 | 28 | 21 | 10 | 5 | 3 | 0 | 0 |
Community 1.2
Blue Grama-Threadleaf Sedge-Needle and Thread
This plant community evolved under heavy, continuous grazing or from over utilization during extended drought periods. The potential plant community was made up of approximately 80 percent grasses and grass-like species, 10 percent forbs, and 10 percent shrubs. Dominant grass and grass-like species included blue grama, sideoats grama, threadleaf sedge, and needle and thread. Grasses of secondary importance included green needlegrass, sand dropseed, little bluestem, western wheatgrass, hairy grama (Bouteloua hirsuta), and threeawn (Aristida). Forbs commonly found in this plant community included cudweed sagewort (Artemisia ludoviciana), prairie coneflower (Ratibida columnifera), and Cuman ragweed (Ambrosia psilostachya). This plant community had similar plant composition to the 2.2 Blue Grama-Threadleaf Sedge-Kentucky Bluegrass Plant Community Phase. The main difference is that this plant community phase did not have the presence of non-native invasive species such as Kentucky bluegrass and smooth bromegrass. When compared to the 1.1 Needle and Thread-Little Bluestem-Blue Grama Plant Community Phase, threadleaf sedge, and blue grama increased. Big bluestem and needlegrasses decreased and production of mid- and tall warm-season grasses was also reduced. This plant community was moderately resistant to change. The herbaceous species present were well adapted to grazing; however, species composition could be altered through long-term overgrazing. If the herbaceous component was intact, it tended to be resilient if the disturbance was not long-term.
Figure 13. Plant community growth curve (percent production by month). SD5503, Southern Black Glaciated Plains, cool-season/warm-season codominant.. Cool-season, warm-season codominant..
Jan | Feb | Mar | Apr | May | Jun | Jul | Aug | Sep | Oct | Nov | Dec |
---|---|---|---|---|---|---|---|---|---|---|---|
J | F | M | A | M | J | J | A | S | O | N | D |
0 | 0 | 3 | 10 | 20 | 28 | 21 | 10 | 5 | 3 | 0 | 0 |
Pathway 1.1A
Community 1.1 to 1.2
Heavy, continuous grazing which includes herbivory at moderate to heavy levels at the same time of year each year without adequate recovery periods, or during periods of below normal precipitation when grazing frequency and intensity increases on these sites due to limited forage availability on adjacent upland sites, will shift this community to the 1.2 Blue Grama-Threadleaf Sedge-Needle and Thread Plant Community Phase.
Pathway 1.2A
Community 1.2 to 1.1
Prescribed grazing, and/or prescribed burning occurring at relatively frequent intervals (every 3 to 5 years), a return to normal disturbance regime levels and frequencies, or periodic light to moderate grazing (possibly including periodic rest) will convert this plant community to the 1.1 Needle and Thread-Little Bluestem-Blue Grama Plant Community Phase.
State 2
Native/Invaded State
The Native/Invaded State is very similar to the Reference State. The invasion of introduced cool-season sod grasses has altered the natural range of variability for this ecological site (ES). This state still has strong components of both warm- and cool-season grass species, but invasive introduced cool-season sod grasses are now present in all community phases of this state. The primary disturbance mechanisms for this state include grazing by domestic livestock and a lack of fire. Timing of fires and grazing coupled with weather events dictate the dynamics that occur within this state. The mid- and tall warm- and cool-season native grasses can decline, and an increase in introduced sod grasses will occur. Many times this state appears as a mosaic of community phases caused primarily by continuous season-long grazing.
Community 2.1
Needle and Thread-Little Bluestem-Blue Grama
This community phase most closely resembles the Reference State in appearance and ecological functions (e.g., hydrologic, biotic, and soil and site stability). The warm- and cool-season co-dominated community is maintained with grazing systems that allow for adequate recovery periods following grazing events, and a combination of grazing and prescribed burning which closely mimics the natural disturbance regime. This community phase closely resembles the 1.1 Needle and Thread-Little Bluestem-Blue Grama Plant Community Phase. The basic difference is the presence of minor amounts of introduced cool-season grasses and forbs. This is likely a naturally nitrogen deficient plant community. A change in the nutrient cycle on this ES possibly due to the introduction of non-native species may be a causative factor leading to the eventual dominance of cool-season introduced grasses in the Invaded State (State 3).
Figure 14. Plant community growth curve (percent production by month). SD5503, Southern Black Glaciated Plains, cool-season/warm-season codominant.. Cool-season, warm-season codominant..
Jan | Feb | Mar | Apr | May | Jun | Jul | Aug | Sep | Oct | Nov | Dec |
---|---|---|---|---|---|---|---|---|---|---|---|
J | F | M | A | M | J | J | A | S | O | N | D |
0 | 0 | 3 | 10 | 20 | 28 | 21 | 10 | 5 | 3 | 0 | 0 |
Community 2.2
Blue Grama-Threadleaf Sedge-Kentucky Bluegrass
Grazing pressure reduces the mid and tall, less grazing tolerant species, while the shorter more grazing tolerant species increase. Litter amounts are reduced and energy capture shifts to slightly earlier in the growing season due to a decline in the later maturing native grass component, and an increase in the earlier maturing grass-likes and non-native grasses. Kentucky bluegrass increases and may approach dominance in this community. Vegetation consists of about 80 percent grass and grass-like species, 10 percent forbs, and 10 percent shrubs. Blue grama, threadleaf sedge, Kentucky bluegrass, and fringed sagewort (Artemisia frigida) are the dominant species in the early stages of this community phase. Significant grass species include Kentucky bluegrass, needle and thread, red threeawn (Aristida purpurea), and sand dropseed. Other grasses present include western wheatgrass, porcupinegrass, and prairie Junegrass. The common forbs include cudweed sagewort, goldenrod (Oligoneuron), green sagewort (Artemisia campestris), heath aster (Symphyotrichum ericoides), and scurfpea (Psoralidium). Fringed sagewort (Artemisia frigida), brittle cactus (Opuntia fragilis), plains pricklypear (Opuntia polyacantha), and rose (Rosa spp.) are the principal shrubs. This community phase is often dispersed throughout the pasture in an overgrazed or undergrazed pattern, typically referred to as patch grazing. Some areas (overgrazed) will exhibit the impacts of heavy use, while other areas (undergrazed) will have a build-up of litter and a high amount of plant decadence. This is a typical pattern found in properly stocked pastures grazed season-long. In the undergrazed patches, litter buildup reduces plant vigor and density and native seedling recruitment declines. Due to a lack of tiller stimulation and sunlight, native bunchgrasses typically develop dead centers and native rhizomatous grasses are limited to small colonies. In the overgrazed patches, plant vigor is reduced and the competitive advantage goes towards the grazing tolerant short-statured species such as Kentucky bluegrass and sedge. This community phase is approaching the threshold which would readily lead to the Invaded State. If management is significantly altered, this community phase can still be reverted back to the 2.1 Needle and Thread-Little Bluestem-Blue Gama community phase. Grazing management that allows for adequate recovery periods will tend to restore the ecological functions of this site. Fire can play a role in reducing the introduced cool-season species. The combination of grazing and fire may be the most effective in moving this community phase towards a community resembling the interpretive plant community. Soil erosion is low. Infiltration is reduced, while runoff is increased compared to the interpretive plant community.
Figure 15. Annual production by plant type (representative values) or group (midpoint values)
Table 6. Annual production by plant type
Plant type | Low (lb/acre) |
Representative value (lb/acre) |
High (lb/acre) |
---|---|---|---|
Grass/Grasslike | 770 | 1190 | 1590 |
Shrub/Vine | 65 | 105 | 155 |
Forb | 65 | 105 | 155 |
Total | 900 | 1400 | 1900 |
Figure 16. Plant community growth curve (percent production by month). SD5503, Southern Black Glaciated Plains, cool-season/warm-season codominant.. Cool-season, warm-season codominant..
Jan | Feb | Mar | Apr | May | Jun | Jul | Aug | Sep | Oct | Nov | Dec |
---|---|---|---|---|---|---|---|---|---|---|---|
J | F | M | A | M | J | J | A | S | O | N | D |
0 | 0 | 3 | 10 | 20 | 28 | 21 | 10 | 5 | 3 | 0 | 0 |
Pathway 2.1A
Community 2.1 to 2.2
Heavy continuous grazing which includes herbivory at moderate to heavy levels at the same time of year each year without adequate recovery periods, or during periods of below normal precipitation when grazing frequency and intensity increases on these sites due to limited forage availability on adjacent upland sites will shift this community to the 2.2 Blue Grama-Threadleaf Sedge-Kentucky Bluegrass Plant Community Phase.
Pathway 2.2A
Community 2.2 to 2.1
Prescribed grazing (alternating season of use and providing adequate recovery periods) or periodic light to moderate grazing possibly including periodic rest will convert this plant community to the 2.1 Needleandthread-Little Bluestem-Blue GamaPlant Community Phase.
Conservation practices
Prescribed Grazing |
---|
State 3
Invaded State
The Invaded State is the result of invasion and dominance of introduced cool-season sod grasses. This state is characterized by the dominance of Kentucky bluegrass or smooth bromegrass, and an increasing thatch layer that effectively blocks introduction of other plants into the system. Once the state is well established, even drastic events such as high intensity fires driven by high fuel loads of litter and thatch will not result in more than a very short-term reduction of these two species. These events may reduce the dominance of the sod grasses, but due to the large amount of rhizomes in the soil, there is no opportunity for the native species to establish before the sod grasses rebound. Plant litter accumulation tends to favor the more shade tolerant introduced grass species. The nutrient cycle is also impaired and the result is typically a higher level of nitrogen, which also favors the introduced species. Increasing plant litter decreases the amount of sunlight reaching plant crowns thereby shifting competitive advantage to shade tolerant introduced grass species. Studies indicate that soil biological activity is altered and this shift apparently exploits the soil micro-climate and encourages growth of the introduced grass species. Once the threshold is crossed, a change in grazing management alone cannot cause a reduction in sod-grass dominance. Preliminary studies indicate this threshold may exist when Kentucky bluegrass exceeds 30 percent of the plant community and native grasses represent less than 40 percent of the plant community composition.
Community 3.1
Kentucky Bluegrass-Smooth Bromegrass
This plant community phase is a result of extended periods of non-use and no fire. It is characterized by a dominance of smooth bromegrass and Kentucky bluegrass. The dominance is at times so complete that other species are difficult to find on the site. A thick duff layer also accumulates at or above the soil surface and eventually a thatch-mat layer may develop. Nutrient cycling is greatly reduced and native plants have great difficulty becoming established. When dominated by smooth bromegrass, infiltration is moderately reduced and runoff is moderate. Production can be equal to or higher than the interpretive plant community. However, when dominated by Kentucky bluegrass, infiltration is greatly reduced and runoff is high. Production in this case will likely be significantly less. In either case the period that palatability is high is relatively short, as these cool-season species mature rapidly. Energy capture is also reduced.
Figure 17. Annual production by plant type (representative values) or group (midpoint values)
Table 7. Annual production by plant type
Plant type | Low (lb/acre) |
Representative value (lb/acre) |
High (lb/acre) |
---|---|---|---|
Grass/Grasslike | 1175 | 1691 | 2085 |
Forb | 90 | 143 | 215 |
Shrub/Vine | 35 | 66 | 100 |
Total | 1300 | 1900 | 2400 |
Figure 18. Plant community growth curve (percent production by month). SD5501, Southern Black Glaciated Plains, cool-season dominant.. Cool-season dominant..
Jan | Feb | Mar | Apr | May | Jun | Jul | Aug | Sep | Oct | Nov | Dec |
---|---|---|---|---|---|---|---|---|---|---|---|
J | F | M | A | M | J | J | A | S | O | N | D |
0 | 0 | 4 | 12 | 25 | 36 | 10 | 5 | 4 | 4 | 0 | 0 |
Community 3.2
Kentucky Bluegrass Sod-Forbs
This plant community phase is a result of heavy, continuous seasonal grazing or heavy, continuous season-long grazing. It is characterized by a dominance of Kentucky bluegrass, sedge, and blue grama. The dominance is at times so complete that other species are difficult to find on the site. A relatively thick duff layer can sometimes accumulate at or above the soil surface and eventually a thatch-mat layer may develop at the surface as well. Nutrient cycling is greatly reduced and native plants have great difficulty becoming established. Infiltration is greatly reduced and runoff is high. Production will be significantly reduced when compared to the interpretive plant community. The period that palatability is high is relatively short as Kentucky bluegrass matures rapidly. Energy capture is also reduced. Biological activity in the soil is likely reduced significantly in this phase.
Figure 19. Annual production by plant type (representative values) or group (midpoint values)
Table 8. Annual production by plant type
Plant type | Low (lb/acre) |
Representative value (lb/acre) |
High (lb/acre) |
---|---|---|---|
Grass/Grasslike | 600 | 891 | 1155 |
Forb | 50 | 110 | 185 |
Shrub/Vine | 50 | 99 | 160 |
Total | 700 | 1100 | 1500 |
Figure 20. Plant community growth curve (percent production by month). SD5501, Southern Black Glaciated Plains, cool-season dominant.. Cool-season dominant..
Jan | Feb | Mar | Apr | May | Jun | Jul | Aug | Sep | Oct | Nov | Dec |
---|---|---|---|---|---|---|---|---|---|---|---|
J | F | M | A | M | J | J | A | S | O | N | D |
0 | 0 | 4 | 12 | 25 | 36 | 10 | 5 | 4 | 4 | 0 | 0 |
Community 3.3
Annual Pioneer-Perennial Pioneer
This plant community developed under continuous, heavy grazing or other excessive disturbances (e.g., heavy use areas, defoliation by rodents, etc.). The potential plant community is made up of approximately 40 to 80 percent grasses and grass-like species, 20 to 60 percent forbs, and 0 to 5 percent shrubs. The species present in this phase are highly variable, but often include nonnative invasive and early seral species. Plant diversity is low (plant richness may be high but areas are often dominated by a few species). The ecological processes are difficult to restore because of the loss of plant diversity and overall soil disturbance. Soil erosion is potentially very high because of the bare ground and shallow-rooted herbaceous plant community. Water runoff will increase and infiltration will decrease due to animal related soil compaction and loss of root mass due to low plant diversity and vigor. This plant community will require significant economic inputs and time to move towards another plant community. This movement is highly variable in its succession. This is due to the loss of diversity (including the loss of the seed bank), within the existing plant community, and the plant communities on adjacent sites. This community can be renovated to improve the production capability; however, if management changes are not made the vegetation could revert back to invasive or early seral species.
Pathway 3.1A
Community 3.1 to 3.2
Heavy, continuous grazing which includes herbivory at moderate to heavy levels at the same time of year each year without adequate recovery periods, or during periods of below normal precipitation when grazing frequency and intensity increases on these sites due to limited forage availability on adjacent upland sites, will shift this community to the 3.2 Kentucky Bluegrass Sod-Forbs Plant Community Phase.
Pathway 3.3A
Community 3.3 to 3.2
This community pathway occurs with the passage of time as successional processes take place and perennial plants gradually begin to establish on the site again. This pathway will lead to the 3.2 Kentucky Bluegrass Sod-Forbs Plant Community Phase.
State 4
Crop Production State
The Crop Production State is characterized by the production of annual crops using a variety of tillage and cropping systems along with management practices.
Community 4.1
Annual Crops
This plant community developed with the use of a variety of tillage and cropping systems for the production of annual crops including corn, soybeans, wheat, and a variety of other crops.
Transition T1A
State 1 to 2
Non-use and/or no surface fire for extended periods of time (typically for 10 or more years) causing litter levels to become high enough to reduce native grass vigor, diversity, and density, heavy, continuous grazing, or invasion of non-native plant species will likely lead this state over a threshold resulting in the Native/Invaded State (State 2).
Transition T4
State 1 to 3
Cropping followed by abandonment may lead this plant community phase over a threshold to the Invaded State (State 3) and more specifically to the 3.3 Annual/Pioneer Perennial Plant Community Phase.
Transition T1B
State 1 to 4
Tillage will cause a shift over a threshold leading to the 4.1 Annual Crops Plant Community Phase within the Crop Production State (State 4).
Transition T2A
State 2 to 3
Non-use and/or no surface fire for extended periods of time (typically for 10 or more years causing litter levels to become high enough to reduce native grass vigor, diversity, and density) will likely lead this state over a threshold leading to the 3.1 Kentucky Bluegrass-Smooth Bromegrass Community Phase within the Invaded State (State 3). Heavy, continuous grazing (stocking levels well above carrying capacity for extended portions of the growing season and often at the same time of year each year) will lead this state over a threshold leading to the 3.2 Kentucky Bluegrass Sod-Forbs Community Phase within the Invaded State (State 3). Grazing repeatedly in the early growing season can expedite this shift by causing mechanical disturbance due to trampling.
Transition T2C
State 2 to 4
Tillage will cause a shift over a threshold leading to the 4.1 Annual Crops Plant Community Phase within the Crop Production State (State 4).
Restoration pathway T3A
State 3 to 2
Long-term prescribed grazing (moderate stocking levels coupled with adequate recovery periods, or other grazing systems such as high-density, low-frequency intended to treat specific species dominance, or periodic light to moderate stocking levels possibly including periodic rest), prescribed burning (occurring every 3 to 5 years), and a return to normal disturbance regime levels may lead the 3.1 Kentucky Bluegrass-Smooth Bromegrass Community Phase within the Invaded State (State 3) over a threshold to the Native/Invaded State (State 2). Seeding followed by long-term prescribed grazing (moderate stocking levels coupled with adequate recovery periods, or other grazing systems such as high-density, low-frequency intended to treat specific species dominance, or periodic light to moderate stocking levels possibly including periodic rest) may lead this Invaded State (State 3) over a threshold to the Native/Invaded State (State 2).
Conservation practices
Prescribed Grazing | |
---|---|
Integrated Pest Management (IPM) |
Transition T3C
State 3 to 4
Tillage will cause a shift over a threshold leading to the 4.1 Annual Crops Plant Community Phase within the Crop Production State (State 4).
Restoration pathway T4A
State 4 to 2
Seeding may lead this Crop Production State (State 4) over a threshold to the Native/Invaded State (State 2).
Restoration pathway T4B
State 4 to 3
Seeding may lead this Crop Production State (State 4) over a threshold to the Invaded State (State 3). Cropping followed by abandonment may lead this plant community phase over a threshold to the Invaded State (State 3) and more specifically to the 3.3 Annual Pioneer-Perennial Pioneer Plant Community Phase.
Additional community tables
Table 9. Community 1.1 plant community composition
Group | Common name | Symbol | Scientific name | Annual production (lb/acre) | Foliar cover (%) | |
---|---|---|---|---|---|---|
Grass/Grasslike
|
||||||
1 | Needlegrass | 300–600 | ||||
needle and thread | HECOC8 | Hesperostipa comata ssp. comata | 300–600 | – | ||
porcupinegrass | HESP11 | Hesperostipa spartea | 20–100 | – | ||
green needlegrass | NAVI4 | Nassella viridula | 20–100 | – | ||
2 | Mid Warm-Season Grasses | 200–400 | ||||
little bluestem | SCSC | Schizachyrium scoparium | 100–300 | – | ||
prairie dropseed | SPHE | Sporobolus heterolepis | 0–160 | – | ||
sideoats grama | BOCU | Bouteloua curtipendula | 20–160 | – | ||
plains muhly | MUCU3 | Muhlenbergia cuspidata | 0–100 | – | ||
3 | Short Warm-Season Grasses | 200–400 | ||||
blue grama | BOGR2 | Bouteloua gracilis | 100–300 | – | ||
hairy grama | BOHI2 | Bouteloua hirsuta | 40–200 | – | ||
sand dropseed | SPCR | Sporobolus cryptandrus | 20–100 | – | ||
threeawn | ARIST | Aristida | 0–40 | – | ||
4 | Tall Warm-Season Grasses | 60–200 | ||||
big bluestem | ANGE | Andropogon gerardii | 40–200 | – | ||
prairie sandreed | CALO | Calamovilfa longifolia | 20–100 | – | ||
5 | Other Native Grasses | 40–160 | ||||
Graminoid (grass or grass-like) | 2GRAM | Graminoid (grass or grass-like) | 0–100 | – | ||
prairie Junegrass | KOMA | Koeleria macrantha | 20–100 | – | ||
western wheatgrass | PASM | Pascopyrum smithii | 20–100 | – | ||
fall rosette grass | DIWI5 | Dichanthelium wilcoxianum | 0–60 | – | ||
6 | Grass-likes | 40–200 | ||||
sedge | CAREX | Carex | 40–200 | – | ||
Grass-like (not a true grass) | 2GL | Grass-like (not a true grass) | 0–60 | – | ||
Forb
|
||||||
7 | Forbs | 100–200 | ||||
Forb, native | 2FN | Forb, native | 20–60 | – | ||
false boneset | BREU | Brickellia eupatorioides | 0–40 | – | ||
Cuman ragweed | AMPS | Ambrosia psilostachya | 0–40 | – | ||
field sagewort | ARCA12 | Artemisia campestris | 20–40 | – | ||
white sagebrush | ARLU | Artemisia ludoviciana | 20–40 | – | ||
purple prairie clover | DAPU5 | Dalea purpurea | 20–40 | – | ||
blacksamson echinacea | ECAN2 | Echinacea angustifolia | 0–40 | – | ||
scarlet beeblossom | GACO5 | Gaura coccinea | 20–40 | – | ||
stiff sunflower | HEPA19 | Helianthus pauciflorus | 20–40 | – | ||
hairy false goldenaster | HEVI4 | Heterotheca villosa | 20–40 | – | ||
dotted blazing star | LIPU | Liatris punctata | 20–40 | – | ||
beardtongue | PENST | Penstemon | 0–40 | – | ||
slimflower scurfpea | PSTE5 | Psoralidium tenuiflorum | 0–40 | – | ||
cutleaf anemone | PUPAM | Pulsatilla patens ssp. multifida | 20–40 | – | ||
upright prairie coneflower | RACO3 | Ratibida columnifera | 20–40 | – | ||
Missouri goldenrod | SOMI2 | Solidago missouriensis | 20–40 | – | ||
scarlet globemallow | SPCO | Sphaeralcea coccinea | 20–40 | – | ||
white heath aster | SYER | Symphyotrichum ericoides | 20–40 | – | ||
longbract spiderwort | TRBR | Tradescantia bracteata | 20–40 | – | ||
hoary verbena | VEST | Verbena stricta | 0–20 | – | ||
spiny phlox | PHHO | Phlox hoodii | 0–20 | – | ||
lemon scurfpea | PSLA3 | Psoralidium lanceolatum | 0–20 | – | ||
rush skeletonplant | LYJU | Lygodesmia juncea | 0–20 | – | ||
lacy tansyaster | MAPI | Machaeranthera pinnatifida | 0–20 | – | ||
milkvetch | ASTRA | Astragalus | 0–20 | – | ||
sundrops | CALYL | Calylophus | 0–20 | – | ||
textile onion | ALTE | Allium textile | 0–20 | – | ||
Shrub/Vine
|
||||||
8 | Shrubs | 100–200 | ||||
rose | ROSA5 | Rosa | 20–60 | – | ||
Shrub (>.5m) | 2SHRUB | Shrub (>.5m) | 20–60 | – | ||
leadplant | AMCA6 | Amorpha canescens | 20–60 | – | ||
prairie sagewort | ARFR4 | Artemisia frigida | 20–40 | – | ||
plains pricklypear | OPPO | Opuntia polyacantha | 20–40 | – | ||
brittle pricklypear | OPFR | Opuntia fragilis | 0–20 | – |
Table 10. Community 2.2 plant community composition
Group | Common name | Symbol | Scientific name | Annual production (lb/acre) | Foliar cover (%) | |
---|---|---|---|---|---|---|
Grass/Grasslike
|
||||||
1 | Needlegrass | 70–210 | ||||
needle and thread | HECOC8 | Hesperostipa comata ssp. comata | 70–210 | – | ||
green needlegrass | NAVI4 | Nassella viridula | 0–42 | – | ||
2 | Mid Warm-Season Grasses | 14–140 | ||||
sideoats grama | BOCU | Bouteloua curtipendula | 14–140 | – | ||
little bluestem | SCSC | Schizachyrium scoparium | 0–70 | – | ||
prairie dropseed | SPHE | Sporobolus heterolepis | 0–14 | – | ||
3 | Short Warm-Season Grasses | 210–420 | ||||
blue grama | BOGR2 | Bouteloua gracilis | 140–350 | – | ||
hairy grama | BOHI2 | Bouteloua hirsuta | 28–210 | – | ||
sand dropseed | SPCR | Sporobolus cryptandrus | 14–140 | – | ||
threeawn | ARIST | Aristida | 0–56 | – | ||
4 | Tall Warm-Season Grasses | 0–42 | ||||
big bluestem | ANGE | Andropogon gerardii | 0–42 | – | ||
5 | Other Native Grasses | 14–70 | ||||
Graminoid (grass or grass-like) | 2GRAM | Graminoid (grass or grass-like) | 0–70 | – | ||
prairie Junegrass | KOMA | Koeleria macrantha | 14–70 | – | ||
fall rosette grass | DIWI5 | Dichanthelium wilcoxianum | 0–42 | – | ||
western wheatgrass | PASM | Pascopyrum smithii | 0–28 | – | ||
6 | Grass-likes | 140–350 | ||||
sedge | CAREX | Carex | 140–350 | – | ||
Grass-like (not a true grass) | 2GL | Grass-like (not a true grass) | 0–70 | – | ||
7 | Non-Native Grasses | 70–280 | ||||
Kentucky bluegrass | POPR | Poa pratensis | 28–210 | – | ||
brome | BROMU | Bromus | 0–98 | – | ||
smooth brome | BRIN2 | Bromus inermis | 0–70 | – | ||
Forb
|
||||||
8 | Forbs | 70–140 | ||||
white sagebrush | ARLU | Artemisia ludoviciana | 14–56 | – | ||
Forb, introduced | 2FI | Forb, introduced | 0–56 | – | ||
Forb, native | 2FN | Forb, native | 14–42 | – | ||
Cuman ragweed | AMPS | Ambrosia psilostachya | 14–42 | – | ||
field sagewort | ARCA12 | Artemisia campestris | 14–42 | – | ||
white heath aster | SYER | Symphyotrichum ericoides | 14–42 | – | ||
Missouri goldenrod | SOMI2 | Solidago missouriensis | 14–28 | – | ||
hoary verbena | VEST | Verbena stricta | 14–28 | – | ||
scarlet globemallow | SPCO | Sphaeralcea coccinea | 0–14 | – | ||
longbract spiderwort | TRBR | Tradescantia bracteata | 0–14 | – | ||
textile onion | ALTE | Allium textile | 0–14 | – | ||
milkvetch | ASTRA | Astragalus | 0–14 | – | ||
purple prairie clover | DAPU5 | Dalea purpurea | 0–14 | – | ||
hairy false goldenaster | HEVI4 | Heterotheca villosa | 0–14 | – | ||
dotted blazing star | LIPU | Liatris punctata | 0–14 | – | ||
rush skeletonplant | LYJU | Lygodesmia juncea | 0–14 | – | ||
spiny phlox | PHHO | Phlox hoodii | 0–14 | – | ||
slimflower scurfpea | PSTE5 | Psoralidium tenuiflorum | 0–14 | – | ||
upright prairie coneflower | RACO3 | Ratibida columnifera | 0–14 | – | ||
Shrub/Vine
|
||||||
9 | Shrubs | 70–140 | ||||
prairie sagewort | ARFR4 | Artemisia frigida | 14–56 | – | ||
brittle pricklypear | OPFR | Opuntia fragilis | 14–42 | – | ||
plains pricklypear | OPPO | Opuntia polyacantha | 14–42 | – | ||
rose | ROSA5 | Rosa | 14–28 | – | ||
Shrub (>.5m) | 2SHRUB | Shrub (>.5m) | 0–28 | – |
Table 11. Community 3.1 plant community composition
Group | Common name | Symbol | Scientific name | Annual production (lb/acre) | Foliar cover (%) | |
---|---|---|---|---|---|---|
Grass/Grasslike
|
||||||
1 | Needlegrass | 0–190 | ||||
needle and thread | HECOC8 | Hesperostipa comata ssp. comata | 0–190 | – | ||
green needlegrass | NAVI4 | Nassella viridula | 0–95 | – | ||
porcupinegrass | HESP11 | Hesperostipa spartea | 0–19 | – | ||
2 | Mid Warm-Season Grasses | 0–57 | ||||
sideoats grama | BOCU | Bouteloua curtipendula | 0–57 | – | ||
little bluestem | SCSC | Schizachyrium scoparium | 0–57 | – | ||
3 | Short Warm-Season Grasses | 0–95 | ||||
blue grama | BOGR2 | Bouteloua gracilis | 0–95 | – | ||
sand dropseed | SPCR | Sporobolus cryptandrus | 0–95 | – | ||
threeawn | ARIST | Aristida | 0–57 | – | ||
hairy grama | BOHI2 | Bouteloua hirsuta | 0–38 | – | ||
4 | Other Native Grasses | 0–95 | ||||
Graminoid (grass or grass-like) | 2GRAM | Graminoid (grass or grass-like) | 0–95 | – | ||
prairie Junegrass | KOMA | Koeleria macrantha | 0–57 | – | ||
western wheatgrass | PASM | Pascopyrum smithii | 0–57 | – | ||
fall rosette grass | DIWI5 | Dichanthelium wilcoxianum | 0–38 | – | ||
5 | Grass-likes | 19–190 | ||||
sedge | CAREX | Carex | 19–190 | – | ||
Grass-like (not a true grass) | 2GL | Grass-like (not a true grass) | 0–38 | – | ||
6 | Non-Native Grasses | 760–1235 | ||||
Kentucky bluegrass | POPR | Poa pratensis | 380–950 | – | ||
smooth brome | BRIN2 | Bromus inermis | 285–760 | – | ||
brome | BROMU | Bromus | 38–285 | – | ||
Forb
|
||||||
7 | Forbs | 95–190 | ||||
Forb, introduced | 2FI | Forb, introduced | 19–76 | – | ||
white sagebrush | ARLU | Artemisia ludoviciana | 19–76 | – | ||
Forb, native | 2FN | Forb, native | 19–57 | – | ||
field sagewort | ARCA12 | Artemisia campestris | 19–57 | – | ||
white heath aster | SYER | Symphyotrichum ericoides | 19–57 | – | ||
Missouri goldenrod | SOMI2 | Solidago missouriensis | 19–57 | – | ||
slimflower scurfpea | PSTE5 | Psoralidium tenuiflorum | 0–38 | – | ||
Cuman ragweed | AMPS | Ambrosia psilostachya | 19–38 | – | ||
textile onion | ALTE | Allium textile | 0–19 | – | ||
milkvetch | ASTRA | Astragalus | 0–19 | – | ||
purple prairie clover | DAPU5 | Dalea purpurea | 0–19 | – | ||
dotted blazing star | LIPU | Liatris punctata | 0–19 | – | ||
rush skeletonplant | LYJU | Lygodesmia juncea | 0–19 | – | ||
beardtongue | PENST | Penstemon | 0–19 | – | ||
spiny phlox | PHHO | Phlox hoodii | 0–19 | – | ||
upright prairie coneflower | RACO3 | Ratibida columnifera | 0–19 | – | ||
scarlet globemallow | SPCO | Sphaeralcea coccinea | 0–19 | – | ||
hoary verbena | VEST | Verbena stricta | 0–19 | – | ||
Shrub/Vine
|
||||||
8 | Shrubs | 38–95 | ||||
prairie sagewort | ARFR4 | Artemisia frigida | 0–57 | – | ||
rose | ROSA5 | Rosa | 19–57 | – | ||
plains pricklypear | OPPO | Opuntia polyacantha | 19–38 | – | ||
Shrub (>.5m) | 2SHRUB | Shrub (>.5m) | 0–38 | – | ||
leadplant | AMCA6 | Amorpha canescens | 0–19 | – | ||
brittle pricklypear | OPFR | Opuntia fragilis | 0–19 | – |
Table 12. Community 3.2 plant community composition
Group | Common name | Symbol | Scientific name | Annual production (lb/acre) | Foliar cover (%) | |
---|---|---|---|---|---|---|
Grass/Grasslike
|
||||||
1 | Needlegrass | 0–22 | ||||
needle and thread | HECOC8 | Hesperostipa comata ssp. comata | 0–22 | – | ||
2 | Short Warm-Season Grasses | 0–165 | ||||
blue grama | BOGR2 | Bouteloua gracilis | 0–165 | – | ||
threeawn | ARIST | Aristida | 0–88 | – | ||
hairy grama | BOHI2 | Bouteloua hirsuta | 0–55 | – | ||
sand dropseed | SPCR | Sporobolus cryptandrus | 0–55 | – | ||
3 | Other Native Grasses | 0–55 | ||||
Graminoid (grass or grass-like) | 2GRAM | Graminoid (grass or grass-like) | 0–55 | – | ||
prairie Junegrass | KOMA | Koeleria macrantha | 0–22 | – | ||
fall rosette grass | DIWI5 | Dichanthelium wilcoxianum | 0–11 | – | ||
4 | Grass-likes | 0–165 | ||||
sedge | CAREX | Carex | 0–165 | – | ||
Grass-like (not a true grass) | 2GL | Grass-like (not a true grass) | 0–22 | – | ||
5 | Non-Native Grasses | 275–605 | ||||
Kentucky bluegrass | POPR | Poa pratensis | 220–550 | – | ||
brome | BROMU | Bromus | 55–165 | – | ||
smooth brome | BRIN2 | Bromus inermis | 0–110 | – | ||
Forb
|
||||||
6 | Forbs | 55–165 | ||||
Forb, introduced | 2FI | Forb, introduced | 11–55 | – | ||
white sagebrush | ARLU | Artemisia ludoviciana | 11–55 | – | ||
Cuman ragweed | AMPS | Ambrosia psilostachya | 11–44 | – | ||
field sagewort | ARCA12 | Artemisia campestris | 11–44 | – | ||
Forb, native | 2FN | Forb, native | 0–33 | – | ||
Missouri goldenrod | SOMI2 | Solidago missouriensis | 11–33 | – | ||
white heath aster | SYER | Symphyotrichum ericoides | 11–33 | – | ||
hoary verbena | VEST | Verbena stricta | 0–22 | – | ||
scarlet globemallow | SPCO | Sphaeralcea coccinea | 0–11 | – | ||
spiny phlox | PHHO | Phlox hoodii | 0–11 | – | ||
Shrub/Vine
|
||||||
7 | Shrubs | 55–143 | ||||
prairie sagewort | ARFR4 | Artemisia frigida | 22–88 | – | ||
brittle pricklypear | OPFR | Opuntia fragilis | 11–33 | – | ||
plains pricklypear | OPPO | Opuntia polyacantha | 11–33 | – | ||
rose | ROSA5 | Rosa | 0–22 | – | ||
Shrub (>.5m) | 2SHRUB | Shrub (>.5m) | 0–22 | – |
Interpretations
Animal community
The following table lists annual, suggested initial stocking rates with average growing conditions. These are conservative estimates that should be used only as guidelines in the initial stages of conservation planning. Often, the current plant composition does not entirely match any particular plant community (as described in this ES description). Because of this, a resource inventory is necessary to document plant composition and production. More accurate carrying capacity estimates should eventually be calculated using the following stocking rate information along with animal preference data and actual stocking records, particularly when grazers other than cattle are involved. With consultation of the land manager, more intensive grazing management may result in improved harvest efficiencies and increased carrying capacity. Stocking rates are calculated using Animal-Unit-Month (AUM), which is the amount of air-dry forage required to feed a cow, with or without calf, for one month.
Needlegrass/Bluestem/Grama (1.1 & 2.1)
Average Annual Production (lbs./acre, air-dry): 2,000
Stocking Rate* (AUM/acre): 0.55
Grama/Sedge/Kentucky Bluegrass (2.2)
Average Annual Production (lbs./acre, air-dry): 1,400
Stocking Rate* (AUM/acre): 0.38
Kentucky Bluegrass/Smooth Bromegrass (3.1)
Average Annual Production (lbs./acre, air-dry): 1,900
Stocking Rate* (AUM/acre): 0.52
Kentucky Bluegrass Sod/Forbs (3.2)
Average Annual Production (lbs./acre, air-dry): 1,100
Stocking Rate* (AUM/acre): 0.30
Annual/Pioneer Perennial (3.3)
Average Annual Production (lbs./acre, air-dry): 600
Stocking Rate* (AUM/acre): 0.16
*Based on 912 lbs./acre (air-dry weight) per Animal Unit Month (AUM) and on 25 percent harvest efficiency (refer to United States Department of Agriculture (USDA) Natural Resources Conservation Service (NRCS), National Range and Pasture Handbook).
Grazing by domestic livestock is one of the major income-producing industries in the area. Rangeland in this area may provide yearlong forage. During the dormant period, the forage for livestock will likely be lacking protein to meet livestock requirements and added protein will allow ruminants to better utilize the energy stored in grazed plant materials. A forage quality test (either directly or through fecal sampling) should be used to determine the level of supplementation needed.
Hydrological functions
Water is the principal factor limiting forage production on this site. This site is dominated by soils in hydrologic group B. Infiltration is typically high and runoff low on this site high depending on soil hydrologic group, slope and ground cover. In many cases, areas with greater than 75 percent ground cover have the greatest potential for high infiltration and lower runoff. An example of an exception would be where short-grasses form a strong sod and dominate the site. Dominance by blue grama, sedge, bluegrass, or smooth bromegrass will result in reduced infiltration and increased runoff. Areas where ground cover is less than 50 percent have the greatest potential to have reduced infiltration and higher runoff (refer to Section 4, NRCS National Engineering Handbook for runoff quantities and hydrologic curves).
Recreational uses
This site provides hunting, hiking, photography, bird watching, and other opportunities. The wide varieties of plants that bloom from spring until fall have an aesthetic value that appeals to visitors.
Wood products
No appreciable wood products are typically present on this site.
Other products
Seed harvest of native plant species can provide additional income on this site.
Other information
Ecological Site Correlation Issues and Questions:
• Reference and alternative states within the state and transition model are may not be fully documented and may require additional field sampling for refinement.
Supporting information
Inventory data references
Information presented here has been derived from NRCS clipping data and other inventory data. Field observations from range-trained personnel were also used. Those involved in developing this site include: Stan Boltz, Range Management Specialist, NRCS; and Bruce Kunze, Soil Scientist, NRCS.
There are 2 SCS-RANGE-417s collected in 2006 from Hand County, SD.
Other references
Cleland, D.T., J.A. Freeouf, J.E. Keys, G.J. Nowacki, C. Carpenter, and W.H. McNab. 2007. Ecological Subregions: Sections and Subsections of the Coterminous United States. USDA Forest Service, General Technical Report WO-76. Washington, DC.
Gilbert, M. C., Whited, P. M., Clairain Jr, E. J., & Smith, R. D. (2006). A Regional Guidebook for Applying the Hydrogeomorphic Approach to Assessing Wetland Functions of Prairie Potholes. Washington DC.
Samson, F. B., & Knopf, F. L. (1996). Prairie Conservation Preserving North America's Most Endagered Ecosystem. Washington D.C.: Island Press.
Soil Survey Staff, Natural Resources Conservation Service, United States Department of Agriculture. Official Soil Series Descriptions. Available online. Accessed March 2018.
United States Department of Agriculture – Natural Resource Conservation Service (USDA-NRCS). 2003. National Range and Pasture Handbook, Revision 1. Grazing Lands Technology Institute.
United States Department of Agriculture – Natural Resource Conservation Service (USDA-NRCS). 2006. Land Resource Regions and Major Land Resource Areas of the United States, the Caribbean, and the Pacific Basin. U.S. Department of Agriculture Handbook 296.
USDA, NRCS. National Soil Information System, Information Technology Center, (http://soils.usda.gov/technical/nasis/)
USDA, NRCS. 2019. The PLANTS Database (http://plants.usda.gov, 13 March 2019).
U.S. Environmental Protection Agency [EPA]. 2013. Level III and Level IV Ecoregions of the Continental United States. Corvallis, OR, U.S. EPA, National Health and Environmental Effects Research Laboratory, map scale 1:3,000,000. Available at http://www.epa.gov/eco-research/level-iii-and-iv-ecoregions- continental-united-states. (Accessed 13 March 2019).
High Plains Regional Climate Center, University of Nebraska. (http://www.hprcc.unl.edu/)
USDA, NRCS. National Water and Climate Center. (http://wcc.nrcs.usda.gov)
USDA, NRCS. National Range and Pasture Handbook, September 1997
USDA, NRCS. 2001. The PLANTS Database, Version 3.1 (http://plants.usda.gov). National Plant Data Center.
Contributors
Stan Boltz
Approval
Suzanne Mayne-Kinney, 1/31/2024
Acknowledgments
Contact for Lead Authors: Natural Resources Conservation Service (USDA-NRCS), Redfield Soil Survey Office Redfield, SD; Lance Howe (Lance.Howe@usda.gov), Soil Survey Office Leader, USDA-NRCS, Redfield, SD; and Steve Winter (Steven.Winter@usda.gov), Soil Scientist, USDA-NRCS, Redfield, SD
Additional Information Acknowledgment: Jason Hermann (Jason.Hermann@usda.gov), Area Rangeland Management Specialist, USDA-NRCS, Redfield, SD.
This Provisional Ecological Site concept has passed both Quality Control and Quality Assurance processes. Officially approved for publication by David Kraft as of 11/12/2020.
Non-discrimination Statement
In accordance with Federal civil rights law and U.S. Department of Agriculture (USDA) civil rights regulations and policies, the USDA, its Agencies, offices, and employees, and institutions participating in or administering USDA programs are prohibited from discriminating based on race, color, national origin, religion, sex, gender identity (including gender expression), sexual orientation, disability, age, marital status, family/parental status, income derived from a public assistance program, political beliefs, or reprisal or retaliation for prior civil rights activity, in any program or activity conducted or funded by USDA (not all bases apply to all programs). Remedies and complaint filing deadlines vary by program or incident.
Persons with disabilities who require alternative means of communication for program information (e.g., Braille, large print, audiotape, American Sign Language, etc.) should contact the responsible Agency or USDA's TARGET Center at (202) 720-2600 (voice and TTY) or contact USDA through the Federal Relay Service at (800) 877-8339. Additionally, program information may be made available in languages other than English.
To file a program discrimination complaint, complete the USDA Program Discrimination Complaint Form, AD-3027, available online and at any USDA office, or write a letter addressed to USDA and provide in the letter all of the information requested in the form. To request a copy of the complaint form, call (866) 632- 9992. Submit your completed form or letter to USDA by: (1) mail: U.S. Department of Agriculture, Office of the Assistant Secretary for Civil Rights, 1400 Independence Avenue, SW, Washington, D.C. 20250-9410; (2) fax: (202) 690-7442; or (3) email: program.intake@usda.gov.
Rangeland health reference sheet
Interpreting Indicators of Rangeland Health is a qualitative assessment protocol used to determine ecosystem condition based on benchmark characteristics described in the Reference Sheet. A suite of 17 (or more) indicators are typically considered in an assessment. The ecological site(s) representative of an assessment location must be known prior to applying the protocol and must be verified based on soils and climate. Current plant community cannot be used to identify the ecological site.
Author(s)/participant(s) | David Schmidt, Tim Nordquist, Stan Boltz |
---|---|
Contact for lead author | david.schmidt@sd.usda.gov 605-352-1236 |
Date | 12/07/2004 |
Approved by | Suzanne Mayne-Kinney |
Approval date | |
Composition (Indicators 10 and 12) based on | Annual Production |
Indicators
-
Number and extent of rills:
Rills should not be present. -
Presence of water flow patterns:
Typically not observable. -
Number and height of erosional pedestals or terracettes:
None. -
Bare ground from Ecological Site Description or other studies (rock, litter, lichen, moss, plant canopy are not bare ground):
Bare ground 5-15 percent. -
Number of gullies and erosion associated with gullies:
Active gullies should not be present. -
Extent of wind scoured, blowouts and/or depositional areas:
None. -
Amount of litter movement (describe size and distance expected to travel):
Little to no plant litter movement. -
Soil surface (top few mm) resistance to erosion (stability values are averages - most sites will show a range of values):
Stability class usually 5-6. Typically high root content, organic matter, and granular structure. Soil surface is resistant to erosion. -
Soil surface structure and SOM content (include type of structure and A-horizon color and thickness):
Use soil series description for depth and color of A-horizon. -
Effect of community phase composition (relative proportion of different functional groups) and spatial distribution on infiltration and runoff:
Healthy, deep rooted native grasses enhance infiltration and reduce runoff. -
Presence and thickness of compaction layer (usually none; describe soil profile features which may be mistaken for compaction on this site):
No compaction layer should be evident. -
Functional/Structural Groups (list in order of descending dominance by above-ground annual-production or live foliar cover using symbols: >>, >, = to indicate much greater than, greater than, and equal to):
Dominant:
Mid and tall cool-season bunchgrasses >Sub-dominant:
Mid warm-season grasses = short warm-season grasses >Other:
Tall warm-season grasses = short grass-likes = forbs = shrubs > short cool-season grasses.Additional:
Species in other functional/structural groups are present, but occur in minor amounts. Due to differing root structure and distribution, Kentucky bluegrass and smooth bromegrass do not fit into reference plant community F/S groups. -
Amount of plant mortality and decadence (include which functional groups are expected to show mortality or decadence):
Very little to no evidence of decadence or mortality. -
Average percent litter cover (%) and depth ( in):
Litter cover is in contact with soil surface. -
Expected annual annual-production (this is TOTAL above-ground annual-production, not just forage annual-production):
1,400–2,500 lbs./acre air-dry weight, average 2,000 lbs./acre air-dry weight. -
Potential invasive (including noxious) species (native and non-native). List species which BOTH characterize degraded states and have the potential to become a dominant or co-dominant species on the ecological site if their future establishment and growth is not actively controlled by management interventions. Species that become dominant for only one to several years (e.g., short-term response to drought or wildfire) are not invasive plants. Note that unlike other indicators, we are describing what is NOT expected in the reference state for the ecological site:
Refer to State and Local Noxious Weed List, also Kentucky bluegrass, smooth bromegrass. -
Perennial plant reproductive capability:
All species are capable of reproducing.
Print Options
Sections
Font
Other
The Ecosystem Dynamics Interpretive Tool is an information system framework developed by the USDA-ARS Jornada Experimental Range, USDA Natural Resources Conservation Service, and New Mexico State University.
Click on box and path labels to scroll to the respective text.
T1A | - | Heavy continuous grazing, non-use, no fire, invasion |
---|---|---|
T1B | - | Tillage |
T2A | - | Non-use, no fire, heavy continuous grazing |
T2C | - | Tillage |
T3A | - | Long term prescribed grazing, prescribed burning, seeding |
T3C | - | Tillage |
T4A | - | Seeding |
T4B | - | Seeding, abandonment of cropping |
State 1 submodel, plant communities
1.1A | - | Heavy continuous grazing |
---|---|---|
1.2A | - | Prescribed grazing with recovery periods, prescribed burning |
State 2 submodel, plant communities
2.1A | - | Heavy continuous grazing |
---|---|---|
2.2A | - | Prescribed grazing with recovery periods |
State 3 submodel, plant communities
3.1A | - | Heavy continuous grazing |
---|---|---|
3.3A | - | Time w/wo disturbances |