
Natural Resources
Conservation Service
Ecological site R053CY014SD
Shallow To Gravel
Last updated: 1/22/2024
Accessed: 10/18/2025
General information
Provisional. A provisional ecological site description has undergone quality control and quality assurance review. It contains a working state and transition model and enough information to identify the ecological site.

Figure 1. Mapped extent
Areas shown in blue indicate the maximum mapped extent of this ecological site. Other ecological sites likely occur within the highlighted areas. It is also possible for this ecological site to occur outside of highlighted areas if detailed soil survey has not been completed or recently updated.
MLRA notes
Major Land Resource Area (MLRA): 053C–Southern Dark Brown Glaciated Plains
The Southern Dark Brown Glaciated Plains (53C) is located within the Northern Great Plains Region. It is entirely in South Dakota encompassing about 3,990 square miles (Figure 1). The elevation ranges from 1,300 to 2,300 feet. The MLRA is level to gently rolling till plains including many areas of potholes. A terminal moraine occurs in the southern end of the MLRA. Moderately steep and steep slopes are adjacent to the major valleys. The headwaters of many creeks in central South Dakota occur in the high-lying MLRA. (USDA-NRCS 2006).
The dominant soil orders in this MLRA are Mollisols and Inceptisols. The soils in the area dominantly have a mesic soil temperature regime, an ustic soil moisture regime, and mixed or smectitic mineralogy. They generally are very deep, well drained or moderately well drained, and are loamy or clayey. This area supports natural prairie vegetation characterized by western wheatgrass (Pascopyrum smithii), big bluestem (Andropogon gerardii), needleandthread (Hesperostipa comata), and green needlegrass (Nassella viridula), Little bluestem (Schizachyrium scoparium), sideoats grama (Bouteloua curtipendula), and prairie sandreed (Calamovilfa longifolia) are important species on steeper sites. Western snowberry (Symphoricarpos occidentalis) and prairie rose (Rosa arkansana) are commonly dispersed throughout the area. (USDA-NRCS 2006).
Classification relationships
Major Land Resource Area (MLRA): Southern Dark Brown Glaciated Plains (53C) (USDA-NRCS 2006)
USFS Subregions: Northeastern Glaciated Plains Section (331E); Missouri Coteau Subsection (331Ea); Western Great Plains Section (331F); Missouri Breaks Subsection (331Fe); Western Glaciated Plains Section (332B); Southern Missouri Coteau Slope Subsection (332Bd, 332Be); North Central Great Plains Section (332D); Southern Missouri Coteau Slope Subsection (332Dd); Southern Missouri Coteau Subsection (332De) - (Cleland et al. 2007).
US EPA Level IV Ecoregion: Missouri Coteau (42a); Southern Missouri Coteau (42e); Southern Missouri Coteau Slope (42f) - (USEPA 2013)
Ecological site concept
The Shallow to Gravel ecological site typically occurs in the upland areas, but some maybe located on a higher floodplain. Soils are somewhat excessively drained and has sand and gravel within 10 to 20 inches of the soil surface. In some areas the surface layer may consist of stony to extremely stony. The water holding capacity of the sand and gravel is low, leaving less soil moisture for plant growth, production is lower, and species composition will tend towards more drought tolerant. Slopes can range from 0 to 25 percent.
Vegetation in the Reference State is dominated by cool and warm season grasses including needle and thread, western wheatgrass, and blue grama. Non-native grasses such as Kentucky bluegrass and smooth brome may invade due to shifts in disturbance regime.
Associated sites
R053CY009SD |
Sandy These sites occur on upland areas. The soils are well to moderately well drained and have surface and subsoil textures which are sandy loam, fine sandy loam, and loamy very fine sand. The central concept soil series is Henkin, but other series are included. |
---|---|
R053CY010SD |
Loamy These sites occur on upland areas. The soils are well drained and have sand and gravel at a depth of greater than 20 inches below the soil surface. The central concept soil series are Enet and Oahe, but other series are included. |
R053CY012SD |
Thin Upland These sites occur on upland areas. The soils are well drained and will effervesce with acid at or near the surface. The central concept soil series are Betts, Ethan, and Java, but other series are included. |
R053CY016SD |
Very Shallow These sites occur on upland areas. The soils are excessively drained and have sand and gravel within 10 inches of the soil surface. The central concept soil series is Talmo, but other series are included. |
Similar sites
R053CY009SD |
Sandy The Sandy site occurs in a similar landscape position and does not have sand and gravel within 10 to 20 inches of the soil surface. The plant community has more big bluestem; and higher production. |
---|---|
R053CY010SD |
Loamy The Loamy site occurs in a similar landscape position and does not have sand and gravel within 10 to 20 inches of the soil surface. The plant community has more green needlegrass and western wheatgrass, and less needleandthread. |
Table 1. Dominant plant species
Tree |
Not specified |
---|---|
Shrub |
Not specified |
Herbaceous |
(1) Hesperostipa comata ssp. comata |
Physiographic features
This site occurs on nearly level to moderately sloping uplands.

Figure 2. Distribution map
Table 2. Representative physiographic features
Landforms |
(1)
Outwash plain
(2) Moraine (3) Outwash terrace |
---|---|
Flooding frequency | None |
Ponding frequency | None |
Elevation | 1,300 – 2,300 ft |
Slope | 1 – 20% |
Water table depth | 80 in |
Aspect | Aspect is not a significant factor |
Climatic features
MLRA 53C is considered to have a continental climate – cold winters and hot summers, low humidity, light rainfall, and much sunshine. Extremes in temperature may also abound. The climate is the result of this MLRA’s location near the geographic center of North America. There are few natural barriers on the Northern Great Plains and air masses move freely across the plains and account for rapid changes in temperature.
Annual precipitation typically ranges from 15 to 25 inches per year. The average annual temperature is about 45°F. January is the coldest month with average temperatures ranging from about 15°F (Stephan, South Dakota (SD)), to about 16°F (Onida 4 NW, SD). July is the warmest month with temperatures averaging from about 72°F (Stephan, SD), to about 74°F (Onida 4 NW, SD). The range of normal average monthly temperatures between the coldest and warmest months is about 58°F. This large annual range attests to the continental nature of this area's climate. Hourly winds are estimated to average about 12 miles per hour (mph) annually, ranging from about 13 mph during the spring to about 11 mph during the summer. Daytime winds are generally stronger than nighttime and occasional strong storms may bring brief periods of high winds with gusts to more than 50 mph.
Growth of cool-season plants begins in early to mid-March, slowing or ceasing in late June. Warm-season plants begin growth about mid-May and continue to early or mid-September. Greenup of cool-season plants may occur in September and October when adequate soil moisture is present.
Table 3. Representative climatic features
Frost-free period (characteristic range) | 107-127 days |
---|---|
Freeze-free period (characteristic range) | 128-150 days |
Precipitation total (characteristic range) | 20-21 in |
Frost-free period (actual range) | 104-129 days |
Freeze-free period (actual range) | 127-159 days |
Precipitation total (actual range) | 19-24 in |
Frost-free period (average) | 117 days |
Freeze-free period (average) | 139 days |
Precipitation total (average) | 21 in |
Figure 3. Monthly precipitation range
Figure 4. Monthly minimum temperature range
Figure 5. Monthly maximum temperature range
Figure 6. Monthly average minimum and maximum temperature
Figure 7. Annual precipitation pattern
Figure 8. Annual average temperature pattern
Climate stations used
-
(1) GETTYSBURG 13W [USC00393302], Gettysburg, SD
-
(2) GETTYSBURG [USC00393294], Gettysburg, SD
-
(3) HIGHMORE 23 N [USC00393838], Highmore, SD
-
(4) ONIDA 4 NW [USC00396292], Onida, SD
-
(5) PIERRE RGNL AP [USW00024025], Pierre, SD
-
(6) HARROLD 12 SSW [USC00393608], Pierre, SD
-
(7) STEPHAN 2 NW [USC00397992], Highmore, SD
-
(8) WESSINGTON SPRINGS [USC00399070], Wessington Springs, SD
Influencing water features
No riparian areas or wetland features are directly associated with this site.
Soil features
The soils on this site are shallow to layers high in gravel. This abrupt change in texture and structure often responds like a restrictive layer even though roots can penetrate into the gravel layers. The high amounts of gravels in these layers are also very droughty and limit plant production. Soils are somewhat excessively drained and have sand and gravel within 10 to 20 inches of the soil surface. In some areas the surface layer may consist of stony to extremely stony. The central concept soil series is Delmont, but other series are included. Surface soils have loam textures and are 5 to 15 inches in depth. Saturated hydraulic conductivity is typically moderate in the upper layers to very rapid in the underlying gravel layers, and available water capacity is low to moderate. This site is on nearly level to moderately steep outwash plains and outwash terraces. Slope ranges from 1 to 20 percent.
These soils are mainly susceptible to water erosion. The hazard of water erosion increases on slopes greater than about 10 percent. Loss of 50 percent or more of the surface layer of the soils on this site can result in a shift in species composition and/or production.
Access Web Soil Survey (http://websoilsurvey.nrcs.usda.gov/app/) for specific local soils information.
Table 4. Representative soil features
Surface texture |
(1) Loam |
---|---|
Family particle size |
(1) Sandy |
Drainage class | Somewhat excessively drained |
Permeability class | Moderately slow |
Soil depth | 80 in |
Surface fragment cover <=3" | 2% |
Surface fragment cover >3" | Not specified |
Available water capacity (0-40in) |
4 in |
Calcium carbonate equivalent (0-40in) |
3% |
Electrical conductivity (0-40in) |
2 mmhos/cm |
Soil reaction (1:1 water) (0-40in) |
6.1 – 7.8 |
Subsurface fragment volume <=3" (Depth not specified) |
6 – 34% |
Subsurface fragment volume >3" (Depth not specified) |
2% |
Ecological dynamics
The site which is located in the Southern Dark Brown Glaciated Plains Region developed under Northern Great Plains climatic conditions and included natural influence of large herding herbivores and occasional fire. Changes will occur in the plant communities due to weather fluctuations and management actions. Under adverse impacts, a relatively rapid decline in vegetative vigor and composition can occur. Under favorable conditions the site has the potential to resemble the Reference State. Interpretations for this site are based primarily on the 1.1 Needleandthread-Western Wheatgrass-Blue Grama Plant Community Phase. This community phase and the Reference State have been determined by study of rangeland relic areas, areas protected from excessive disturbance, and areas under long-term rotational grazing regimes. Trends in plant community dynamics ranging from heavily grazed to lightly grazed areas, seasonal use pastures, and historical accounts also have been considered. Due to a general invasion of exotic species such as Kentucky bluegrass (Poa pratensis) and smooth bromegrass (Bromus inermis) across the MLRA within this site, returning to the 1.1 Western Wheatgrass-Needleandthread-Blue Grama Plant Community Phase may not be possible.
This ecological site (ES) has been grazed by domestic livestock since they have been introduced into the area. The introduction of domestic livestock and the use of fencing and reliable water sources have changed the ecological dynamics of this site. Heavy continuous grazing (season-long grazing during the typical growing season of April through October and repeated seasonal grazing during the same time of year each year) without adequate recovery periods following grazing events causes departure from the 2.1 Needleandthread-Western Wheatgrass-Blue Grama Plant Community Phase. Sedge (Carex) and blue grama (Bouteloua gracilis) will increase and eventually develop into a sod. Western wheatgrass will increase initially and then begin to decrease. Needleandthread, porcupine grass (Hesperostipa spartea), sideoats grama, big bluestem, and little bluestem will decrease in frequency and production. Extended periods of nonuse and lack of fire will result in excessive litter and a plant community dominated by cool-season grasses such as Kentucky bluegrass and smooth bromegrass and in some cases crested wheatgrass (Agropyron cristatum) and cheatgrass (Bromus tectorum).
Following the state and transition diagram are narratives for each of the described states and community phases. These may not represent every possibility, but they are the most prevalent and repeatable states and community phases. The plant composition tables shown below have been developed from the best available knowledge at the time of this revision. As more data are collected, some of these community phases and states may be revised or removed, and new ones may be added. The main purpose for including the descriptions here is to capture the current knowledge and experience at the time of this revision.
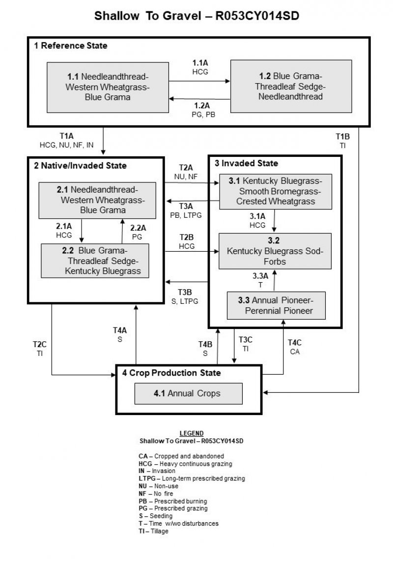
The following is a diagram that illustrates the common plant community phases that can occur on the site and the transition and community pathways between them. The ecological processes will be discussed in more detail in the plant community descriptions following the diagram.
The vegetation pie charts may not add up to 100 percent due to internal rounding error.
State and transition model

Figure 9. State-And-Transition model

Figure 10. Matrix
More interactive model formats are also available.
View Interactive Models
More interactive model formats are also available.
View Interactive Models
Click on state and transition labels to scroll to the respective text
State 1 submodel, plant communities
State 2 submodel, plant communities
State 3 submodel, plant communities
State 4 submodel, plant communities
State 1
Reference State
The Reference State represents the natural range of variability that dominated the dynamics of this ecological site (ES). This state was dominated by cool-season grasses. The primary disturbance mechanisms for this site in the reference condition included frequent fire and grazing by large herding ungulates. Timing of fires and grazing coupled with weather events dictated the dynamics that occurred within the natural range of variability. Mid- and tall-stature grass species can decline and a corresponding increase in short-stature warm-season grasses and cool-season grass-like species will occur. Today, a similar state the Native/Invaded State (State 2) can be found on areas that receive managed grazing and prescribed fire and sometimes on areas receiving occasional short periods of rest. These sites are differentiated by the presence of exotic species such as Kentucky bluegrass and smooth brome. On most shallow to gravel ESs within this MLRA, these species have invaded and are now present. It is likely that attaining the Reference State as it is described here (without the presence of exotic herbaceous species) is not possible.
Community 1.1
Needleandthread-Western Wheatgrass-Blue Grama
Interpretations are based primarily on the 1.1 Needleandthread-Western Wheatgrass-Blue Grama Plant Community Phase. This community phase is the most dominant both temporally and spatially. Cool-season grass and grass-like species dominate this plant community, with warm-season grasses being subdominant. The major grass or grass-like species include needleandthread, western wheatgrass, little bluestem, blue grama, and sideoats grama. Other grass and grass-likes species occurring include big bluestem, threadleaf sedge (Carex filifolia), porcupine grass, plains muhly (Muhlenbergia cuspidata), prairie Junegrass (Koeleria macrantha), and sand dropseed (Sporobolus cryptandrus). The vegetation consisted of about 85 percent grass and grass-like species, 10 percent forbs, and 5 percent shrubs. A variety of leguminous and nonleguminous perennial forbs are present in minor amounts. This is a naturally nitrogen deficient plant community. This plant community is resilient and well adapted to the Northern Great Plains climatic conditions. The diversity in plant species allowed for high drought tolerance. This is a sustainable plant community in regards to site and soil stability, watershed function, and biologic integrity.
Figure 11. Annual production by plant type (representative values) or group (midpoint values)
Table 5. Annual production by plant type
Plant type | Low (lb/acre) |
Representative value (lb/acre) |
High (lb/acre) |
---|---|---|---|
Grass/Grasslike | 1020 | 1615 | 2170 |
Shrub/Vine | 90 | 142 | 215 |
Forb | 90 | 143 | 215 |
Total | 1200 | 1900 | 2600 |
Figure 12. Plant community growth curve (percent production by month). SD5301, Southern Dark Brown Glaciated Plains, cool-season dominant.. Cool-season dominant..
Jan | Feb | Mar | Apr | May | Jun | Jul | Aug | Sep | Oct | Nov | Dec |
---|---|---|---|---|---|---|---|---|---|---|---|
J | F | M | A | M | J | J | A | S | O | N | D |
0 | 0 | 4 | 12 | 25 | 36 | 10 | 5 | 4 | 4 | 0 | 0 |
Community 1.2
Blue Grama-Threadleaf Sedge-Needleandthread
This plant community evolved under heavy continuous grazing or from over utilization during extended drought periods. The potential plant community was made up of approximately 80 percent grasses and grass-like species, 10 percent forbs, and 10 percent shrubs. Dominant grass and grass-like species included blue grama, sideoats grama, threadleaf sedge, green needlegrass, and needleandthread. Grasses of secondary importance included sand dropseed, little bluestem, western wheatgrass, hairy grama (Bouteloua hirsuta), and threeawn (Aristida). Forbs commonly found in this plant community included white sagebrush (Artemisia ludoviciana), prairie coneflower (Ratibida columnifera), and Cuman ragweed (Ambrosia psilostachya). This plant community had similar plant composition to the 2.2 Blue Grama-Threadleaf Sedge-Kentucky Bluegrass Plant Community Phase. The main difference is that this plant community phase did not have the presence of nonnative invasive species such as Kentucky bluegrass and smooth bromegrass. When compared to the 1.1 Needleandthread-Western Wheatgrass-Blue Grama Plant Community Phase, threadleaf sedge, and blue grama increased. Western wheatgrass and needlegrasses decreased and production of mid- and tall warm-season grasses was also reduced. This plant community was moderately resistant to change. The herbaceous species present were well adapted to grazing; however, species composition could be altered through long-term overgrazing. If the herbaceous component was intact, it tended to be resilient if the disturbance was not long-term.
Figure 13. Plant community growth curve (percent production by month). SD5304, Southern Dark Brown Glaciated Plains, warm-season dominant, cool-season subdominant.. Warm-season dominant, cool-season subdominant..
Jan | Feb | Mar | Apr | May | Jun | Jul | Aug | Sep | Oct | Nov | Dec |
---|---|---|---|---|---|---|---|---|---|---|---|
J | F | M | A | M | J | J | A | S | O | N | D |
0 | 0 | 3 | 7 | 17 | 25 | 25 | 15 | 7 | 1 | 0 | 0 |
Pathway 1.1A
Community 1.1 to 1.2
Heavy continuous grazing which includes herbivory at moderate to heavy levels at the same time of year each year without adequate recovery periods, or during periods of below normal precipitation when grazing frequency and intensity increases on these sites due to limited forage availability on adjacent upland sites will shift this community to the 1.2 Blue Grama-Threadleaf Sedge-Needleandthread Plant Community Phase.
Pathway 1.2A
Community 1.2 to 1.1
Prescribed grazing, and prescribed burning occurring at relatively frequent intervals (3 to 5 years) and a return to normal disturbance regime levels and frequencies or periodic light to moderate grazing possibly including periodic rest will convert this plant community to the 1.1 Needleandthread-Western Wheatgrass-Blue Grama Plant Community Phase.
State 2
Native/Invaded State
This state is very similar to the Reference State. The invasion of introduced warm- and cool-season sod grasses has altered the natural range of variability for this ecological site (ES). This state still has strong components of both warm- and cool-season grass species, but invasive introduced cool-season sod grasses are now present in all community phases of this state. The primary disturbance mechanisms for this state include grazing by domestic livestock and a lack of fire. Timing of fires and grazing coupled with weather events dictate the dynamics that occur within this state. The mid- and tall warm- and cool-season native grasses can decline and an increase in introduced sod grasses will occur. Many times, this state appears as a mosaic of community phases caused primarily by continuous season-long grazing.
Community 2.1
Needleandthread-Western Wheatgrass-Blue Grama
This community phase most closely resembles the Reference State in appearance and ecological functions (e.g., hydrologic, biotic, and soil and site stability). The cool-season dominated community is maintained with grazing systems that allow for adequate recovery periods following grazing events and potentially the combination of grazing and prescribed burning which closely mimics the natural disturbance regime. This community phase closely resembles the 1.1 Needleandthread-Western Wheatgrass-Blue Grama Plant Community Phase. The basic difference is the presence of minor amounts of introduced cool-season grasses such as Kentucky bluegrass and forbs. This is likely a naturally nitrogen deficient plant community. A change in the nutrient cycle on this ES possibly due to the introduction of nonnative species may be a causative factor leading to the eventual dominance of cool-season introduced grasses in the Invaded State (State 3).
Figure 14. Plant community growth curve (percent production by month). SD5301, Southern Dark Brown Glaciated Plains, cool-season dominant.. Cool-season dominant..
Jan | Feb | Mar | Apr | May | Jun | Jul | Aug | Sep | Oct | Nov | Dec |
---|---|---|---|---|---|---|---|---|---|---|---|
J | F | M | A | M | J | J | A | S | O | N | D |
0 | 0 | 4 | 12 | 25 | 36 | 10 | 5 | 4 | 4 | 0 | 0 |
Community 2.2
Blue Grama-Threadleaf Sedge-Kentucky Bluegrass
Grazing pressure reduces the mid and tall less grazing tolerant species, while the shorter more grazing tolerant species increase. Litter amounts are reduced and energy capture shifts to slightly earlier in the growing season due to a decline in the later maturing native grass component and an increase in the earlier maturing grass-likes and nonnative grasses. Kentucky bluegrass increases and may approach dominance in this community. Vegetation consists of about 80 percent grass and grass-like species, 10 percent forbs, and 10 percent shrubs. Blue grama, threadleaf sedge, Kentucky bluegrass, and fringed sagewort (Artemisia frigida) are the dominant species in the early stages of this community phase. Significant grass species include Kentucky bluegrass, needleandthread, red threeawn (Aristida purpurea), and sand dropseed. Other grasses present include western wheatgrass, green needlegrass, and prairie Junegrass. The common forbs include white sagebrush, goldenrod (Oligoneuron), green sagewort (Artemisia campestris), heath aster (Symphyotrichum ericoides), and scurfpea (Psoralidium). Fringed sagewort (Artemisia frigida), brittle cactus (Opuntia fragilis), plains pricklypear (Opuntia polyacantha), and rose (Rosa spp.) are the principal shrubs. This community phase is often dispersed throughout the pasture, in an overgrazed or undergrazed pattern, typically referred to as patch grazing. Some areas (overgrazed) will exhibit the impacts of heavy use, while other areas (undergrazed) will have a build-up of litter and a high amount of plant decadence. This is a typical pattern found in properly stocked pastures grazed season-long. In the undergrazed patches, litter buildup reduces plant vigor and density and native seedling recruitment declines. Due to a lack of tiller stimulation and sunlight, native bunchgrasses typically develop dead centers and native rhizomatous grasses are limited to small colonies. In the overgrazed patches, plant vigor is reduced and the competitive advantage goes towards the grazing tolerant short-statured species such as Kentucky bluegrass and sedge. This community phase is approaching the threshold which would readily lead to the Invaded State. If management is significantly altered, this community phase can still be reverted back to the 2.1 Needleandthread-Western Wheatgrass-Blue Gama community phase. Grazing management that allows for adequate recovery periods will tend to restore the ecological functions of this site. Fire can play a role in reducing the introduced cool-season species. The combination of grazing and fire may be the most effective in moving this community phase towards a community resembling the interpretive plant community. Soil erosion is low. Infiltration is reduced, while runoff is increased compared to the interpretive plant community.
Figure 15. Annual production by plant type (representative values) or group (midpoint values)
Table 6. Annual production by plant type
Plant type | Low (lb/acre) |
Representative value (lb/acre) |
High (lb/acre) |
---|---|---|---|
Grass/Grasslike | 770 | 1190 | 1490 |
Shrub/Vine | 65 | 105 | 155 |
Forb | 65 | 105 | 155 |
Total | 900 | 1400 | 1800 |
Figure 16. Plant community growth curve (percent production by month). SD5304, Southern Dark Brown Glaciated Plains, warm-season dominant, cool-season subdominant.. Warm-season dominant, cool-season subdominant..
Jan | Feb | Mar | Apr | May | Jun | Jul | Aug | Sep | Oct | Nov | Dec |
---|---|---|---|---|---|---|---|---|---|---|---|
J | F | M | A | M | J | J | A | S | O | N | D |
0 | 0 | 3 | 7 | 17 | 25 | 25 | 15 | 7 | 1 | 0 | 0 |
Pathway 2.1A
Community 2.1 to 2.2
Heavy continuous grazing which includes herbivory at moderate to heavy levels at the same time of year each year without adequate recovery periods, or during periods of below normal precipitation when grazing frequency and intensity increases on these sites due to limited forage availability on adjacent upland sites will shift this community to the 2.2 Blue Grama-Threadleaf Sedge-Kentucky Bluegrass Plant Community Phase.
Pathway 2.2A
Community 2.2 to 2.1
Prescribed grazing (alternating season of use and providing adequate recovery periods) or periodic light to moderate grazing possibly including periodic rest will convert this plant community to the 2.1 Needleandthread-Western Wheatgrass-Blue Gama Plant Community Phase.
Conservation practices
Prescribed Grazing |
---|
State 3
Invaded State
This state is the result of invasion and dominance of introduced cool-season sod grasses. This state is characterized by the dominance of Kentucky bluegrass and smooth bromegrass and an increasing thatch layer that effectively blocks introduction of other plants into the system. Once the state is well established, even drastic events such as high intensity fires driven by high fuel loads of litter and thatch will not result in more than a very short-term reduction of these two species. These events may reduce the dominance of the sod grasses, but due to the large amount of rhizomes in the soil, there is no opportunity for the native species to establish and dominate before the sod grasses rebound and again dominate the system. Plant litter accumulation tends to favor the more shade tolerant introduced grass species. The nutrient cycle is also impaired and the result is typically a higher level of nitrogen which also favors the introduced species. Increasing plant litter decreases the amount of sunlight reaching plant crowns thereby shifting competitive advantage to shade tolerant introduced grass species. Studies indicate that soil biological activity is altered and this shift apparently exploits the soil microclimate and encourages growth of the introduced grass species. Once the threshold is crossed, a change in grazing management alone cannot cause a reduction in sodgrass dominance. Preliminary studies would tend to indicate this threshold may exist when Kentucky bluegrass exceeds 30 percent of the plant community and native grasses represent less than 40 percent of the plant community composition.
Community 3.1
Kentucky Bluegrass-Smooth Bromegrass-Crested Wheatgrass
This plant community phase is a result of extended periods of non-use and no fire. It is characterized by a dominance of smooth bromegrass and Kentucky bluegrass. Crested wheatgrass is also present in varying amounts within this plant community phase but will rarely exceed 20 percent. The dominance by exotic species is at times so complete that other species are difficult to find on the site. A thick duff layer also accumulates at or above the soil surface and eventually a thatch-mat layer may develop. Nutrient cycling is greatly reduced and native plants have great difficulty becoming established. When dominated by smooth bromegrass, infiltration is moderately reduced and runoff is moderate. Production can be equal to or higher than the interpretive plant community. However, when dominated by Kentucky bluegrass, infiltration is greatly reduced and runoff is high. Production in this case will likely be significantly less. In either case, the period that palatability is high is relatively short, as these cool-season species mature rapidly. Energy capture is also reduced.
Figure 17. Annual production by plant type (representative values) or group (midpoint values)
Table 7. Annual production by plant type
Plant type | Low (lb/acre) |
Representative value (lb/acre) |
High (lb/acre) |
---|---|---|---|
Grass/Grasslike | 990 | 1513 | 2020 |
Forb | 80 | 128 | 190 |
Shrub/Vine | 30 | 59 | 90 |
Total | 1100 | 1700 | 2300 |
Figure 18. Plant community growth curve (percent production by month). SD5301, Southern Dark Brown Glaciated Plains, cool-season dominant.. Cool-season dominant..
Jan | Feb | Mar | Apr | May | Jun | Jul | Aug | Sep | Oct | Nov | Dec |
---|---|---|---|---|---|---|---|---|---|---|---|
J | F | M | A | M | J | J | A | S | O | N | D |
0 | 0 | 4 | 12 | 25 | 36 | 10 | 5 | 4 | 4 | 0 | 0 |
Community 3.2
Kentucky Bluegrass Sod-Forbs
This plant community phase is a result of heavy, continuous seasonal grazing or heavy, continuous season-long grazing. It is characterized by a dominance of Kentucky bluegrass, sedge, and blue grama. The dominance is at times so complete that other species are difficult to find on the site. A relatively thick duff layer can sometimes accumulate at or above the soil surface and eventually a thatch-mat layer may develop at the surface as well. Nutrient cycling is greatly reduced and native plants have great difficulty becoming established. Infiltration is greatly reduced and runoff is high. Production will be significantly reduced when compared to the interpretive plant community. The period that palatability is high is relatively short as Kentucky bluegrass matures rapidly. Energy capture is also reduced. Biological activity in the soil is likely reduced significantly in this phase.
Figure 19. Annual production by plant type (representative values) or group (midpoint values)
Table 8. Annual production by plant type
Plant type | Low (lb/acre) |
Representative value (lb/acre) |
High (lb/acre) |
---|---|---|---|
Grass/Grasslike | 690 | 990 | 1270 |
Forb | 55 | 120 | 200 |
Shrub/Vine | 55 | 90 | 130 |
Total | 800 | 1200 | 1600 |
Figure 20. Plant community growth curve (percent production by month). SD5301, Southern Dark Brown Glaciated Plains, cool-season dominant.. Cool-season dominant..
Jan | Feb | Mar | Apr | May | Jun | Jul | Aug | Sep | Oct | Nov | Dec |
---|---|---|---|---|---|---|---|---|---|---|---|
J | F | M | A | M | J | J | A | S | O | N | D |
0 | 0 | 4 | 12 | 25 | 36 | 10 | 5 | 4 | 4 | 0 | 0 |
Community 3.3
Annual Pioneer-Perennial Pioneer
This plant community developed under continuous heavy grazing or other excessive disturbances (e.g., heavy use areas, defoliation by rodents, etc.). The potential plant community is made up of approximately 40 to 80 percent grasses and grass-like species, 20 to 60 percent forbs, and 0 to 5 percent shrubs. The species present in this phase are highly variable, but often include nonnative invasive and early seral species. Plant diversity is low (plant richness may be high but areas are often dominated by a few species). The ecological processes are difficult to restore because of the loss of plant diversity and overall soil disturbance. Soil erosion is potentially very high because of the bare ground and shallow rooted herbaceous plant community. Water runoff will increase and infiltration will decrease due to animal related soil compaction and loss of root mass due to low plant diversity and vigor. This plant community will require significant economic inputs and time to move towards another plant community. This movement is highly variable in its succession. This is due to the loss of diversity (including the loss of the seed bank), within the existing plant community, and the plant communities on adjacent sites. This community can be renovated to improve the production capability; however, if management changes are not made the vegetation could revert back invasive or early seral species.
Pathway 3.1A
Community 3.1 to 3.2
Heavy continuous grazing which includes herbivory at moderate to heavy levels at the same time of year each year without adequate recovery periods, or during periods of below normal precipitation when grazing frequency and intensity increases on these sites due to limited forage availability on adjacent upland sites will shift this community to the 3.2 Kentucky Bluegrass Sod-Forbs Plant Community Phase.
Pathway 3.3A
Community 3.3 to 3.2
This community pathway occurs with the passage of time as successional processes take place and perennial plants gradually begin to establish on the site again. This pathway will lead to the 3.2 Kentucky Bluegrass Sod-Forbs Plant Community Phase.
State 4
Crop Production State
This state is characterized by the production of annual crops using a variety of tillage and cropping systems along with management practices.
Community 4.1
Annual Crops
This plant community developed with the use of a variety of tillage systems and cropping systems for the production of annual crops including corn, soybeans, wheat, and a variety of other crops.
Transition T1A
State 1 to 2
Non-use and no surface fire for extended periods of time (typically for 10 or more years) causing litter levels to become high enough to reduce native grass vigor, diversity, and density, or heavy continuous grazing or invasion of non-native plant species will likely lead this state over a threshold resulting in the Native/Invaded State (State 2).
Transition T1B
State 1 to 4
Tillage will cause a shift over a threshold leading to the 4.1 Annual Crops Plant Community Phase within the Crop Production State (State 4).
Transition T2A, T2B
State 2 to 3
Heavy continuous grazing at the same time of year, each year, without adequate recovery periods or chronic heavy grazing will shift this community to the 3.2 Kentucky Bluegrass Sod/Forbs Plant Community Phase in the 3.0 Invaded State.
Constraints to recovery. Non-use and no surface fire for extended periods of time (typically for 10 or more years) causing litter levels to become high enough to reduce native grass vigor, diversity, and density, will likely lead this state over a threshold leading to the 3.1 Kentucky Bluegrass-Smooth Bromegrass-Crested Wheatgrass Community Phase within the Invaded State (State 3).
Context dependence. Heavy continuous grazing (stocking levels well above carrying capacity for extended portions of the growing season and often at the same time of year each year), will likely lead this state over a threshold leading to the 3.2 Kentucky Bluegrass Sod-Forbs Community Phase within the Invaded State (State 3). Grazing repeatedly in the early growing season can expedite this shift by causing mechanical disturbance due to trampling.
Transition T2C
State 2 to 4
Tillage will cause a shift over a threshold leading to the 4.1 Annual Crops Plant Community Phase within the Crop Production State (State 4).
Restoration pathway T3A, T3B
State 3 to 2
Long-term prescribed grazing (moderate stocking levels coupled with adequate recovery periods, or other grazing systems such as high-density, low-frequency intended to treat specific species dominance, or periodic light to moderate stocking levels possibly including periodic rest) coupled with prescribed burning occurring at relatively frequent intervals (3 to 5 years) and a return to normal disturbance regime levels may lead the 3.1 Kentucky Bluegrass-Smooth Bromegrass-Crested Wheatgrass Community Phase within the Invaded State (State 3) over a threshold to the Native/Invaded State (State 2). Seeding followed by long-term prescribed grazing (moderate stocking levels coupled with adequate recovery periods, or other grazing systems such as high-density, low-frequency intended to treat specific species dominance, or periodic light to moderate stocking levels possibly including periodic rest) may lead this Invaded State (State 3) over a threshold to the Native/Invaded State (State 2).
Conservation practices
Prescribed Grazing |
---|
Transition T3C
State 3 to 4
Tillage will cause a shift over a threshold leading to the 4.1 Annual Crops Plant Community Phase within the Crop Production State (State 4).
Restoration pathway T4A
State 4 to 2
Seeding may lead this Crop Production State (State 4) over a threshold to the Native/Invaded State (State 2).
Restoration pathway T4B, T4C
State 4 to 3
Seeding may lead this Crop Production State (State 4) over a threshold to the Invaded State (State 3). Cropping followed by abandonment may lead this plant community phase over a threshold to the Invaded State (State 3) and more specifically to the 3.3 Annual Pioneer-Perennial Pioneer Plant Community Phase.
Additional community tables
Table 9. Community 1.1 plant community composition
Group | Common name | Symbol | Scientific name | Annual production (lb/acre) | Foliar cover (%) | |
---|---|---|---|---|---|---|
Grass/Grasslike
|
||||||
1 | Needlegrasses | 285–570 | ||||
needle and thread | HECOC8 | Hesperostipa comata ssp. comata | 190–380 | – | ||
green needlegrass | NAVI4 | Nassella viridula | 38–190 | – | ||
porcupinegrass | HESP11 | Hesperostipa spartea | 19–95 | – | ||
2 | Wheatgrass | 190–380 | ||||
western wheatgrass | PASM | Pascopyrum smithii | 190–380 | – | ||
3 | Mid Warm-Season Grasses | 95–285 | ||||
sideoats grama | BOCU | Bouteloua curtipendula | 38–152 | – | ||
little bluestem | SCSC | Schizachyrium scoparium | 38–152 | – | ||
plains muhly | MUCU3 | Muhlenbergia cuspidata | 0–76 | – | ||
4 | Short Warm-Season Grasses | 95–285 | ||||
blue grama | BOGR2 | Bouteloua gracilis | 38–285 | – | ||
hairy grama | BOHI2 | Bouteloua hirsuta | 19–95 | – | ||
sand dropseed | SPCR | Sporobolus cryptandrus | 19–95 | – | ||
threeawn | ARIST | Aristida | 0–38 | – | ||
5 | Tall Warm-Season Grasses | 38–190 | ||||
big bluestem | ANGE | Andropogon gerardii | 19–133 | – | ||
prairie sandreed | CALO | Calamovilfa longifolia | 19–95 | – | ||
composite dropseed | SPCOC2 | Sporobolus compositus var. compositus | 0–95 | – | ||
6 | Other Native Grasses | 38–152 | ||||
Graminoid (grass or grass-like) | 2GRAM | Graminoid (grass or grass-like) | 0–95 | – | ||
prairie Junegrass | KOMA | Koeleria macrantha | 19–95 | – | ||
fall rosette grass | DIWI5 | Dichanthelium wilcoxianum | 0–57 | – | ||
7 | Grass-likes | 38–190 | ||||
threadleaf sedge | CAFI | Carex filifolia | 38–190 | – | ||
Grass-like (not a true grass) | 2GL | Grass-like (not a true grass) | 0–95 | – | ||
Forb
|
||||||
8 | Forbs | 95–190 | ||||
Forb, native | 2FN | Forb, native | 19–57 | – | ||
white sagebrush | ARLU | Artemisia ludoviciana | 19–57 | – | ||
beardtongue | PENST | Penstemon | 0–38 | – | ||
Cuman ragweed | AMPS | Ambrosia psilostachya | 0–38 | – | ||
field sagewort | ARCA12 | Artemisia campestris | 0–38 | – | ||
false boneset | BREU | Brickellia eupatorioides | 0–38 | – | ||
purple prairie clover | DAPU5 | Dalea purpurea | 19–38 | – | ||
blacksamson echinacea | ECAN2 | Echinacea angustifolia | 0–38 | – | ||
scarlet beeblossom | GACO5 | Gaura coccinea | 19–38 | – | ||
stiff sunflower | HEPA19 | Helianthus pauciflorus | 19–38 | – | ||
hairy false goldenaster | HEVI4 | Heterotheca villosa | 19–38 | – | ||
dotted blazing star | LIPU | Liatris punctata | 19–38 | – | ||
slimflower scurfpea | PSTE5 | Psoralidium tenuiflorum | 19–38 | – | ||
cutleaf anemone | PUPAM | Pulsatilla patens ssp. multifida | 19–38 | – | ||
upright prairie coneflower | RACO3 | Ratibida columnifera | 19–38 | – | ||
Missouri goldenrod | SOMI2 | Solidago missouriensis | 19–38 | – | ||
scarlet globemallow | SPCO | Sphaeralcea coccinea | 19–38 | – | ||
white heath aster | SYER | Symphyotrichum ericoides | 19–38 | – | ||
longbract spiderwort | TRBR | Tradescantia bracteata | 19–38 | – | ||
American vetch | VIAM | Vicia americana | 0–38 | – | ||
hoary verbena | VEST | Verbena stricta | 0–19 | – | ||
rush skeletonplant | LYJU | Lygodesmia juncea | 0–19 | – | ||
lacy tansyaster | MAPI | Machaeranthera pinnatifida | 0–19 | – | ||
textile onion | ALTE | Allium textile | 0–19 | – | ||
spiny phlox | PHHO | Phlox hoodii | 0–19 | – | ||
milkvetch | ASTRA | Astragalus | 0–19 | – | ||
Shrub/Vine
|
||||||
9 | Shrubs | 95–190 | ||||
leadplant | AMCA6 | Amorpha canescens | 19–76 | – | ||
prairie sagewort | ARFR4 | Artemisia frigida | 19–57 | – | ||
Shrub (>.5m) | 2SHRUB | Shrub (>.5m) | 0–57 | – | ||
rose | ROSA5 | Rosa | 19–57 | – | ||
brittle pricklypear | OPFR | Opuntia fragilis | 0–19 | – | ||
plains pricklypear | OPPO | Opuntia polyacantha | 0–19 | – |
Table 10. Community 2.2 plant community composition
Group | Common name | Symbol | Scientific name | Annual production (lb/acre) | Foliar cover (%) | |
---|---|---|---|---|---|---|
Grass/Grasslike
|
||||||
1 | Needlegrasses | 70–210 | ||||
needle and thread | HECOC8 | Hesperostipa comata ssp. comata | 70–210 | – | ||
green needlegrass | NAVI4 | Nassella viridula | 0–42 | – | ||
2 | Wheatgrass | 28–140 | ||||
western wheatgrass | PASM | Pascopyrum smithii | 28–140 | – | ||
3 | Mid Warm-Season Grasses | 28–98 | ||||
sideoats grama | BOCU | Bouteloua curtipendula | 14–70 | – | ||
little bluestem | SCSC | Schizachyrium scoparium | 14–70 | – | ||
plains muhly | MUCU3 | Muhlenbergia cuspidata | 0–14 | – | ||
4 | Short Warm-Season Grasses | 210–420 | ||||
blue grama | BOGR2 | Bouteloua gracilis | 70–350 | – | ||
hairy grama | BOHI2 | Bouteloua hirsuta | 14–98 | – | ||
sand dropseed | SPCR | Sporobolus cryptandrus | 14–98 | – | ||
threeawn | ARIST | Aristida | 14–70 | – | ||
5 | Tall Warm-Season Grasses | 0–42 | ||||
big bluestem | ANGE | Andropogon gerardii | 0–42 | – | ||
composite dropseed | SPCOC2 | Sporobolus compositus var. compositus | 0–42 | – | ||
6 | Other Native Grasses | 14–70 | ||||
Graminoid (grass or grass-like) | 2GRAM | Graminoid (grass or grass-like) | 0–70 | – | ||
prairie Junegrass | KOMA | Koeleria macrantha | 14–42 | – | ||
fall rosette grass | DIWI5 | Dichanthelium wilcoxianum | 0–28 | – | ||
7 | Grass-likes | 140–280 | ||||
threadleaf sedge | CAFI | Carex filifolia | 140–280 | – | ||
Grass-like (not a true grass) | 2GL | Grass-like (not a true grass) | 0–70 | – | ||
8 | Non-Native Grasses | 70–280 | ||||
bluegrass | POA | Poa | 28–210 | – | ||
crested wheatgrass | AGCR | Agropyron cristatum | 0–70 | – | ||
smooth brome | BRIN2 | Bromus inermis | 0–70 | – | ||
brome | BROMU | Bromus | 14–70 | – | ||
Forb
|
||||||
9 | Forbs | 70–140 | ||||
Forb, introduced | 2FI | Forb, introduced | 14–56 | – | ||
white sagebrush | ARLU | Artemisia ludoviciana | 14–56 | – | ||
Forb, native | 2FN | Forb, native | 0–42 | – | ||
Cuman ragweed | AMPS | Ambrosia psilostachya | 14–42 | – | ||
field sagewort | ARCA12 | Artemisia campestris | 14–42 | – | ||
scarlet globemallow | SPCO | Sphaeralcea coccinea | 14–42 | – | ||
white heath aster | SYER | Symphyotrichum ericoides | 14–42 | – | ||
hoary verbena | VEST | Verbena stricta | 0–28 | – | ||
Missouri goldenrod | SOMI2 | Solidago missouriensis | 14–28 | – | ||
American vetch | VIAM | Vicia americana | 0–14 | – | ||
purple prairie clover | DAPU5 | Dalea purpurea | 0–14 | – | ||
hairy false goldenaster | HEVI4 | Heterotheca villosa | 0–14 | – | ||
dotted blazing star | LIPU | Liatris punctata | 0–14 | – | ||
spiny phlox | PHHO | Phlox hoodii | 0–14 | – | ||
slimflower scurfpea | PSTE5 | Psoralidium tenuiflorum | 0–14 | – | ||
upright prairie coneflower | RACO3 | Ratibida columnifera | 0–14 | – | ||
Shrub/Vine
|
||||||
10 | Shrubs | 70–140 | ||||
prairie sagewort | ARFR4 | Artemisia frigida | 14–56 | – | ||
brittle pricklypear | OPFR | Opuntia fragilis | 0–42 | – | ||
plains pricklypear | OPPO | Opuntia polyacantha | 14–42 | – | ||
rose | ROSA5 | Rosa | 0–28 | – | ||
Shrub (>.5m) | 2SHRUB | Shrub (>.5m) | 0–28 | – |
Table 11. Community 3.1 plant community composition
Group | Common name | Symbol | Scientific name | Annual production (lb/acre) | Foliar cover (%) | |
---|---|---|---|---|---|---|
Grass/Grasslike
|
||||||
1 | Needlegrasses | 0–170 | ||||
needle and thread | HECOC8 | Hesperostipa comata ssp. comata | 0–170 | – | ||
green needlegrass | NAVI4 | Nassella viridula | 0–85 | – | ||
porcupinegrass | HESP11 | Hesperostipa spartea | 0–17 | – | ||
2 | Wheatgrass | 17–85 | ||||
western wheatgrass | PASM | Pascopyrum smithii | 17–85 | – | ||
3 | Mid Warm-Season Grasses | 0–51 | ||||
sideoats grama | BOCU | Bouteloua curtipendula | 0–51 | – | ||
little bluestem | SCSC | Schizachyrium scoparium | 0–51 | – | ||
4 | Short Warm-Season Grasses | 0–85 | ||||
threeawn | ARIST | Aristida | 0–85 | – | ||
blue grama | BOGR2 | Bouteloua gracilis | 0–85 | – | ||
sand dropseed | SPCR | Sporobolus cryptandrus | 0–51 | – | ||
hairy grama | BOHI2 | Bouteloua hirsuta | 0–34 | – | ||
5 | Other Native Grasses | 0–85 | ||||
Graminoid (grass or grass-like) | 2GRAM | Graminoid (grass or grass-like) | 0–85 | – | ||
prairie Junegrass | KOMA | Koeleria macrantha | 0–51 | – | ||
fall rosette grass | DIWI5 | Dichanthelium wilcoxianum | 0–17 | – | ||
6 | Grass-likes | 17–170 | ||||
threadleaf sedge | CAFI | Carex filifolia | 17–170 | – | ||
Grass-like (not a true grass) | 2GL | Grass-like (not a true grass) | 0–34 | – | ||
7 | Non-Native Grasses | 680–1105 | ||||
bluegrass | POA | Poa | 340–850 | – | ||
smooth brome | BRIN2 | Bromus inermis | 255–680 | – | ||
crested wheatgrass | AGCR | Agropyron cristatum | 51–340 | – | ||
brome | BROMU | Bromus | 17–170 | – | ||
Forb
|
||||||
8 | Forbs | 85–170 | ||||
Forb, introduced | 2FI | Forb, introduced | 17–68 | – | ||
Cuman ragweed | AMPS | Ambrosia psilostachya | 17–68 | – | ||
white sagebrush | ARLU | Artemisia ludoviciana | 17–68 | – | ||
Missouri goldenrod | SOMI2 | Solidago missouriensis | 17–51 | – | ||
scarlet globemallow | SPCO | Sphaeralcea coccinea | 17–34 | – | ||
white heath aster | SYER | Symphyotrichum ericoides | 17–34 | – | ||
field sagewort | ARCA12 | Artemisia campestris | 0–34 | – | ||
Forb, native | 2FN | Forb, native | 0–34 | – | ||
upright prairie coneflower | RACO3 | Ratibida columnifera | 0–34 | – | ||
textile onion | ALTE | Allium textile | 0–17 | – | ||
purple prairie clover | DAPU5 | Dalea purpurea | 0–17 | – | ||
blacksamson echinacea | ECAN2 | Echinacea angustifolia | 0–17 | – | ||
stiff sunflower | HEPA19 | Helianthus pauciflorus | 0–17 | – | ||
dotted blazing star | LIPU | Liatris punctata | 0–17 | – | ||
rush skeletonplant | LYJU | Lygodesmia juncea | 0–17 | – | ||
slimflower scurfpea | PSTE5 | Psoralidium tenuiflorum | 0–17 | – | ||
longbract spiderwort | TRBR | Tradescantia bracteata | 0–17 | – | ||
hoary verbena | VEST | Verbena stricta | 0–17 | – | ||
American vetch | VIAM | Vicia americana | 0–17 | – | ||
Shrub/Vine
|
||||||
9 | Shrubs | 34–85 | ||||
prairie sagewort | ARFR4 | Artemisia frigida | 0–51 | – | ||
plains pricklypear | OPPO | Opuntia polyacantha | 17–34 | – | ||
rose | ROSA5 | Rosa | 17–34 | – | ||
Shrub (>.5m) | 2SHRUB | Shrub (>.5m) | 0–34 | – | ||
leadplant | AMCA6 | Amorpha canescens | 0–17 | – | ||
brittle pricklypear | OPFR | Opuntia fragilis | 0–17 | – |
Table 12. Community 3.2 plant community composition
Group | Common name | Symbol | Scientific name | Annual production (lb/acre) | Foliar cover (%) | |
---|---|---|---|---|---|---|
Grass/Grasslike
|
||||||
1 | Needlegrasses | 0–24 | ||||
needle and thread | HECOC8 | Hesperostipa comata ssp. comata | 0–24 | – | ||
2 | Wheatgrass | 0–24 | ||||
western wheatgrass | PASM | Pascopyrum smithii | 0–24 | – | ||
3 | Short Warm-Season Grasses | 0–180 | ||||
blue grama | BOGR2 | Bouteloua gracilis | 0–180 | – | ||
threeawn | ARIST | Aristida | 0–96 | – | ||
sand dropseed | SPCR | Sporobolus cryptandrus | 0–60 | – | ||
hairy grama | BOHI2 | Bouteloua hirsuta | 0–24 | – | ||
4 | Other Native Grasses | 0–60 | ||||
Graminoid (grass or grass-like) | 2GRAM | Graminoid (grass or grass-like) | 0–60 | – | ||
prairie Junegrass | KOMA | Koeleria macrantha | 0–24 | – | ||
fall rosette grass | DIWI5 | Dichanthelium wilcoxianum | 0–12 | – | ||
5 | Grass-likes | 0–180 | ||||
threadleaf sedge | CAFI | Carex filifolia | 0–180 | – | ||
Grass-like (not a true grass) | 2GL | Grass-like (not a true grass) | 0–36 | – | ||
6 | Non-Native Grasses | 420–780 | ||||
bluegrass | POA | Poa | 240–660 | – | ||
brome | BROMU | Bromus | 60–180 | – | ||
smooth brome | BRIN2 | Bromus inermis | 0–96 | – | ||
crested wheatgrass | AGCR | Agropyron cristatum | 12–60 | – | ||
Forb
|
||||||
7 | Forbs | 60–180 | ||||
Forb, introduced | 2FI | Forb, introduced | 12–120 | – | ||
white sagebrush | ARLU | Artemisia ludoviciana | 12–60 | – | ||
Cuman ragweed | AMPS | Ambrosia psilostachya | 12–48 | – | ||
field sagewort | ARCA12 | Artemisia campestris | 12–48 | – | ||
Forb, native | 2FN | Forb, native | 0–36 | – | ||
white heath aster | SYER | Symphyotrichum ericoides | 12–36 | – | ||
hoary verbena | VEST | Verbena stricta | 0–24 | – | ||
Missouri goldenrod | SOMI2 | Solidago missouriensis | 12–24 | – | ||
scarlet globemallow | SPCO | Sphaeralcea coccinea | 0–12 | – | ||
spiny phlox | PHHO | Phlox hoodii | 0–12 | – | ||
Shrub/Vine
|
||||||
8 | Shrubs | 60–120 | ||||
prairie sagewort | ARFR4 | Artemisia frigida | 24–96 | – | ||
brittle pricklypear | OPFR | Opuntia fragilis | 12–36 | – | ||
plains pricklypear | OPPO | Opuntia polyacantha | 12–36 | – | ||
rose | ROSA5 | Rosa | 0–24 | – | ||
Shrub (>.5m) | 2SHRUB | Shrub (>.5m) | 0–24 | – |
Interpretations
Animal community
Animal Community – Grazing Interpretations
The following table lists annual, suggested initial stocking rates with average growing conditions. These are conservative estimates that should be used only as guidelines in the initial stages of conservation planning. Often, the current plant composition does not entirely match any particular plant community (as described in this ES description). Because of this, a resource inventory is necessary to document plant composition and production. More accurate carrying capacity estimates should eventually be calculated using the following stocking rate information along with animal preference data and actual stocking records particularly when grazers other than cattle are involved. With consultation of the land manager, more intensive grazing management may result in improved harvest efficiencies and increased carrying capacity.
Needlegrasses/Western Wheatgrass (1.1)
Average Annual Production (lbs./acre, air-dry): 1,900
Stocking Rate* (AUM/acre): 0.52
Grama/Sedge/Kentucky Bluegrass (2.2)
Average Annual Production (lbs./acre, air-dry): 1,400
Stocking Rate* (AUM/acre): 0.38
Kentucky Bluegrass/Smooth Brome/Crested Wheatgrass (3.1)
Average Annual Production (lbs./acre, air-dry): 1,700
Stocking Rate* (AUM/acre): 0.47
Kentucky Bluegrass Sod/Forbs (3.2)
Average Annual Production (lbs./acre, air-dry): 1,200
Stocking Rate* (AUM/acre): 0.33
Annual/Pioneer Perennial (3.3)
Average Annual Production (lbs./acre, air-dry): 1,000
Stocking Rate* (AUM/acre): 0.27
*Based on 912 lbs./acre (air-dry weight) per Animal Unit Month (AUM), and on 25 percent harvest efficiency (refer to United States Department of Agriculture (USDA) Natural Resources Conservation Service (NRCS) National Range and Pasture Handbook).
Grazing by domestic livestock is one of the major income-producing industries in the area. Rangeland in this area may provide yearlong forage. During the dormant period, the forage for livestock will likely be lacking protein to meet livestock requirements and added protein will allow ruminants to better utilize the energy stored in grazed plant materials. A forage quality test (either directly or through fecal sampling) should be used to determine the level of supplementation needed.
Hydrological functions
Water is the principal factor limiting forage production on this site. This site is dominated by soils in Hydrologic Group B. Infiltration is typically high and runoff low on this site high depending on soil hydrologic group, slope, and ground cover. In many cases, areas with greater than 75 percent ground cover have the greatest potential for high infiltration and lower runoff. An example of an exception would be where shortgrasses form a strong sod and dominate the site. Dominance by blue grama, sedge, bluegrass, and/or smooth bromegrass will result in reduced infiltration and increased runoff. Areas where ground cover is less than 50 percent have the greatest potential to have reduced infiltration and higher runoff (refer to Section 4, NRCS National Engineering Handbook for runoff quantities and hydrologic curves).
Recreational uses
This site provides hunting, hiking, photography, bird watching, and other opportunities. The wide varieties of plants that bloom from spring until fall have an aesthetic value that appeals to visitors.
Wood products
No appreciable wood products are typically present on this site.
Other products
Seed harvest of native plant species can provide additional income on this site.
Other information
Ecological Site Correlation Issues and Questions:
• SD119 Sully County, SD did not use the (OaA) Oahe-Delmont loams, 0 to 2 percent slopes (national symbol 2wkpj) as used in the adjoining SD107 Potter County, SD.
• SD119 Sully County, SD did not use the (OdB) Oahe-Delmont loams, 2 to 6 percent slopes (national symbol 2wkpk) as used in the adjoining SD107 Potter County, SD.
• SD065 Hughes County, SD did not use the (DnB) Oahe-Delmont loams, 2 to 6 percent slopes (national symbol 2wkpk) as used in the adjoining SD069 Hyde County, SD.
• SD065 Hughes County, SD did not use the (OaA) Oahe-Delmont loams, 0 to 2 percent slopes (national symbol 2wkpj) as used in the adjoining SD119 Sully County, SD.
• SD015 Brule County, SD (SD603 Brule and Buffalo Counties Soil survey) did not use the (DnC) Delmont-Talmo complex, 6 to 15 percent slopes (national symbol cx7j) (R55CY014SD ESD) as used in the adjoining SD003 Aurora County. SD003 Aurora County, SD (DnC) Delmont-Talmo complex, 6 to 15 percent slopes (national symbol cx7j) (R55CY014SD ESD) will need to be split correlated to match SD015 Brule County, SD (SD603 Brule and Buffalo Counties Soil survey) ESD.
• SD015 Brule County, SD (SD603 Brule and Buffalo Counties Soil survey) did not use the (DnB) Delmont-Enet loams, 2 to 6 percent slopes (national symbol 2wkr4) (R55CY014SD ESD) as used in the adjoining SD003 Aurora County. SD003 Aurora County, SD (DnB) Delmont-Enet loams, 2 to 6 percent slopes (national symbol 2wkr4) (R55CY014SD ESD) will need to be split correlated to match SD015 Brule County, SD (SD603 Brule and Buffalo Counties Soil survey) ESD.
• SD015 Brule County, SD (SD603 Brule and Buffalo Counties Soil survey) did not use the (TdE) Talmo-Delmont, 15 to 40 percent slopes (national symbol cx8c) as used in the adjoining SD003 Aurora County.
• Reference and alternative states within the state and transition model are may not be fully documented and may require additional field sampling for refinement.
Supporting information
Inventory data references
Information presented here has been derived from NRCS clipping data and other inventory data. Field observations from range-trained personnel were also used. Those involved in developing this site include: Stan Boltz, Range Management Specialist (RMS), NRCS, Shane Deranleau, RMS, NRCS, Bruce Kunze, Soil Scientist, NRCS, and Mitch Faulkner, RMS, NRCS.
Data Source Sample Period State County
SCS-RANGE-417 (0308546107) 8/15/1985 SD Hand
Other references
Cleland, D.T., J.A. Freeouf, J.E. Keys, G.J. Nowacki, C. Carpenter, and W.H. McNab. 2007. Ecological Subregions: Sections and Subsections of the Coterminous United States. USDA Forest Service, General Technical Report WO-76. Washington, DC. 92 pps.
Gilbert, M. C., Whited, P. M., Clairain Jr, E. J., & Smith, R. D. (2006). A Regional Guidebook for Applying the Hydrogeomorphic Approach to Assessing Wetland Functions of Prairie Potholes. Washington DC.
Samson, F. B., & Knopf, F. L. (1996). Prairie Conservation Preserving North America's Most Endagered Ecosystem. Washington D.C.: Island Press.
Soil Survey Staff, Natural Resources Conservation Service, United States Department of Agriculture. Official Soil Series Descriptions. Available online. Accessed March 2018.
United States Department of Agriculture – Natural Resource Conservation Service (USDA-NRCS). 2003. National Range and Pasture Handbook, Revision 1. Grazing Lands Technology Institute. 214 pps.
United States Department of Agriculture – Natural Resource Conservation Service (USDA-NRCS). 2006. Land Resource Regions and Major Land Resource Areas of the United States, the Caribbean, and the Pacific Basin. U.S. Department of Agriculture Handbook 296. 672pps.
USDA, NRCS. National Soil Information System, Information Technology Center, 2150 Centre Avenue, Building A, Fort Collins, CO 80526. (http://soils.usda.gov/technical/nasis/)
USDA, NRCS. 2018. The PLANTS Database (http://plants.usda.gov, 27 March 2018). National Plant Data Team, Greensboro, NC 27401-4901 USA.
U.S. Environmental Protection Agency [EPA]. 2013. Level III and Level IV Ecoregions of the Continental United States. Corvallis, OR, U.S. EPA, National Health and Environmental Effects Research Laboratory, map scale 1:3,000,000. Available at http://www.epa.gov/eco-research/level-iii-and-iv-ecoregions- continental-united-states. (Accessed 1 March 2018).
Contributors
Stan Boltz
Approval
Suzanne Mayne-Kinney, 1/22/2024
Acknowledgments
Contact for Lead Authors: Natural Resources Conservation Service (USDA-NRCS), Redfield Soil Survey Office Redfield, SD; Lance Howe (Lance.Howe@usda.gov), Soil Survey Office Leader, USDA-NRCS, Redfield, SD; and Steve Winter (Steven.Winter@usda.gov), Soil Scientist, USDA-NRCS, Redfield, SD
Additional Information Acknowledgment: Jason Hermann (Jason.Hermann@usda.gov), Area Rangeland Management Specialist, USDA-NRCS, Redfield, SD.
This Provisional Ecological Site concept has passed both Quality Control and Quality Assurance processes. Quality Assurance was approved by David Kraft, NRCS Regional Ecologist as of 11/12/2020.
Non-discrimination Statement
In accordance with Federal civil rights law and U.S. Department of Agriculture (USDA) civil rights regulations and policies, the USDA, its Agencies, offices, and employees, and institutions participating in or administering USDA programs are prohibited from discriminating based on race, color, national origin, religion, sex, gender identity (including gender expression), sexual orientation, disability, age, marital status, family/parental status, income derived from a public assistance program, political beliefs, or reprisal or retaliation for prior civil rights activity, in any program or activity conducted or funded by USDA (not all bases apply to all programs). Remedies and complaint filing deadlines vary by program or incident.
Persons with disabilities who require alternative means of communication for program information (e.g., Braille, large print, audiotape, American Sign Language, etc.) should contact the responsible Agency or USDA's TARGET Center at (202) 720-2600 (voice and TTY) or contact USDA through the Federal Relay Service at (800) 877-8339. Additionally, program information may be made available in languages other than English.
To file a program discrimination complaint, complete the USDA Program Discrimination Complaint Form, AD-3027, available online and at any USDA office, or write a letter addressed to USDA and provide in the letter all of the information requested in the form. To request a copy of the complaint form, call (866) 632- 9992. Submit your completed form or letter to USDA by: (1) mail: U.S. Department of Agriculture, Office of the Assistant Secretary for Civil Rights, 1400 Independence Avenue, SW, Washington, D.C. 20250-9410; (2) fax: (202) 690-7442; or (3) email: program.intake@usda.gov.
Rangeland health reference sheet
Interpreting Indicators of Rangeland Health is a qualitative assessment protocol used to determine ecosystem condition based on benchmark characteristics described in the Reference Sheet. A suite of 17 (or more) indicators are typically considered in an assessment. The ecological site(s) representative of an assessment location must be known prior to applying the protocol and must be verified based on soils and climate. Current plant community cannot be used to identify the ecological site.
Author(s)/participant(s) | Stan Boltz, Mitch Faulkner, Shane Deranleau |
---|---|
Contact for lead author | Stan Boltz, stanley.boltz@sd.usda.gov, 605-352-1236 |
Date | 03/15/2011 |
Approved by | Suzanne Mayne-Kinney |
Approval date | |
Composition (Indicators 10 and 12) based on | Annual Production |
Indicators
-
Number and extent of rills:
Rills should not be present. -
Presence of water flow patterns:
Typically not observable. -
Number and height of erosional pedestals or terracettes:
None. -
Bare ground from Ecological Site Description or other studies (rock, litter, lichen, moss, plant canopy are not bare ground):
Bare ground 5 to 15 percent and pathces less than two inches in diameter. -
Number of gullies and erosion associated with gullies:
Active gullies should not be present. -
Extent of wind scoured, blowouts and/or depositional areas:
None present. -
Amount of litter movement (describe size and distance expected to travel):
Little to no plant litter movement. Plant litter remains in place and is not moved by erosional forces. -
Soil surface (top few mm) resistance to erosion (stability values are averages - most sites will show a range of values):
Soil aggregate stability normally a 5 to 6 rating. Typically high root content and organic matter in the soil surface. Soil surface is very resistant to erosion. -
Soil surface structure and SOM content (include type of structure and A-horizon color and thickness):
Soil surface structure is medium subangular blocky parting to fine subangular blocky or granular, and mollic (higher organic matter) colors of A-horizon down to about 6 inches. -
Effect of community phase composition (relative proportion of different functional groups) and spatial distribution on infiltration and runoff:
Healthy, deep-rooted native grass and grass-like species enhance infiltration and reduce runoff. -
Presence and thickness of compaction layer (usually none; describe soil profile features which may be mistaken for compaction on this site):
No compaction layer should be present. -
Functional/Structural Groups (list in order of descending dominance by above-ground annual-production or live foliar cover using symbols: >>, >, = to indicate much greater than, greater than, and equal to):
Dominant:
Needlegrasses (mid and tall, cool-season bunchgrasses) > wheatgrasses (mid, cool-season rhizomatous) >Sub-dominant:
Mid, warm-season grasses = short, warm-season grasses >Other:
Tall, warm-season grasses = grass-like species = forbs = shrubsAdditional:
Other native grasses occur in other functional groups in minor amounts. -
Amount of plant mortality and decadence (include which functional groups are expected to show mortality or decadence):
Very little to no evidence of decadence or mortality. -
Average percent litter cover (%) and depth ( in):
60-70 percent plant litter cover, roughly 0.25 to 0.5 inches in depth. Litter cover is in contact with the soil surface. -
Expected annual annual-production (this is TOTAL above-ground annual-production, not just forage annual-production):
1,900 pounds/acre (air-dry basis) -
Potential invasive (including noxious) species (native and non-native). List species which BOTH characterize degraded states and have the potential to become a dominant or co-dominant species on the ecological site if their future establishment and growth is not actively controlled by management interventions. Species that become dominant for only one to several years (e.g., short-term response to drought or wildfire) are not invasive plants. Note that unlike other indicators, we are describing what is NOT expected in the reference state for the ecological site:
Refer to State and local Noxious Weed List; also Kentucky bluegrass and smooth bromegrass. -
Perennial plant reproductive capability:
Perennial grasses have vigorous rhizomes and/or tillers.
Print Options
Sections
Font
Other
The Ecosystem Dynamics Interpretive Tool is an information system framework developed by the USDA-ARS Jornada Experimental Range, USDA Natural Resources Conservation Service, and New Mexico State University.
Click on box and path labels to scroll to the respective text.