
Natural Resources
Conservation Service
Ecological site R053CY013SD
Claypan
Last updated: 1/22/2024
Accessed: 10/18/2025
General information
Provisional. A provisional ecological site description has undergone quality control and quality assurance review. It contains a working state and transition model and enough information to identify the ecological site.

Figure 1. Mapped extent
Areas shown in blue indicate the maximum mapped extent of this ecological site. Other ecological sites likely occur within the highlighted areas. It is also possible for this ecological site to occur outside of highlighted areas if detailed soil survey has not been completed or recently updated.
MLRA notes
Major Land Resource Area (MLRA): 053C–Southern Dark Brown Glaciated Plains
The Southern Dark Brown Glaciated Plains (53C) is located within the Northern Great Plains Region. It is entirely in South Dakota encompassing about 3,990 square miles (Figure 1). The elevation ranges from 1,300 to 2,300 feet. The MLRA is level to gently rolling till plains including many areas of potholes. A terminal moraine occurs in the southern end of the MLRA. Moderately steep and steep slopes are adjacent to the major valleys. The headwaters of many creeks in central South Dakota occur in the high-lying MLRA. (USDA-NRCS 2006).
The dominant soil orders in this MLRA are Mollisols and Inceptisols. The soils in the area dominantly have a mesic soil temperature regime, an ustic soil moisture regime, and mixed or smectitic mineralogy. They generally are very deep, well drained or moderately well drained, and are loamy or clayey. This area supports natural prairie vegetation characterized by western wheatgrass (Pascopyrum smithii), big bluestem (Andropogon gerardii), needleandthread (Hesperostipa comata), and green needlegrass (Nassella viridula), Little bluestem (Schizachyrium scoparium), sideoats grama (Bouteloua curtipendula), and prairie sandreed (Calamovilfa longifolia) are important species on steeper sites. Western snowberry (Symphoricarpos occidentalis) and prairie rose (Rosa arkansana) are commonly dispersed throughout the area. (USDA-NRCS 2006).
Classification relationships
Major Land Resource Area (MLRA): Southern Dark Brown Glaciated Plains (53C) (USDA-NRCS 2006)
USFS Subregions: Northeastern Glaciated Plains Section (331E); Missouri Coteau Subsection (331Ea); Western Great Plains Section (331F); Missouri Breaks Subsection (331Fe); Western Glaciated Plains Section (332B); Southern Missouri Coteau Slope Subsection (332Bd, 332Be); North Central Great Plains Section (332D); Southern Missouri Coteau Slope Subsection (332Dd); Southern Missouri Coteau Subsection (332De) - (Cleland et al. 2007).
US EPA Level IV Ecoregion: Missouri Coteau (42a); Southern Missouri Coteau (42e); Southern Missouri Coteau Slope (42f) - (USEPA 2013)
Ecological site concept
The Claypan ecological site typically occurs on nearly level slopes in the upland areas. Soils are moderately well drained and has a claypan (columnar structure) within 16 inches of the soil surface due to the sodium affected subsoil. The natric horizon in the subsoil typically has a Sodium Absorption Ratio (SAR) greater than 13 and/or an Exchangeable Sodium Percentage (ESP) greater than 15. The root restriction of the natric horizon limits plant growth, production is lower, and species composition will tend towards shallow rooted and more tolerant of the higher sodium levels. Slopes can range from 0 to 3 percent.
Vegetation in the Reference State is dominated by cool season grasses and short warm season grasses. This includes western wheatgrass, green needlegrass, and blue grama. Non-native grasses such as smooth bromegrass and Kentucky bluegrass may invade due to shifts in disturbance regime.
Associated sites
R053CY010SD |
Loamy These sites occur on upland areas. The soils are well drained and have less than 40 percent clay in the surface and subsoil. The central concept soil series is Agar, Eakin, Glenham, and Highmore, but other series are included. |
---|---|
R053CY011SD |
Clayey These sites occur on upland areas. The soils are well drained, have greater than 40 percent clay in the surface and subsoil, and do not have a claypan between 6 and 16 inches. The central concept soil series is Demky, Oko, and Raber, but other series are included. |
Similar sites
R053CY011SD |
Clayey The Clayey site occurs in a similar landscape position and does not have a claypan (columnar structure) between 6 and 16 inches of the soil surface. The vegetative community has more green needlegrass, less blue grama, and higher production. |
---|
Table 1. Dominant plant species
Tree |
Not specified |
---|---|
Shrub |
Not specified |
Herbaceous |
(1) Pascopyrum smithii |
Physiographic features
This site occurs on nearly level to moderately sloping uplands.

Figure 2. Distribution map
Table 2. Representative physiographic features
Landforms |
(1)
Plain
(2) Till plain (3) Drainageway |
---|---|
Flooding duration | Very brief (4 to 48 hours) |
Flooding frequency | None to rare |
Ponding frequency | None |
Elevation | 1,300 – 2,300 ft |
Slope | 1 – 4% |
Water table depth | 27 – 80 in |
Aspect | Aspect is not a significant factor |
Climatic features
MLRA 53C is considered to have a continental climate – cold winters and hot summers, low humidity, light rainfall, and much sunshine. Extremes in temperature may also abound. The climate is the result of this MLRA’s location near the geographic center of North America. There are few natural barriers on the Northern Great Plains and air masses move freely across the plains and account for rapid changes in temperature.
Annual precipitation typically ranges from 15 to 25 inches per year. The average annual temperature is about 45°F. January is the coldest month with average temperatures ranging from about 15°F (Stephan, South Dakota (SD)), to about 16°F (Onida 4 NW, SD). July is the warmest month with temperatures averaging from about 72°F (Stephan, SD), to about 74°F (Onida 4 NW, SD). The range of normal average monthly temperatures between the coldest and warmest months is about 58°F. This large annual range attests to the continental nature of this area's climate. Hourly winds are estimated to average about 12 miles per hour (mph) annually, ranging from about 13 mph during the spring to about 11 mph during the summer. Daytime winds are generally stronger than nighttime and occasional strong storms may bring brief periods of high winds with gusts to more than 50 mph.
Growth of cool-season plants begins in early to mid-March, slowing or ceasing in late June. Warm-season plants begin growth about mid-May and continue to early or mid-September. Greenup of cool-season plants may occur in September and October when adequate soil moisture is present.
Table 3. Representative climatic features
Frost-free period (characteristic range) | 107-127 days |
---|---|
Freeze-free period (characteristic range) | 128-150 days |
Precipitation total (characteristic range) | 20-21 in |
Frost-free period (actual range) | 104-129 days |
Freeze-free period (actual range) | 127-159 days |
Precipitation total (actual range) | 19-24 in |
Frost-free period (average) | 117 days |
Freeze-free period (average) | 139 days |
Precipitation total (average) | 21 in |
Figure 3. Monthly precipitation range
Figure 4. Monthly minimum temperature range
Figure 5. Monthly maximum temperature range
Figure 6. Monthly average minimum and maximum temperature
Figure 7. Annual precipitation pattern
Figure 8. Annual average temperature pattern
Climate stations used
-
(1) GETTYSBURG 13W [USC00393302], Gettysburg, SD
-
(2) GETTYSBURG [USC00393294], Gettysburg, SD
-
(3) HIGHMORE 23 N [USC00393838], Highmore, SD
-
(4) ONIDA 4 NW [USC00396292], Onida, SD
-
(5) PIERRE RGNL AP [USW00024025], Pierre, SD
-
(6) HARROLD 12 SSW [USC00393608], Pierre, SD
-
(7) STEPHAN 2 NW [USC00397992], Highmore, SD
-
(8) WESSINGTON SPRINGS [USC00399070], Wessington Springs, SD
Influencing water features
No riparian areas or wetland features are directly associated with this site.
Soil features
The common features of soils in this site are clay loam to clay textured subsoils and slopes of one to four percent. The Soils are moderately well drained and have a claypan (columnar structure) between 6 and 16 inches of the soil surface. The central concept soil series are Cavo and DeGrey, but other series are included. . The loam to silty clay loam surface layer is 6 to 11 inches thick. The extremely hard clayey Btn horizon has round-topped or “bun shaped” columnar structure. These Btn horizons are high in sodium. This site should show slight to no evidence of rills, wind scoured areas, or pedestalled plants. Water flow paths are broken, irregular in appearance, or discontinuous with numerous debris dams or vegetative barriers. The soil surface is stable and intact.
These soils are mainly susceptible to water erosion. The hazard of water erosion increases where vegetation is diminished. Low available water capacity and very slow permeability strongly influences the soil-water-plant relationship.
Access Web Soil Survey (http://websoilsurvey.nrcs.usda.gov/app/) for specific local soils information.
Table 4. Representative soil features
Surface texture |
(1) Loam (2) Silt loam (3) Silty clay loam |
---|---|
Family particle size |
(1) Clayey |
Drainage class | Somewhat poorly drained to moderately well drained |
Permeability class | Very slow |
Soil depth | 80 in |
Surface fragment cover <=3" | Not specified |
Surface fragment cover >3" | Not specified |
Available water capacity (0-40in) |
5 – 7 in |
Calcium carbonate equivalent (0-40in) |
15% |
Electrical conductivity (0-40in) |
8 mmhos/cm |
Sodium adsorption ratio (0-40in) |
20 |
Soil reaction (1:1 water) (0-40in) |
5.6 – 9 |
Subsurface fragment volume <=3" (Depth not specified) |
29% |
Subsurface fragment volume >3" (Depth not specified) |
2% |
Ecological dynamics
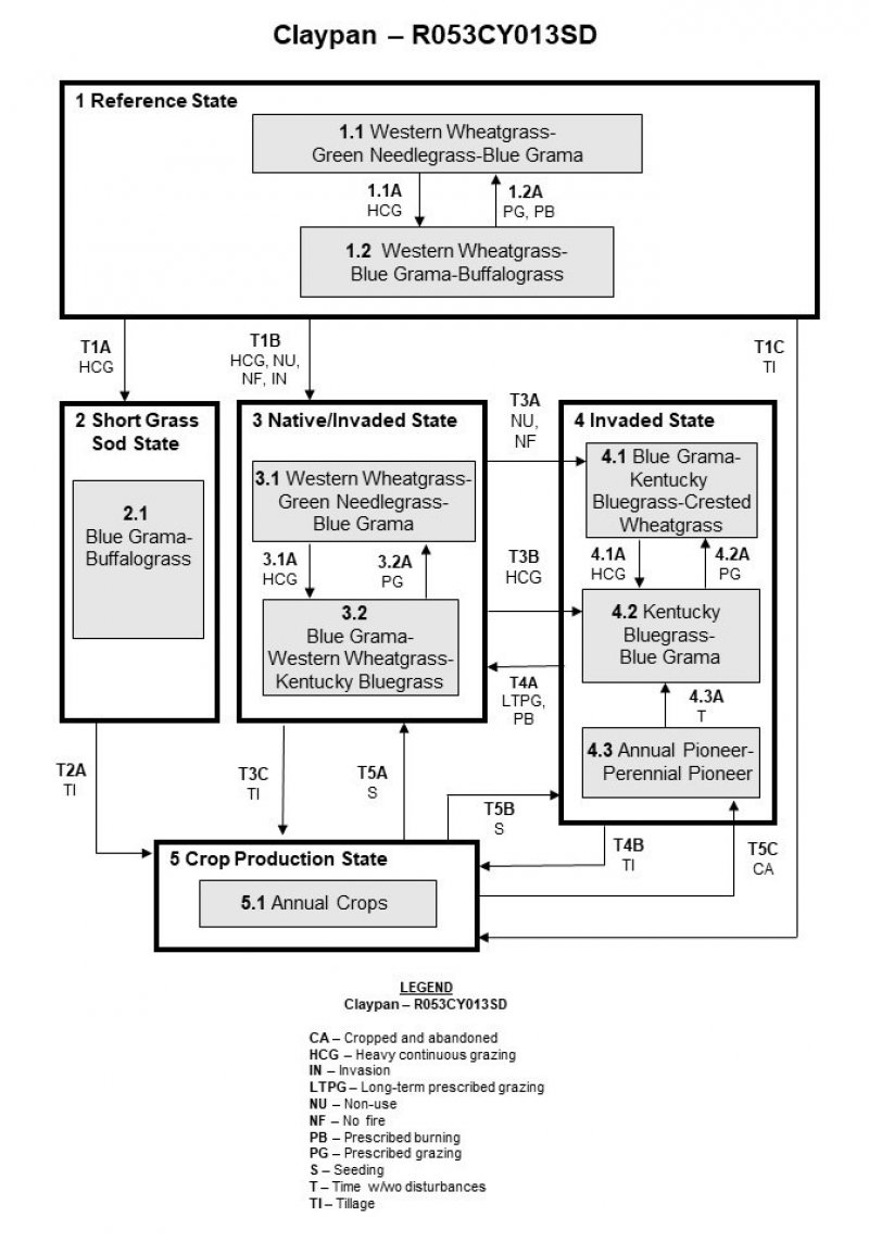
The site which is located in the Southern Dark Brown Glaciated Plains Region developed under Northern Great Plains climatic conditions and included natural influence of large herding herbivores and occasional fire. Changes will occur in the plant communities due to weather fluctuations and/or management actions. Under adverse impacts, a relatively rapid decline in vegetative vigor and composition can occur. Under favorable conditions the site has the potential to resemble the Reference State. Interpretations for this site are based primarily on the 1.1 Western Wheatgrass-Green Needlegrass-Blue Grama Plant Community Phase. This community phase and the Reference State have been determined by study of rangeland relic areas, areas protected from excessive disturbance, and areas under long-term rotational grazing regimes. Trends in plant community dynamics ranging from heavily grazed to lightly grazed areas, seasonal use pastures, and historical accounts also have been considered. Plant community phases, states, transitional pathways, and thresholds have been determined through similar studies and experience.
This ecological site (ES) has been grazed by domestic livestock since they have been introduced into the area. The introduction of domestic livestock and the use of fencing and reliable water sources have changed the ecological dynamics of this site. Continuous season-long grazing (during the typical growing season of May through October) and/or repeated seasonal grazing (e.g., every spring, every summer) without adequate recovery periods following grazing events causes departure from the 3.1 Western Wheatgrass-Green Needlegrass-Blue Grama Plant Community Phase. This phase is the most typically occurring Plant Community Phase for this ecological site in MRLA 53C. Due to a general invasion of exotic species such as Kentucky bluegrass (Poa pratensis) and smooth brome (Bromus enermis) across the MLRA within this site, returning to the 1.1 Western Wheatgrass/Green Needlegrass Plant Community Phase may not be possible. Blue grama (Bouteloua gracilis) will increase and eventually develop into a sod. Western wheatgrass will increase initially and then begin to decrease. Green needlegrass, needleandthread, porcupine grass (Hesperostipa spartea), sideoats grama, and little bluestem will decrease in frequency and production. Extended periods of nonuse and/or lack of fire will result in excessive litter and a plant community dominated by cool-season grasses such as Kentucky bluegrass, smooth bromegrass, green needlegrass, and cheatgrass (Bromus tectorum) and in some cases crested wheatgrass (Agropyron cristatum).
Following the state and transition diagram are narratives for each of the described states and community phases. These may not represent every possibility, but they are the most prevalent and repeatable states/community phases. The plant composition tables shown below have been developed from the best available knowledge at the time of this revision. As more data are collected, some of these community phases and/or states may be revised or removed, and new ones may be added. The main purpose for including the descriptions here is to capture the current knowledge and experience at the time of this revision.
The following is a diagram that illustrates the common plant community phases that can occur on the site and the transition and community pathways between them. The ecological processes will be discussed in more detail in the plant community descriptions following the diagram.
State and transition model

Figure 9. State-And-Transition model

Figure 10. Matrix
More interactive model formats are also available.
View Interactive Models
More interactive model formats are also available.
View Interactive Models
Click on state and transition labels to scroll to the respective text
Ecosystem states
States 1, 5 and 2 (additional transitions)
T1A | - | Heavy continuous grazing |
---|---|---|
T1B | - | Heavy continuous grazing, non-use, no fire, invasion |
T1C | - | Tillage |
T2A | - | Tillage |
T3A & T3B | - | Non-use, no fire, heavy continuous grazing |
T3C | - | Tillage |
T4A | - | Long-term prescribed grazing |
T4B | - | Tillage |
T5A | - | Seeding |
T5B & T5C | - | Seeding, cropping followed by abandonment |
State 1 submodel, plant communities
1.1A | - | Heavy continuous grazing |
---|---|---|
1.2A | - | Prescribed grazing with recovery periods, prescribed burning |
State 2 submodel, plant communities
State 3 submodel, plant communities
3.1A | - | Heavy continuous grazing |
---|---|---|
3.2A | - | Prescribed grazing with recovery periods |
State 4 submodel, plant communities
4.1A | - | Heavy continuous grazing |
---|---|---|
4.2A | - | Prescribed grazing with recovery periods |
4.3A | - | Time, w/wo disturbances |
State 5 submodel, plant communities
State 1
Reference State
The Claypan site typically occurs on nearly level slopes in the upland areas. Soils are moderately well drained and has a claypan (columnar structure) between 6 and 16 inches of the soil surface. The central concept soil series is Cavo and DeGrey, but other series are included. This state represents the natural range of variability that dominated the dynamics of this ecological site (ES). This state was dominated by cool-season grasses, with warm-season grasses being subdominant. In pre-European times, the primary disturbance mechanisms for this site in the reference condition included periods of below and/or above average precipitation, periodic fire, and herbivory by insects and large ungulates. Timing of fires and herbivory coupled with weather events dictated the dynamics that occurred within the natural range of variability. Cool-season and taller warm-season grasses would have declined and a corresponding increase in short, warm-season grasses would have occurred. Today, a similar state, the Native/Invaded State (State 3) can be found on areas that are properly managed with grazing and/or prescribed burning and sometimes on areas receiving occasional short periods of rest. These sites are differentiated by the presence of exotic species such as Kentucky bluegrass and smooth bromegrass. On most Claypan ESs within this MLRA, these species have invaded and are now present. It is likely that attaining the reference state as it is described here (without the presence of exotic herbaceous species) is not possible.
Community 1.1
Western Wheatgrass-Green Needlegrass-Blue Grama
Interpretations are based primarily on the 1.1 Western Wheatgrass-Green Needlegrass-Blue Grama Plant Community Phase (this is also considered to be climax). The potential vegetation was about 85 percent grasses or grass-like plants, 10 percent forbs, and 5 percent shrubs. The community was dominated by cool-season grasses. The major grasses included western wheatgrass, green needlegrass, and blue grama. Other grass or grass-like species included needleandthread, sideoats grama, slender wheatgrass (Elymus trachycaulus), and porcupine grass. This plant community was resilient and well adapted to the Northern Great Plains climatic conditions. The diversity in plant species allowed for high drought tolerance. This was a sustainable plant community in regards to site/soil stability, watershed function, and biologic integrity. Transitions or pathways leading to other plant communities are as follows:
Figure 11. Annual production by plant type (representative values) or group (midpoint values)
Table 5. Annual production by plant type
Plant type | Low (lb/acre) |
Representative value (lb/acre) |
High (lb/acre) |
---|---|---|---|
Grass/Grasslike | 1010 | 1700 | 2350 |
Shrub/Vine | 95 | 150 | 225 |
Forb | 95 | 150 | 225 |
Total | 1200 | 2000 | 2800 |
Figure 12. Plant community growth curve (percent production by month). SD5301, Southern Dark Brown Glaciated Plains, cool-season dominant.. Cool-season dominant..
Jan | Feb | Mar | Apr | May | Jun | Jul | Aug | Sep | Oct | Nov | Dec |
---|---|---|---|---|---|---|---|---|---|---|---|
J | F | M | A | M | J | J | A | S | O | N | D |
0 | 0 | 4 | 12 | 25 | 36 | 10 | 5 | 4 | 4 | 0 | 0 |
Community 1.2
Western Wheatgrass-Blue Grama-Buffalograss
This plant community evolved under heavy continuous grazing or from over utilization during extended drought periods. The potential plant community was made up of approximately 85 percent grasses and grass-like species, 10 percent forbs, and 5 percent shrubs. Dominant grasses included western wheatgrass, blue grama, buffalograss (Bouteloua dactyloides), green needlegrass, sideoats grama, and needleandthread. Grasses of secondary importance included porcupine grass and sedge (Carex). Forbs commonly found in this plant community included cudweed sagewort (Artemisia ludoviciana), prairie coneflower (Ratibida columnifera), and western yarrow (Achillea millefolium). This plant community had similar plant composition to the 3.1 Western Wheatgrass-Blue Grama-Kentucky Bluegrass Plant Community Phase. The main difference is that this plant community phase did not have the presence of nonnative invasive species such as Kentucky bluegrass and smooth bromegrass. When compared to the 1.1 Western Wheatgrass-Green Needlegrass-Big Bluestem Plant Community Phase, blue grama and buffalograss increased. Green needlegrass and porcupine grass decreased and production of mid and tall warm-season grasses was also reduced. This plant community was moderately resistant to change. The herbaceous species present were well adapted to grazing; however, species composition could be altered through long-term overgrazing. If the herbaceous component was intact, it tended to be resilient if the disturbance was not long-term.
Figure 13. Plant community growth curve (percent production by month). SD5303, Southern Dark Brown Glaciated Plains, cool-season/warm-season codominant.. Cool-season, warm-season codominant..
Jan | Feb | Mar | Apr | May | Jun | Jul | Aug | Sep | Oct | Nov | Dec |
---|---|---|---|---|---|---|---|---|---|---|---|
J | F | M | A | M | J | J | A | S | O | N | D |
0 | 0 | 3 | 10 | 20 | 28 | 21 | 10 | 5 | 3 | 0 | 0 |
Pathway 1.1A
Community 1.1 to 1.2
Heavy continuous grazing which includes herbivory at moderate to heavy levels at the same time of year each year without adequate recovery periods, or during periods of below normal precipitation when grazing frequency and intensity increases on these sites due to limited forage availability on adjacent upland sites will shift this community to the 1.2 Western Wheatgrass-Blue Grama-Buffalograss Plant Community Phase.
Pathway 1.2A
Community 1.2 to 1.1
Prescribed grazing, and/or prescribed burning occurring at relatively frequent intervals (3 to 5 years) and a return to normal disturbance regime levels and frequencies or periodic light to moderate grazing possibly including periodic rest will convert this plant community to the 1.1 Western Wheatgrass-Green Needlegrass-Blue Grama Plant Community Phase.
State 2
Shortgrass Sod State
This state is the result of heavy continuous grazing, and in the absence of periodic fire due to fire suppression. This state is dominated by blue grama and buffalograss forming a dense sod layer that effectively blocks introduction of other plants into the system. Taller cool-season species will decline and a corresponding increase in short statured grass will occur. Once the threshold is crossed, a change in grazing management alone cannot cause a reduction in the sod grass dominance.
Community 2.1
Blue Grama-Buffalograss
This plant community evolved under heavy continuous season grazing or from over utilization during extended drought periods. The potential plant community was made up of approximately 85 percent grasses and grass-like species, 10 percent forbs, and 5 percent shrubs. Dominant grasses typically included blue grama and buffalograss (Bouteloua dactyloides). Grasses of secondary importance included sedge and western wheatgrass. Forbs commonly found in this plant community included cudweed sagewort, scurfpea (Psoralidium), and western yarrow. When compared to the 1.1 Western Wheatgrass-Green Needlegrass-Blue Grama Plant Community Phase, blue grama and buffalograss were dominant on this plant community. Cool-season grasses decreased significantly. This vegetation state was very resistant to change. The herbaceous species present were well adapted to grazing. This plant community was less productive than other phases. The thick sod prevented other species from getting established.
Figure 14. Annual production by plant type (representative values) or group (midpoint values)
Table 6. Annual production by plant type
Plant type | Low (lb/acre) |
Representative value (lb/acre) |
High (lb/acre) |
---|---|---|---|
Grass/Grasslike | 870 | 1155 | 1405 |
Shrub/Vine | 65 | 140 | 240 |
Forb | 65 | 105 | 155 |
Total | 1000 | 1400 | 1800 |
Figure 15. Plant community growth curve (percent production by month). SD5305, Southern Dark Brown Glaciated Plains, warm-season dominant.. Warm-season dominant..
Jan | Feb | Mar | Apr | May | Jun | Jul | Aug | Sep | Oct | Nov | Dec |
---|---|---|---|---|---|---|---|---|---|---|---|
J | F | M | A | M | J | J | A | S | O | N | D |
0 | 0 | 2 | 5 | 15 | 25 | 30 | 15 | 7 | 1 | 0 | 0 |
State 3
Native/Invaded State
This state represents the more common range of variability that exists with higher levels of grazing management but in the absence of periodic fire due to fire suppression. This state is dominated by cool-season grasses. It can be found on areas that are properly managed with grazing and/or prescribed burning, and sometimes on areas receiving occasional short periods of rest. Taller cool-season species can decline and a corresponding increase in short statured grass will occur.
Community 3.1
Western Wheatgrass-Green Needlegrass-Blue Grama
This plant community phase is similar to the 1.1 Western Wheatgrass-Green Needlegrass-Blue Grama Plant Community Phase but it also contains minor amounts of nonnative invasive grass species such as Kentucky bluegrass and smooth bromegrass (up to about 15 percent by air-dry weight). Crested wheatgrass may also be present. The potential vegetation is about 85 percent grasses or grass-like plants, 10 percent forbs, and 5 percent shrubs. The community is dominated by cool-season grasses, with warm-season grasses being subdominant. The major grasses include western wheatgrass, green needlegrass, and blue grama. Other grass or grass-like species include needleandthread, and sideoats grama. This plant community is resilient and well adapted to the Northern Great Plains climatic conditions. The diversity in plant species allows for high drought tolerance. This is a sustainable plant community in regards to site/soil stability, watershed function, and biologic integrity.
Figure 16. Plant community growth curve (percent production by month). SD5301, Southern Dark Brown Glaciated Plains, cool-season dominant.. Cool-season dominant..
Jan | Feb | Mar | Apr | May | Jun | Jul | Aug | Sep | Oct | Nov | Dec |
---|---|---|---|---|---|---|---|---|---|---|---|
J | F | M | A | M | J | J | A | S | O | N | D |
0 | 0 | 4 | 12 | 25 | 36 | 10 | 5 | 4 | 4 | 0 | 0 |
Community 3.2
Blue Grama-Western Wheatgrass-Kentucky Bluegrass
This plant community is a result of heavy continuous grazing, continuous season-long grazing, or from over utilization during extended drought periods. The potential plant community is made up of approximately 80 percent grasses and grass-like species, 15 percent forbs, and 5 percent shrubs. Dominant grasses include western wheatgrass, blue grama, and Kentucky bluegrass. Grasses of secondary importance include sideoats grama, little bluestem, green needlegrass, needleandthread, porcupine grass, buffalograss, and sedge. Smooth bromegrass and crested wheatgrass may also be present. Forbs commonly found in this plant community include cudweed sagewort, prairie coneflower, and western yarrow. When compared to the 1.1 Western Wheatgrass-Green Needlegrass-Blue Grama Plant Community Phase, blue grama has increased. Green needlegrass and sideoats grama have decreased and production of mid- and tall warm-season grasses has also been reduced. This plant community is moderately resistant to change. The herbaceous species present are well adapted to grazing; however, species composition can be altered through long-term overgrazing. If the herbaceous component is intact, it tends to be resilient if the disturbance is not long-term.
Figure 17. Annual production by plant type (representative values) or group (midpoint values)
Table 7. Annual production by plant type
Plant type | Low (lb/acre) |
Representative value (lb/acre) |
High (lb/acre) |
---|---|---|---|
Grass/Grasslike | 1040 | 1403 | 1720 |
Shrub/Vine | 80 | 169 | 290 |
Forb | 80 | 128 | 190 |
Total | 1200 | 1700 | 2200 |
Figure 18. Plant community growth curve (percent production by month). SD5302, Southern Dark Brown Glaciated Plains, cool-season dominant, warm-season subdominant.. Cool-season dominant, warm-season subdominant..
Jan | Feb | Mar | Apr | May | Jun | Jul | Aug | Sep | Oct | Nov | Dec |
---|---|---|---|---|---|---|---|---|---|---|---|
J | F | M | A | M | J | J | A | S | O | N | D |
0 | 0 | 3 | 10 | 23 | 34 | 15 | 6 | 5 | 4 | 0 | 0 |
Pathway 3.1A
Community 3.1 to 3.2
Heavy continuous grazing which includes herbivory at moderate to heavy levels at the same time of year each year without adequate recovery periods, or during periods of below normal precipitation when grazing frequency and intensity increases on these sites due to limited forage availability on adjacent upland sites will shift this community to the 3.2 Blue Grama-Western Wheatgrass-Kentucky Bluegrass Plant Community Phase.
Pathway 3.2A
Community 3.2 to 3.1
Prescribed grazing (alternating season of use and providing adequate recovery periods) or periodic light to moderate grazing possibly including periodic rest will convert this plant community to the 3.1 Western Wheatgrass-Green Needlegrass-Blue Grama Plant Community Phase.
Conservation practices
Prescribed Grazing |
---|
State 4
Invaded State
This state is the result of invasion and dominance of introduced species. This state is characterized by the dominance of Kentucky bluegrass and smooth bromegrass and an increasing thatch layer that effectively blocks introduction of other plants into the system. Plant litter accumulation tends to favor the more shade tolerant introduced grass species. The nutrient cycle is also impaired and the result is typically a higher level of nitrogen which also favors the introduced species. Increasing plant litter decreases the amount of sunlight reaching plant crowns thereby shifting competitive advantage to shade tolerant introduced grass species. Studies indicate that soil biological activity is altered and this shift apparently exploits the soil microclimate and encourages growth of the introduced grass species. Once the threshold is crossed, a change in grazing management alone cannot cause a reduction in the invasive grass dominance. Preliminary studies would tend to indicate this threshold may exist when Kentucky bluegrass exceeds 30 percent of the plant community and native grasses represent less than 40 percent of the plant community composition. Once the state is well established, even drastic events such as high intensity fires driven by high fuel loads of litter and thatch will not result in more than a very short-term reduction of Kentucky bluegrass. These events may reduce the dominance of Kentucky bluegrass but due to the large amount of rhizomes in the soil there is no opportunity for the native species to establish and dominate before Kentucky bluegrass rebounds and again dominates the system.
Community 4.1
Blue Grama-Kentucky Bluegrass-Crested Wheatgrass
This plant community phase is a result of extended periods of nonuse and no fire. It is characterized by a dominance of Kentucky bluegrass. The dominance is at times so complete that other species are difficult to find on the site. A thick duff layer also accumulates at or above the soil surface. Nutrient cycling is greatly reduced and native plants have great difficulty becoming established. Crested wheatgrass is present as well, but usually comprises less than 20 percent of the plant community. Blue Gama is present and may comprise nearly half of the plant community. Production can be equal to or higher than the interpretive plant community. However, when dominated by Kentucky bluegrass, infiltration is greatly reduced and runoff is high. Production in this case will likely be significantly less. In either case, the period that palatability is high is relatively short, as these cool-season species mature rapidly. Energy capture is also reduced.
Figure 19. Annual production by plant type (representative values) or group (midpoint values)
Table 8. Annual production by plant type
Plant type | Low (lb/acre) |
Representative value (lb/acre) |
High (lb/acre) |
---|---|---|---|
Grass/Grasslike | 600 | 935 | 1260 |
Shrub/Vine | 50 | 82 | 120 |
Forb | 50 | 83 | 120 |
Total | 700 | 1100 | 1500 |
Figure 20. Plant community growth curve (percent production by month). SD5302, Southern Dark Brown Glaciated Plains, cool-season dominant, warm-season subdominant.. Cool-season dominant, warm-season subdominant..
Jan | Feb | Mar | Apr | May | Jun | Jul | Aug | Sep | Oct | Nov | Dec |
---|---|---|---|---|---|---|---|---|---|---|---|
J | F | M | A | M | J | J | A | S | O | N | D |
0 | 0 | 3 | 10 | 23 | 34 | 15 | 6 | 5 | 4 | 0 | 0 |
Community 4.2
Kentucky Bluegrass-Blue Grama
This plant community phase is a result of heavy, continuous seasonal grazing or heavy, continuous season-long grazing. It is characterized by a dominance of Kentucky bluegrass and blue grama. The dominance is at times so complete that other species are difficult to find on the site. A relatively thick duff layer can sometimes accumulate at or above the soil surface and eventually a thatch-mat layer may develop at the surface as well. Nutrient cycling is greatly reduced and native plants have great difficulty becoming established. Infiltration is greatly reduced and runoff is high. Production will be significantly reduced when compared to the interpretive plant community. The period that palatability is high is relatively short as Kentucky bluegrass matures rapidly. Energy capture is also reduced. Biological activity in the soil is likely reduced significantly in this phase.
Community 4.3
Annual Pioneer-Perennial Pioneer
This plant community developed under continuous heavy grazing or other excessive disturbances. The potential plant community is made up of approximately 40 to 80 percent grasses and grass-like species, 20 to 60 percent forbs, and 0 to 5 percent shrubs. The species present in this phase are highly variable but often include non-native invasive and/or early seral species. Plant diversity is low (plant richness may be high, but areas are often dominated by a few species). The ecological processes are difficult to restore because of the loss of plant diversity and overall soil disturbance. Soil erosion is potentially very high because of the bare ground and shallow rooted herbaceous plant community. Water runoff will increase and infiltration will decrease due to animal related soil compaction and loss of root mass due to low plant diversity and vigor. This plant community will require significant economic inputs and time to move towards another plant community. This movement is highly variable in its succession. This is due to the loss of diversity (including the loss of the seed bank), within the existing plant community, and the plant communities on adjacent sites. This community can be renovated to improve the production capability; however, if management changes are not made the vegetation could revert back to early seral species.
Pathway 4.1A
Community 4.1 to 4.2
Heavy continuous grazing which includes herbivory at moderate to heavy levels at the same time of year each year without adequate recovery periods, or during periods of below normal precipitation when grazing frequency and intensity increases on these sites due to limited forage availability on adjacent upland sites will shift this community to the 4.2 Kentucky Bluegrass-Blue Gama Plant Community Phase.
Pathway 4.2A
Community 4.2 to 4.1
Prescribed grazing (alternating season of use and providing adequate recovery periods) or periodic light to moderate grazing possibly including periodic rest will convert this plant community to the 4.1 Blue Grama-Kentucky Bluegrass-Crested Wheatgrass Plant Community Phase.
Pathway 4.3A
Community 4.3 to 4.2
This community pathway occurs with the passage of time as successional processes take place and perennial plants gradually begin to establish on the site again. This pathway will lead to the 4.2 Kentucky Bluegrass-Blue Grama Plant Community Phase.
State 5
Crop Production State
This state is characterized by the production of annual crops using a variety of tillage and cropping systems along with management practices.
Community 5.1
Annual Crops
This plant community developed with the use of a variety of tillage systems and cropping systems for the production of annual crops including corn, soybeans, wheat, and a variety of other crops.
Transition T1A
State 1 to 2
Heavy continuous grazing (stocking levels well above carrying capacity for extended portions of the growing season, and often at the same time of year each year, typically beginning early in the season) will convert this plant community to the 2.1 Blue Grama-Buffalograss Plant Community Phase within the Short Grass Sod State (State 2).
Transition T1B
State 1 to 3
Non-use and/or no surface fire for extended periods of time (typically for 10 or more years) causing litter levels to become high enough to reduce native grass vigor, diversity, and density, and/or heavy continuous grazing or invasion of non-native plant species will likely lead this state over a threshold resulting in the Native/Invaded State (State 3).
Transition T1C
State 1 to 5
Tillage will cause a shift over a threshold leading to the 5.1 Annual Crops Plant Community Phase within the Crop Production State (State 5).
Transition T2A
State 2 to 5
Tillage will cause a shift over a threshold leading to the 5.1 Annual Crops Plant Community Phase within the Crop Production State (State 5).
Transition T3A & T3B
State 3 to 4
Non-use and/or no surface fire for extended periods of time (typically for 10 or more years) causing litter levels to become high enough to reduce native grass vigor, diversity, and density, will likely lead this state over a threshold leading to the 4.1 Blue Grama-Kentucky Bluegrass-Crested Wheatgrass Community Phase within the Invaded State (State 4). Heavy continuous grazing (stocking levels well above carrying capacity for extended portions of the growing season and often at the same time of year each year), will likely lead this state over a threshold leading to the 4.2 Kentucky Bluegrass-Blue Grama Community Phase within the Invaded State (State 4). Grazing repeatedly in the early growing season can expedite this shift by causing mechanical disturbance due to trampling.
Transition T3C
State 3 to 5
Tillage will cause a shift over a threshold leading to the 5.1 Annual Crops Plant Community Phase within the Crop Production State (State 5).
Restoration pathway T4A
State 4 to 3
Long-term prescribed grazing (moderate stocking levels coupled with adequate recovery periods, or other grazing systems such as high-density, low-frequency intended to treat specific species dominance, or periodic light to moderate stocking levels possibly including periodic rest) coupled with prescribed burning occurring at relatively frequent intervals (3 to 5 years) and a return to normal disturbance regime levels may lead this plant community phase over a threshold to the Native/Invaded State (State 3).
Conservation practices
Prescribed Grazing | |
---|---|
Integrated Pest Management (IPM) |
Transition T4B
State 4 to 5
Tillage will cause a shift over a threshold leading to the 5.1 Annual Crops Community Phase within the Crop Production State (State 5).
Restoration pathway T5A
State 5 to 3
Seeding may lead this Crop Production State (State 5) over a threshold to the Native/Invaded State (State 3).
Restoration pathway T5B & T5C
State 5 to 4
Seeding may lead this Crop Production State (State 5) over a threshold to the Invaded State (State 4) Cropping followed by abandonment may lead this plant community phase over a threshold to the Invaded State (State 4) and more specifically to the 4.3 Annual Pioneer-Perennial Pioneer Plant Community Phase.
Additional community tables
Table 9. Community 1.1 plant community composition
Group | Common name | Symbol | Scientific name | Annual production (lb/acre) | Foliar cover (%) | |
---|---|---|---|---|---|---|
Grass/Grasslike
|
||||||
1 | Wheatgrass | 300–800 | ||||
western wheatgrass | PASM | Pascopyrum smithii | 300–800 | – | ||
slender wheatgrass | ELTR7 | Elymus trachycaulus | 0–100 | – | ||
2 | Cool-Season Bunchgrasses | 300–660 | ||||
green needlegrass | NAVI4 | Nassella viridula | 300–600 | – | ||
needle and thread | HECOC8 | Hesperostipa comata ssp. comata | 40–200 | – | ||
porcupinegrass | HESP11 | Hesperostipa spartea | 0–100 | – | ||
3 | Short Warm-Season Grasses | 100–300 | ||||
blue grama | BOGR2 | Bouteloua gracilis | 100–300 | – | ||
buffalograss | BODA2 | Bouteloua dactyloides | 20–100 | – | ||
saltgrass | DISP | Distichlis spicata | 20–60 | – | ||
threeawn | ARIST | Aristida | 20–40 | – | ||
4 | Tall/Mid Warm-Season Grasses | 40–180 | ||||
sideoats grama | BOCU | Bouteloua curtipendula | 20–180 | – | ||
prairie sandreed | CALO | Calamovilfa longifolia | 0–180 | – | ||
5 | Other Native Grasses | 20–100 | ||||
Graminoid (grass or grass-like) | 2GRAM | Graminoid (grass or grass-like) | 0–80 | – | ||
prairie Junegrass | KOMA | Koeleria macrantha | 20–60 | – | ||
Sandberg bluegrass | POSE | Poa secunda | 0–40 | – | ||
Scribner's rosette grass | DIOLS | Dichanthelium oligosanthes var. scribnerianum | 0–40 | – | ||
6 | Grass-likes | 40–160 | ||||
needleleaf sedge | CADU6 | Carex duriuscula | 20–160 | – | ||
threadleaf sedge | CAFI | Carex filifolia | 20–100 | – | ||
Grass-like (not a true grass) | 2GL | Grass-like (not a true grass) | 0–60 | – | ||
Forb
|
||||||
7 | Forbs | 100–200 | ||||
Forb, native | 2FN | Forb, native | 20–80 | – | ||
white sagebrush | ARLU | Artemisia ludoviciana | 20–60 | – | ||
goldenrod | SOLID | Solidago | 20–60 | – | ||
scurfpea | PSORA2 | Psoralidium | 20–60 | – | ||
upright prairie coneflower | RACO3 | Ratibida columnifera | 20–40 | – | ||
woolly plantain | PLPA2 | Plantago patagonica | 20–40 | – | ||
scarlet globemallow | SPCO | Sphaeralcea coccinea | 20–40 | – | ||
white heath aster | SYER | Symphyotrichum ericoides | 20–40 | – | ||
American vetch | VIAM | Vicia americana | 20–40 | – | ||
scarlet beeblossom | GACO5 | Gaura coccinea | 20–40 | – | ||
American bird's-foot trefoil | LOUNU | Lotus unifoliolatus var. unifoliolatus | 20–40 | – | ||
wavyleaf thistle | CIUN | Cirsium undulatum | 0–40 | – | ||
western yarrow | ACMIO | Achillea millefolium var. occidentalis | 20–40 | – | ||
textile onion | ALTE | Allium textile | 0–40 | – | ||
pussytoes | ANTEN | Antennaria | 0–20 | – | ||
western wallflower | ERAS2 | Erysimum asperum | 0–20 | – | ||
milkvetch | ASTRA | Astragalus | 0–20 | – | ||
rush skeletonplant | LYJU | Lygodesmia juncea | 0–20 | – | ||
curlycup gumweed | GRSQ | Grindelia squarrosa | 0–20 | – | ||
Shrub/Vine
|
||||||
8 | Shrubs | 100–200 | ||||
prairie sagewort | ARFR4 | Artemisia frigida | 20–100 | – | ||
brittle pricklypear | OPFR | Opuntia fragilis | 20–80 | – | ||
plains pricklypear | OPPO | Opuntia polyacantha | 20–80 | – | ||
rose | ROSA5 | Rosa | 20–40 | – | ||
Shrub (>.5m) | 2SHRUB | Shrub (>.5m) | 0–40 | – |
Table 10. Community 2.1 plant community composition
Group | Common name | Symbol | Scientific name | Annual production (lb/acre) | Foliar cover (%) | |
---|---|---|---|---|---|---|
Grass/Grasslike
|
||||||
1 | Wheatgrass | 14–56 | ||||
western wheatgrass | PASM | Pascopyrum smithii | 14–56 | – | ||
2 | Cool-Season Bunchgrasses | 0–42 | ||||
needle and thread | HECOC8 | Hesperostipa comata ssp. comata | 0–28 | – | ||
green needlegrass | NAVI4 | Nassella viridula | 0–14 | – | ||
3 | Short Warm-Season Grasses | 350–770 | ||||
blue grama | BOGR2 | Bouteloua gracilis | 280–560 | – | ||
buffalograss | BODA2 | Bouteloua dactyloides | 28–280 | – | ||
threeawn | ARIST | Aristida | 28–140 | – | ||
saltgrass | DISP | Distichlis spicata | 14–70 | – | ||
4 | Tall/Mid Warm-Season Grasses | 0–14 | ||||
sideoats grama | BOCU | Bouteloua curtipendula | 0–14 | – | ||
prairie sandreed | CALO | Calamovilfa longifolia | 0–14 | – | ||
5 | Other Native Grasses | 14–70 | ||||
Graminoid (grass or grass-like) | 2GRAM | Graminoid (grass or grass-like) | 0–70 | – | ||
Sandberg bluegrass | POSE | Poa secunda | 0–42 | – | ||
Scribner's rosette grass | DIOLS | Dichanthelium oligosanthes var. scribnerianum | 0–28 | – | ||
prairie Junegrass | KOMA | Koeleria macrantha | 14–28 | – | ||
6 | Grass-likes | 140–280 | ||||
needleleaf sedge | CADU6 | Carex duriuscula | 70–210 | – | ||
threadleaf sedge | CAFI | Carex filifolia | 28–140 | – | ||
Grass-like (not a true grass) | 2GL | Grass-like (not a true grass) | 0–70 | – | ||
7 | Non-Native Grasses | 0–140 | ||||
bluegrass | POA | Poa | 0–140 | – | ||
brome | BROMU | Bromus | 0–70 | – | ||
Forb
|
||||||
8 | Forbs | 70–140 | ||||
sweetclover | MELIL | Melilotus | 0–84 | – | ||
Forb, introduced | 2FI | Forb, introduced | 0–70 | – | ||
curlycup gumweed | GRSQ | Grindelia squarrosa | 14–56 | – | ||
yellow salsify | TRDU | Tragopogon dubius | 0–42 | – | ||
western yarrow | ACMIO | Achillea millefolium var. occidentalis | 14–42 | – | ||
white sagebrush | ARLU | Artemisia ludoviciana | 14–42 | – | ||
goldenrod | SOLID | Solidago | 14–42 | – | ||
scarlet globemallow | SPCO | Sphaeralcea coccinea | 14–28 | – | ||
white heath aster | SYER | Symphyotrichum ericoides | 14–28 | – | ||
common dandelion | TAOF | Taraxacum officinale | 0–28 | – | ||
woolly plantain | PLPA2 | Plantago patagonica | 0–28 | – | ||
scurfpea | PSORA2 | Psoralidium | 14–28 | – | ||
Forb, native | 2FN | Forb, native | 0–28 | – | ||
pussytoes | ANTEN | Antennaria | 0–14 | – | ||
wavyleaf thistle | CIUN | Cirsium undulatum | 0–14 | – | ||
Shrub/Vine
|
||||||
9 | Shrubs | 70–210 | ||||
prairie sagewort | ARFR4 | Artemisia frigida | 14–126 | – | ||
brittle pricklypear | OPFR | Opuntia fragilis | 14–112 | – | ||
plains pricklypear | OPPO | Opuntia polyacantha | 14–98 | – | ||
Shrub (>.5m) | 2SHRUB | Shrub (>.5m) | 0–42 | – | ||
rose | ROSA5 | Rosa | 0–28 | – |
Table 11. Community 3.2 plant community composition
Group | Common name | Symbol | Scientific name | Annual production (lb/acre) | Foliar cover (%) | |
---|---|---|---|---|---|---|
Grass/Grasslike
|
||||||
1 | Wheatgrass | 170–340 | ||||
western wheatgrass | PASM | Pascopyrum smithii | 170–340 | – | ||
slender wheatgrass | ELTR7 | Elymus trachycaulus | 0–51 | – | ||
2 | Cool-Season Bunchgrasses | 17–170 | ||||
needle and thread | HECOC8 | Hesperostipa comata ssp. comata | 0–170 | – | ||
green needlegrass | NAVI4 | Nassella viridula | 0–170 | – | ||
3 | Short Warm-Season Grasses | 340–595 | ||||
blue grama | BOGR2 | Bouteloua gracilis | 170–425 | – | ||
buffalograss | BODA2 | Bouteloua dactyloides | 34–170 | – | ||
threeawn | ARIST | Aristida | 17–85 | – | ||
saltgrass | DISP | Distichlis spicata | 0–51 | – | ||
4 | Tall/Mid Warm-Season Grasses | 17–85 | ||||
sideoats grama | BOCU | Bouteloua curtipendula | 17–85 | – | ||
prairie sandreed | CALO | Calamovilfa longifolia | 0–34 | – | ||
5 | Other Native Grasses | 17–85 | ||||
Graminoid (grass or grass-like) | 2GRAM | Graminoid (grass or grass-like) | 0–85 | – | ||
prairie Junegrass | KOMA | Koeleria macrantha | 17–51 | – | ||
Sandberg bluegrass | POSE | Poa secunda | 0–51 | – | ||
Scribner's rosette grass | DIOLS | Dichanthelium oligosanthes var. scribnerianum | 0–34 | – | ||
6 | Grass-likes | 34–170 | ||||
needleleaf sedge | CADU6 | Carex duriuscula | 17–170 | – | ||
threadleaf sedge | CAFI | Carex filifolia | 17–119 | – | ||
Grass-like (not a true grass) | 2GL | Grass-like (not a true grass) | 0–51 | – | ||
7 | Non-Native Grasses | 170–340 | ||||
bluegrass | POA | Poa | 85–255 | – | ||
crested wheatgrass | AGCR | Agropyron cristatum | 0–170 | – | ||
smooth brome | BRIN2 | Bromus inermis | 0–136 | – | ||
brome | BROMU | Bromus | 0–85 | – | ||
Forb
|
||||||
8 | Forbs | 85–170 | ||||
sweetclover | MELIL | Melilotus | 0–102 | – | ||
Forb, introduced | 2FI | Forb, introduced | 0–85 | – | ||
curlycup gumweed | GRSQ | Grindelia squarrosa | 17–68 | – | ||
white sagebrush | ARLU | Artemisia ludoviciana | 17–51 | – | ||
Forb, native | 2FN | Forb, native | 0–51 | – | ||
western yarrow | ACMIO | Achillea millefolium var. occidentalis | 17–51 | – | ||
scurfpea | PSORA2 | Psoralidium | 17–51 | – | ||
goldenrod | SOLID | Solidago | 17–51 | – | ||
yellow salsify | TRDU | Tragopogon dubius | 0–51 | – | ||
western wallflower | ERAS2 | Erysimum asperum | 0–34 | – | ||
scarlet globemallow | SPCO | Sphaeralcea coccinea | 17–34 | – | ||
white heath aster | SYER | Symphyotrichum ericoides | 17–34 | – | ||
common dandelion | TAOF | Taraxacum officinale | 0–34 | – | ||
upright prairie coneflower | RACO3 | Ratibida columnifera | 0–34 | – | ||
woolly plantain | PLPA2 | Plantago patagonica | 0–34 | – | ||
pussytoes | ANTEN | Antennaria | 0–17 | – | ||
wavyleaf thistle | CIUN | Cirsium undulatum | 0–17 | – | ||
American bird's-foot trefoil | LOUNU | Lotus unifoliolatus var. unifoliolatus | 0–17 | – | ||
rush skeletonplant | LYJU | Lygodesmia juncea | 0–17 | – | ||
American vetch | VIAM | Vicia americana | 0–17 | – | ||
Shrub/Vine
|
||||||
9 | Shrubs | 85–255 | ||||
prairie sagewort | ARFR4 | Artemisia frigida | 17–153 | – | ||
brittle pricklypear | OPFR | Opuntia fragilis | 17–136 | – | ||
plains pricklypear | OPPO | Opuntia polyacantha | 17–119 | – | ||
Shrub (>.5m) | 2SHRUB | Shrub (>.5m) | 0–51 | – | ||
rose | ROSA5 | Rosa | 0–34 | – |
Table 12. Community 4.1 plant community composition
Group | Common name | Symbol | Scientific name | Annual production (lb/acre) | Foliar cover (%) | |
---|---|---|---|---|---|---|
Grass/Grasslike
|
||||||
1 | Wheatgrass | 0–44 | ||||
western wheatgrass | PASM | Pascopyrum smithii | 0–44 | – | ||
2 | Cool-Season Bunchgrasses | 0–22 | ||||
needle and thread | HECOC8 | Hesperostipa comata ssp. comata | 0–11 | – | ||
green needlegrass | NAVI4 | Nassella viridula | 0–11 | – | ||
3 | Short Warm-Season Grasses | 330–550 | ||||
blue grama | BOGR2 | Bouteloua gracilis | 275–495 | – | ||
saltgrass | DISP | Distichlis spicata | 11–55 | – | ||
threeawn | ARIST | Aristida | 22–55 | – | ||
buffalograss | BODA2 | Bouteloua dactyloides | 22–55 | – | ||
4 | Tall/Mid Warm-Season Grasses | 0–33 | ||||
sideoats grama | BOCU | Bouteloua curtipendula | 0–33 | – | ||
prairie sandreed | CALO | Calamovilfa longifolia | 0–11 | – | ||
5 | Other Native Grasses | 0–55 | ||||
Graminoid (grass or grass-like) | 2GRAM | Graminoid (grass or grass-like) | 0–55 | – | ||
Sandberg bluegrass | POSE | Poa secunda | 0–22 | – | ||
Scribner's rosette grass | DIOLS | Dichanthelium oligosanthes var. scribnerianum | 0–11 | – | ||
prairie Junegrass | KOMA | Koeleria macrantha | 0–11 | – | ||
6 | Grass-likes | 22–110 | ||||
needleleaf sedge | CADU6 | Carex duriuscula | 11–88 | – | ||
threadleaf sedge | CAFI | Carex filifolia | 11–55 | – | ||
Grass-like (not a true grass) | 2GL | Grass-like (not a true grass) | 0–22 | – | ||
7 | Non-Native Grasses | 220–385 | ||||
bluegrass | POA | Poa | 110–330 | – | ||
brome | BROMU | Bromus | 22–165 | – | ||
crested wheatgrass | AGCR | Agropyron cristatum | 0–165 | – | ||
smooth brome | BRIN2 | Bromus inermis | 0–88 | – | ||
Forb
|
||||||
8 | Forbs | 55–110 | ||||
sweetclover | MELIL | Melilotus | 0–99 | – | ||
Forb, introduced | 2FI | Forb, introduced | 11–99 | – | ||
common dandelion | TAOF | Taraxacum officinale | 0–55 | – | ||
western yarrow | ACMIO | Achillea millefolium var. occidentalis | 11–33 | – | ||
white sagebrush | ARLU | Artemisia ludoviciana | 0–33 | – | ||
curlycup gumweed | GRSQ | Grindelia squarrosa | 11–33 | – | ||
Forb, native | 2FN | Forb, native | 0–22 | – | ||
scurfpea | PSORA2 | Psoralidium | 0–22 | – | ||
goldenrod | SOLID | Solidago | 0–22 | – | ||
yellow salsify | TRDU | Tragopogon dubius | 0–22 | – | ||
white heath aster | SYER | Symphyotrichum ericoides | 0–22 | – | ||
scarlet globemallow | SPCO | Sphaeralcea coccinea | 0–11 | – | ||
woolly plantain | PLPA2 | Plantago patagonica | 0–11 | – | ||
pussytoes | ANTEN | Antennaria | 0–11 | – | ||
American bird's-foot trefoil | LOUNU | Lotus unifoliolatus var. unifoliolatus | 0–11 | – | ||
rush skeletonplant | LYJU | Lygodesmia juncea | 0–11 | – | ||
Shrub/Vine
|
||||||
9 | Shrubs | 55–110 | ||||
brittle pricklypear | OPFR | Opuntia fragilis | 11–88 | – | ||
plains pricklypear | OPPO | Opuntia polyacantha | 11–88 | – | ||
prairie sagewort | ARFR4 | Artemisia frigida | 11–55 | – | ||
Shrub (>.5m) | 2SHRUB | Shrub (>.5m) | 0–22 | – | ||
rose | ROSA5 | Rosa | 0–11 | – |
Interpretations
Animal community
Animal Community – Grazing Interpretations
The following table lists annual, suggested initial stocking rates with average growing conditions. These are conservative estimates that should be used only as guidelines in the initial stages of conservation planning. Often, the current plant composition does not entirely match any particular plant community (as described in this ES description). Because of this, a resource inventory is necessary to document plant composition and production. More accurate carrying capacity estimates should eventually be calculated using the following stocking rate information along with animal preference data and actual stocking records, particularly when grazers other than cattle are involved. With consultation of the land manager, more intensive grazing management may result in improved harvest efficiencies and increased carrying capacity.
Western Wheatgrass/Green Needlegrass (1.1)
Average Annual Production (lbs./acre, air-dry): 2,000
Stocking Rate* (AUM/acre): 0.55
Blue Grama/ Buffalograss Sod (2.1):
Average Annual Production (lbs./acre, air-dry): 1,400
Stocking Rate* (AUM/acre): 0.38
Western Wheatgrass/Blue Grama/Kentucky (3.2):
Average Annual Production (lbs./acre, air-dry): 1,700
Stocking Rate* (AUM/acre): 0.46
Kentucky Bluegrass/Blue Grama/Crested Wheatgrass (4.1):
Average Annual Production (lbs./acre, air-dry): 1,100
Stocking Rate* (AUM/acre): 0.30
Annual/Pioneer, Non-native Perennial (4.2):
Average Annual Production (lbs./acre, air-dry): 800
Stocking Rate* (AUM/acre): 0.22
*Based on 912 lbs./acre (air-dry weight) per Animal Unit Month (AUM), and on 25 percent harvest efficiency (refer to United States Department of Agriculture (USDA) Natural Resources Conservation Service (NRCS) National Range and Pasture Handbook).
Grazing by domestic livestock is one of the major income-producing industries in the area. Rangeland in this area may provide yearlong forage. During the dormant period, the forage for livestock will likely be lacking protein to meet livestock requirements, and added protein will allow ruminants to better utilize the energy stored in grazed plant materials. A forage quality test (either directly or through fecal sampling) should be used to determine the level of supplementation needed.
Hydrological functions
Water is the principal factor limiting forage production on this site. This site is dominated by soils in hydrologic group D. Infiltration varies from very slow to slow, and runoff potential for this site varies from high to very high depending on soil hydrologic group, slope and ground cover. In many cases, areas with greater than 75 percent ground cover have the greatest potential for high infiltration and lower runoff. An example of an exception would be where shortgrasses form a strong sod and dominate the site. Dominance by blue grama, buffalograss, bluegrass, and/or smooth bromegrass will result in reduced infiltration and increased runoff. Areas where ground cover is less than 50 percent have the greatest potential to have reduced infiltration and higher runoff (refer to Section 4, NRCS National Engineering Handbook for runoff quantities and hydrologic curves).
Recreational uses
This site provides hunting, hiking, photography, bird watching, and other opportunities. The wide varieties of plants that bloom from spring until fall have an aesthetic value that appeals to visitors.
Wood products
No appreciable wood products are typically present on this site.
Other products
Seed harvest of native plant species can provide additional income on this site.
Other information
Ecological Site Correlation Issues and Questions:
• SD107 Potter County, SD did not use the (OrA) Onita-DeGrey silt loams, 0 to 2 percent slopes (national symbol cvfk) as used in the adjoining SD119 Sully County, SD.
• SD107 Potter County, SD did not use the (RcA) Raber-Cavo loams, 0 to 2 percent slopes (national symbol 2wkns) as used in the adjoining SD119 Sully County, SD.
• SD059 Hand County, SD did not use the (Fd) Lane-Farmsworth complex, 0 to 2 percent slopes, rarely flooded (national symbol 2xhby) as used in the adjoining SD073 Jerauld County, SD.
• Reference and alternative states within the state and transition model are may not be fully documented and may require additional field sampling for refinement.
Supporting information
Inventory data references
There is no NRCS clipping data and other inventory currently available for this site. Information presented here has been derived from NRCS clipping data and other inventory data. Field observations from range-trained personnel were also used. Those involved in developing this site include: Stan Boltz, Range Management Specialist (RMS), NRCS, Shane Deranleau, RMS, NRCS, Mitch Faulkner, RMS, NRCS, and Bruce Kunze, Soil Scientist, NRCS.
Data Source Sample Period State County
NONE
Other references
Cleland, D.T., J.A. Freeouf, J.E. Keys, G.J. Nowacki, C. Carpenter, and W.H. McNab. 2007. Ecological Subregions: Sections and Subsections of the Coterminous United States. USDA Forest Service, General Technical Report WO-76. Washington, DC. 92 pps.
Gilbert, M. C., Whited, P. M., Clairain Jr, E. J., & Smith, R. D. (2006). A Regional Guidebook for Applying the Hydrogeomorphic Approach to Assessing Wetland Functions of Prairie Potholes. Washington DC.
Samson, F. B., & Knopf, F. L. (1996). Prairie Conservation Preserving North America's Most Endagered Ecosystem. Washington D.C.: Island Press.
Soil Survey Staff, Natural Resources Conservation Service, United States Department of Agriculture. Official Soil Series Descriptions. Available online. Accessed March 2018.
United States Department of Agriculture – Natural Resource Conservation Service (USDA-NRCS). 2003. National Range and Pasture Handbook, Revision 1. Grazing Lands Technology Institute. 214 pps.
United States Department of Agriculture – Natural Resource Conservation Service (USDA-NRCS). 2006. Land Resource Regions and Major Land Resource Areas of the United States, the Caribbean, and the Pacific Basin. U.S. Department of Agriculture Handbook 296. 672pps.
USDA, NRCS. National Soil Information System, Information Technology Center, 2150 Centre Avenue, Building A, Fort Collins, CO 80526. (http://soils.usda.gov/technical/nasis/)
USDA, NRCS. 2018. The PLANTS Database (http://plants.usda.gov, 27 March 2018). National Plant Data Team, Greensboro, NC 27401-4901 USA.
U.S. Environmental Protection Agency [EPA]. 2013. Level III and Level IV Ecoregions of the Continental United States. Corvallis, OR, U.S. EPA, National Health and Environmental Effects Research Laboratory, map scale 1:3,000,000. Available at http://www.epa.gov/eco-research/level-iii-and-iv-ecoregions- continental-united-states. (Accessed 1 March 2018).
Contributors
Stan Boltz
Approval
Suzanne Mayne-Kinney, 1/22/2024
Acknowledgments
Contact for Lead Authors: Natural Resources Conservation Service (USDA-NRCS), Redfield Soil Survey Office Redfield, SD; Lance Howe (Lance.Howe@usda.gov), Soil Survey Office Leader, USDA-NRCS, Redfield, SD; and Steve Winter (Steven.Winter@usda.gov), Soil Scientist, USDA-NRCS, Redfield, SD
Additional Information Acknowledgment: Jason Hermann (Jason.Hermann@usda.gov), Area Rangeland Management Specialist, USDA-NRCS, Redfield, SD.
This Provisional Ecological Site concept has passed both Quality Control and Quality Assurance processes. Quality Assurance was approved by David Kraft, NRCS Regional Ecologist as of 11/12/2020.
Non-discrimination Statement
In accordance with Federal civil rights law and U.S. Department of Agriculture (USDA) civil rights regulations and policies, the USDA, its Agencies, offices, and employees, and institutions participating in or administering USDA programs are prohibited from discriminating based on race, color, national origin, religion, sex, gender identity (including gender expression), sexual orientation, disability, age, marital status, family/parental status, income derived from a public assistance program, political beliefs, or reprisal or retaliation for prior civil rights activity, in any program or activity conducted or funded by USDA (not all bases apply to all programs). Remedies and complaint filing deadlines vary by program or incident.
Persons with disabilities who require alternative means of communication for program information (e.g., Braille, large print, audiotape, American Sign Language, etc.) should contact the responsible Agency or USDA's TARGET Center at (202) 720-2600 (voice and TTY) or contact USDA through the Federal Relay Service at (800) 877-8339. Additionally, program information may be made available in languages other than English.
To file a program discrimination complaint, complete the USDA Program Discrimination Complaint Form, AD-3027, available online and at any USDA office, or write a letter addressed to USDA and provide in the letter all of the information requested in the form. To request a copy of the complaint form, call (866) 632- 9992. Submit your completed form or letter to USDA by: (1) mail: U.S. Department of Agriculture, Office of the Assistant Secretary for Civil Rights, 1400 Independence Avenue, SW, Washington, D.C. 20250-9410; (2) fax: (202) 690-7442; or (3) email: program.intake@usda.gov.
Rangeland health reference sheet
Interpreting Indicators of Rangeland Health is a qualitative assessment protocol used to determine ecosystem condition based on benchmark characteristics described in the Reference Sheet. A suite of 17 (or more) indicators are typically considered in an assessment. The ecological site(s) representative of an assessment location must be known prior to applying the protocol and must be verified based on soils and climate. Current plant community cannot be used to identify the ecological site.
Author(s)/participant(s) | Stan Boltz, Mitch Faulkner, Shane Deranleau |
---|---|
Contact for lead author | Stan Boltz, stanley.boltz@sd.usda.gov, 605-352-1236 |
Date | 03/15/2011 |
Approved by | Suzanne Mayne-Kinney |
Approval date | |
Composition (Indicators 10 and 12) based on | Annual Production |
Indicators
-
Number and extent of rills:
Rills should not be present. -
Presence of water flow patterns:
Barely observable. -
Number and height of erosional pedestals or terracettes:
Essentially non-existent. -
Bare ground from Ecological Site Description or other studies (rock, litter, lichen, moss, plant canopy are not bare ground):
Bare ground less than 15 percent and pathces less than two inches in diameter. -
Number of gullies and erosion associated with gullies:
Active gullies should not be present. -
Extent of wind scoured, blowouts and/or depositional areas:
None present. -
Amount of litter movement (describe size and distance expected to travel):
Little to no plant litter movement. Plant litter remains in place and is not moved by erosional forces. -
Soil surface (top few mm) resistance to erosion (stability values are averages - most sites will show a range of values):
Soil aggregate stability normally a 4 to 6 rating. Typically high root content and organic matter in the soil surface. Soil surface is very resistant to erosion. -
Soil surface structure and SOM content (include type of structure and A-horizon color and thickness):
Soil surface structure is typically granular, and mollic (higher organic matter) colors of A-horizon down to about 4 to 7 inches. If conditions are other than this, refer to map unit component descriptions for component on which the site occurs. -
Effect of community phase composition (relative proportion of different functional groups) and spatial distribution on infiltration and runoff:
Healthy, deep-rooted native grass and grass-like species enhance infiltration and reduce runoff. -
Presence and thickness of compaction layer (usually none; describe soil profile features which may be mistaken for compaction on this site):
No compaction layer should be present. At less than eight inches, an extremely dense clay B horizon with round-topped columnar or prismatic structure exists. This pan should not be confused with a compaction layer. -
Functional/Structural Groups (list in order of descending dominance by above-ground annual-production or live foliar cover using symbols: >>, >, = to indicate much greater than, greater than, and equal to):
Dominant:
Wheatgrasses (mid, cool-season rhizomatous) > mid and tall, cool-season bunchgrasses >Sub-dominant:
Short, warm-season grasses >Other:
Forbs = shrubs > tall & mid, warm-season grasses > grass-like speciesAdditional:
Other native grasses occur in other functional groups in minor amounts. -
Amount of plant mortality and decadence (include which functional groups are expected to show mortality or decadence):
Very little to no evidence of decadence or mortality. -
Average percent litter cover (%) and depth ( in):
65-75 percent plant litter cover, roughly 0.25 to 0.5 inches in depth. Litter cover is in contact with the soil surface. -
Expected annual annual-production (this is TOTAL above-ground annual-production, not just forage annual-production):
2,000 pounds/acre (air-dry basis) -
Potential invasive (including noxious) species (native and non-native). List species which BOTH characterize degraded states and have the potential to become a dominant or co-dominant species on the ecological site if their future establishment and growth is not actively controlled by management interventions. Species that become dominant for only one to several years (e.g., short-term response to drought or wildfire) are not invasive plants. Note that unlike other indicators, we are describing what is NOT expected in the reference state for the ecological site:
Refer to State and local Noxious Weed List; also Kentucky bluegrass and smooth bromegrass. -
Perennial plant reproductive capability:
Perennial grasses have vigorous rhizomes and/or tillers.
Print Options
Sections
Font
Other
The Ecosystem Dynamics Interpretive Tool is an information system framework developed by the USDA-ARS Jornada Experimental Range, USDA Natural Resources Conservation Service, and New Mexico State University.
Click on box and path labels to scroll to the respective text.
Ecosystem states
States 1, 5 and 2 (additional transitions)
T1A | - | Heavy continuous grazing |
---|---|---|
T1B | - | Heavy continuous grazing, non-use, no fire, invasion |
T1C | - | Tillage |
T2A | - | Tillage |
T3A & T3B | - | Non-use, no fire, heavy continuous grazing |
T3C | - | Tillage |
T4A | - | Long-term prescribed grazing |
T4B | - | Tillage |
T5A | - | Seeding |
T5B & T5C | - | Seeding, cropping followed by abandonment |
State 1 submodel, plant communities
1.1A | - | Heavy continuous grazing |
---|---|---|
1.2A | - | Prescribed grazing with recovery periods, prescribed burning |
State 2 submodel, plant communities
State 3 submodel, plant communities
3.1A | - | Heavy continuous grazing |
---|---|---|
3.2A | - | Prescribed grazing with recovery periods |
State 4 submodel, plant communities
4.1A | - | Heavy continuous grazing |
---|---|---|
4.2A | - | Prescribed grazing with recovery periods |
4.3A | - | Time, w/wo disturbances |