Ecological dynamics
It is impossible to determine in any quantitative detail the historic climax plant community (HCPC) for this ecological site because of the lack of direct historical documentation preceding all human influence. In some areas, the earliest reports of dominant plants include the cadastral survey conducted by the General Land Office, which began in the late 19th century for this area (Galatowitsch 1990). However, up to the 1870s the Shoshone Indians, prevalent in northern Utah and neighboring states, grazed horses and set fires to alter the vegetation for their needs (Parson 1996). In the 1860s, Europeans brought cattle and horses to the area, grazing large numbers of them on unfenced parcels year-long (Parson 1996). Itinerant and local sheep followed, largely replacing cattle as the browse component increased.
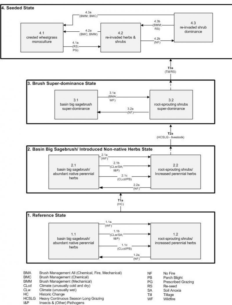
Below is a State and Transition Model diagram to illustrate the “phases” (common plant communities), and “states” (aggregations of those plant communities) that can occur on the site. Differences between phases and states depend primarily upon observations of a range of disturbance histories in areas where this ESD is represented. These situations include grazing gradients to water sources, fence-line contrasts, patches with differing dates of fire, herbicide treatment, tillage, etc. Reference State 1 illustrates the common plant communities that probably existed just prior to European settlement.
The major successional pathways within states, (“community pathways”) are indicated by arrows between phases. “Transitions” are indicated by arrows between states. The drivers of these changes are indicated in codes decipherable by referring to the legend at the bottom of the page and by reading the detailed narratives that follow the diagram. The transition between Reference State 1 and State 2 is considered irreversible because of the naturalization of exotic species of both flora and fauna, possible extinction of native species, and climate change. There may have also been accelerated soil erosion.
When available, monitoring data (of various types) were employed to validate more subjective inferences made in this diagram. See the complete files in the office of the State Range Conservationist for more details.
The plant communities shown in this State and Transition Model may not represent every possibility, but are probably the most prevalent and recurring plant communities. As more monitoring data are collected, some phases or states may be revised, removed, and/or new ones may be added. None of these plant communities should necessarily be thought of as “Desired Plant Communities.” According to the USDA NRCS National Range & Pasture Handbook (USDA-NRCS 2003), Desired Plant Communities (DPC’s) will be determined by the decision-makers and will meet minimum quality criteria established by the NRCS. The main purpose for including descriptions of a plant community is to capture the current knowledge at the time of this revision.
State 1: Reference State
Community Phase 1.1: Reference State
The Reference State is a description of this ecological site just prior to Euro-American settlement but long after the arrival of Native Americans. The description of the Reference State was determined by NRCS Soil Survey Type Site Location information and familiarity with rangeland relict areas where they exist. The Reference State for this site would have been characterized as a shrub steppe co-dominated by basin big sagebrush (Artemisia tridentata ssp. tridentata), the dominant shrub, and having a rich herbaceous understory. The proportions of shrubs and herbs would have been dependent upon the length of time elapsed since the last wildfire or other sagebrush-killing event. If fire had not occurred within the past 30 years (1.2a), basin big sagebrush would have been the dominant shrub, having a native perennial herbaceous understory (1.1). If less than 10 years had elapsed since the last fire (1.1a), perennial native herbs would have increased and the shrub component would have been dominated by root-sprouting species such as rubber rabbitbrush (Ericameria nauseosa), and yellow rabbitbrush (Chrysothamnus viscidiflorus) (1.2). Soil anoxia from extremely wet years or an outbreak of Aroga (Aroga spp.) moth (1.1b) could have also reduced sagebrush and enhanced root-sprouting shrubs and perennial herbs (1.2) in some years. The same effect would have also been achieved by parch blight due to lack of snow cover during dry, cold winters (1.1c). A more complete list of species by lifeform for the Reference State is available in the accompanying tables in the “Plant Community Composition by Weight and Percentage” section of this document.
Community Phase 1.1: Basin big sagebrush/ abundant native perennial herbs
This plant community would have developed in the absence of recent fire and was characterized by basin big sagebrush and abundant native perennial herbs and bunchgrasses.
Community Pathway 1.1a
Wildfire would have removed basin big sagebrush, allowing root-sprouting shrubs and the native perennial forbs and grasses to increase.
Community Pathway 1.1b
An extremely wet period such as an El Nino-Southern Oscillation event and subsequent anoxious soil conditions would have killed off basin big sagebrush and converted the plant community to one dominated by root-sprouting shrubs and native perennial herbs. The same result would have been seen following a sudden insect (e.g. Aroga moth), or other pathogen outbreak on sagebrush.
Community Pathway 1.1c
Unusually cold, dry winters may have caused severe parch blight, killing off substantial portions of sagebrush and allowing roots-sprouting shrubs and native perennial herbs to dominate the plant community.
Community Phase 1.2: root-sprouting shrubs/ increased perennial herbs
This phase of the Reference State would have been dominated by root-sprouting shrubs such as rubber rabbitbrush, yellow rabbitbrush, and snakeweed (Gutierrezia sarothrae), with a rich understory of native perennial herbs.
Community Pathway 1.2a
In the absence of fire, this plant community would have responded with an increase in basin big sagebrush and a corresponding decrease in native perennial herbs.
T1a: Transition from State 1 to State 2 (Reference State to Basin Big Sagebrush/ Introduced Non-natives State)
The simultaneous introduction of exotic species, both plants and animals, and possible extinctions, along with climate change, has caused State 1 to transition to State 2. Reversal of such historic changes (i.e. a return pathway) back to State 1 is not practical.
State 2: Basin Big Sagebrush/ Introduced Non-native Herbs State
Community Phase 2.2: Basin Big Sagebrush/ Introduced Non-native Herbs State
State 2 is very similar to State 1 in form and function, with the exception of the presence of non-native plants and animals, possible extinctions of native species, and a different climate. State 2 is a description of the ecological site shortly following Euro-American settlement. This State can be regarded as the current potential. As with State 1, a shift will be seen in the abundance of basin big sagebrush relative to the perennial herbs based upon the amount of time that has elapsed since the last wildfire or other sagebrush-killing event. Wildfire (2.1a) will temporarily remove basin big sagebrush, allowing root-sprouting shrubs and all types of herbs (both native and non-native) to increase (2.2). Lack of fire (2.2a) will favor the return of basin big sagebrush provided that there is adequate seed source from adjacent unburned areas. Perennial native herbs and non-native annuals will maintain their presence post-fire. Other drivers that could reduce sagebrush and favor root-sprouting shrubs (2.2) include anoxic soils from extremely wet years, outbreaks of Aroga moth (2.1b), or parch blight due to lack of snow cover during dry cold winters (2.1c). The resiliency of this State is maintained by a healthy, productive, and diverse plant community that can provide native seed sources and promotes soil stability, water infiltration, and soil moisture retention. The resiliency of this State can be maintained by reducing livestock grazing impacts, especially during the growing season of perennial herbs. Conversely, continued heavy grazing will negatively impact the resiliency of this State.
Community Phase 2.1: Basin big sagebrush/ abundant native perennial herbs
This plant community will develop in the absence of fire and is characterized by basin big sagebrush with an understory made up of both native perennial and introduced herbs and grasses. Common invaders are cheatgrass and Russian thistle.
Community Pathway 2.1a
Wildfire will remove basin big sagebrush, allowing root-sprouting shrubs and the native perennial forbs and grasses to increase.
Community Pathway 2.1b
An extremely wet period such as an El Nino-Southern Oscillation event and subsequent anoxious soil conditions can kill basin big sagebrush and convert the plant community to one dominated by root-sprouting shrubs and native perennial herbs. The same result would be seen following a sudden insect (e.g. Aroga moth) or other pathogen outbreak on sagebrush.
Community Pathway 2.1c
Unusually cold, dry winters may cause severe parch blight, killing substantial portions of sagebrush and allowing roots-sprouting shrubs and native perennial herbs to dominate the plant community.
Community Phase 2.2: root-sprouting shrubs/ increased native perennial herbs
This plant community is dominated by root-sprouting shrubs such as rubber rabbitbrush, and yellow rabbitbrush with a rich understory of native perennial herbs.
Community Pathway 2.2a
In the absence of fire, this plant community will respond with an increase in basin big sagebrush and a corresponding decrease in native perennial herbs.
T2a: Transition from State 2 to State 3 (Basin Big Sagebrush/ Introduced Non-native Herbs State to Brush Super-dominance State)
The Basin Big Sagebrush/ Introduced Non-natives State will transition to the Brush Super-dominance State following excessive livestock grazing, particularly during the growing season of herbs. Native perennial herbs are eventually depleted such that mere reduction or removal of livestock will not allow for their recovery. The approach to this transition is indicated by the dominance of large, old sagebrush. This transition can be avoided by removal or reduction of sagebrush by prescribed fire, herbicides, or mechanical means well before the diminishment of native perennial herbs has occurred.
State 3: Brush Super-dominance State
Community Phase 3.3: Brush Super-dominance State
With multiple-year heavy livestock grazing, especially during the growing season, native perennial herbs are diminished. Once the soil seed reserve is exhausted, there is little opportunity for recovery. In the absence of fire (3.2a) basin big sagebrush will begin to dominate (3.1). Where mechanical or fire damage occur to the non-sprouting basin big sagebrush (3.1a), root-sprouting shrubs can increase (3.2). The state is maintained by the lack of a healthy, productive and diverse herb component capable of providing native seed source, soil stabilization, and soil moisture retention.
Community Phase 3.1: Basin big sagebrush super-dominance
This plant community is characterized as a basin big sagebrush-dominated site where the understory is greatly diminished in species richness and abundance from heavy continuous livestock grazing and lack of fire.
Community Pathway 3.1a
Wildfire or mechanical removal of sagebrush will develop a plant community dominated by root-sprouting shrubs.
Community Phase 3.2: Root-sprouting shrubs super-dominance
As the site deteriorates from heavy continuous livestock grazing compounded by fire or mechanical removal of sagebrush, the plant community will become dominated by root-sprouting shrubs such as rubber rabbitbrush, and yellow rabbitbrush.
Community Pathway 3.2a
After an extended period without wildfire, provided a viable seed source is available, basin big sagebrush will begin to re-establish and dominate the site.
T3a: Transition from State 3 to State 4 (Brush Super-dominance State to Seeded State)
Because reduction or exclusion of livestock use will not allow ready recovery of the herbaceous understory in State 3, the manager is left with few options to increase the perennial herbaceous cover. Tillage followed by re-seeding is the usual action required. Thus, the transition from a Brush Super-dominance State (regardless of phase) to the Seeded State is commonly seen.
State 4: Seeded State
Community Phase 4.4: Seeded State
The most common seedings of the past have been to Eurasian wheatgrasses (Agropyron spp.) or ryegrasses (Elymus spp.) (4.1). Where tillage has been employed, the native forbs and browse have most likely been destroyed. Thus, if a more diverse plant community is required (4.2), other species will have to be added to the seed mix and utilization by livestock deferred for several years (4.1a). In some circumstances, the native forbs and shrubs will slowly re-establish (4.2 and 4.3) when adjacent area have not been tilled. Subsequent re-treatment with herbicide or mechanical (e.g. Lawson pasture-aerator) action (4.2a and 4.3a) will be necessary to maintain grass dominance (4.1). Once a site is re-established with forbs and shrubs (4.2) and a sufficient length of time has elapsed since the last fire (4.2b), pioneering shrubs such as snakeweed, rubber rabbitbrush, and yellow rabbitbrush may dominate the site (4.3). Returning to a more diverse plant community (4.2) may require mechanically removing some shrubs and re-seeding (4.3b). This State can be maintained by moderate levels of livestock use or alteration of dates of use, particularly during the boot stage of the grass. Heavy spring use by livestock will reduce the resiliency of this State.
Community Phase 4.1: crested wheatgrass monoculture
This plant community is predominantly a monoculture of a seeded species, commonly crested wheatgrass (Agropyron cristatum).
Community Pathway 4.1a
Re-seeding with a mix of forbs and shrubs combined with limited use/prescribed grazing by livestock will be necessary to facilitate the re-establishment of a more diverse plant community.
Community Phase 4.2: re-invaded herbs and shrubs
This plant community is characterized by a mix of native and non-native herbs and shrubs that have re-invaded or been seeded into the site. Disturbance follower species that may be present include snakeweed, rubber rabbitbrush, yellow rabbitbrush, and Russian thistle (Salsola sp.). Other re-invaders could also include bulbous bluegrass (Poa bulbosa), Sandberg bluegrass (Poa secunda), or Kentucky bluegrass (Poa pratensis).
Community Pathway 4.2a
Either mechanical or chemical brush management will be required to maintain a grass-dominated site.
Community Pathway 4.2b
The absence of fire will shift this community into a re-invaded shrub-dominated site.
Community Phase 4.3: re-invaded shrub dominance
Disturbance following shrubs such as snakeweed, rubber rabbitbrush, and yellow rabbitbrush may dominate the site in the absence of fire.
Community Pathway 4.3a
Either mechanical or chemical brush management will be required to maintain a grass-dominated site.
Community Pathway 4.3b
Mechanically removing some shrubs and re-seeding with a diverse mixture of forbs and grasses will improve the balance between the herbaceous and shrub components.