

Natural Resources
Conservation Service
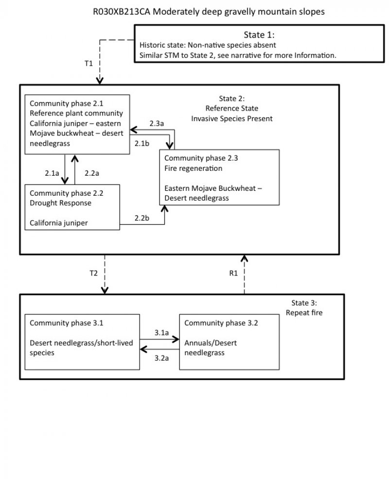
Ecological site R030XB213CA
Moderately Deep Gravelly Mountain Slopes
Last updated: 10/21/2024
Accessed: 10/20/2025
General information
Provisional. A provisional ecological site description has undergone quality control and quality assurance review. It contains a working state and transition model and enough information to identify the ecological site.

Figure 1. Mapped extent
Areas shown in blue indicate the maximum mapped extent of this ecological site. Other ecological sites likely occur within the highlighted areas. It is also possible for this ecological site to occur outside of highlighted areas if detailed soil survey has not been completed or recently updated.
MLRA notes
Major Land Resource Area (MLRA): 030X–Mojave Basin and Range
MLRA Description:
Major Land Resource Area (MLRA) 30, Mojave Desert, is found in southern California, southern Nevada, the extreme southwest corner of Utah and northwestern Arizona within the Basin and Range Province of the Intermontane Plateaus. The climate of the area is hot (primarily hyperthermic and thermic; however at higher elevations, generally above 5000 feet, mesic, cryic and frigid) and dry (aridic). Elevations range from below sea level to over 12,000 feet in the higher mountain areas found within the MLRA. Due to the extreme elevational range found within this MLRA, Land Resource Units (LRUs) were designated to group the MLRA into similar land units.
LRU notes
This LRU (designated by ’XB’) is found across the eastern half of California, much of the mid-elevations of Nevada, the southernmost portions of western Utah, and the mid-elevations of northwestern Arizona. Elevations range from 1800 to 5000 feet and precipitation ranges from 4 to 9 inches per year, but is generally between 5-6 inches. This LRU is characterized primarily by the summer precipitation it receives, ranging from 18 – 35% but averages 25%. Summer precipitation falls between July and September in the form of rain, and winter precipitation falls starting in November and ends between February and March, also mostly in the form of rain; however it does receive between 0 and 3 inches of snow, with an average of 1 inch. The soil temperature regime is thermic and the soil moisture regime is typic-aridic. Vegetation includes creosote bush, burrobush, Nevada jointfir, ratany, Mojave yucca, Joshua tree, chollas, cactus, big galleta grass and several other warm season grasses. At the upper portions of the LRU, plant production and diversity are greater and blackbrush is a common dominant shrub.
Classification relationships
The Eriogonum fasciculatum shrubland alliance (Sawyer et al. 2009) and the Juniperus californica woodland alliance (Sawyer et al. 2009) occur within this ecological site.
The Achnatherum speciosum herbaceous alliance (Sawyer et al. 2009) may occur in Community Phase 2.3 and State 3 of this ecological site.
Ecological site concept
This ecological site occurs on steep mountain slopes at elevations of approximately 2800 to 4800 feet on soils with a warm thermic temperature regime. Soils are moderately deep over weathered bedrock, and are sandy skeletal.
Production RV is 345 pounds per acre and ranges from 111 to 495 pounds per acre. Vegetative cover is relatively sparse, and is dominated by eastern Mojave buckwheat (Eriogonum fasciculatum) with California juniper (Juniperus californica), desert needlegrass (Achnatherum speciosum) and a diverse assemblage of secondary shrubs. Steep slopes and sandy-skeletal soils increase soil erosion, and this favors short-lived species like eastern Mojave buckwheat and desert needlegrass (Achnatherum speciosum).
Data ranges in the physiographic data, climate data, water features, and soil data sections of this Ecological Site Description are based on major components only (15 percent of map unit or greater).
This site is part of ecological site group R030XB140CA.
Associated sites
R030XE191CA |
Dry Sandy Mountain Slopes R030XE191CA is found on adjacent slopes with a xeric soil moisture regime and very shallow to shallow soils. Muller's oak (Quercus cornelius-mulleri) and California juniper (Juniperus californica) dominate. |
---|---|
R030XB189CA |
Shallow Cool Hills R030XB189CA is found on mountain ridges near this site. Blackbrush (Coleogyne ramosissima) dominates with California juniper (Juniperus californica). |
R030XD003CA |
Hyperthermic Steep South Slopes R030XD003CA is found on adjacent hyperthermic, south-facing mountain slopes, and is dominated by Brittlebush (Encelia farinosa). |
R030XD040CA |
Hyperthermic Steep North Slopes R030XD040CA is found on adjacent lower elevation slopes with north-facing aspects and hyperthermic soil temperature regimes. Burrobush (Ambrosia dumosa) is a dominant species. |
R030XE196CA |
Sandy Xeric-Intergrade Slopes R030XE196CA is found an adjcacent slopes with a xeric soil moisture regime and very shallow to shallow soils. Single-leaf pinyon pine (Pinus monophylla) and California juniper (Juniperus californica) dominate. |
R030XY128CA |
Broad, Gravelly, Hyperthermic Ephemeral Stream R030XY128CA is found on medium-sized drainageways of inset fans draining these mountain slopes. Desert lavender (Hyptis emoryi), catclaw acacia (Acacia gregii), burrobush (Hymenoclea salsola) and creosote bush (Larrea tridentata) dominate. |
Similar sites
R030XB189CA |
Shallow Cool Hills R030XB189CA occurs on slopes with very shallow to shallow soils. Production and cover are higher, and blackbrush (Coleogyne ramosissima) dominates. California juniper (Juniperus californica) is an important species, but is not dominant. |
---|---|
R030XE196CA |
Sandy Xeric-Intergrade Slopes R030XE196CA occurs on very shallow to shallow soils with a xeric soil moisture regime. Production and cover are higher, and single-leaf pinyon pine (Pinus monophylla) co-dominates with California juniper (Juniperus californica) over a diverse shrub understory. |
R030XE191CA |
Dry Sandy Mountain Slopes R030XE191CA occurs on very shallow to shallow soils with a xeric soil moisture regime, and is Muller's oak (Quercus cornelius-mulleri) co-dominates with California juniper (Juniperus californica). |
Table 1. Dominant plant species
Tree |
(1) Juniperus californica |
---|---|
Shrub |
(1) Eriogonum fasciculatum |
Herbaceous |
(1) Achnatherum speciosum |
Click on box and path labels to scroll to the respective text.