

Natural Resources
Conservation Service
Ecological site R030XB148CA
Sandy Plain
Last updated: 10/21/2024
Accessed: 10/21/2025
General information
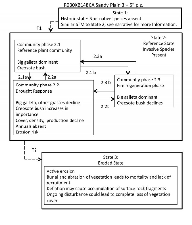
Provisional. A provisional ecological site description has undergone quality control and quality assurance review. It contains a working state and transition model and enough information to identify the ecological site.

Figure 1. Mapped extent
Areas shown in blue indicate the maximum mapped extent of this ecological site. Other ecological sites likely occur within the highlighted areas. It is also possible for this ecological site to occur outside of highlighted areas if detailed soil survey has not been completed or recently updated.
MLRA notes
Major Land Resource Area (MLRA): 030X–Mojave Basin and Range
The Mojave Desert Major Land Resource Area (MLRA 30) is found in southern California, southern Nevada, the extreme southwest corner of Utah and northwestern Arizona within the Basin and Range Province of the Intermontane Plateaus. The Mojave Desert is a transitional area between hot deserts and cold deserts where close proximity of these desert types exert enough influence on each other to distinguish these desert types from the hot and cold deserts beyond the Mojave. Kottek et. al 2006 defines hot deserts as areas where mean annual air temperatures are above 64 F (18 C) and cold deserts as areas where mean annual air temperatures are below 64 F (18 C). Steep elevation gradients within the Mojave create islands of low elevation hot desert areas surrounded by islands of high elevation cold desert areas.
The Mojave Desert receives less than 10 inches of mean annual precipitation. Mojave Desert low elevation areas are often hyper-arid while high elevation cold deserts are often semi-arid with the majority of the Mojave being an arid climate. Hyper-arid areas receive less than 4 inches of mean annual precipitation and semi-arid areas receive more than 8 inches of precipitation (Salem 1989). The western Mojave receives very little precipitation during the summer months while the eastern Mojave experiences some summer monsoonal activity.
In summary, the Mojave is a land of extremes. Elevation gradients contribute to extremely hot and dry summers and cold moist winters where temperature highs and lows can fluctuate greatly between day and night, from day to day and from winter to summer. Precipitation falls more consistently at higher elevations while lower elevations can experience long intervals without any precipitation. Lower elevations also experience a low frequency of precipitation events so that the majority of annual precipitation may come in only a couple precipitation events during the whole year. Hot desert areas influence cold desert areas by increasing the extreme highs and shortening the length of below freezing events. Cold desert areas influence hot desert areas by increasing the extreme lows and increasing the length of below freezing events. Average precipitation and temperature values contribute little understanding to the extremes which govern wildland plant communities across the Mojave.
Arid Eastern Mojave Land Resource Unit (XB)
LRU notes
The Mojave Desert is currently divided into 4 Land Resource Units (LRUs). This ecological site is within the Arid Eastern Mojave LRU where precipitation is bi-modal, occurring during the winter months and summer months. The Arid Eastern Mojave LRU is designated by the 'XB' symbol within the ecological site ID. This LRU is found across the eastern half of California, much of the mid-elevations of Nevada, the southernmost portions of western Utah, and the mid-elevations of northwestern Arizona. This LRU is essentially equivalent to the Eastern Mojave Basins and Eastern Mojave Low Ranges and Arid Footslopes of EPA Level IV Ecoregions
Elevations range from 1650 to 4000 feet and precipitation is between 4 to 8 inches per year. This LRU is distinguished from the Arid Western Mojave (XA) by the summer precipitation, falling between July and September, which tends to support more warm season plant species. The 'XB' LRU is generally east of the Mojave River and the 117 W meridian (Hereford et. al 2004). Vegetation includes creosote bush, burrobush, Nevada jointfir, ratany, Mojave yucca, Joshua tree, cacti, big galleta grass and several other warm season grasses. At the upper portions of the LRU, plant production and diversity are greater and blackbrush is a common dominant shrub.
Classification relationships
The vegetation classification of this ecological site includes the Pleuraphis rigida Herbaceous Alliance (Sawyer et al. 2009), and includes the Pleuraphis rigida/Larrea tridentata Association as well as the Big Galleta Desert Grassland Alliance and Burrobush / Big Galleta Dwarf-shrubland Association (USNVC 2017) .
Ecological site concept
This ecological site occurs on stabilized sand sheets, dunes, sand sheets over fan remnants, fan aprons over fan remnants and fand skirts over fan remnants between 1650 to 3600 feet elevation. Slopes range from 0 to 15 percent but can be steeper when sand sheets are on backslopes or when dunes develop. Soils are highly dynamic and tend to be very deep fine sands that formed from eolian deposits and exhibit very little soil development. Soil surface horizons typically have a single grain structure but the processes of wind and water can cover other soils as well as remove this cover exposing soil surfaces which were once buried. This ecological site is often downwind of a playa but far enough away that salts do not influence on this site. These areas can also be the sheetflow zone of an ephemeral stream where water flow is usually slow enough to cause more sediment deposition than removal.
The data in the following sections is from major (15% of mapunit or greater) components only.
This is a group concept and provisional STM that also covers the following ecological sites: R030XA063NV, R030XA069NV, R030XB033NV, R030XB036NV, R030XB122NV, R030XB150CA, R030XB004NV, R030XB034NV, R030XB096NV.
Associated sites
R030XB005NV |
Arid Active Alluvial Fans This ecological site occurs on adjacent fan aprons. Creosote bush (Larrea tridentata) and burrobush (Ambrosia dumosa) are co-dominant. |
---|---|
R030XB137CA |
Granitic Loam This ecological site occurs on adjacent sand sheets over fan aprons. Creosote bush (Larrea tridentata), burrobush (Ambrosia dumosa), and big galleta (Pleuraphis rigida) are co-dominant. |
R030XB150CA |
Sandhill 3-5" P.Z. This ecological site occurs on adjacent sand hills. Big galleta (Pleuraphis rigida) and creosote bush (Larrea tridentata) are dominant. |
Similar sites
R030XB137CA |
Granitic Loam This ecological site occurs on more stable landforms. It is less productive, and burrobush is a dominant shrub. |
---|---|
R030XB039NV |
LIMY FAN 5-7 P.Z. This ecological site occurs on inset fans, and landforms receiving additional moisture. |
R030XD014CA |
Hyperthermic Sandy Plains This ecological site occurs on soils with a hyerthermic soil temperature regime. Indian rice grass is not present. |
R030XB150CA |
Sandhill 3-5" P.Z. This ecological site occurs on steeper slopes, and is less productive. |
R030XB122NV |
LIMY SAND 3-5 P.Z. Essentially the same ecological site concept as R030XB148CA. |
R030XB004NV |
SANDY 5-7 P.Z. Essentially the same ecological site concept as R030XB148CA. |
R030XB034NV |
SANDY PLAIN 5-7 P.Z. Essentially the same ecological site concept as R030XB148CA. |
R030XB096NV |
GRAVELLY SAND 3-5 P.Z. Essentially the same ecological site concept as R030XB148CA. |
R030XB221AZ |
Sandy Upland 6-9" p.z. Essentially the same ecological site concept as R030XB148CA. |
R030XA069NV |
LIMY SAND 5-7 P.Z. Essentially the same ecological site concept as R030XB148CA. |
Table 1. Dominant plant species
Tree |
Not specified |
---|---|
Shrub |
Not specified |
Herbaceous |
(1) Pleuraphis rigida |
Click on box and path labels to scroll to the respective text.