Ecological dynamics
The dominant visual aspect is basin big sagebrush in the overstory with bluebunch wheatgrass in the understory. Composition by weight is approximately 60 to 70 percent grasses, 5 to 15 percent forbs, and 20 to 30 percent shrubs.
During the last few thousand years, this site has evolved in a semi-arid climate characterized by dry summers and cold, moist winters. Herbivory has historically occurred on this site at low levels of utilization. Herbivores include mule deer, Rocky Mountain elk, pronghorn antelope, lagomorphs, and small rodents.
Fire has historically occurred on the site at intervals of 20 to 50 years.
The Historic Climax Plant Community (HCPC), the Reference State (State 1), moves through many phases depending on the natural and man-made forces that impact the community over time. State 1, described later, indicates some of these phases. The Reference Plant Community Phase is Phase A. This plant community is dominated by bluebunch wheatgrass in the understory and basin big sagebrush in the overstory. Subdominant species include Indian ricegrass, western wheatgrass, arrowleaf balsamroot, antelope bitterbrush, and pricklypear cactus. There are a variety of other grasses, forbs, and shrubs that can occur in the plant community in minor amounts. The plant species composition of Phase A is listed later under “Reference Plant Community Phase Plant Species Composition”.
Total annual production is 650 pounds per acre (728 kilograms per hectare) in a normal year. Production in a favorable year is 900 pounds per acre (1008 kilograms per hectare). Production in an unfavorable year is 400 pounds per acre (448 kilograms per hectare). Structurally, cool season deep rooted perennial bunchgrasses are very dominant, followed by tall shrubs being more dominant than perennial forbs while shallow rooted perennial bunchgrasses are subdominant.
FUNCTION:
This site is suited for livestock grazing in spring, early summer, and fall. The site provides good winter habitat or mule deer and pronghorn antelope. It has low to fair value for recreation use.
This site is susceptible to degradation due to the gentle slopes, ease of access, and instability of sandy surface textures. Infiltration is good where the community is in mid to late seral status. The site has moderately low runoff potential.
Impacts on the Plant Community.
Influence of fire:
In the absence of normal fire frequency, antelope bitterbrush and basin big sagebrush can gradually increase. Juniper can invade if a seed source is in the proximity. Grasses and forbs decrease as shrubs increase. With the continued absence of fire, basin big sagebrush can displace most of the primary understory species. Fire has historically occurred on the site at intervals of 20 to 50 years.
When fires become more frequent than historic levels (20 to 50 years), basin big sagebrush is reduced significantly. Green rabbitbrush can increase slightly. Antelope bitterbrush will mostly be killed. With continued short fire frequency, basin big sagebrush and antelope bitterbrush can be completely eliminated along with many of the desirable understory species such as Indian ricegrass and needle and thread. These species may be replaced by western wheatgrass and bottlebrush squirreltail along with a variety of annual and perennial forbs including noxious and invasive species. Cheatgrass will invade the site. These fine fuels will increase the fire frequency. Continued fire can create a loss of vegetative cover and sand can become unstable resulting in active sand dunes.
Influence of improper grazing management:
Season-long grazing and/or excessive utilization can be very detrimental. This type of management leads to reduced vigor of the bunchgrasses and antelope bitterbrush. With reduced vigor, recruitment of these species declines. As these species decline, an increase in basin big sagebrush, green rabbitbrush, and pricklypear cactus will occur as well as noxious and invasive species. Also the plant community becomes susceptible to juniper invasion.
Continued improper grazing management influences fire frequency by increasing fine fuels. As cheatgrass increases and becomes co-dominant with other annuals, fires become more frequent. Forbs will increase. Continued improper grazing management can create a loss of vegetative cover and sand can become unstable resulting in active sand dunes.
Proper grazing management that addresses frequency, duration, and intensity of grazing can also keep fine fuels from developing, thereby reducing fire frequency. This can lead to gradual increases in basin big sagebrush. An increase in tall shrubs generally leads to an increase in juniper by providing bird perches and “nursery” sites for juniper establishment. A planned grazing system can be developed to intentionally accumulate fine fuels in preparation for a prescribed burn.
Weather influences:
Above normal precipitation in April, May, and June can dramatically increase total annual production of the plant community. These weather patterns can also increase viable seed production of desirable species to provide for recruitment. Likewise, below normal precipitation during these spring months can significantly reduce total annual production and be detrimental to viable seed production. Overall plant composition is normally not affected when perennials have good vigor.
Below normal temperatures in the spring can have an adverse impact on total production regardless of the precipitation. An early, hard freeze can occasionally kill some plants.
Prolonged drought adversely affects this plant community in several ways. Vigor, recruitment, and production are usually reduced. Mortality can occur. Prolonged drought can lead to a reduction in fire frequency.
Influence of Insects and disease:
Outbreaks can affect vegetation health. Antelope bitterbrush can be severely affected by the western tent caterpillar (Malacosoma fragilis). Two consecutive years of defoliation by the tent caterpillar can cause mortality in bitterbrush. Mormon cricket and grasshopper outbreaks occur periodically. Outbreaks seldom cause plant mortality since defoliation of the plant occurs only once during the year of the outbreak.
Influence of noxious and invasive plants:
Many of these species add to the fine-fuel component and lead to increased fire frequency. Many of the annual and perennial invasive species compete with desirable plants for moisture and nutrients. The result is reduced production and change in composition of the understory. See “Influence of juniper invasion” below.
Influence of wildlife:
Big game animals use this site in the spring, summer, and fall and in moderate winters. Their numbers are seldom high enough to adversely affect the plant community. Herbivory can be detrimental to bitterbrush when livestock grazing and browsing by big game occurs at the same time and season. This will occur when both kinds of animal are using the plant in the late summer or fall. The adverse impact is excessive use of the current year’s leader growth. The deer mouse is beneficial to this site as it is the principal vector for planting bitterbrush seed.
Watershed:
Degradation can occur when overstory shrubs and desired understory species are reduced. This composition change can affect nutrient and water cycles. Loss of vegetative cover can result in unstable sand and lead to active sand dunes. Abnormally short fire frequency also gives the same results, but to a lesser degree. The long-term effect is a transition to a different state.
Influence of juniper invasion:
The following discussion deals with juniper.
In plant communities that are invaded by juniper, the species has a competitive advantage for the following reasons:
-Juniper is very drought tolerant.
-It has the ability to extract soil moisture from a wide range of soil depths.
-Juniper has high evapo-transpiration rates.
-The species intercepts rain and snow before it reaches the soil surface.
-It has the ability to grow as long as there is soil moisture and the temperature is above freezing.
-Juniper has a relatively rapid growth rate and is long-lived. It can readily over-top shade intolerant species which leads to mortality.
-Nutrient cycling is reduced.
-As the canopy closes, juniper gains control of energy capture.
As juniper extracts water, other plants are unable to acquire sufficient water and nutrients to sustain growth and reproduction, thus reducing cover and biomass in the interspaces. After the canopy closes, there is sufficient soil moisture available for shallow-rooted, shade tolerant species to persist directly under the tree.
The following hydrological impacts occur on sites invaded by juniper:
-Infiltration in the interspaces is reduced.
-Run-off increases resulting in increased sheet and rill erosion with elevated sediment loads.
-Soil temperatures increase in the interspaces which results in accelerated drying of the soil surface.
-Increased bare ground in the interspaces.
-Soil moisture storage is reduced.
As bare ground and connectivity of bare ground increases, flow rates are accelerated (reduction of flow sinuosity) and run-off out of the area increases.
Degradation of these systems can result in the formation of a feedback cycle in which greater juniper cover and density results in greater plant and soil disturbance between the canopies.
In summary, a closed juniper community takes control of the following ecological processes: hydrology, energy capture and nutrient cycling. The changes are primarily driven by the hydrological processes. The development of a closed juniper canopy always results in a transition across the threshold to a different state. Generally, when juniper canopy cover nears 20 percent, the plant community is approaching the threshold.
Plant Community and Sequence:
Transition pathways between common vegetation states and phases:
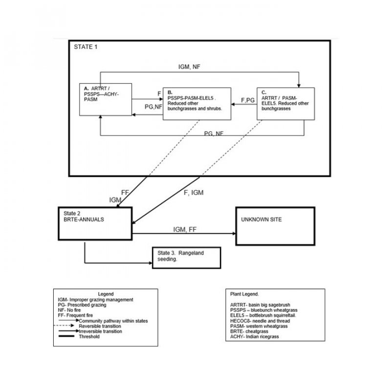
State 1.
1.1a Develops with fire (approximately every 20-50 years). Fire only occurs in above normal precipitation (favorable) years.
1.1b Develops under improper grazing management and no fire and juniper invasion.
1.1c Develops under improper grazing management and no fire.
1.2a Develops with prescribed grazing and no fire.
1.2b Develops with improper grazing management and no fire.
1.3a Develops with prescribed grazing and prescribed burning or brush management.
1.3b Develops with fire or brush management.
1.4a Develops with prescribed grazing.
1.4b Develops with prescribed grazing and fire or brush management.
T1A 1.2 to State 2. Phase B or C to State 2. Develops with frequent fire and/or improper grazing management.
T1C. 1.3 to State 3. Develops with continued improper grazing management and no fire.
T1C. 1.4 to State 2. Develops with continued improper grazing management and fire.
T2.1A. Develops with improper grazing management and fire or no fire.
T3.1A. Develops with improper grazing management and no fire.
Practice Limitations:
Extreme caution must be used in reseeding. Soil disturbance presents severe limitations due to wind erosion hazards. Slight to moderate limitations exist on this site for brush management practices. Careful planning and implementation is needed to prevent wind erosion. Slight limitations exist on this site for implementing vegetative management and facilitating practices.
State 1, Reference State.
State 1, Phase A, Reference Plant Community Phase. This plant community is dominated by bluebunch wheatgrass in the understory and basin big sagebrush in the overstory. Subdominant species include Indian ricegrass, western wheatgrass, arrowleaf balsamroot, antelope bitterbrush and pricklypear cactus. There are a variety of other grasses, forbs and shrubs that can occur in the plant community in minor amounts. Natural fire frequency is 20 to 50 years.
State 1, Phase B. This plant community has developed after a fairly recent fire. Fire intolerant shrubs such as basin big sagebrush and antelope bitterbrush have been significantly reduced or eliminated. Green rabbitbrush has re-sprouted. Bluebunch wheatgrass and basin wildrye are maintained in the stand. Bottlebrush squirreltail and western wheatgrass have increased. Other deep-rooted perennial bunchgrasses have been reduced and some have been killed by the fire. This includes Indian ricegrass and needle and thread. Some cheatgrass may have invaded.
State 1, Phase C. Due to improper grazing management, bluebunch wheatgrass and other deep-rooted perennial bunchgrasses have been significantly reduced in amounts and are in low vigor. Bottlebrush squirreltail, western wheatgrass and pricklypear cactus have increased as well as basin big sagebrush. . Antelope bitterbrush is reduced and low in vigor and may be hedged. Forbs have increased and cheatgrass has invaded the site.
State 2. The Sandy 8-12 ARTRT/PSSPS-ACHY site has degraded into a plant community dominated by annual grasses and forbs. Fine fuels are adequate to carry a fire in most years. Frequent fires and/or improper grazing management have caused the degradation. Excessive soil loss has not occurred at this point but the site has crossed the threshold. It is not economical to return this plant community to State 1 with accelerating practices.
State 3. State 3 is dominated by seeded introduced species or native species that have been planted to mimic the Reference Plant Community.
Unknown new site. This plant community has gone over the threshold to a new site. Site potential has been reduced. Significant soil loss has occurred. Infiltration has been reduced and run-off has become more rapid. This community has developed due to continued improper grazing management and/or fire.
Community 1.1
State 1 Phase A
Reference Plant Community Phase. This plant community is dominated by bluebunch wheatgrass in the understory and basin big sagebrush in the overstory. Subdominant species include Indian ricegrass, western wheatgrass, arrowleaf balsamroot, antelope bitterbrush, and pricklypear cactus. There are a variety of other grasses, forbs, and shrubs that can occur in the plant community in minor amounts. Natural fire frequency is 20 to 50 years.
Table 5. Annual production by plant type
Plant type |
Low (lb/acre) |
Representative value (lb/acre) |
High (lb/acre) |
Grass/Grasslike |
260 |
420 |
585 |
Shrub/Vine |
100 |
165 |
225 |
Forb |
40 |
65 |
90 |
Total |
400 |
650 |
900 |
Jan |
Feb |
Mar |
Apr |
May |
Jun |
Jul |
Aug |
Sep |
Oct |
Nov |
Dec |
J |
F |
M |
A |
M |
J |
J |
A |
S |
O |
N |
D |
Community 2.1
State 2
The site has degraded into a plant community dominated by annual grasses and forbs. Fine fuels are adequate to carry a fire in most years. Frequent fires and/or improper grazing management from either Phase B or Phase C has caused the degradation. Excessive soil loss has not occurred at this point but the site has crossed the threshold. It is not economical to return this plant community to State 1 with accelerating practices.
Jan |
Feb |
Mar |
Apr |
May |
Jun |
Jul |
Aug |
Sep |
Oct |
Nov |
Dec |
J |
F |
M |
A |
M |
J |
J |
A |
S |
O |
N |
D |
Community 3.1
State 3
Community Phase 3.1 is dominated by an overstory of juniper with annual grasses and forbs and Sandberg bluegrass. Excessive soil loss has not occurred at this point but the site has crossed the threshold. It is not economical to return this plant community to State 1 with accelerating practices.
Community 4.1
State 4
This plant community has gone over the threshold to a new site. Site potential has been reduced. Significant soil loss has occurred. Infiltration has been reduced and run-off has become more rapid. This community has developed due to continued improper grazing management and/or frequent fire.