
Natural Resources
Conservation Service
Ecological site R010XA033ID
Loamy 11-13 PZ ARTRX/PSSPS
Last updated: 3/10/2025
Accessed: 10/20/2025
General information
Provisional. A provisional ecological site description has undergone quality control and quality assurance review. It contains a working state and transition model and enough information to identify the ecological site.
MLRA notes
Major Land Resource Area (MLRA): 010X–Central Rocky and Blue Mountain Foothills
This MLRA is characterized by gently rolling to steep hills, plateaus, and low mountains at the foothills of the Blue Mountains in Oregon and the Central Rocky Mountains in Idaho. The geology of this area is highly varied and ranges from Holocene volcanics to Cretaceous sedimentary rocks. Mollisols are the dominant soil order and the soil climate is typified by mesic or frigid soil temperature regimes, and xeric or aridic soil moisture regimes. Elevation ranges from 1,300 to 6,600 feet (395 to 2,010 meters), increasing from west to east. The climate is characterized by dry summers and snow dominated winters with precipitation averaging 8 to 16 inches (205 to 405 millimeters) and increasing from west to east. These factors support plant communities with shrub-grass associations with considerable acreage of sagebrush grassland. Big sagebrush, bluebunch wheatgrass, and Idaho fescue are the dominant species. Stiff sagebrush, low sagebrush, and Sandberg bluegrass are often dominant on sites with shallow restrictive layers. Western juniper is one of the few common tree species and since European settlement has greatly expanded its extent in Oregon. Nearly half of the MLRA is federally owned and managed by the Bureau of Land Management. Most of the area is used for livestock grazing with areas accessible by irrigation often used for irrigated agriculture.
For further information, see "Land Resource Regions and Major Land Resource Areas of the United States, the Caribbean, and the Pacific Basin (U.S. Department of Agriculture Handbook 296, 2006)" available online at: https://www.nrcs.usda.gov/wps/portal/nrcs/detail/soils/survey/?cid=nrcs142p2_053624
Ecological site concept
• Site occurs on uplands
• Slope 1-15%, occurring on all aspects
• Soils are moderately deep.
• Site not associated with recent lava flows
• Soils are not sandy, textures are loams and silt loams.
• Elevation 4250-5000 ft.
Associated sites
R010XA030ID |
South Slope Channery 11-13 PZ ARTRX/PSSPS Adjacent south slopes |
---|---|
R010XA032ID |
Bouldery 11-13 PZ ARTRX/PSSPS Adjacent low slope areas with bouldery soils |
R010XA036ID |
North Slope Stony 12-16 PZ ARTRX/PSSPS Adjacent north slopes |
R010XA004ID |
Loamy 12-16 PZ ARTRV/FEID-PSSPS Adjacent low slope areas |
R010XA009ID |
South Slope Gravelly 12-16 PZ Adjacent south slopes |
Similar sites
R010XA004ID |
Loamy 12-16 PZ ARTRV/FEID-PSSPS Site supports ARTRV rather than ARTRX no abiotic criteria identified |
---|---|
R010XA003ID |
Loamy 12-16 PZ ARTRT/FEID Site supports ARTRT rather than ARTRX, no abiotic criteria identified |
R010XA026ID |
Loamy 11-13 PZ ARTRW8/PSSPS Site supports ARTRW8 rather than ARTRX, no abiotic criteria identified |
R010XA025ID |
South Slope Loamy 11-13 PZ ARTRW8/PSSPS Site occurs on south slopes over 30% |
R010XA022ID |
Sandy Loam 12-16 PZ Soils are sandy |
R010XA002ID |
Clayey 12-16 PZ ARTR4/PSSPS Site supports ARTR4 rather than ARTRX no abiotic criteria identified |
Table 1. Dominant plant species
Tree |
Not specified |
---|---|
Shrub |
(1) Artemisia tridentata ssp. xericensis |
Herbaceous |
(1) Pseudoroegneria spicata ssp. spicata |
Physiographic features
This site occurs on nearly level to rolling slopes on all aspects. Slopes range from 1 to 15 percent. Elevations range from 4250 to 5000 feet (1295 to 1525 meters).
Table 2. Representative physiographic features
Landforms |
(1)
Foothills
> Plain
(2) Foothills > Butte (3) Foothills > Hill |
---|---|
Flooding frequency | None |
Ponding frequency | None |
Elevation | 4,250 – 5,000 ft |
Slope | 1 – 15% |
Water table depth | 60 in |
Aspect | Aspect is not a significant factor |
Climatic features
The Big and Little Wood River Footslopes and Plains, proposed as MLRA 10A, has a mean elevation of 5310 feet above sea level, and varies from 3600 to 9235 feet. In general, average annual precipitation is greatest on the western side, with the southeast area being the driest. The average annual precipitation, based on 7 long term climate stations located throughout the MLRA, is 15.39 inches, with a range of 12.5 to 18 inches. Monthly precipitation is generally greatest at the end of the year, diminishes steadily until a low in July and August, then increases rapidly in the autumn.
Monthly temperatures can vary considerably. Highs of up to 102° and lows down to -52° Fahrenheit have been recorded. The average annual temperature is 42.9°. The frost-free period ranges from 75 to 98 days. The freeze-free period is a bit longer: 106 to 133 days.
Both morning and afternoon average relative humidity values peak in the winter, and reach their low in July and august. The average number of sunny, cloud-free days is above average for the summer months, but below average for the period from November through February.
Table 3. Representative climatic features
Frost-free period (characteristic range) | 75-98 days |
---|---|
Freeze-free period (characteristic range) | 106-133 days |
Precipitation total (characteristic range) | 12-18 in |
Frost-free period (average) | 86 days |
Freeze-free period (average) | 120 days |
Precipitation total (average) | 16 in |
Figure 1. Monthly precipitation range
Figure 2. Monthly average minimum and maximum temperature
Influencing water features
This site is not influenced by adjacent wetlands, streams, or run on.
Soil features
The soils on this site are moderately deep. The soils are well drained with slow to moderate permeability. Runoff is medium to high. Available water holding capacity (AWC) is low. The erosion hazard for water is slight to severe. The soil textures are silt loam or loam. These soils are characterized by a xeric soil moisture regime. Soil temperature regime is mesic.
Soil Series Correlated to this Ecological Site
Perla Quier
Table 4. Representative soil features
Parent material |
(1)
Loess
–
volcanic rock
(2) Colluvium – volcanic rock (3) Residuum – volcanic rock |
---|---|
Surface texture |
(1) Silt loam (2) Loam |
Family particle size |
(1) Fine-silty |
Drainage class | Well drained |
Permeability class | Slow |
Soil depth | 20 – 40 in |
Surface fragment cover <=3" | 6 – 13% |
Surface fragment cover >3" | 2% |
Available water capacity (0-40in) |
3.3 – 5.6 in |
Soil reaction (1:1 water) (0-40in) |
5.6 – 7.3 |
Subsurface fragment volume <=3" (4-60in) |
5 – 20% |
Subsurface fragment volume >3" (4-60in) |
5% |
Ecological dynamics
The visual aspect of the site is foothills sagebrush in the overstory with bluebunch wheatgrass in the understory. The composition by weight is 40 to 50 percent grasses, 15 to 20 percent forbs, and 30 to 40 percent shrubs.
During the last few thousand years, this site has evolved in a semi-arid climate characterized by dry summers and cold, wet winters. Herbivory has historically occurred on this site at low levels of utilization. Herbivores include mule deer, rocky mountain elk, lagomorphs, and small rodents.
Fire has historically occurred on the site at intervals of 50-70 years.
The Historic Climax Plant Community (HCPC), the Reference State (State 1), moves through many phases depending on the natural and man-made forces that impact the community over time. State 1, described later, indicates some of these phases. The Reference Plant Community Phase is Phase A. This plant community is dominated by bluebunch wheatgrass in the understory and foothills sagebrush in the overstory. Subdominant species include Sandberg bluegrass, Thurber’s needlegrass, bottlebrush squirreltail, longleaf phlox, wooly eriophyllum, lupine, biscuitroot, antelope bitterbrush, and three-tip sagebrush. The plant species composition of Phase A is listed later under “Reference Plant Community Phase Plant Species Composition”.
Total annual production is 550 pounds per acre (611 kilograms per hectare) in a normal year. Production in a favorable year is 700 pounds per acre (777 kilograms per hectare). Production in an unfavorable year is 400 pounds per acre (444 kilograms per hectare). Structurally, cool season deep rooted perennial bunchgrasses are dominant, followed by tall shrubs being more dominant than perennial forbs while shallow rooted perennial bunchgrasses are subdominant.
FUNCTION:
This site is best suited for livestock grazing in the spring and fall. There are few limitations to grazing. The distance to water may be a problem in some areas. Usually this site is a key area in a grazing management program. The site is used by mule deer, rocky mountain elk, lagomorphs, small rodents, and predators. Upland game birds such as chukars also use the site, as do various birds indigenous to the area. Pronghorn antelope use the site only occasionally due to the height of shrubs. This site has limited recreation use except hunting.
Due to the low production potential and easy access by animals this site is easily degraded by improper grazing management or frequent fires. Infiltration can be good with a mixed stand of shrubs and perennial grasses. Runoff, when it does occur, is non-erosive except during high intensity convection storms. Snow is caught in the shrub interspaces and a mixed stand of shrubs and perennial grasses is necessary to reach potential of the site.
Impacts on the Plant Community.
Influence of fire:
In the absence of normal fire frequency, foothills sagebrush, antelope bitterbrush, and three-tip sagebrush can gradually increase on the site. Grasses and forbs decrease as shrubs increase. With the continued absence of fire, these shrubs can displace many of the primary understory species. If threetip sagebrush is present, it may encroach or increase on the site.
When fires become more frequent than historic levels (50-70 years), foothills sagebrush and antelope bitterbrush are reduced significantly. Rabbitbrush can increase slightly. Three-tip sagebrush may re-sprout vigorously after burning. With continued short fire frequency, foothills sagebrush and antelope bitterbrush can be completely eliminated along with many of the desirable understory species such as bluebunch wheatgrass and Thurber’s needlegrass. These species may be replaced by Sandberg bluegrass and bulbous bluegrass along with a variety of annual and perennial forbs including noxious and invasive plants. Cheatgrass and medusahead will invade the site. These fine fuels will increase the fire frequency.
Influence of improper grazing management:
Season-long grazing and/or excessive utilization can be very detrimental to this site. This type of management leads to reduced vigor of the bunchgrasses. With reduced vigor, recruitment of these species declines. As these species decline, the plant community becomes susceptible to increase in foothills sagebrush, three-tip sagebrush, and noxious and invasive plants.
Continued improper grazing management influences fire frequency by increasing fine fuels. As cheatgrass and/or medusahead increase and become co-dominant with Sandberg bluegrass and other annuals, fires become more frequent.
Proper grazing management that addresses frequency, duration, and intensity of grazing can also keep fine fuels from developing, thereby reducing fire frequency. This can lead to gradual increases in foothills sagebrush. A planned grazing system can be developed to intentionally accumulate fine fuels in preparation for a prescribed burn. Due to the brush species on the site, any brush management should be carefully planned, as a reduction in shrubs without a suitable understory of perennial grasses can increase cheatgrass which can lead to more frequent fire intervals. If threetip sagebrush is present, it may encroach or increase on the site, especially after a fire. Loss of Antelope Bitterbrush on this site can have very negative impacts on wildlife and domestic livestock.
Weather influences:
Above normal precipitation in March, April, and May can dramatically increase total annual production of the plant community. These weather patterns can also increase viable seed production of desirable species to provide for recruitment. Likewise, below normal precipitation during these spring months can significantly reduce total annual production and be detrimental to viable seed production. Overall plant composition is normally not affected when perennials have good vigor.
.
Below normal temperatures in the spring can have an adverse impact on total production regardless of the precipitation. An early, hard freeze can occasionally kill some plants. Prolonged drought adversely affects this plant community in several ways. Vigor, recruitment, and production are usually reduced. Mortality can occur. Prolonged drought can lead to a reduction in fire frequency.
Influence of Insects and disease:
Outbreaks can affect vegetation health. Bitterbrush can be severely affected by the western tent caterpillar (Malacosoma fragilis). Two consecutive years of defoliation by the tent caterpillar can cause mortality in bitterbrush. It seldom kills the entire stand. Mormon crickets and grasshopper outbreaks occur periodically. Outbreaks seldom cause plant mortality since defoliation of the plant occurs only once during the year of the outbreak.
Influence of noxious and invasive plants:
Many of these species add to the fine-fuel component and lead to increased fire frequency.
Perennial and annual invasive species compete with desirable plants for moisture and nutrients. The result is reduced production and change in composition of the understory.
Influence of wildlife:
Big game animals use this site in the spring, summer, and fall and in moderate winters. Their numbers are seldom high enough to adversely affect the plant community. Burrowing rodents can create microsites for establishment of noxious and invasive plant species.
Watershed:
Decreased infiltration and increased runoff occur with an increase in foothills sagebrush. Desired understory species can be reduced. This composition change can affect nutrient and water cycles. Increased runoff also causes sheet and rill erosion. Abnormally short fire frequency also gives the same results, but to a lesser degree. The long-term effect is a transition to a different state.
Plant Community and Sequence:
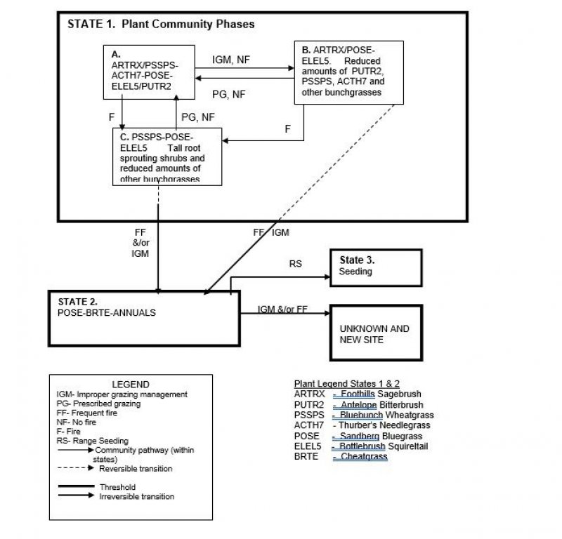
Transition pathways between common vegetation states and phases:
State 1.
Phase A to B. Develops with improper grazing management and in the absence of fire.
Phase A to C. Develops with fire.
Phase B to A. Develops with prescribed grazing and no fire.
Phase C to A. Develops with prescribed grazing and no fire.
Phase B to C. Develops with fire.
State 1 Phase C to State 2. Develops through frequent fire and/or improper grazing management. This site has crossed the threshold. It is economically impractical to return this plant community to State 1 with accelerating practices.
State 1, Phase B to State 2. Results from frequent fire and improper grazing management. This site has crossed the threshold. It is economically impractical to return this plant community to State 1 with accelerating practices.
State 2 to 3. Results from range seeding.
State 2 to unknown site. Excessive soil loss and changes in the hydrologic cycle caused by continued improper grazing management and/or frequent fire cause this state to cross a threshold and retrogress to a new site with reduced potential. It is economically impractical to return this plant community to State 1 with accelerating practices.
Practice Limitations:
Only slight limitations exist on this site for implementing vegetative management practices. Usually this site is a key area for livestock management due to flatter slopes and non-stony soils. This site is suited to seeding if needed. Mechanical, chemical and fire are satisfactory methods of brush management on this site. Three-tip sagebrush may re-sprout after fire or chemical application leading to greater density after applying control measures. Planning should carefully analyze the stand of perennial grasses and forbs, because removal of foothills sagebrush can result in a significant increase in cheatgrass. If the plant community becomes dominated with cheatgrass, increased fire frequency could irreversibly degrade the community. Slight to moderate limitations exist on this site for implementing facilitating practices such as water developments, salting, and fencing
State and transition model

More interactive model formats are also available.
View Interactive Models
More interactive model formats are also available.
View Interactive Models
Click on state and transition labels to scroll to the respective text
Ecosystem states
State 1 submodel, plant communities
State 2 submodel, plant communities
State 1
Reference
Dominant plant species
-
big sagebrush (Artemisia tridentata ssp. xericensis), shrub
-
bluebunch wheatgrass (Pseudoroegneria spicata ssp. spicata), grass
Community 1.1
Phase A
Reference Plant Community Phase. This plant community has foothills sagebrush in the overstory with bluebunch wheatgrass dominating the understory. Thurber’s needlegrass, Sandberg bluegrass, bottlebrush squirreltail, longleaf phlox, wooly eriophyllum, lupine, biscuitroot, woolypod loco, antelope bitterbrush, three-tip sagebrush, gray rabbitbrush, and green rabbitbrush are common. Natural fire frequency is 50 to 70 years.
Figure 3. Plant community growth curve (percent production by month). ID0305, ARTRV SOUTH .
Jan | Feb | Mar | Apr | May | Jun | Jul | Aug | Sep | Oct | Nov | Dec |
---|---|---|---|---|---|---|---|---|---|---|---|
J | F | M | A | M | J | J | A | S | O | N | D |
0 | 0 | 15 | 25 | 30 | 25 | 0 | 0 | 0 | 5 | 0 | 0 |
Community 1.2
Phase B
This plant community is dominated by foothills sagebrush with reduced amounts of bluebunch wheatgrass and other deep-rooted perennial bunchgrasses. Sandberg bluegrass and bottlebrush squirreltail have increased in the understory. All deep-rooted perennial bunchgrasses are typically in low vigor. Foothills sagebrush has increased as well as some other tall shrubs. This state has developed due to improper grazing management and lack of fire. Some cheatgrass and medusahead may have invaded the site.
Figure 4. Plant community growth curve (percent production by month). ID0305, ARTRV SOUTH .
Jan | Feb | Mar | Apr | May | Jun | Jul | Aug | Sep | Oct | Nov | Dec |
---|---|---|---|---|---|---|---|---|---|---|---|
J | F | M | A | M | J | J | A | S | O | N | D |
0 | 0 | 15 | 25 | 30 | 25 | 0 | 0 | 0 | 5 | 0 | 0 |
Community 1.3
Phase C
This plant community is dominated by bluebunch wheatgrass, Sandberg bluegrass, and tall root-sprouting shrubs. Thurber’s needlegrass can be lost due to fire. Bottlebrush squirreltail has increased. Forbs remain about in the same proportion as Phase A. Foothills sagebrush and antelope bitterbrush have been reduced significantly due to wildfire. Three-tip sagebrush may have re-sprouted. Some cheatgrass and medusahead may have invaded the site. This plant community is the result of wildfire.
Figure 5. Plant community growth curve (percent production by month). ID0305, ARTRV SOUTH .
Jan | Feb | Mar | Apr | May | Jun | Jul | Aug | Sep | Oct | Nov | Dec |
---|---|---|---|---|---|---|---|---|---|---|---|
J | F | M | A | M | J | J | A | S | O | N | D |
0 | 0 | 15 | 25 | 30 | 25 | 0 | 0 | 0 | 5 | 0 | 0 |
State 2
Disturbed
Dominant plant species
-
Sandberg bluegrass (Poa secunda), grass
-
cheatgrass (Bromus tectorum), grass
Community 2.1
Phase A
This plant community is dominated by Sandberg bluegrass, cheatgrass, and other annuals. Root sprouting shrubs such as rabbitbrush, three-tip sagebrush, and horsebrush can be present, dependent upon, how frequent, fire has occurred. Some soil loss has occurred. This state has developed due to frequent fires and/or improper grazing management from Phase C, State 1 or with frequent fire and improper grazing management fro Phase B, State 1. This site has crossed the threshold. It is economically impractical to return this plant community to State 1 with accelerating practices.
Figure 6. Plant community growth curve (percent production by month). ID0311, POSE/BRTE-ANNUALS . State 2.
Jan | Feb | Mar | Apr | May | Jun | Jul | Aug | Sep | Oct | Nov | Dec |
---|---|---|---|---|---|---|---|---|---|---|---|
J | F | M | A | M | J | J | A | S | O | N | D |
0 | 0 | 15 | 25 | 40 | 5 | 0 | 0 | 5 | 5 | 5 | 0 |
State 3
Seeded
This plant community results from range seeding. The seeding may be introduced species or it may be made up of native species that attempt to mimic the historic plant community.
Dominant plant species
-
crested wheatgrass (Agropyron cristatum), grass
State 4
Unknown
Unknown new site. This plant community has gone over the threshold to a new site. Site potential has been reduced. Significant soil loss has occurred. Infiltration has been reduced and run-off has become more rapid. This state has developed due to continued improper grazing management and/or frequent fires. It is economically impractical to return this plant community to State 1 with accelerating practices.
Additional community tables
Interpretations
Animal community
Wildlife Interpretations:
Animal Community – Wildlife Interpretations
This rangeland ecological site provides diverse habitat for many native wildlife species. Large herbivore use of this ecological site is dominated by mule deer and elk. Important seasonal habitat is provided for resident and migratory animals including western toad, sagebrush lizard, western rattlesnake, shrews, bats, jackrabbits, ground squirrels, mice, coyote, red fox, badger, sage-grouse, Ferruginous hawk, prairie falcon, horned lark and western meadowlark. Changes in the plant community composition can reduce the number and diversity of wildlife species in the area. With reduced shrub cover, shrub obligate avian and mammal species become rare including sage-grouse, brewer’s sparrow and sage thrasher. Encroachment of noxious and invasive plant species (cheatgrass, Medusahead) can replace native plant species which provide critical feed, brood-rearing and nesting cover for a variety of native wildlife. The loss of herbaceous understory vegetation has a negative impact on ground nesting birds, while the loss of shrub cover negatively affects both ground and shrub nesting avians. Water is limited only being provided by seasonal runoff, artificial water catchments and spring sites. This rangeland ecological site may be associated with pre-historic lava flows which provide unique cave habitats for several sensitive animal species, including the Blind Cave Leiodid Beetle, Cave Obligate Mite, Bats and Cave Obligate Harvestman.
State 1 Phase 1.1 - Foothills Big Sagebrush/ Bluebunch Wheatgrass/ Thurber’s Needlegrass/Sandberg Bluegrass/ Bottlebrush Squireltail/ Antelope Bitterbrush Reference Plant Community (RPC): This plant community provides a diversity of grasses, forbs and shrubs used by native insect communities that assist in pollination. The reptile and amphibian community is represented by leopard lizard, short horned lizard, sagebrush lizard, western skink, western rattlesnake, western toad, boreal chorus frog and northern leopard frog. Amphibians are associated with springs and isolated water bodies adjacent to this plant community. Spring developments that capture all available water would preclude the use of these sites by amphibians. The plant community provides habitat for prey species and cover for these resident reptiles and amphibians. Shrub-steppe obligate avian species include the Brewer’s sparrow, sage sparrow, sage thrasher and sage-grouse. Critical habitat (lek sites, nesting areas, winter cover and food) for sage-grouse is provided by this diverse plant community. The plant community supports the needs of large mammals (mule deer and elk) providing food and cover on a seasonal basis. Antelope bitterbrush is preferred browse for wild ungulates. A diverse small mammal population including golden-mantled ground squirrels, chipmunks, yellow-bellied marmots and pygmy rabbits utilize this plant community. The deer mouse is the primary vector for planting bitterbrush seed.
State 1 Phase 1.2 – Foothills Big Sagebrush/Sandberg Bluegrass/ Bottlebrush Squirreltail Plant Community: This plant community is the result of improper grazing management and lack of fire. An increase in canopy cover of sagebrush contributes to a sparse herbaceous understory. Grasses, forbs and shrubs, are used by native insects that assist in pollination but the reduced herbaceous understory results in decreased diversity and numbers of insects. The reptile community is represented by leopard lizard, short horned lizard, sagebrush lizard, western skink and western rattlesnake. Diversity and population of the reptile community would decline due to a reduced understory and associated loss of invertebrate habitat. Spring developments that capture all available water would preclude the use of these sites by amphibians. Key shrub-steppe avian obligates include Brewer’s sparrow, sage sparrow, sage thrasher and sage-grouse. Reduced herbaceous understory is a key factor in limiting the use of this plant community by avian species. Critical habitat (lek sites, nesting areas, winter cover and food) for sage grouse is limited due to a less diverse herbaceous plant community. The plant community supports the needs of large mammals (mule deer and elk) providing food and cover on a seasonal basis. Antelope bitterbrush is preferred browse for wild ungulates. A diverse small mammal population including golden-mantled ground squirrels, chipmunks, deer mouse and yellow-bellied marmots would utilize the habitat. The deer mouse is the primary vector for planting bitterbrush seed.
State 1 Phase 1.3 - Bluebunch Wheatgrass/ Sandberg Bluegrass/ Bottlebrush Squirreltail Plant Community: This plant community is the result of fire. The plant community, dominated by herbaceous vegetation with little or no sagebrush provides less vertical structure for wildlife. Insect diversity would be reduced but a diverse native forb plant community would still support select pollinators. Reptile use including short horned lizard, sagebrush lizard and western rattlesnakes, would be limited or excluded due to the absence of sagebrush. The dominance of herbaceous vegetation with reduced sagebrush canopy cover would eliminate use of these areas for nesting by Brewer’s sparrow, sage sparrow, sage thrasher, and sage grouse. This plant community provides limited brood- rearing habitat for sage-grouse when sagebrush cover is adjacent to the site. Sage-grouse would not use the area for wintering habitat. The dominant herbaceous vegetation improves habitat for grassland avian species (horned lark and western meadowlark). Large mammal (mule deer and elk) forage use would be seasonal and the site would offer little thermal cover and young of year cover. The populations of small mammals would be dominated by open grassland species like the Columbian ground squirrel.
State 2 – Sandberg Bluegrass/ Cheatgrass/ Annual Plant Community: This plant community is the result of continued improper grazing management and/or frequent fire. The loss of the native shrub and herbaceous plant community would not support a diverse insect community. The reduced forb component in the plant community would support a very limited population of pollinators. Most native reptilian species are not supported with food, water or cover. This plant community does not support the habitat requirements for sage-grouse, sage thrasher, Brewer’s sparrow or sage sparrow. Diversity of grassland avian species is reduced due to poor cover and food. Birds of prey including hawks and falcons may range throughout these areas looking for prey species. Large mammals may utilize the herbaceous vegetation in the early part of the year when the invasive annuals (cheatgrass) are more palatable. At other times of the year large mammals would not regularly utilize these areas due to poor food and cover conditions. The reduction of insect populations and diversity would reduce suitability of the site for bats. The populations of small mammals would be dominated by open grassland species like the Columbian ground squirrel.
State 3 - Range Seeding Plant Community: The seeding mixture (native or non-native) determines the animal species that would utilize this site. A diverse seed mixture of grasses and forbs would provide similar habitat conditions as in the herbaceous plant community described in State 1 phase 1.3. A diverse seed mixture of grasses, forbs and shrubs would provide similar habitat conditions as described in State 1 phase 1.1 or 1.2. A monoculture of non-native grass species would not support diverse populations of insects, reptiles, avian, mammals or sagebrush obligate species. Grassland animal species including western meadowlark, horned lark, savannah sparrow and elk would utilize this site for nesting and/or foraging. Birds of prey including hawks and falcons may range throughout this community looking for prey species.
Grazing Interpretations.
This site is best suited for livestock grazing in the spring and fall. There are few limitations to livestock grazing.
Estimated initial stocking rate will be determined with the landowner or decision-maker. They will be based on the inventory which includes species, composition, similarity index, production, past use history, season of use, and seasonal preference. Calculations used to determine estimated initial stocking rate will be based on forage preference ratings.
Hydrological functions
No data.
Recreational uses
This site has opportunities for big game and upland bird hunting. Hiking, horseback riding, and photography are additional uses. ATV’s use this site due to the gentle slopes.
Wood products
None
Other products
None
Other information
Field Offices
Mountain Home, ID
Gooding, ID
Shoshone, ID
Rupert, ID
Arco, ID
Supporting information
Inventory data references
Information presented here has been derived from NRCS clipping and other inventory data. Also, field knowledge of range-trained personnel was used. Those involved in developing this site description include:
Dave Franzen, co-owner, Intermountain Rangeland Consultants, LLC
Jacy Gibbs, co-owner, Intermountain Rangeland Consultants, LLC
Jim Cornwell, Range Management Specialist, IASCD
Brendan Brazee, State Rangeland Management Specialist, NRCS, Idaho
Leah Juarros, Resource Soils Specialist, NRCS, Idaho
Lee Brooks, Range Management Specialist, IASCD
Type locality
Location 1: Camas County, ID | |
---|---|
Location 2: Lincoln County, ID |
References
-
. Fire Effects Information System. http://www.fs.fed.us/database/feis/.
Other references
Hironaka, M., M.A. Fosberg, A. H. Winward. 1983. Sagebrush-Grass Habitat Types of Southern Idaho. University of Idaho, Moscow, Idaho. Bulletin Number “35”.
USDA Forest Service, Rocky Mountain Research Station. 2004. Restoring Western Ranges and Wildlands. General Technical Report RMRS-GTR-136-vols. 1-3.
USDA, NRCS.2001. The PLANTS Database, Version 3.1 (http://plants.usda.gov.). National Plant Data Center, Baton Rouge, LA 70874-4490 USA.
USDI Bureau of Land Management, US Geological Survey; USDA Natural Resources Conservation Service, Agricultural Research Service; Interpreting Indicators of Rangeland Health. Technical Reference 1734-6; Version 4-2005.
Contributors
Dave Franzen and Jacy Gibbs
Approval
Kirt Walstad, 3/10/2025
Rangeland health reference sheet
Interpreting Indicators of Rangeland Health is a qualitative assessment protocol used to determine ecosystem condition based on benchmark characteristics described in the Reference Sheet. A suite of 17 (or more) indicators are typically considered in an assessment. The ecological site(s) representative of an assessment location must be known prior to applying the protocol and must be verified based on soils and climate. Current plant community cannot be used to identify the ecological site.
Author(s)/participant(s) | Dave Franzen and Jacy Gibbs Intermountain Range Consultants 17700 Fargo Rd. Wilder, ID 83676 |
---|---|
Contact for lead author | Brendan Brazee, State Rangeland Management Specialist USDA-NRCS 9173 W. Barnes Drive, Suite C, Boise, ID 83709 |
Date | 03/27/2008 |
Approved by | Kirt Walstad |
Approval date | |
Composition (Indicators 10 and 12) based on | Annual Production |
Indicators
-
Number and extent of rills:
rills rarely occur on this site. If rills are present they are most likely to occur on steeper slopes greater than 10% and immediately following wildfire. Rills are most likely to occur on soils with surface textures of silt loam and clay loam. -
Presence of water flow patterns:
water-flow patterns rarely occur on this site except on slopes greater than 10%. When they occur they are short and are not extensive. They are disrupted by cool season perennial grasses and tall shrubs. -
Number and height of erosional pedestals or terracettes:
both are rare on this site. In areas where slopes are greater than 10% and where flow patterns and/or rills are present, a few pedestals may be expected. Do not misinterpret frost heaving for pedestals. Terracettes can occur on the uphill side of some of the larger bunchgrasses. -
Bare ground from Ecological Site Description or other studies (rock, litter, lichen, moss, plant canopy are not bare ground):
data not available. On sites in mid-seral status, bare ground may range from 30-40 percent. -
Number of gullies and erosion associated with gullies:
none. -
Extent of wind scoured, blowouts and/or depositional areas:
usually does not occur. Some wind erosion may occur immediately following a wildfire on soils that have fine textured surface soils. -
Amount of litter movement (describe size and distance expected to travel):
fine litter in the interspaces may move up to 2 feet or further on slopes greater than 10 percent following a significant run-off event. Coarse litter generally does not move. -
Soil surface (top few mm) resistance to erosion (stability values are averages - most sites will show a range of values):
values should range from 4 to 6 but needs to be tested. -
Soil surface structure and SOM content (include type of structure and A-horizon color and thickness):
structure ranges from weak medium granular to moderate medium platy. Soil organic matter (SOM) needs to be determined. The A or A1 horizon is typically 2 to 10 inches thick. Soil surface color is very dark grayish brown moist. -
Effect of community phase composition (relative proportion of different functional groups) and spatial distribution on infiltration and runoff:
bunchgrasses, especially deep-rooted perennials, slow run-off and increase infiltration. Shrubs accumulate snow in the interspaces. Terracettes provide a favorable micro-site for vegetation establishment which further increases infiltration. -
Presence and thickness of compaction layer (usually none; describe soil profile features which may be mistaken for compaction on this site):
not present. -
Functional/Structural Groups (list in order of descending dominance by above-ground annual-production or live foliar cover using symbols: >>, >, = to indicate much greater than, greater than, and equal to):
Dominant:
cool season deep-rooted perennial bunchgrassesSub-dominant:
tall shrubsOther:
perennial forbsAdditional:
shallow rooted grasses -
Amount of plant mortality and decadence (include which functional groups are expected to show mortality or decadence):
foothills sagebrush and antelope bitterbrush will become decadent in the absence of fire and ungulate grazing. Grass and forb mortality will occur as tall shrubs increase. -
Average percent litter cover (%) and depth ( in):
annual litter cover in the interspaces will be 20-30 percent to a depth of <0.1. Under the mature shrubs litter is greater than 0.5 inches. Fine litter can accumulate behind bunchgrasses and shrubs on slopes greater than 10 percent. -
Expected annual annual-production (this is TOTAL above-ground annual-production, not just forage annual-production):
is 550 lbs. per acre in a year with normal precipitation and temperatures. Perennial grasses produce 40-50 percent of the total, forbs 15-20 percent, and shrubs 30-40 percent. -
Potential invasive (including noxious) species (native and non-native). List species which BOTH characterize degraded states and have the potential to become a dominant or co-dominant species on the ecological site if their future establishment and growth is not actively controlled by management interventions. Species that become dominant for only one to several years (e.g., short-term response to drought or wildfire) are not invasive plants. Note that unlike other indicators, we are describing what is NOT expected in the reference state for the ecological site:
includes cheatgrass, medusahead, bulbous bluegrass, rush skeletonweed, scotch thistle, and spotted and diffuse knapweed. -
Perennial plant reproductive capability:
all functional groups have the potential to reproduce in most years.
Print Options
Sections
Font
Other
The Ecosystem Dynamics Interpretive Tool is an information system framework developed by the USDA-ARS Jornada Experimental Range, USDA Natural Resources Conservation Service, and New Mexico State University.
Click on box and path labels to scroll to the respective text.